|
|
This chapter describes the interconnection facilities available for the various device interfaces supported by the LightStream 2020 multiservice ATM switch (LS2020 switch). These facilities are described in this chapter in the following order:
Signal diagrams are provided for the I/O connectors and data cables described in this chapter. Figure 3-1 shows the conventions used in representing the signal paths in these interconnection facilities.
For most LS2020 interconnection cables, two part numbers are shown in an associated table in the body of this chapter:
An LS2020 chassis incorporates both function (line) cards and associated access cards. A variety of line cards may be used to populate the available slots in the front of an LS2020 chassis, depending on the user's communication requirements. Associated access cards, which are field replaceable units (FRUs), are then used to populate the corresponding slots at the rear of the LS2020 chassis.
Together with their associated line cards, the access cards provide data transfer services for an LS2020 switch by means of physical interfaces to which other network devices can be connected. Each line card is connected to its corresponding access card through the chassis midplane. If you remove an access card from the chassis, service to the associated line card is disrupted.
Table 3-1 shows the functional categories of line cards available for use with the LS2020 switch and how they may be combined with various access cards to provide data transfer services within an LS2020 network.
| Functional Category | Line Card Type | Access Card Type |
|---|---|---|
| Low-speed cards:
First generation Second generation1 |
Low-speed line card (LSC) Packet line card (PLC) |
Low-speed access card (LSAC)--Eight ports. Serial access card (SAC)--Eight ports. |
| Medium-speed cards:
First generation
Second generation2 |
Medium-speed line card (MSC)
Cell line card (CLC) |
T3 medium-speed access card (MSAC)--Two ports. E3 G.804 medium-speed access card (MSAC)--Two ports. E3 PLCP medium-speed access card (MSAC)--Two ports. (Note that the first-generation, two-port, medium-speed access cards listed above are no longer orderable.) T3 medium-speed access card (T3AC)--Four or eight ports. E3 medium-speed access card (E3AC)--Four or eight ports. |
| Circuit emulation cards:
T1
E1 |
Packet line card (PLC)
Packet line card (PLC) |
T1 circuit emulation access card (CEMAC-T1)--Eight ports; does not support a fantail. E1 circuit emulation access card (CEMAC-E1)--Eight ports; supports an E1 fantail. |
| OC3-c cards:
Single mode Multimode |
Cell line card (CLC) Cell line card (CLC) |
OC-3c single mode access card (OC3AC-SM)--One or two ports. OC-3c multimode access card (OC3AC-MM)--One or two ports. |
| FDDI cards | Packet line card (PLC) | FDDI access card (FAC)--Two ports. |
| Ethernet cards | Packet line card (PLC) | Ethernet access card (EAC)--Eight ports. |
| Fiber Ethernet cards | Packet line card (PLC) | Fiber Ethernet access card (FEAC)--Eight ports. |
1. Serial interface module (SIM); an upgrade option from first generation low-speed card. 2. An upgrade option from first generation medium-speed cards. | ||
This section describes the connectors and data cables for the X.21, RS-449, and V.35 I/O interfaces for the serial access cards available for the LS2020 switch. These cards are of two types:
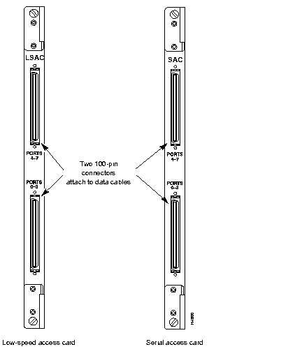
Figure 3-2 shows the bulkhead view of these access cards.

The serial access cards use the same types of connectors and cables for hookup. These interconnection facilities are described in the following order:
Figure 3-3 shows the X.21 fantail used with the low-speed access card (LSAC) and the serial access card (SAC).

Figure 3-4 shows the pins assignments for the X.21 interface (DB-15) connector.

Interface connector type: DB-15 female
Connectors per fantail: eight (numbered 0 - 7)
Figure 3-5 shows the RS-449 fantail used with the low-speed access card (LSAC) and the serial access card (SAC).

Figure 3-6 shows the pin assignments for the RS-449 interface (DB-37) connector.

Interface connector type: DB-37 male
Connectors per fantail: four (numbered 0 - 3)
Figure 3-7 shows the V.35 fantail used with the low-speed access card (LSAC) and the serial access card (SAC).

Figure 3-8 illustrates the pin assignments for the V.35 interface (ISO 2593) connector.

Interface connector type: ISO 2593 male (34-pin block type)
Connectors per fantail: four (numbered 0 - 3)
RS-232 DSU/CSU connectors appear on both the RS-449 and V.35 fantails. If you connect the control port to the craft port on a DSU/CSU device, you can use the csumon program to communicate remotely with the DSU/CSU from an LS2020 switch.
Figure 3-9 shows the pin assignments for the RS-232 DSU/CSU control port (DB9) connectors on the RS-449 and V.35 fantails.

Interface connector type: DB9 male
Connectors per fantail: four (numbered 0 - 3)
This high-density, 100-pin data cable is used to connect the bulkhead of a low-speed access card (LSAC) or serial access card (SAC) to the back of an X.21, RS-449, or V.35 fantail.
The cable is available from Cisco Systems in three lengths. For ordering purposes, use the appropriate order number from the table below.
| Manufacturing No. | Length | Order No. |
| 72-1117-01 | 4 feet (1.2m) | L2020-CAB-F4= |
| 72-1118-01 | 8 feet (2.4m) | L2020-CAB-F8= |
| 72-1119-01 | 12 feet (3.6m) | L2020-CAB-F12= |
Note that two such data cables are required to connect an LSAC or SAC to the rear of an X.21 fantail: one cable for ports 0 through 3 on the access card bulkhead, and another cable for ports 4 - 7 on the bulkhead. Only one such cable is required to connect an LSAC or SAC to an RS-449 or V.35 fantail.
This cable is used to connect an X.21 fantail to an external X.21 device.
The cable is available from Cisco Systems in three lengths. For ordering purposes, use the appropriate order number from the table below.
| Manufacturing No. | Length | Order No. |
| 72-0991-01 | 30 feet (9.1m) | LS-CAB-X21-TC30= |
| 72-0992-01 | 50 feet (15.2m) | LS-CAB-X21-TC50= |
| 72-0993-01 | 100 feet (30.5m) | LS-CAB-X21-TC100= |
Figure 3-10 is a signal diagram for the X.21 fantail cable.

This cable is used to connect an RS-449 fantail to an external RS-449 DCE device.
This cable is available from Cisco Systems. For ordering purposes, use the appropriate order number from the table below.
| Manufacturing No. | Length | Order No. |
| 72-1002-01 | 30 feet (9.1 m) | LS-CAB-RS4-TC30= |
| 72-1003-01 | 50 feet (15.2 m) | LS-CAB-RS4-TC50= |
| 72-1004-01 | 100 feet (30.5 m) | LS-CAB-RS4-TC100= |
Figure 3-11 is a signal diagram for the RS-449 fantail straight-through cable.

This cable is used to connect two LS2020 switches via their RS-449 fantail interfaces, or to connect an RS-449 fantail to an external RS-449 DTE device.
The cable is available from Cisco Systems. For ordering purposes, use an appropriate order number from the table below.
| Manufacturing No. | Length | Order No. |
| 72-1008-01 | 8 feet (2.4 m) | LS-CAB-RS4-TT8= |
| 72-1005-01 | 30 feet (9.1 m) | LS-CAB-RS4-TT30= |
| 72-1006-01 | 50 feet (15.2 m) | LS-CAB-RS4-TT50= |
| 72-1007-01 | 100 feet (30.5 m) | LS-CAB-RS4-TT100= |
Figure 3-12 is a signal diagram for the RS-449 fantail crossover cable.

This cable is used to connect a V.35 fantail to an external V.35 DCE device.
The cable is available from Cisco Systems. For ordering purposes, use an appropriate order number from the table below.
| Manufacturing No. | Length | Order No. |
| 72-1009-01 | 30 feet (9.1 m) | LS-CAB-V35-TC30= |
| 72-1010-01 | 50 feet (15.2 m) | LS-CAB-V35-TC50= |
| 72-1011-01 | 100 feet (30.5 m) | LS-CAB-V35-TC100= |
Figure 3-13 is a signal diagram for the V.35 fantail straight-through cable.

This cable is used to connect two LS2020 switches via their V.35 fantail interfaces, or to connect a V.35 fantail to an external V.35 DTE device.
This cable is available from Cisco Systems. For ordering purposes, use the appropriate order number from the table below.
| Manufacturing No. | Length | Order No. |
| 72-0997-01 | 8 feet (2.4 m) | LS-CAB-V35-TT8= |
| 72-0994-01 | 30 feet (9.1 m) | LS-CAB-V35-TT30= |
| 72-0995-01 | 50 feet (15.2 m) | LS-CAB-V35-TT50= |
| 72-0996-01 | 100 feet (30.5 m) | LS-CAB-V35-TT100= |
Figure 3-14 is a signal diagram for the V.35 fantail crossover cable.

This section describes the connectors and cables for the medium-speed access card (MSAC), as well as for the T3 and E3 access cards (T3AC and E3AC). These facilities are described in the following order:
Figure 3-15 shows a physical representation of the two-port T3 medium-speed access card (MSAC). This access card operates in conjunction with a medium-speed line card (MSC).
The MSAC is a first-generation access card that is available in three versions for performing different types of data transfer services, as indicated below:
Although different versions of the MSAC are available for performing different types of data transfer services as described above, the bulkheads of these access cards are identical in appearance and make use of the same cables for interconnection purposes.

Interface connector type: 75-ohm coaxial BNC jack
Connectors per MSAC card: four (two receive channels and two transmit channels)
Figure 3-16 is a physical representation of the 75-ohm coaxial data cable available for use in connecting directly to the BNC connectors on the medium-speed access card (MSAC). In addition, this cable can be used as a means of external connection to or from the BNC connector on the T3/E3 fantail (see the section entitled "T3/E3 Fantail and Cable Harness" and Figure 3-18).

Applications for the 75-ohm coaxial data cable include the following:
The 75-ohm coaxial cable is available from Cisco Systems in four different lengths. Use the appropriate number from the table below for ordering purposes.
| Manufacturing No. | Length | Order No. |
| 72-0998-01 | 3 feet (0.9 m) | LS-CAB-T3-CX3= |
| 72-0399-01 | 25 feet (7.8 m) | LS-CAB-T3-CX25= |
| 72-1000-01 | 50 feet (15.2 m) | LS-CAB-T3-CX50= |
| 72-1001-01 | 100 feet (30.5 m) | LS-CAB-T3-CX100= |
Figure 3-17 shows a physical representation of the medium-speed T3/E3 access cards (T3AC/E3AC). The T3AC and E3AC are second-generation, medium-speed access cards that operate in conjunction with cell line cards (CLCs). These cards, available in either four-port or eight-port versions, provide greater reliability and higher port density than the 2-port medium-speed access card.

Interface connector type: SMB connectors at the access card bulkhead and the rear of the T3/E3 fantail; BNC connectors at the front of the T3/E3 fantail (see Figure 3-18).
Connectors per access card: 8 or 16 SMB connectors, depending on the number of ports (either 4 or 8) on the T3/E3 access card. Each port has one receive connector and one transmit connector.
Figure 3-18 shows the T3/E3 fantail (dressing panel) containing 16 BNC connectors for external 75-ohm hookup, together with the cable harness that provides the means for direct connection between the back of the T3/E3 fantail and the SMB connectors on a T3AC or an E3AC access card. The T3/E3 fantail and cable harness, although shown together in Figure 3-18, are available separately. Ordering information for these items is provided in the tables below.

To interconnect patch panels or T3/E3 fantails to T3AC or E3AC access cards, both 4-port and 8-port coaxial cable harnesses are offered by Cisco Systems. These harnesses are available in 4-, 8-, or12-foot lengths. The table below shows appropriate ordering information for the T3 fantail cable harness.
| Manufacturing No. | Ports | Length | Order No. |
| 72-1097-01 | 4 | 4 feet (1.2 m) | LS-CAB-4T3-4B= |
| 72-1098-01 | 4 | 8 feet (2.4 m) | LS-CAB-4T3-8B= |
| 72-1099-01 | 4 | 12 feet (3.6 m) | LS-CAB-4T3-12B= |
| 72-1061-01 | 8 | 4 feet (1.2 m) | LS-CAB-8T3-4B= |
| 72-1062-01 | 8 | 8 feet (2.4 m) | LS-CAB-8T3-8B= |
| 72-1063-01 | 8 | 12 feet (3.6 m) | LS-CAB-8T3-12B= |
The table below shows appropriate ordering information for the E3 fantail cable harness.
| Manufacturing No. | Ports | Length | Order No. |
| 72-1097-01 | 4 | 4 feet (1.2 m) | LS-CAB-4E3-4B= |
| 72-1098-01 | 4 | 8 feet (4.2 m) | LS-CAB-4E3-8B= |
| 72-1099-01 | 4 | 12 feet (3.6 m) | LS-CAB-4E3-12B= |
| 72-1061-01 | 8 | 4 feet (1.2 m) | LS-CAB-8E3-4B= |
| 72-1062-01 | 8 | 8 feet (2.4 m) | LS-CAB-8E3-8B= |
| 72-1063-01 | 8 | 12 feet (3.6 m) | LS-CAB-8E3-12B= |
The table below shows appropriate ordering information for the T3/E3 fantail (dressing panel).
| Manufacturing No. | Order No. |
| 700-00605-01 | LS2020-T3E3-FT= |
The circuit emulation access card (CEMAC) is available in two versions:
Figure 3-19 shows the T1 and E1 CEMAC cards; the bulkhead view of these cards is identical, except for the identifying "T1" or "E1" nomenclature near the bottom of the bulkhead.
The E1 CEMAC card embodies user-settable jumpers that are configured initially at the factory for 120-ohm operation without a fantail. However, if you wish to configure the E1 CEMAC for 75-ohm operation with an E1 fantail, you must set these on-board jumpers accordingly.
For detailed information about setting the E1 CEMAC card jumpers, see the LightStream 2020 Hardware Reference & Troubleshooting Guide.

Figure 3-20 shows a component side view of the CEMAC card, together with its bulkhead connector, and an associated data cable.
To securely attach the data cable to the CEMAC card, unscrew the top mounting screw in the connector retention bracket (shown as "1" in Figure 3-20) and reposition it in the connector (as shown in "2"). Then, tighten down the mounting screw to attach the data cable to the bulkhead (as shown in "3"). Finally, secure the cable to the CEMAC bulkhead with the Velcro strip.

Table 3-2 shows the pin assignments common to the T1 and E1 CEMAC bulkhead connectors.
| Receive | Transmit | |||
|---|---|---|---|---|
| Port | Tip | Ring | Tip | Ring |
| 0 | 26 | 1 | 39 | 14 |
| 1 | 27 | 2 | 40 | 15 |
| 2 | 28 | 3 | 41 | 16 |
| 3 | 29 | 4 | 42 | 17 |
| 4 | 30 | 5 | 43 | 18 |
| 5 | 31 | 6 | 44 | 19 |
| 6 | 32 | 7 | 45 | 20 |
| 7 | 33 | 8 | 46 | 21 |
| Not used | 34 | 9 | 47 | 22 |
| Not used | 35 | 10 | 48 | 23 |
| Not used | 36 | 11 | 49 | 24 |
| Not used | 37 | 12 | 50 | 25 |
| ||||
Figure 3-21 shows the E1 fantail required for using the E1 CEMAC card in a 75-ohm mode of operation. Note that the E1 fantail is available in either of two versions: one equipped with BNC connectors, and one equipped with SMZ connectors. For convenience, Figure 3-21 illustrates both connector types on the fantail, although they are not intermixed in actual use.

Refer to the LightStream 2020 Hardware Reference & Troubleshooting Guide for information about configuring the TX GND and RX GND jumpers on the E1 fantail.
A 50-pin data cable is used as the means of interconnection between the bulkhead connector on the E1 CEMAC card and the back of the E1fantail. Figure 3-22 illustrates this cable.
The E1 fantail data cable is available from Cisco Systems in three lengths. For ordering purposes, use the appropriate order number from the following table.
| Manufacturing No. | Length | Order No. |
| 72-1094-01 | 4 feet (1.2 m) | LS-CAB-8E1-4B= |
| 72-1095-01 | 8 feet (2.4 m) | LS-CAB-8E1-8B= |
| 72-1096-01 | 12 feet (3.6 m) | LS-CAB-8E1-12B= |

Figure 3-23 shows the bulkhead view of both the OC-3c multimode access card and the OC-3c single mode access card. The cables for these cards are described in separate sections below.

Multimode interface connector type: Duplex SC
Connectors per multimode access card: four (two connectors per port; two ports numbered 0 - 1)
Single mode interface connector type: ST
Connectors per single mode access card: four (two connectors per port; two ports numbered 0 - 1)
This cable is used to connect a multimode OC-3c access card on an LS2020 switch to another OC-3c device.
Cisco Systems does not provide this cable; it is widely available from other vendors.
The LS2020 OC-3c interfaces operate at a wavelength of 1300 nanometers. Multimode cables should conform to the following specifications:
Standard: ISO/IEC 9314-3
Maximum path length (all cables in a connection, end to end): 2 km
Cabling: 62.5 micron core with an optical loss of 0 - 9 dB, or 50 micron core with an optical loss of 7 dB.
Figure 3-24 shows the simplex SC connectors on the multimode OC-3c data cable for the OC3AC - MM access card.

This cable is used to connect a single mode OC-3c access card on an LS2020 switch to another OC-3c device. Cisco Systems does not provide this cable; it is widely available from other sources.
The LS2020 OC-3c interfaces operate at a wavelength of 1300 nanometers. Single-mode cables should conform to the following specifications:
Standard: EIA class IVa
Cabling: 8.3 micron core with optical loss of 0 - 12 dB; maximum attenuation of 500 MHz/km at 1300 nanometers.
Figure 3-25 shows the ST connectors on the single mode OC-3c data cable for the OC3AC-SM access card.

Figure 3-26 shows the bulkhead view of an FDDI access card (FAC).

Each of the two FDDI ports contains two connectors, labeled A (red) and B (blue). These bulkhead connectors are keyed to ensure proper connection of the cable to the access card.
This cable is used to connect an LS2020 multimode FDDI access card to another FDDI device. Cisco Systems does not provide this cable; it is widely available from other vendors.
The LS2020 FDDI interface operates at a wavelength of 1300 nanometers. Cables should conform to the following specifications:
Cabling: 62.5 micron core, graded-index fiber with an optical loss of 11 dB and a maximum cable attenuation of 1.5 dB/km at 1300 nanometers.
Maximum path length: (all cables in a connection, end to end): 2 km
Figure 3-27 shows a physical representation of the FDDI data cable.

This section describes the bulkhead connectors and cables for the Ethernet access card (EAC).
Figure 3-28 shows the bulkhead view of the Ethernet access card, which includes eight RJ-45 connectors and two AUI connectors. The RJ-45 connectors are used for the twisted pair (10BaseT) ports.

Figure 3-28 shows the RJ-45 connectors and pin assignments on the Ethernet access card. These connectors are used by twisted pair (10BaseT) ports.
The cables used with the RJ-45 ports on the Ethernet access cards are described in the following sections.
This cable is used to connect the following:
Cisco Systems does not provide this cable; it is widely available from other vendors.
Figure 3-29 shows a physical representation of the Ethernet 10BaseT (twisted pair) straight-through cable and provides a schematic diagram of its pinout assignments.

This cable is used to directly connect an Ethernet access card on an LS2020 switch to another device on the Ethernet, such as a workstation.
Cisco Systems does not provide this cable; it is widely available from other sources.
Figure 3-30 shows a physical representation of the Ethernet 10BaseT (twisted pair) crossover cable and provides a schematic diagram of its pinout assignments.

Figure 3-31 shows the pin assignments for the two 15-pin Ethernet AUI connectors on the Ethernet access card. The top AUI connector is for ports 0 - 3, and the bottom connector is for ports 4 - 7.

This cable connects an AUI port on the Ethernet access card of an LS2020 switch to an Ethernet 10Base2 or 10Base5 transceiver. Cisco Systems does not provide this cable; it is widely available from other vendors.
Figure 3-32 shows a schematic diagram of the Ethernet access card AUI data cable.

This section describes the fiber Ethernet access card connectors and data cable.
Figure 3-33 shows the bulkhead view of the fiber Ethernet access card (FEAC).

This cable is used to connect a multimode fiber (10Base-FL) Ethernet access card in an LS2020 chassis to another fiber Ethernet device.
Cisco Systems does not provide this cable; it is widely available from other vendors.
The LS2020 fiber Ethernet interfaces operate at a wavelength of 850 nanometers. Multimode cables should conform to the following specifications:
Standard: ISO/IEC 9314-3
Maximum path length (all cables in a connection, end to end): 2 km
Cabling: 62.5 micron core with an optical loss of 0 - 9 dB, or 50 micron core with an optical loss of 7 dB.
Figure 3-34 illustrates the multimode fiber Ethernet access card data cable.

Figure 3-35 and Figure 3-36 illustrate the modem and the console connectors, respectively, on the bulkhead of the LS2020 switch card console/modem assembly.
Figure 3-35 shows a schematic diagram of the RS-232 modem port (DB25) connector. This port is labeled MODEM on the bulkhead of the switch card console/modem assembly.

Figure 3-36 shows a schematic diagram of the RS-232 console port (DB25) connector. This port is labelled CNSL on the bulkhead of the switch card console/modem assembly.

This cable is used to connect the LS2020 console port or modem port to an external console or modem.
Cisco Systems does not provide this cable; it is widely available from other vendors.
Figure 3-37 shows a schematic diagram of the RS-232 straight-through data cable.

A variety of power cordsets is available for AC-powered LS2020 switches. These cordsets are available either with systems or as spare parts. This section enables you to choose the proper cordset for your LS2020 site.
If you are specifying a cordset as part of a new system order, refer to the LS2020 Price List or the Products Catalogue and order the appropriate Country Power Kit. Doing so ensures that you will also receive the appropriate labels and instructions for the country of destination.
If you want to check the cordset included in a specific Country Power Kit, refer to Table 3-3, which cross-references cordset product numbers and Country Power Kit models.
If you need to order a replacement cordset that is not part of a Country Power Kit, you must reference the cordset's part number. This part number (P/N) appears above each cordset illustrated in the following section entitled "LightStream 2020 AC Power Cordsets."
A DC-powered system does not use a detachable power cord. The DC power cord must be permanently wired to a DC power source. Therefore, in place of a Country Power Kit, each DC-powered system is shipped with a DC Mounting Kit, Order Number L2020-PWR-DC=.
Each LS2020 AC power tray is equipped with one recessed male power inlet. The power connectors follow IEC Standard 320 C20 and require cordsets with an IEC 320 C19 female connector. (All cordsets offered by Cisco Systems for the LS2020 switch have IEC 320 C19 female connectors.)
Table 3-3 summarizes the specifications of AC power cordsets. The table lists the country of use, cordset rating, plug type, part number, and Country Power Kit for each cordset.
A physical representation of each power cordset available for use with the LS2020 switch is provided below, together with its specifications. For ease of reference, each diagram contains the part number (P/N) of the cordset in numerical order in the upper-left corner.
|
|