|
|
This chapter describes maintenance procedures for the LightStream 1010 asynchronous transfer mode (ATM) switch and its field-replaceable units (FRUs). Your switch is configured as specified in your order and is ready for installation and startup when it leaves the factory. As your communication requirements change, you might want to upgrade your system, add components, or change the initial configuration. This chapter describes the procedures for installing, replacing, and reconfiguring port adapter modules (PAMs), and for adding and replacing internal system components such as the system fan assembly and power supplies. Software and component upgrades require specific document part numbers and other frequently updated information; therefore, only basic replacement guidelines are included in this publication. Detailed, up-to-date instructions (called configuration notes) are shipped with the replacement part upgrade kits.
There are two kinds of replaceable system components: those that support hot-swapping and those that require you to shut down the system power before you replace them. Redundant power supplies, carrier modules (CAMs), PAMs, and the fan assembly can be replaced while the system is operating.
![]() | Caution All CAMs and PAMs support hot-swapping. The ATM Switch Processor (ASP) is a required system component. Removing an ASP while the system is operating will cause the system to shut down. Do not remove the ASP while the switch is powered on. |
This chapter contains the following information:
![]() | Warning Read the installation instructions before you connect the system to its power source. |
All CAMs and PAMs support hot swapping, which allows you to install, remove, replace, and rearrange the CAMs or PAMs without turning off the system power. When the system detects that a CAM or PAM has been installed or removed, it automatically runs diagnostic and discovery routines, acknowledges the presence or absence of the PAM, and resumes system operation without any operator intervention.
![]() | Caution All CAMs or PAMs support hot-swapping. The ASP is a required system component. Removing an ASP while the system is operating will cause the system to shut down and may damage the processor. |
The hot-swap feature allows you to remove and replace modules while the system is operating; you do not need to notify the software or shut down the system power. All CAMs and PAMs (except for the ASP) support hot-swapping.
Each CAM contains a bus-type connector that mates with the system backplane. Each card connector consists of a set of tiered pins, in three lengths. The pins send specific signals to the system as they make contact with the backplane. The system assesses the signals it receives and the order in which it receives them to determine what event is occurring and what task it needs to perform, such as reinitializing new interfaces or shutting down removed ones.
For example, when inserting a CAM, the longest pins make contact with the backplane first, and the shortest pins make contact last. The system recognizes the signals and the sequence in which it receives them. The system expects to receive signals from the individual pins in this logical sequence, and the ejector levers help to ensure that the pins mate in this sequence.
When you remove or insert a PAM, the backplane pins send signals to notify the system, which then performs as follows:
Unconfigured PAMs installed for the first time start up in the shutdown state. The system identifies them as present but unconfigured. Each must be manually configured from the command line.1
Hot-swap functionality enables you to add, remove, or replace CAMs or PAMs with the system online, which provides a seamless method to users on the network, maintains all routing information, and ensures session preservation.
When you insert a new CAM or PAM, the system runs a diagnostic test on the new interfaces and compares them to the existing configuration. If this initial diagnostic fails, the system remains offline for another 15 seconds while it performs a second set of diagnostic tests to determine whether or not the PAM is faulty and if normal system operation is possible.
If the second diagnostic test passes, which indicates that the system is operating normally and the new PAM is faulty, the system resumes normal operation but leaves the new interfaces disabled.
If the second diagnostic test fails, the system crashes, which usually indicates that the new PAM has created a problem in the bus and should be removed.
![]() | Caution To avoid erroneous failure messages, allow at least 15 seconds for the system to reinitialize and note the current configuration of all interfaces before you remove or insert another PAM. |
The ejector levers and installation screws (Figure 9-1) align and seat the card connectors in the backplane. Follow the installation and removal instructions carefully, and review the following examples of incorrect insertion practices and results:
It is also important to use the ejector levers and installation screws when removing an ASP, CAM, or PAM to ensure that the card connector pins disconnect from the backplane in the logical sequence expected by the system. Any ASP, CAM, or PAM that is only partially connected to the backplane can hang the bus. Detailed steps for correctly performing hot-swapping are included in the following procedures for installing and removing CAMs or PAMs. For more information, see the section "What is Hot-Swapping?".
Following are detailed steps for removing and replacing CAMs or PAMs and successfully performing hot-swap. Figure 9-1 shows the ejector levers, which you must use when inserting or removing the ASP or CAMs.

You need a 3/16-inch flat-blade screwdriver to remove any filler (blank) PAMs and to tighten the captive installation screws that secure the ASP, CAMs, and PAMs in their slots. Whenever you handle ASP, CAMs, or PAMs, you should use a wrist strap or other grounding device to prevent electrostatic discharge (ESD) damage. See the section "Preventing Electrostatic Discharge Damage" in the chapter "Preparing for Installation."
ASP and CAM removal instructions are the same, except only CAMs and PAMs support hot-swapping. The ASP is a required system component. Removing an ASP while the system is operating will cause the system to shut down.
Take the following steps to remove an ASP or CAM:
Step 1 Use a screwdriver to loosen the captive installation screws at the left and right sides of the ASP or CAM.
Step 2 Place your thumbs on the left and right ejector levers and simultaneously push the left lever left and the right lever right to release the ASP or CAM from the backplane connector.
Step 3 Grasp the ASP or CAM faceplate with one hand and place your other hand under the carrier to support and guide the module out of the slot. Avoid touching the card.
Step 4 Carefully pull the ASP or CAM straight out of the slot, keeping your other hand under the carrier to guide it. Keep the module at a 90-degree orientation to the backplane.
Step 5 Place the removed ASP or CAM on an antistatic mat or antistatic foam, or immediately install it in another slot.
Step 6 If the CAM slot is to remain empty, install a module filler plate (part number WAT-CAM-CVR=) to keep dust out of the chassis and to maintain proper airflow through the module compartment.
![]() | Caution Always install the CAM filler plate in empty PAM slots to maintain the proper flow of cooling air across the cards. |
The ASP is a required system component. Removing an ASP while the system is operating will cause the system to shut down and may damage the processor. Power off the system before removing the ASP. |
You can install CAMs in any of the four CAM slots numbered 0 through 4 from top to bottom when viewing the chassis from the front. (See Figure 9-2.) The middle slot
(number 2) contains the ASP, which is a required system component. Blank CAM and PAM fillers are installed in CAM or PAM slots without CAMs or PAMs to maintain consistent airflow through the module compartment.

ASP and CAM installation instructions are essentially the same, except the ASP does not support hot-swapping. The ASP is a required system component. Removing an ASP while the system is operating will cause the system to shut down. For more information, see the section "What is Hot-Swapping?"
Take the following steps to install an ASP or CAM:
![]() | Caution Handle ASP or CAM by the carrier edges only to prevent ESD damage. |
Step 1 If replacing a CAM, ensure that there is enough clearance to accommodate any interface equipment that you will connect directly to the CAM ports. If possible, install CAMs between empty slots that contain only module filler plates.
The ASP is a required system component. Removing an ASP while the system is operating will cause the system to shut down and may damage the processor. Power off the system before removing the ASP. |
Step 2 ASPs and CAMs are secured with two captive installation screws. Use a 1/4-inch flat-blade screwdriver to loosen the captive installation screws and remove the CAM filler (or the existing CAM) from the slot you want to use.
Step 3 Hold the ASP or CAM faceplate with one hand, and place your other hand under the carrier and guide it into the slot. Avoid touching the card. (See Figure 9-3.)
Step 4 Place the back of the ASP or CAM in the slot and align the notch on each side of the module carrier with the groove in the slot.

Step 5 While keeping the ASP or CAM at a 90-degree orientation to the backplane, carefully slide it into the slot until the faceplate makes contact with the ejector levers.
Step 6 Using the thumb and forefinger of each hand, simultaneously push the left lever and the right lever in to fully seat the ASP or CAM in the backplane connector.
Step 7 Use a screwdriver to tighten the captive installation screws on the left and right ends of the ASP or CAM.
Step 8 Attach network interface cables or other devices to the interface ports.
Step 9 If needed, turn the power back on. See the section "Starting the System" in the chapter "Installing the LightStream 1010 ATM Switch."
Step 10 Check the status of the interfaces as follows:
Following are installation steps for the PAMs, which support hot-swapping and can be removed and installed while the system is operating.
![]() | Caution Handle PAMs by the carrier edges only to prevent ESD damage. |
Step 1 Choose a PAM slot in a CAM (see Figure 9-4) and ensure that there is enough clearance to accommodate any interface equipment that you will connect directly to the PAM ports. If possible, place PAMs between empty slots that contain only PAM filler plates.

Step 2 CAMs are secured with one captive installation screw in the center of the faceplate. Use a 1/4-inch flat-blade screwdriver to loosen the captive installation screw and remove the PAM filler (or the existing PAM) from the PAM slot you want to use.
Step 3 Place the back of the PAM in the slot and align the notch on the sides of the module carrier with the groove in the slot. (See Figure 9-5.)
Step 4 Hold the PAM by both sides and guide it into the slot. Avoid touching the PAM's components.

Step 5 While keeping the PAM at a 90-degree orientation to the backplane, carefully slide the PAM into the slot until the faceplate makes contact with the CAM faceplate.
Step 6 Use a 1/4-inch flat-blade screwdriver to tighten the captive installation screw in the center of the PAM faceplate and draw the PAM into the CAM connector until the PAM faceplate is flush with the CAM faceplate and the CAM is fully seated in the connector. (See Figure 9-5.)
Step 7 Attach network interface cables or other devices to the interface ports.
Step 8 Check the status of the interfaces as follows:
![]() | Caution All PAMs support hot-swapping. The ASP is a required system component. Removing an ASP while the system is operating will cause the system to shut down. |
When you remove and replace CAMs and PAMs, the system provides status messages on the console screen. The messages are for information only. In the following sample display, you can follow the events logged by the system when a PAM was removed from slot 3/0. When the PAM is reinserted, the system marks the module as ready again.
Switch# %OIR-6-REMCARD: Card removed from slot 3/0, interfaces disabled %LINK-5-CHANGED: Interface 155UTP 3/0, changed state to administratively down %LINK-5-CHANGED: Interface 155UTP 3/0, changed state to administratively down Switch# %OIR-6-INSCARD: Card inserted in slot 3/0, interfaces administratively shut down %LINK-5-CHANGED: Interface 155UTP 3/0, changed state to up %LINK-5-CHANGED: Interface 155UTP 3/0, changed state to up Switch#
The PAMs support different media and interface types. The configuration commands used with these different PAMs vary according to PAM type. For complete PAM configuration information, refer to the publications LightStream 1010 ATM Switch Software Configuration Guide and LightStream 1010 ATM Switch Command Reference.
This section describes how to update the software on the LightStream 1010 ATM switch. New software to implement enhancements and maintenance releases will be provided periodically. To update software is to initiate the network download to the switch using a Trivial File Transfer Protocol (TFTP) download server.
The following examples discuss updating the LightStream 1010 ATM switch flashcode with the version number displayed as xx.
When you restart the system, the system loads the system image from Flash memory. You can use the show version command to display the current system image version.
The show version command displays the current Flashcode version on the first line of the display for the ASP:
Switch#show version Cisco Internetwork Operating System Software IOS (tm) GS Software (LS1010-I-M), Version 11.0(6510) [cyadaval 124] Copyright (c) 1986-1995 by cisco Systems, Inc. Compiled Fri 12-Jan-96 10:34 by cyadaval Image text-base: 0x600087F0, data-base: 0x60282000 ROM: System Bootstrap, Version 11.0(4825), INTERIM SOFTWARE ROM: GS Software (LS1010-I-M), Experimental Version 11.0(6510) [cyadaval 108] Switch uptime is 6 hours, 22 minutes System restarted by reload System image file is "/home/cyadaval/ls1010-i-m.bin.Z", booted via tftp from 171 .69.197.2 cisco RSP1 (R4600) processor with 16384K bytes of memory. R4600 processor, Implementation 32, Revision 2.0 Last reset from power-on 1 Ethernet/IEEE 802.3 interface. 4 ATM network interfaces. 125K bytes of non-volatile configuration memory. 8192K bytes of Flash internal SIMM (Sector size 256K). Configuration register is 0x0 Switch#
If the display shows that the system image loading from Flash memory is the wrong version, see the chapter, "Loading System Images, Software Images, and Configuration Files" in the LightStream 1010 ATM Switch Software Configuration Guide.
Take the following steps to verify that the new microcode version is loaded:
Step 1 Verify that the system boots correctly. If the status LED on the ASP or PAM you just reinstalled fails to go on, repeat the steps in the section "Replacing SIMMs (Upgrading DRAM and Flash)" later in this chapter.
Step 2 Check the state of the interfaces by looking at the status LEDs and verify that the interfaces return to the same state they were in before you removed the PAM (some may have been shut down).
Step 3 Enter the show version command to display the system software configuration.
Step 4 If the new Flashcode version is displayed, your installation is complete. If a different (older) version is displayed, the old Flashcode is still loading from Flash memory.
The installation procedure is complete. If the status LED fails to go on after a second installation attempt, or if any of the interfaces fail to return to their previous state, refer to the troubleshooting procedures in the section "Troubleshooting" in the chapter "Confirming the Installation."
You may want to replace the LightStream 1010 ATM switch system software from a network server to the onboard Flash memory. This replacement may be needed if the software image on your switch has been updated or been corrupted.
The following example shows how to use the copy tftp flash command to copy a system image named ls1010-wi-m_1.083.bin.Z from Flash memory to a TFTP server. The filename ls1010-wi-m_1.083.bin.Z must be entered in lowercase to match the file name in the example; the system is case sensitive. If more than one file of the same name is copied to Flash, regardless of case, the last file copied becomes the valid file.
Switch#copy flash tftp Enter source file name: ls1010-wi-m_1.083.bin.Z Enter destination file name [ls1010-wi-m_1.083.bin.Z]: CCCCCCCCCCCCCCCCCCCCCCCCCCCCCCCCCCCCCCCCCCCCCCCCCCCCCCCCCCCCCCCCCCCC Address or name of remote host [172.69.1.129]? 171.69.1.129 ! Switch#
A series of Cs indicates that a checksum verification of the image is occurring after the image is written to Flash memory.
The following example shows how to copy a system image named ls1010-wi-m_1.083.bin.Z into the current Flash configuration in which a file named ls1010-wi-m_1.083.bin.Z already exists:
Switch#copy tftp flash
Enter source file name: ls1010-wi-m_1.083.bin.Z
Enter destination file name [ls1010-wi-m_1.083.bin.Z]:
5746016 bytes available on device slot0, proceed? [confirm]y
Address or name of remote host [dirt.cisco.com]? 171.69.1.129
Accessing file "ls1010-wi-m_1.083.bin.Z" on dirt.cisco.com ...FOUND
Loading ls1010-wi-m_1.083.bin.Z from 171.69.1.129 (via Ethernet2/0/0): !!!!!!!!!
!!!!!!!!!!!!!!!!!!!!!!!!!!!!!!!!!!!!!!!!!!!!!!!!!!!!!!!!!!!!!!!!!!!!!!!!!!!!!!!!
!!!!!!!!!!!!!!!!!!!!!!!!!!!!!!!!!!!!!!!!!!!!!!!!!!!!!!!!!!!!!!!!!!!!!!!!!!!!!!!!
!!!!!!!!!!!!!!!!!!!!!!!!!!!!!!!!!!!!!!!!!!!!!!!!!!!!!!!!!!!!!!!!!!!!!!!!!!!!!!!!
!!!!!!!!!!!!!!!!!!!!!!!!!!!!!!!!!!!!!!!!!!!!!!!!!!!!!!!!!!!!!!!!!!!!!!!!!!!!!!!!
!!!!!!!!!!!!!!!!!!!!!!!!!!!!!!!!!!!!!!!!!!!!!!!!!!!!!!!!!!!!!!!!!!!!!!!!!!!!!!!!
!!!!!!!!!!!!!!!!!!!!!!!!!!!!!!
[OK - 2247751/4495360 bytes]
CCCCCCCCCCCCCCCCCCCCCCCCCCCCCCCCCCCCCCCCCCCCCCCCCCCCCCCCCCCCCCCCCCCC
Switch#
A series of Cs characters indicates that a checksum verification of the image is occurring after the image is written to Flash memory.
The following example copies the switch-config file from a TFTP server to the Flash memory card inserted in PCMCIA slot 0 of the ASP card. The copied file has the name new-config.
Switch# copy tftp:switch-config slot0:new-config
The system is now ready to be configured to boot from the new image you copied to Flash memory. For more information on the copy tftp flash command and other related commands, refer to the publications LightStream 1010 ATM Switch Software Configuration Guide and LightStream 1010 ATM Switch Command Reference.
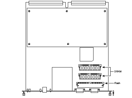
The system DRAM resides on two Single In-Line Memory Modules (SIMMs) on the ASP. The default DRAM configuration is 16 MB. This section provides the steps for increasing the amount of DRAM from 16 MB to 32 or 64 MB by adding two 16- or 32-MB SIMMs.
The amount of DRAM required on the ASP module is determined by the number of active physical and logical ports (virtual path tunnels) and the expected number of active switched virtual channels (SVCs) through the switch. Table 9-1 is an approximate guide that should be used when determining the amount of DRAM required for a switch with 32 physical ports.
| SVCs Required | DRAM Required |
|---|---|
| Less than 4000 active SVCs | 16 MBytes DRAM |
| Between 4000 and 16000 active SVCs | 32 MBytes DRAM |
| Between 16000 and 32000 active SVCs | 64 MBytes DRAM |
Although the SIMM specifications are defined in the manufacturers' part numbers, the SIMMs must meet the following requirements:
The system Flash memory resides on a single SIMM on the ASP. The default flash memory configuration is 8 MB. This section provides the steps for increasing the amount of Flash from 8 MB to 16 MB by replacing the 8 MB SIMM with a 16 MBSIMM.
You need the following parts and tools to replace SIMMs. If you need additional equipment, contact a customer service representative for ordering information.
The system DRAM resides in two SIMMs on the ASP. The DRAM SIMM sockets are U164 and U178. The default DRAM configuration is 16 MB (two 8-MB SIMMs). (See Figure 9-6.)

Before proceeding, ensure that you have met the following prerequisites:
![]() | Caution To upgrade DRAM, you install SIMMs in both DRAM SIMM connectors. To prevent DRAM errors, both DRAM connectors must contain one SIMM of the same type. |
![]() | Caution The ASP must not be removed while the switch is powered on. The switch must be powered off before removing this module. Removing the ASP while the power is on may damage the processor. |
Place removed SIMMs on an antistatic mat and store them in an antistatic bag. You can use the SIMMs that you remove in compatible equipment. To prevent ESD damage, handle SIMMs by the card edges only.
Follow these steps to remove the existing SIMMs:
Step 1 Turn off the system power, but do not disconnect the power cable (to channel ESD voltages to ground).
Step 2 Attach an ESD-preventive wrist strap between you and an unpainted chassis surface.
Step 3 Disconnect the console and auxiliary cables from the ASP.
Step 4 Referring to Figure 9-1, loosen the captive installation screws on the ASP and remove one from slot 2 of the chassis.
Step 5 Place the ASP on an antistatic mat or pad, and ensure that you are wearing an antistatic device, such as a wrist strap. Position the ASP so that the faceplate is away from you, and the edge connector is toward you (opposite of the position shown in Figure 9-6).
Step 6 Locate SIMMs. The DRAM SIMMs occupy sockets U164 and U178. The Flash SIMM occupies socket U189. (See Figure 9-6.)
Step 7 Release the spring clips from the SIMM that you wish to remove and release the SIMM from the socket. (See Figure 9-7.)

Step 8 When both ends of the SIMM are released from the socket, grasp the ends of the SIMM with your thumb and forefinger and pull the SIMM completely out of the socket. Handle the edges of the SIMM only; avoid touching the memory module, pins, metal traces, or fingers, along the socket edge.
Step 9 Place the SIMM in an antistatic bag to protect it from ESD damage.
Step 10 Repeat steps 7 through 9 for the remaining SIMMs, as required for your upgrade.
This completes the SIMM removal procedure. Proceed to the next section to install the new SIMMs.
SIMMs are sensitive components that are susceptible to ESD damage. Handle SIMMs by the edges only; avoid touching the memory modules, pins, or traces (the metal fingers along the connector edge of the SIMM). (See Figure 9-8.)

![]() | Caution Handle SIMMs by the card edges only. SIMMs are sensitive components that can be shorted by mishandling. |
Follow these steps to install the new SIMMs:
Step 1 With the ASP in the same orientation as in the previous procedure (with the handle facing away and the edge connector toward you), install the first SIMM in the socket farthest from you. Then install the last SIMM in the socket closest to you.
Step 2 Remove a new SIMM from the antistatic bag.
Step 3 Hold the SIMM component side up with the connector edge (the metal fingers) closest to you.
Step 4 Hold the sides of the SIMM between your thumb and middle finger, with your forefinger against the far edge, opposite the connector edge. (See Figure 9-6.)
Step 5 Tilt the SIMM to approximately the same angle as the socket, and insert the entire connector edge into the socket.
![]() | Caution When inserting SIMMs, use firm but not excessive pressure. If you damage a socket, you will have to return the ASP to the factory for repair. |
Step 6 Gently push the SIMM into the socket until the spring clips snap over the ends of the SIMM. If necessary, rock the SIMM gently back and forth to seat it properly.
Step 7 Repeat steps 2 through 6 for the remaining SIMM.
Step 8 When both SIMMs are installed, check all four alignment holes (two on each SIMM) and ensure that the spring retainer is visible. If it is not, the SIMM is not seated properly. If any SIMM appears misaligned, carefully remove it and reseat it in the socket. Push the SIMM firmly back into the socket until the retainer springs snap into place.
The SIMM replacement procedure is now complete.
To replace the ASP in the chassis, see the section "Installing and Replacing the ASP, CAMs, and PAMs" earlier in this chapter. After the rasp has been replaced, restart the system for an installation check.
If the system fails to boot properly, or if the console terminal displays a checksum or memory error, check the following:
If after several attempts the system fails to restart properly, contact a service representative for assistance. Before you call, make note of any error messages, unusual LED states, or any other indications that might help solve the problem.
The feature card is a daughter card of the ASP module, and it implements numerous value-add capabilities over and above the base switch mechanisms such as the following:
Supporting such capabilities on the field replaceable feature card allows the LightStream 1010 to be upgraded in the field as and when such standards evolve and more advanced mechanisms are required. Upgrading the feature card will require that the switch be powered down and the ASP module removed.
![]() | Caution Before performing any procedures in this chapter, review the sections "Safety Recommendations," "Safety with Electricity," and "Preventing Electrostatic Discharge Damage" in the chapter "Preparing for Installation." |
![]() | Caution The ASP must not be removed while the switch is powered on. The switch must be powered off before removing this module. Removing the ASP while the power is on may damage the processor. |
Perform the following steps to remove the feature card from the ASP:
Step 1 Remove the ASP following the instructions in the section "Removing the ASP, CAMs, or PAMs."
Step 2 Place the removed ASP on an antistatic mat or antistatic foam.
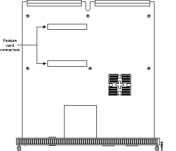
Step 3 Find the feature card installed on the ASP. (See Figure 9-9.)

Step 4 Remove the six mounting screws attaching the feature card to the ASP.
Step 5 While holding down on the ASP, pull up on the feature card, see Figure 9-9, to disconnect it from the two female connectors on the ASP. (See Figure 9-10.)
![]() | Caution To avoid breaking the feature card ensure that your pulling pressure on the feature card is applied as close as possible to the ASP feature card connectors underneath. |

Step 6 Insert the old feature card into an antistatic bag immediately.
Perform the following steps to replace the feature card on the ASP:
Step 1 Carefully align the new feature card with the female connectors on the ASP. (See Figure 9-10.)
Step 2 Confirm that the mounting holes are aligned with the standoffs on the ASP.
Step 3 Carefully press the feature card male connectors into the female connectors on the ASP.
![]() | Caution To avoid breaking the feature card apply pressure to the feature card directly over the ASP feature card connectors underneath. |
ensure that your pulling pressure on the feature card is applied as close as possible to the ASP feature card connectors underneath.
Step 4 Reinstall the six mounting screws removed earlier. (See Figure 9-9.)
Step 5 Replace the ASP following the instructions in the section "Installing the ASP, CAMs, or PAMs."
The feature card removal and replacement procedure is now complete. Refer to the section "Starting the System."
The switch is configured to your order and is ready for installation and startup when it leaves the factory. As your communication requirements change, you may want to upgrade your system and add or replace a power supply. This section describes the procedures for installing, replacing, and reconfiguring power supplies.
The 376W power supplies (AC-input) are used in the switch support redundant hot swapping. When two power supplies are installed, you can install, remove, or replace one of the supplies without affecting system operation. When power is removed from one supply, the redundant power feature causes the second supply to ramp up to full power and maintain uninterrupted system operation. In systems with dual power supplies, connect each power supply to separate input lines so that, in case of a line failure, the second source will most likely still be available and can maintain maximum overcurrent protection for each power connection.
A modular power cord connects each power supply to the separate site power sources.
![]() | Caution Use both hands to remove and install power supplies. |
![]() | Caution Keep hands and fingers out of the power-supply bays. High voltage is present on the power backplane when the system is operating. |
You will need a 1/4-inch flat-blade screwdriver to remove and install filler plates and to loosen or tighten the captive installation screws on the power-supply.
Always install a filler plate over an empty power supply bay to protect the connectors from contamination.
Take the following steps to remove a power supply:
Step 1 Turn OFF the power switch on the power supply you are removing. (See Figure 9-11.)
![]() | Caution Failure to turn off the power supply could result in equipment damage. |

Step 2 Disconnect the power cord from the power source.
Step 3 Remove the power cord from the power inlet.
Step 4 Use a screwdriver to loosen and remove the captive installation screws on the sides of the supply. (See Figure 9-12.)

Step 5 Grasp the power-supply handle with one hand and place your other hand underneath to support the bottom of the supply, as shown in Figure 9-13.

Step 6 Pull the supply out of the bay and put it aside.
Step 7 If the power-supply bay is to remain empty, install a blank power-supply filler plate (part number 700-00177-01) over the opening and secure it with the mounting screws. This precaution not only protects the inner chassis from dust, but also the connectors in the rear of the bay, which expose current levels when the chassis is powered on.
Step 8 Replace the power supply by following Step 1 through Step 5 in reverse.
![]() | Caution Keep hands and fingers out of the power-supply bays. High voltage is present on the power backplane when the system is operating. |
This section describes how to replace the fan assembly (the chassis fans in a single unit that draw in cooling air and distribute it across the ASP, CAMS, and PAMs).
![]() | Caution Before performing any procedures in this chapter, review the sections "Safety Recommendations," "Safety with Electricity," and "Preventing Electrostatic Discharge Damage" in the chapter "Preparing for Installation." |
![]() | Caution If you are replacing the fan assembly while the unit is operating, make sure the replacement fan assembly is ready to be installed immediately. |
The chassis fan assembly draws cooling air in through the right side of the chassis and exhausts it through the left side, facing the rear of the switch, to cool the ASP and PAMs. The absence of cooling air can cause the interior of the chassis to heat up and may cause an overtemperature condition. Never operate the system if the fan assembly is not functioning properly.
The fan assembly is located at the left of the chassis card cage. (See Figure 9-14.) The fan assembly is secured to the backpanel with two captive installation screws.
![]() | Caution Never operate the system if the fan assembly is not functioning properly or if one is not reinstalled quickly. An overtemperature condition can result in severe equipment damage. |

You need a 3/16-inch flat-blade screwdriver to remove the fan assembly.
Take the following steps to remove the existing chassis fan assembly:
Step 1 Locate the fan assembly (Figure 9-14), which is installed to the left of the card cage, under the power supply.
Step 2 Using a flat-blade screwdriver, loosen each of the two captive installation screws by turning them counterclockwise.
Step 3 When both screws are loosened, unscrew them from the backplane. These captive installation screws are fixed to the fan assembly; do not attempt to completely remove them.
Step 4 Grasp the fan assembly with both hands and pull it outward (toward you and away from the backplane) using steady pressure and jogging it until it frees the backplane.
Step 5 Lift the fan assembly out of the chassis and place it in a safe place.
If the power has not been turn off, quickly proceed to the following section to reinstall a fan assembly.
![]() | Caution Never operate the system if the fan assembly is not functioning properly or if one is not reinstalled quickly. An overtemperature condition can result in severe equipment damage. |
Take the following steps to install the new fan assembly:
Step 1 Hold the fan assembly with the two fans facing to the right.
Step 2 Place the fan assembly into the front chassis cavity so it rests on the floor of the chassis, then lift the fan assembly up slightly and align the top and bottom guides.
Step 3 Push the fan assembly into the chassis until the screws meet the back panel.
Step 4 Tighten each of the two captive installation screws by turning them clockwise.
Perform the following steps to verify that the new fan assembly is installed correctly:
Step 1 Listen for the fan assembly; you should immediately hear it operating. If you do not hear it, turn off the system power and ensure that the fan assembly power is completely inserted in the chassis and the faceplate is flush with the switch backpanel. If after several attempts the fan assembly does not operate, or if you experience trouble with the installation (for instance, if the captive installation screws do not align with the backplane holes), contact a customer service representative for assistance.
The fan assembly replacement is now complete.
|
|