|
|
This chapter provides further information on ATM network connections and related functions. The chapter also discusses ATM connection topics such as features, configuring, types, etc.
ATM services are established in StrataCom broadband networks by adding ATM connections between ATM Service Interface ports in the network. ATM permanent virtual circuits (PVCs) can originate and terminate on the ATM Service Interface cards on the BPX, or on the AXIS shelf (with the introduction of the AUSM card for the AXIS).
is a simplified depiction of ATM connections over a BPX network. It shows ATM connections via ASI-1 and ASI-155 cards, as well as over AXIS shelves. It also shows frame relay to ATM interworking connections over AXIS, IPX, and IGX shelves. For further information on the AXIS shelf, refer to the AXIS Reference Manual. ATM Connections over a BPX Network.

The ATM Service Interface Cards for the BPX are the ASI-1 and ASI-155 card sets which provide for the termination of ATM connections in an ATM network.
The ASI-1 is a 2-port DS3 access service interface card (ATM-UNI) for the BPX switch. The ASI-1 card set consists of the following:
The following lists the features available with Release 8.1 of the ASI-1 card set and system software. Later releases will include additional features.
The ASI-155 is a 2-port OC3 SONET/SDH access service interface card (ATM-UNI) for the BPX switch. The ASI-155 card set consists of the following:
The following lists the features available with Release 8.1 of the ASI-155 card set and system software. Later releases will include additional features.
Each ASI-1 provides two ports for ATM connections with a T3/E3 line interface for connection to user devices. These ports are used for User-to-Network (UNI) as well as Network-to-Network (NNI) Interfaces.
These ports process the ATM data at the Physical Media Dependent (PMD) and Transmission Convergence (TC) sub-layers in accordance with the ITU-T and ATM Forums protocol layer models. The TC layer is also referred to as the Physical Layer Convergence Protocol (PLCP).
Each DS3 port supports an ATM cell rate of 96,000 cells/sec. (E3 ports support 80,000 cells/sec.) Timing is sourced from the BPX only at this time. A 64,000 cell ingress buffer is shared between the two ports on the ASI.
The ASI-155 provides two OC-3/STM- 1 Multi-Mode Fiber/Single Mode Fiber Back ports for connection to user devices. The ASI-155 will provide additional interface types in future releases. These ports are used for both User-to-Network (UNI) as well as Network-to-Network (NNI) Interfaces.
The three categories of ATM service types provided by the ASI-1 are:
The two categories of ATM service types provided by the ASI-155 are:
CBR uses fixed bandwidth. CBR traffic is more time dependent, less tolerant of delay, and generally more deterministic in bandwidth requirements. Voice and high-resolution video are typical examples of traffic utilizing this type of connection.
VBR and ABR are of a bursty nature that utilizes network bandwidth intermittently but often require large amounts of bandwidth when active. Delay is usually not a major consideration as long as it does not become excessive.
VBR uses a variable amount of bandwidth, but bandwidth must still be reserved to meet QOS requirements.
ABR applies the optional ForeSight congestion management feature to variable bit rate traffic. ForeSight is a rate-based, dynamic, closed-loop feedback congestion control mechanism. The ForeSight congestion management feature provides more throughput with less network congestion than for connections operating without it.
If desired, all three service types may be intermixed within the network or even within connections originating on the same node or card. Connection classes are templates that are applied as each connection is added to the network. Additional connection classes, up to 32 (ASI-1) or up to 12 (ASI-155) can be defined as needed in the future.
ATM connections are identified as follows:
The slot and port are related to the BPX hardware. Virtual path connections (VPCs) are identified by a "*" for the VCI field. Virtual circuit connections (VCCs) are identified by both a VPI and VCI field.
For VCCs, the allowable VPI field is from 0-255 (UNI) or 0-1023 (NNI), and the allowable VCI field is from 0 to 65535. For VPCs, the high order 4 bits of the VCI are masked by the ASI, restricting the VCI range to 0-4095.
The ASI-1 card supports 1000 PVCs and an ASI-155 card supports 1000 PVCs per port. A BPX node can support 1000 ungrouped PVCs or 5000 grouped PVCs.
Connections added to the StrataCom network are automatically routed once the end points are specified. This AutoRoute feature is standard with all BPX and IPX nodes. The network automatically detects trunk failures and routes connections around the failures.
The ATM cells carried on the ATM connections are assumed to be in the format and have the structure compliant with ITU-T Recommendation I.361 and ANSI T1S1.5/92-002R3
ASI-1: Cells with HEC errors, including single bit errors, are dropped and a PVC statistic is incremented. Cells with non-zero GFC are admitted, and a PVC statistic is incremented.
The Cell Loss Priority setting is enabled on a per-connection basis for the ASI-1. Cell Loss Priority indicates to the network that cells are candidates for discard if they encounter network congestion. The CLP bit may be set, per user selection for incoming cells, if the applicable leaky bucket is filled. If the CLP bit is set to 1, then the cell may be discarded if it encounters congestion downstream.
ASI-155: Single-bit HEC errors are corrected by the ASI-155, but no channel statistics are kept. There is no non-zero GFC counter on the ASI-155. The CLP bit may be set, per user selection, for incoming cells if the leaky bucket is filled. If the CLP bit is set to 1, then the cell may be discarded if congestion is encountered downstream. The Resource Management (RM) option is not used by the ASI-155.
As specified in ITU-T (CCITT) standards, the BPX offers multiple levels of traffic control and resource management.
AutoRoute' is the automatic routing and re-routing of connections and is proprietary to StrataCom.
OptiClass' offers up to 32 programmable service classes. For ATM connections, CBR, VBR, and ABR classes are used on the BPX with up to 32 classes available.
FairShare' provides per-PVC queueing and per-PVC scheduling and provides fairness in servicing connections and firewalls between the connections. Firewalls prevent a non-compliant connection from affecting the QoS of compliant connections.
With UPC (Usage Parameter Control) enabled for a connection, incoming cell traffic is monitored for compliance with configurable traffic parameters.
Congestion management may be provided by Selective Cell Discard or by ForeSight' which provides a dynamic closed-looped rate-based congestion control mechanism for bursty traffic.
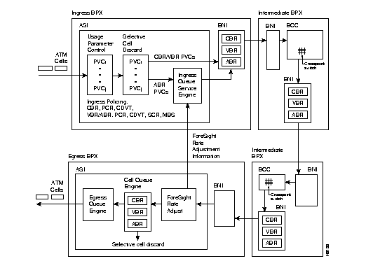
Figure 5-2 shows a simplified example of ATM cell traffic across a BPX network. At the network ingress node, UPC policing, selective cell discard, individual PVC queuing, and the ForeSight congestion control functions are performed. At the intermediate nodes, PVCs are enqueued according to their ATM Service classes (CBR, VBR, or ABR) and congestion information is carried forwarded to the egress BPX node.
At the egress node, selective cell discard is performed, and PVCs are enqueued according to their ATM Service classes (CBR, VBR, or ABR).
For ABR connections, ForeSight congestion information is fed back from the egress node to the ingress node to provide dynamic adjustment of the rate at which the ATM cells are admitted to the network by the ingress node.

The ASI ports must provide some control on the input data from the user device to assure fair allocation of the network bandwidth among all users. These controls are adjusted based on the type of connection, CBR, VBR, or ABR for the ASI-1.
A feature of the ASI, Usage Parameter Control (UPC), is applied to the cells for each PVC. Basically, UPC determines if the cell qualifies for admission to the network.
The policing and tagging of the cell as compliant is based on the Generic Cell Rate Algorithm (GCRA) defined by Annex 1 of ITU-T I.371. GCRA is a "continuous leaky-bucket" process that monitors the cell depth in the input queue for each PVC to determine whether to admit the new cell or not. The ASI sets the CLP bit to 1 for all non-compliant cells. Alternatively, the ASI can drop non-compliant cells rather than tag and admit them. The ASI allows the user a choice between the cell-based GCRA and an enhanced, frame-based, FGCRA. Selecting FGCRA allows an entire frame to be discarded if any of its cells are non-compliant, rather than transmitting a partial frame over the network.
Policing is established by the parameters that are configured when a PVC is added. These parameters are based on the service contracted for by the user.
CBR policing is based on:
VBR policing is based on:
ABR policing:
ABR policing is identical to that for VBR. However, for ABR connections, the cells are not admitted directly to the network following policing, but rather are enqueued. They are then admitted to the network at MCR (as a minimum rate) up to PCR (as a maximum rate), depending on the dynamics of the available network bandwidth.
The user has a choice of two mechanisms for minimizing network congestion that results from simultaneous bursts of data from the user on multiple connections. Selective Cell Discard is a relatively simple, passive mechanism and offers no extra bandwidth to the user when it may be available. ForeSight, on the other hand, is a rate-based, dynamic closed-loop mechanism that automatically provides the user extra bandwidth when there is network bandwidth to spare.
Selective Cell Discard is performed on each PVC in accordance with ATM Forum UNI 3.1 Specification. A cell is discarded under one of two conditions:
If ForeSight is enabled, the PVC is serviced (allocated bandwidth) at a variable rate. ForeSight connections include the following configurable parameters:
If a ForeSight connection has been idle for a very short time (less than its ICR TO), it will resume transmitting at its previous rate. A ForeSight connection that has been idle for some time (greater than its ICR TO) is allowed to burst data out from its input queue at its ICR. If there is no congestion detected on the network, the rate is increased in small steps until it reaches the PCR or congestion becomes apparent. When congestion is detected, the rate is decreased to the MCR or until congestion disappears, whichever occurs first.
The Explicit Forward Congestion Indicator (EFCI) bit, is set in the transmitted cell header if the user-programmed EFCI threshold is exceeded. This bit merely serves to notify downstream ATM equipment that this cell has experienced congestion somewhere along the network. The ASI-1 does not act on this bit. The EFCI bit is the second bit in the Payload Type field.
The ports on an ASI-1 card are defined by the following parameters. These parameters can be observed using the dspport command and changed using the cnfport command.
Port Type--defines whether the port connects to a user device (UNI) or to another network (NNI).
%Utilization, VBR/ABR Fairness Feature for ASI-1 Ports
Enables/disables percent utilization. This parameter supports fairness for ASI terminated connections and applies only to ABR and VBR connections.
When this feature is disabled, the port queue bandwidth is calculated using the sum of the MCRs or PCRs for the connections terminating on the port. This is identical to the port queue bandwidth calculation prior to the implementation of the %util feature.
Port queue bandwidth with %util feature disabled:
When this feature is enabled, the port queue bandwidth is calculated using the sum of a percentage of the MCRs or PCRs for the ABR or VBR connections terminating on the port, respectively. This feature is not applied to CBR connections.
Port queue bandwidth with %util feature enabled:
Protocol--selects the port management protocol to be used (Table 5-1).
| Choice | Protocol Used |
|---|---|
| N | None |
| L | LMI |
| I | ILMI |
Egress Q Depth--Specified for each of three queues for each port. Specifies the maximum output queue size, in cells, reserved for the traffic class. A total of 24,000 cells are shared between all queues on the two ports on a card. Each port can has a maximum capacity of 12,000 cells.
Explicit Forward Congestion Indication threshold--same as for Connection Parameters.
CLP Threshold High--configurable for each of the three egress queues: CBR, VBR, and ABR for each port.
CLP Threshold Low--configurable for each of the three egress queues: CBR, VBR, and ABR for each port.
Protocol Parameters--If LMI or ILMI is enabled for the port, a number of port parameters may be modified to accommodate the user device attached to the port.
These parameters are listed in Table 5-2 and Table 5-3.
| Parameter | Default | Description |
|---|---|---|
| VPI for LMI connection | 0 | |
| VCI for LMI connection | 31 | |
| LMI Polling Enable | n | |
| LMI Status Enquiry Timer T393 | 10 | |
| LMI Update Status Timer T394 | 10 | |
| LMI Polling Timer T396 | 10 | |
| LMI Status Enquiry Retry N394 | 5 | |
| LMI Update Status Retry N395 | 5 |
| Parameter | Default | Description |
|---|---|---|
| VPI for ILMI connection | 0 | |
| VCI for ILMI connection | 16 | |
| ILMI Polling Enable | n | Enable ILMI polling |
| ILMI Trap Enable | n | Enable ILMI traps |
| Polling Interval T491 | 30 | |
| P Error Threshold T491 | 3 | |
| Event Threshold N492 | 4 |
The ports on an ASI-1 card are defined by the following parameters. These parameters can be observed using the dspport command and changed using the cnfport command.
Port Type--defines whether the port connects to a user device (UNI) or to another network (NNI).
Interface--MMF-2, SMF
Type--NNI, UNI
Speed--
VBR Queue Depth--
Protocol--Same as for ASI-1 for LMI and ILMI
There are a number of parameters associated with ATM connections that are user-configurable. The following paragraphs describe the parameters used to configure ATM connections on the ASI-1, including the dual-leaky bucket GCRA parameters.
The ASI-1 (T3/E3) employs the ATM Forum 3.1 dual-leaky bucket GCRA mechanism for policing of cell streams seeking entrance to the network.
Each PVC (VPC or VCC) is policed separately, providing fire walling between connections, and assuring that each connection uses only a fair share of network bandwidth.
Policing for ASI-1 connections is implemented using the ATM Forum's standards--Compliant Dual Leaky bucket algorithm. Each bucket is a GCRA (Generic Rate Algorithm) defined by two parameters:
If the cells are clumped too close together, the deviations from the normal are added to the bucket, if other cells arrive after their expected arrival time, then the bucket level goes down.
The GCRA bucket function can be considered to function as follows:
Another GCRA viewpoint is as follows:
For CBR traffic, both dual leaky buckets are policed based on:
For VBR traffic, leaky bucket 1 and leaky bucket 2 are policed based on:
Constant bit rate (CBR) connections are those that cannot tolerate delays of any significance. These connections include voice and video, etc.
A quality of service QoS contract for CBR would include low delay, and a constant input rate. All cells will be served so long as the connection does not exceed its constant rate. A CBR connection is specified to be transmitted across the network at a fixed rate. This rate is specified as PCR, peak cell rate. The rate of the connection is allowed to vary slightly within the limits specified by CDVT (cell delay variation tolerance).
The parameters applicable to a CBR connection are shown in Figure 5-3. The flow chart denotes the parameters for a connection for which the connection type, VPI.VCI, slot, and port have already been specified.
A summary of the parameters applicable to a CBR connection are listed in Table 5-4.

| Parameter1 | Range | Default | Definition1 |
|---|---|---|---|
| UPC | enable/disable | enable | Usage Parameter Control, controls both buckets. |
| RM | enable/disable | disable | Resource Management |
| Ingress Policing | |||
| PCR (0+1) | 10-96000 T3
10-80000 E3 | 10 | Peak Cell rate for CLP(0+1) cells |
| CDVT (0+1) | 1-250000 | 1000 | Cell Delay Variation Tolerance for CLP=0+1 cells (in msecs) |
| PCR (0) | 10-96000 | PCR(0+1) | Peak Cell rate for CLP=0 cells, must be <= PCR(0+1) |
| CDVT (0) | 1-250000 | CDVT(0+1) | Cell Delay Variation Tolerance for CLP=0 cells (in msecs) |
| CLP | enable/disable | enable | Cell Loss Priority Tagging |
| General Connection Parameters | |||
| % Util | 1-100% | 100% | BW allocation is PCR(0+1) * %Util |
(Parameters are listed alphabetically.)
CDVT (Cell Delay Variation Tolerance)--For CBR and VBR connections, CDVT can be configured to allow the connection to exceed PCR for some period of time.
CLP (Cell Loss Priority Enable)--Enables/disables Cell Loss Priority tagging for the connection.
PCR (Peak Cell Rate)--This is the maximum rate at which cells are allowed into the network.
%util (Percent Utilization)--%util is expressed as a percentage of PCR. As each PVC is routed, bandwidth on the individual network trunks is "consumed" by a value equal to PCR times the %util.
RM (Resource Management)--For external management. When an RM cell is received the ASI generates a statistic and sends the cell on its way into the network, unless it is an ABR or ATFST connection. For ABR and ATFST connections only, if the RM option is enabled, when the queue depth exceeds the EFCI threshold, an RM indication is sent back out the port.
UPC (Usage Parameter Control)--Enable or disable policing. With UPC disabled, all cells for a PVC are admitted regardless of rate.
CBR traffic is expected to be at a constant bit rate, have low jitter, and is configured for a constant rate equal to Peak Cell Rate (PCR). The connection is expected to be always at peak rate.
When a connection is added, a VPI.VCI address is assigned, and the UPC parameters are configured for the connection. For each cell in an ATM stream seeking admission to the network, the VPI.VCI addresses are verified and each cell is checked for compliance with the UPC parameters as shown in Figure 5-4. The CBR cells are not enqueued, but are processed by the policing function and then sent to the network unless discarded.
For CBR, traffic policing is based on:

Leaky bucket 1 polices the PCR compliance of all cells seeking admission to the network, both those with CLP = 0 and those with CLP =1 (Figure 5-4). Cells seeking admission to the network with CLP set equal to 1 may have either encountered congestion along the user's network or may have lower importance to the user and have been designated as eligible for discard in the case congestion is encountered. If the bucket depth in the first bucket exceeds CDVT (0+1) it discards all cells seeking admission. It does not tag cells. If leaky bucket 1 is not full, all cells with CLP =1 are admitted to the network bypassing leaky bucket 2, and all cells with CLP=0 are sent on to leaky bucket 2.
Leaky bucket 2 polices all cells with CLP = 0 that have been passed by leaky bucket 1. Leaky bucket 2 can either tag or discard cells. Cells found out of compliance by leaky bucket 2 are either discarded or tagged as CLP=1. The purpose of leaky bucket 2 for CBR connections is to provide the option of a CDVT(0) limit for CLP=0 cells which may be lower but cannot exceed the CDVT(0+1) of leaky bucket 1. Typically, CDVT(0) is set equal to CDVT(0+1).
Figure 5-5 shows a CBR connection policing example where the CDVT depth of both the dual leaky buckets is less than the limit.

Figure 5-6 shows a CBR connection policing example where the CDVT(0) of Leaky Bucket 2 is exceeded and the CLP=0 cells that are non-compliant are tagged as CLP=1 by Leaky Bucket 2.

Figure 5-7 shows a CBR connection policing example where the CDVT(0) of leaky bucket 2 is exceeded and the CLP=0 cells are discarded.

Figure 5-8 shows a CBR connection policing example where the CDVT(0+1) of leaky bucket 1 is exceeded and non-compliant cells are discarded. Leaky bucket 1 only discards cells; it does not tag them

Variable Bit Rate (VBR) connections are those expected to vary over time, with bursts of data occurring up to peak rates. Typical of these connections are transactions, image transfers, file transfers, interactive video, etc.
A quality of service QoS contract for VBR would include a guaranteed minimum rate, referred to as the sustainable cell rate (SCR), a Peak Cell Rate (PCR) which is the maximum rate at which data is allowed to burst, and a Maximum Burst Size (MBS) which is the maximum number of cells allowed to burst above the sustainable cell rate for a short time.
The parameters applicable to a VBR connection are shown in Figure 5-9. The flow chart denotes the parameters for a connection for which the connection type, VPI.VCI, slot, and port have already been specified.
A summary of the parameters applicable to a VBR connection is provided in Table 5-5.

| Parameter2 | Range | Default | Definition1 |
|---|---|---|---|
| abr | enable/disable | disable | Disable configures a vbr connection, enable configures an abr connection (See abr description and table.) |
| UPC | enable/disable | enable | Usage Parameter Control |
| RM | enable/disable | disable | Resource Management |
| Ingress Policing | |||
| PCR (0+1) | 7-96000 T3
7-80000 E3 7-5333 ATFR | 10 | Peak Cell rate for CLP=0+1 cells |
| FGCRA | enable/disable | disable | Frame Based Generic Cell Rate Algorithm (enable/disable) |
| CDVT (0+1) | 1-250000 | 1000
10000 (ATFR) | Cell Delay Variation Tolerance for CLP=0+1 cells (in msecs) |
| SCR Policing | 1-3 | 1 | 1. CLP(0), 2. CLP(0+1), 3. Off |
| SCR | 7-96000 T3
7-80000 E3 7-5333 ATFR | PCR (0+1) | Sustained Cell Rate |
| MBS | 1-24000 | 1000 | Maximum Burst Size |
| CLP | enable/disable | enable | Cell Loss Priority Tagging |
General Connection Parameter | |||
| % Util | 1-100% | The minimum of: 100% or
120%*SCR/PCR | BW allocation is PCR(0+1) * %Util
|
| Prompted for ATFR Connections Only | |||
| VC Q Max | 1-1366 | 1366 | Specifies Maximum ingress queue depth for frame relay side of ATFR connection |
| EFCI | 1-100% | 100 | Explicit Forward Congestion Indication setting threshold (% of VC Q Depth) for frame relay side of ATFR connection. |
| IBS | 1-107 cells | 1 | Initial burst size for frame relay side of ATFR connection |
(Parameters are listed alphabetically.)
CDVT(0+1) (Cell Delay Variation Tolerance)--For CBR and VBR, CDVT can be configured to allow the connection to exceed PCR for some period of time.
CLP (Cell Loss Priority)--Enables/disables Cell Loss Priority tagging for the connection for leaky bucket 2. If not enabled and the BT + CDVT limit of leaky bucket 2 is exceeded, cells will be discarded.
FGCRA (Frame Based Generic Cell Rate Algorithm)--an ASI feature that controls admission of cells to the network. It is a StrataCom enhancement of the ATM-UNI standard Generic Cell Rate Algorithm. Selecting FGCRA allows an entire frame to be discarded if any of its cells are non-compliant, rather than transmitting a partial frame over the network. Enabling FGCRA forces a UPC frame-based cell discard or tagging. For example, if one cell of a frame is discarded or tagged, then all remaining cells are discarded or tagged, except for the End of Frame (EOF) cell.
MBS (Maximum Burst Size)--the maximum number of cells between SCR and PCR (measured over a given period) that can be received at the PCR and be considered compliant.
PCR(0+1) (Peak Cell Rate)--This is the maximum rate that cells are allowed into the network.
%util (Percent Utilization)
RM (Resource Management)--For external management. When an RM cell is received the ASI generates a statistic and sends the cell on its way into the network, unless it is an ABR or ATFST connection. For ABR and ATFST connections only, if the RM option is enabled, when the queue depth exceeds the EFCI threshold, an RM indication is sent back out the port.
SCR (Sustainable Cell Rate)--Cells received at a rate greater than SCR are either tagged or dropped.
SCR Policing--Selects the type of policing performed for sustained cell rate and maximum burst size compliance. There are three choices;
UPC (Usage Parameter Control)--Enable or disable policing. With UPC disabled, all cells for a PVC are admitted regardless of rate.
The contract for a variable bit rate connection is set up based on an agreed upon sustained cell rate (SCR) with allowance for occasional data bursts at a Peak Cell Rate (PCR) as specified by maximum burst size MBS.
When a connection is added, a VPI.VCI address is assigned, and UPC parameters are configured for the connection. For each cell in an ATM stream, the VPI.VCI addresses are verified and each cell is checked for compliance with the UPC parameters as shown in Figure 5-10.
The VBR cells are not enqueued, but are processed by the policing function and then sent to the network unless discarded.
The parameters associated with a VBR connection are:

Leaky bucket 1 polices for PCR compliance of all cells seeking admission to the network, both those with CLP = 0 and those with CLP =1. For example, cells seeking admission to the network with CLP set equal to 1 may have either encountered congestion along the user's network or may have lower importance to the user and have been designated as eligible for discard in the case congestion is encountered. If the bucket depth in the first bucket exceeds CDVT (0+1), it discards all cells seeking admission. It does not tag cells. If leaky bucket 1 is not full, all cells with CLP=0 are sent to leaky bucket 2, and all cell with CLP =1 are either directly admitted to the network or sent to leaky bucket 2, depending on user selection.
For VBR connections, the purpose of leaky bucket 2 is to police the cells passed from leaky bucket 1 for conformance with maximum burst size MBS as specified by BT and for compliance with the SCR sustained cell rate. The type of cells passed to leaky bucket 2 depend on how SCR is configured, either none, CLP(0) cells, or CLP(0+1) cells.
Figure 5-11 shows a VBR connection policing example, with the SCR parameter set to Off, and leaky bucket 1 compliant.

Figure 5-12 shows a VBR connection policing example, with the SCR parameter set to Off, and leaky bucket 1 non-compliant which indicates that the connection has exceeded the PCR for a long enough interval to exceed the CDVT (0+1) limit. Non-compliant cells with respect to leaky bucket 1 are discarded.

Figure 5-13 shows a VBR connection policing example, with SCR = CLP(0), and both buckets compliant. Leaky bucket two is policing the CLP(0) cell stream for conformance with maximum burst size MBS (as specified by BT), and for compliance with the SCR sustained cell rate.

Figure 5-14 shows a VBR connection policing example, with SCR set to CLP=0, and leaky bucket 2 non-compliant. Leaky bucket 2 is shown policing the CLP(0) cell stream for conformance with maximum burst size MBS (as specified by BT), and for compliance with SCR (sustained cell rate). In this example, CLP tagging is not enabled, so the cells that have exceeded the BT + CDVT(0) limit are discarded. In this example, either the sustained cell rate could have been exceeded for an excessive interval, or a data burst could have exceeded the maximum allowed burst size.

Figure 5-15 shows a VBR connection policing example, with SCR = CLP(0+1), and both buckets compliant. Leaky bucket 1 is policing the CLP (0+1) cell stream for conformance with the PCR limit. Leaky bucket 2 is policing the CLP (0+1) cell stream for conformance with maximum burst size MBS (as specified by BT), and for compliance with SCR sustained cell rate.

Figure 5-16 shows a VBR connection policing example, with SCR set to CLP(0+1), and Leaky bucket 2 shown as non-compliant. Leaky bucket 2 is shown policing the CLP=0 cell stream for conformance with maximum burst size MBS (as specified by BT), and for compliance with SCR sustained cell rate. For the SCR selection of CLP(0+1), CLP tagging is not an option, so the cells that have exceeded the BT + CDVT limit are discarded. In this example, either the sustained cell rate was exceeded for an excessive interval, or a data burst occurred greater than the maximum allowed burst size.

Available Bit Rate (ABR) connections are policed the same as the VBR connections, but use the ForeSight option to take advantage of unused bandwidth when it is available. The dual leaky bucket GCRA algorithm functions are the same as for VBR connections, except that instead of the cells being immediately admitted to the network, they first go through the IBS (Initial Burst Size) function and then to the ABR queue.
The parameters applicable to an ABR connection are shown in Figure 5-17. The flow chart denotes the parameters for a connection for which the connection type, VPI.VCI, slot, and port have already been specified.
A summary of the parameters applicable to an ABR connection are listed in Table 5-6.

| Parameter3 | Range | Default | Definition1 |
|---|---|---|---|
| abr | enable/disable | enable | Enable configures an abr connection, disable configures a vbr connection (See vbr description and table.) |
| UPC | enable/disable | enable | Usage Parameter Control |
| RM | enable/disable | disable | Resource Management |
| Ingress Policing | |||
| PCR (0+1) | 7-96000 T3
7-80000 E3 7-5333 ATFST | 10 | Peak Cell rate for CLP=0+1 cells |
| FGCRA | enable/disable | disable | Frame Based Generic Cell Rate Algorithm) |
| CDVT (0+1) | 1-250000 | 1000
10000 (ATFST) | Cell Delay Variation Tolerance for CLP=0+1 cells (in msecs) |
| SCR Policing | 1-3 | 1 | 1. CLP(0), 2. CLP(0+1), 3. Off |
| SCR | 7-96000 T3
7-80000 E3 7-5333 ATFST | PCR(0+1) | Sustained Cell Rate |
| MBS | 1-24000 | 1000 | Maximum Burst Size |
| CLP | enable/disable | enable | Cell Loss Priority Tagging for CLP=0 |
| Ingress Queue Threshold | |||
| IBS | 0 -24000 (ABR)
1-107 (ATFST) | 0 (ABR)
1 (ATFST) | Initial Burst Size
|
| EFCI | 1-100% | 100% | Explicit Forward Congestion Indication setting threshold (% of VC Q Depth) |
| CLP Hi | 1-100% | 90% | Cell Loss Priority High Threshold (% of VC Q Depth) |
| CLP Lo | 1-100% | 80% | Cell Loss Priority Low Threshold (% of VC Q Depth) |
| VC Q depth | 1-64000 (ABR)
1-1366 (ATFST) | 16000 (ABR)
1366 (ATFST) | PVC ingress queue depth) depth
in bytes for ATFST |
| ForeSight | |||
| ICR | 0-96000 T3
0-80000 E3 7-5333 ATFST | Max of:
(MCR or PCR(0+1)/10) | Initial Cell Rate |
| ICR TO | 1-255 | 10 | Initial Cell Rate Time Out (seconds) |
| Rate Up | 10-96000 T3
10-80000 E3 | Max of:
(10% of MCR, or 2000) | Rate Up increment. Note: This is in cells per second per adjustment |
| Rate Down | 1-100 | 87% | Rate Down Increment |
| Rate Fast Down | 1-100 | 50% | Rate Fast Down lowers rate in large increments |
| Min Adjust | 20-250 | 40 | The interval at which rate adjustments are made (ms) |
| General Connection Parameters | |||
| MCR | 0-96000 T3
0-80000 E3 7-5333 ATFST | 0
0 10 | Minimum Cell Rate
|
| % Util | 1 to 100% | MCR/PCR | % Utilization, bandwidth allocation is:
MCR * %util |
(Parameters are listed alphabetically.)
CDVT(0+1) (Cell Delay Variation Tolerance)--For CBR and VBR, CDVT can be configured to allow the connection to exceed PCR for some period of time.
CLP (Cell Loss Priority)--Enables/disables Cell Loss Priority tagging for the connection for leaky bucket 2. If not enabled and the BT + CDVT limit of leaky bucket 2 is exceeded, cells will be discarded.
CLP Low Threshold/CLP High Threshold--The CLP Low and High thresholds are configured as a percentage of the VC Queue depth (ingress queue for ABR connections). Once the queue exceeds the CLP High Threshold, CLP=1 cells are not admitted until the queue depth falls below the CLP Low Threshold.
Table 5-7 lists the conditions under which ABR cells are either admitted to the ingress queue or are discarded, depending on the whether the cell has its CLP bit set equal to 0 or 1, and on the status of the queue depth with respect to CLP High and Low thresholds, or on whether the queue is full.
| Queue Status | Incoming Cell with CLP = 0 | Incoming Cell with CLP = 1 |
|---|---|---|
| VcQ depth < CLP Low | Admit Cell | Admit Cell |
| CLP Low < VcQ depth < CLP High (and was previously below CLP Low) | Admit Cell | Admit Cell |
| CLP Low < VcQ depth < CLP High (and was previously above CLP High) | Admit Cell | Discard Cell |
| VcQ depth > CLP High | Admit Cell | Discard Cell |
| VcQ is full (PVC queue depth exceeded) | Discard Cell | Discard Cell |
EFCI (Explicit Forward Congestion Indication)--a threshold setting configured as a percentage of VCQ depth. If the VCQ depth exceeds the EFCI threshold, cells are tagged with an EFCI bit which indicates congestion in the network. The ForeSight mechanism monitors cells for this bit at the egress ASI card and provides feedback adjustment information to the ingress ASI card to adjust the rate of cell admission to the network, accordingly.
Fast Down--is the rate at which the connection is ramped down in large increments toward the MCR when severe congestion occurs along its route. Fast Down is expressed as a percentage of the current rate.
FGCRA (Frame Based Generic Cell Rate Algorithm)--an ASI feature that controls admission of cells to the network. It is a StrataCom enhancement of the ATM-UNI standard Generic Cell Rate Algorithm. Selecting FGCRA allows an entire frame to be discarded if any of its cells are non-compliant, rather than transmitting a partial frame over the network. Enabling FGCRA forces a UPC frame-based cell discard or tagging. For example, if one cell of a frame is discarded or tagged, then all remaining cells are discarded or tagged, except for the End of Frame (EOF) cell.
IBS (Initial Burst Size)--
ICR (Initial Cell Rate)--Depending on network congestion, cells are served from the VC Queue at a rate varying between MCR and PCR. If a PVC has been quiescent for a configurable amount on time (ICR TO), its queue will initially be served at this rate. The rate will subsequently adjust up or down under the control of the ForeSight Rate Control Algorithm.
ICR TO (Initial Cell Rate Time Out)--ICR TO defines the period of inactivity before a PVC is reset to its ICR. Ordinarily a PVC is served at a rate based on feedback received via ForeSight. However, if a PVC has been quiescent for some time, it is not possible to determine if this PVC would experience congestion at the beginning of its next burst. Therefore, if the ICR TO has expired, the PVC is reset to its ICR. If the timeout has not expired, the PVC will resume transmitting at its previous rate.
Although individual PVC queues may not exceed 64,000 cells, the user may configure queues that total more than 64,000, in essence "oversubscribing" the queue space.
There are a number of parameters associated with ATM connections and ATM ports that are user-configurable. The following paragraphs describe the parameters used to configure ATM connections on the ASI-155, including the single leaky bucket GCRA parameters.
The ASI-155 employs a single leaky bucket GCRA mechanism for policing cell streams seeking entrance to the network.) Each pvc (VPC.VCC) is policed separately, providing firewalling between connections, and assuring that each connection uses only a fair share of network bandwidth
Policing for ASI-155 connections is implemented with a single leaky bucket using a GCRA (Generic Rate Algorithm) defined by two parameters:
Constant bit rate (CBR) connections are those that cannot tolerate delays of any significance. These connections include voice and video, etc.
A quality of service QoS contract for CBR would include low delay, and a constant input rate. All cells will be served so long as the connection does not exceed its constant rate. A CBR connection is specified to be transmitted across the network at a fixed rate. This rate is specified as PCR, peak cell rate. The rate of the connection is allowed to vary slightly within the limits specified by CDVT (cell delay variation tolerance).
The parameters applicable to a CBR connection are shown in Figure 5-18. The flowchart denotes the parameters for a connection for which the connection type, VPI.VCI, slot, and port have already been specified.
A summary of the parameters applicable to a CBR connection are listed in Table 5-8.

| Parameter | Range | Default | Definition1 |
|---|---|---|---|
| UP | enable/disable | enable | Usage Parameter Control, enables or disables both buckets. |
| RM | not used | disabled | Not used, press Return key |
| Ingress Policing | |||
| PCR (0+1) | 7-353208 | 10 | Peak Cell rate for CLP=0+1 cells |
| CDVT (0+1) | 1-1000 | 1000 | Cell Delay Variation Tolerance for CLP=0+1 cells (in msecs) |
| PCR (0) | not used | not used | Not used, press Return key |
| CDVT (0) | not used | CDVT(0+1) | Not used, press Return key |
| CLP | enable/disable | enable | Cell Loss Priority Tagging |
| General Connection Parameters | |||
| % Util | 1-100%
| 100% | BW allocation is PCR(0+1) * %Util |
(Parameters are listed alphabetically.)
CDVT (Cell Delay Variation Tolerance)--For CBR and VBR connections, CDVT can be configured to allow the connection to exceed PCR for some period of time.
CLP (Cell Loss Priority Enable)--Enables/disables Cell Loss Priority tagging for the connection.
PCR (Peak Cell Rate)--This is the maximum rate at which cells are allowed into the network
%util (Percent Utilization)--
RM (Resource Management)--Not used.
UPC (Usage Parameter Control)--Enable or disable policing. With UPC disabled, all cells for a pvc are admitted regardless of rate.
Variable Bit Rate (VBR) connections are those expected to vary over time, with bursts of data occurring up to peak rates. Typical of these connections are transactions, image transfers, file transfers, interactive video, etc.
A quality of service QoS contract for VBR would include a guaranteed minimum rate, referred to as the sustainable cell rate (SCR), a Peak Cell Rate (PCR) which is the maximum rate at which data is allowed to burst, and a Maximum Burst Size (MBS) which is the maximum number of cells allowed to burst above the sustainable cell rate for a short time.
The parameters applicable to a VBR connection are shown in Figure 5-19. The flowchart denotes the parameters for a connection for which the connection type, VPI.VCI, slot, and port have already been specified.
A summary of the parameters applicable to a VBR connection are listed in Table 5-9.

| Parameter4 | Range | Default | Definition1 |
|---|---|---|---|
| abr | enable/disable | disable | Disable configures a vbr connection, enable which configures an abr connection is not used. |
| UPC | enable/disable | enable | Usage Parameter Control |
| RM | not used | disabled | Not used, press Return key |
| Ingress Policing | |||
| PCR (0+1) | 7-353208 | 10 | Peak Cell rate for CLP=0+1 cells |
| FGCRA | not used | disabled | Not used, press Return key |
| CDVT (0+1) | not used | not used | Not used, press Return key |
| SCR Policing | not used | not used | Not used, press Return key |
| SCR | 7-353208 | PCR (0+1) | Sustained Cell Rate |
| MBS | 10-1000 | 1000 | Maximum Burst Size |
| CLP | enable/disable | enable | Cell Loss Priority Tagging |
| General Connection Parameter | |||
| % Util | 1-100% | The minimum of: 100% or
120%*SCR/PCR | BW allocation is PCR(0+1) * %Util
|
| Prompted for ATFR Connections Only | |||
| VC Q Max | 1-1366 | 1366 | Specifies Maximum ingress queue depth for frame relay side of ATFR connection. For VBR connection, not used, press Return key. |
| EFCI | 1-100% | 100 | Explicit Forward Congestion Indication setting threshold (% of VC Q Depth) for frame relay side of ATFR connection. For VBR connection, not used, press Return key. |
| IBS | 1-107 cells | 1 | Initial burst size for frame relay side of ATFR connection. For VBR connection, not used, press Return key. |
(Parameters are listed in alphabetical order.)
CDVT(0+1)--(Not used)
CLP (Cell Loss Priority)--Enables/disables Cell Loss Priority tagging for the connection:
FGCRA (Frame Based Generic Cell Rate Algorithm)--is an ASI feature that controls admission of cells to the network. It is a StrataCom enhancement of the ATM-UNI standard Generic Cell Rate Algorithm. Enabling FGCRA forces a UPC frame-based cell dicard or tagging. For example, if one cell of a frame is discarded or tagged, then all remaining cells are discarded or tagged, except for the End of Frame (EOF) cell.
MBS (Maximum Burst Size)--is the maximum number of cells (between SCR and PCR measured over a given period) that can be received at the PCR and be considered compliant.
PCR(0+1) (Peak Cell Rate)--This is the maximum rate at which cells are allowed into the network.
%util (Percent Utilization)
RM (Resource Management)--Not used.
SCR (Sustainable Cell Rate)--Cells received at a rate greater than SCR are either tagged or dropped.
SCR Policing--Not used.
The port stats for the ASI-1 include:
Per port ATM Layer statistics:
Number of cells transmitted out of the port:
Per egress queue (for each port) ATM layer statistics:
ATM connections detect and pass Alarm Information Signal (AIS) and Remote Defect Indication (RDI) {formerly Far End Receive Failure (FERF)} indications transparently. These alarm indications are carried by ATM Operations and Maintenance (OAM) cells. AIS may be generated by the user device or a foreign ATM network in response to upstream failures. RDI is transmitted in the reverse direction when an AIS is detected.
Since these signals are required to pass end-to-end, the OAM cells are queued like normal cells. AIS detection on a PVC is reported by a node to StrataView Plus. AIS may also be generated by a BPX node in response to a PVC segment failure inside the StrataCom network.
OAM Cells supported:
OAM Cells supported:
Table 5-10 lists ASI-1 DS3 Statistics.
| Line Code Violation | P-Bit Code Violation | C-bit Code Violation | PLCP | |
|---|---|---|---|---|
| Near End | Far Emd | |||
| LCV | PCB | CCV | BIP-8 | FEBE |
| LES | PES | CES | BIP-8ES | FEBE ES |
| LSES | PSES | CSES | BIP-SES | FEBE SES |
| UAS | PLCP-UAS | |||
Table 5-11 lists ASI-1 E3 Statistics.
| Line Code Violation | PLCP | |
|---|---|---|
| Near End | Far Emd | |
| LCV | BIP-8 | FEBE |
| LES | BIP-8ES | FEBE ES |
| LSES | BIP-SES | FEBE SES |
Alarms and performance monitoring supported as per Bellcore GR-253-CORE
Table 5-12 lists Section, Line, and Path Statistics
| SECTION | LINE Near End Far End | PATH Near End Far End | ||
|---|---|---|---|---|
| CV-S (Section BIP-8) | CV-L (Line BIP-24) | CV-LFE (Line FEBE) | CV-P (Path-BIP-8) | CV-PFE (Path-FEBE) |
| ES-S | ES-L | ES-LFE | ES-P | ES-PFE |
| SES-S | SES-L | SES-LFE | SES-P | SES-PFE |
|
|