|
|
This chapter describes the physical and functional components of the IPX16/32 and IPX8, including related plug-in card groups, system interconnects, and front panel indicators. A brief description of optional peripherals and third party equipment appears at the end of this chapter. For a description of the commands used to operate an IPX, refer to the Command Reference Manual. Refer to the System Manual for system and network information. Refer to the StrataView Plus manuals for information on network management. For additional information on Frame Relay to ATM Interworking and Tiered Networks, refer to the BPX Reference Manual and the System Manual.
For installation instructions for the IPX, refer to the IPX Installation Manual.
The IPX is a narrowband ATM switch that accepts frame relay, digitized voice and FAX, encoded video, data streams, etc., and adapts these information streams into fixed length cells. These cells are then routed to appropriate network interfaces, either ATM or FastPacket.
The IPX consists of three different configurations. The IPX 8, the smallest configuration, provides an economical solution for smaller network locations. The IPX 16 and 32 provide traffic connections between medium and larger sites. All configurations include redundancy support with automatic diagnostics and switchover in the event of equipment failure.
The IPX supports Frame Relay to ATM Interworking and Tiered Networks.
A Port Concentrator Shelf (PCS) is available that increases port density per IPX slot from 4 frame relay connections to 44 connections for those applications requiring lower-speed frame relay connections. Refer to "Port Concentrator Shelf (PCS)" section later in this chapter.
TDM Transport: TDM Transport bundles DS0s to form a single, transparent connection through the network using CDP cards with Rev. C Firmware. TDM Transport is most valuable for transporting TDM data received from trunks in older, non-StrataCom WANs.
Interworking allows users to retain their existing services, and as their needs expand, migrate to the higher bandwidth capabilities provided by BPX ATM networks. Frame Relay to ATM Interworking enables frame relay traffic to be connected across high-speed ATM trunks using ATM standard Network and Service Interworking
Two types of Frame Relay to ATM interworking are supported, Network Interworking (Figure 1-1) and Service Interworking (Figure 1-2). The Network Interworking function is performed by the AIT card on the IPX and by the BTM card on the IGX. The FRSM card on the AXIS supports both Network Interworking and Service Interworking.
The frame relay to ATM network interworking function is available as follows:
Network Interworking is supported by the FRP on the IPX, the FRM on the IGX, and the. FRSM on the AXIS. The Frame Relay Service Specific Convergence Sublayer (FR-SSCS) of AAL5 is used to provide protocol conversion and mapping.

The frame relay to ATM network interworking function is available as follows:
Service Interworking is supported by the FRSM on the AXIS. Translation between the Frame Relay and ATM protocols is performed in accordance with RFC 1490 and RFC 1483.
For further information about Interworking, refer to the System Manual and the BPX Reference Manual.

StrataCom networks may be configured as flat (all nodes perform routing and communicate fully with one another), tiered (AXIS, IPX and IGX Interface Shelves are connected to BPX routing hubs where the IPX/IGX Interface Shelves are configured as non-routing hubs), or structured (where a network is divided into a number of domains)
Tiered networks are established by adding interface shelves (non-routing nodes) to an IPX/BPX network (Figure 1-3). AXIS interface shelves and IPX/IGX interface shelves are supported by the BPX routing hubs. Connecting interface shelves to BPX routing hubs, allows the network to support additional T1/E1 frame relay traffic (IPX/IGX Shelves) and T1/E1 frame relay and ATM traffic (AXIS Shelves) without adding additional nodes.

The AXIS Interface Shelf supports T1/E1 frame relay, T1/E1 ATM ports, FUNI, and T1/E1 CES, and is designed to support additional interfaces in the future. The IPX interface shelf supports frame relay ports, as does the IGX (option is available to configure as a shelf).
When an IPX is configured as an Interface Shelf, it is a non-routing node, and connection management is provided by StrataView Plus. The following requirements apply to tiered networks:
For further information on Tiered Networks, refer to the System Manual and the BPX Reference Manual.
The IPX node is enclosed in a modular cabinet that supports a variety of configurations. The cabinet is free-standing and self-contained. The shelves for plug-in system modules (cards), power supplies, and cooling are included in the cabinet. Throughout this manual, the use of the word "node" includes the cabinet.
The IPX cabinet is a free-standing, painted steel enclosure with front and rear doors. The cabinet contains all system modules, power supplies, and cooling fans. Components can be easily added, removed, maintained, and replaced. There is room in the back of the cabinet to terminate all system cabling. The front door of the cabinet provides access to front cards and other system components. The back door provides access to rear cards and cabling connections. A keyed mechanism secures both doors.
The IPX 16 cabinet contains one card shelf (with front and back slots for card access), a cooling unit, power distribution unit, and one or two power supplies. Figure 1-4 shows the position of the major components of an IPX 16.
The IPX 32 cabinet contains two card shelves, a cooling unit, power distribution unit, a booster fan assembly for additional cooling, and up to four power supplies. Figure 1-5 shows the position of the major components of an IPX 32.


The power supplies for the IPX 16/32 reside at the bottom of the cabinet. Room exists for up to four 600-watt power supplies. Each power supply can provide up to 600 watts of +5 VDC and ±12 VDC for system use. Typically, three or fewer supplies can power an IPX 32 node. The power supplies are load-sharing and are usually configured for N+1 redundancy.
IPX nodes are factory-configured for either 208/240 VAC or -48 VDC input. The main circuit breaker is located the Power Distribution Unit at the rear of the cabinet. The front panel has two status indicators, Failed and Active (Figure 1-6).
Two fans at the rear of the PDU remove the heat dissipated by the power supplies.

Cabinets shipped prior to August 1994 have a cooling/power distribution unit, and this section applies to those cabinets.
Cooling for the IPX 16/32 cabinet is incorporated in the Power Distribution Unit (PDU). The PDU provides input power connections and fuses and/or circuit breakers for protection against electrical overload. The PDUs for the IPX 16 and IPX 32 are the same for each cabinet. They are located below the lowest shelf in either system. An additional four fan cooling assembly is provided in the IPX 32 cabinet for the additional shelf.
The PDU is located immediately underneath the card shelf on the IPX 16. Six fans draw air through the filter in the front door of the cabinet to provide airflow through the cabinet and to the upper card cage. A cooling fan mounted on the top-rear of each power supply shelf draws cooling air in near the front of the supply and vents it out the back.
The AC PDU illustrated in Figure 1-7 terminates the AC power cable. It also mounts circuit breaker/power switches CB1 and CB2 ("Power Switches" in Figure 1-7), which are used for turning on and off the primary power to the IPX. Three AC power outlets sit to the right of the power switches for connecting test equipment or other external equipment that requires AC power (such as modems, echo cancellers, etc.). The AC outlets in the United States provide 120 VAC, and the international AC outlets provide 208 or 220 VAC.
Connector P1 carries power-sense leads to the SCC, where the voltages are monitored. This is not a customer connection. Fans that assist in cooling the power supplies sit behind the Power Distribution Unit.

On an IPX 32, the six-fan cooling assembly is located below the lower card shelf, and another four fan assembly is located between the upper and lower card cages. The upper fan assembly provides additional airflow to the front of the card shelves.
The Power Supply Monitor senses cabinet temperature and sends an alarm to the control terminal if the internal cabinet temperature reaches approximately 50× C. The cabinet temperature can be displayed on the control terminal at any time on request.
IPX 16/32 cabinets shipped after August 1994 have a reduced AC power input requirement. as a result of the elimination of the convenience outlets and their associated circuit breaker.
The DC PDU (Figure 1-8) is used on IPXs powered by -48 VDC. The -48 VDC is supplied by telephone central office battery supplies or wherever a battery backup is provided for the IPX when AC power is absent. Terminal block TB1 on the DC PDU terminates the input power and ground wiring. Circuit breaker/power switches CB1 and CB2 are used for turning on and off the primary power.
Connector P1 carries power-sense leads to the SCC, where the voltages are monitored. This is not a customer connection. Fans that assist in cooling the power supplies are located behind the Power Distribution Unit.

Each cabinet shelf has a double set of card slots. Each set consists of a front slot and a corresponding back slot. Located between the front and back slots is a system mid-plane (rather than a backplane) which contains circuit traces for a majority of the system electrical interconnects between various shelf connectors.
Front slots typically contain data processing cards (processors, PADs, etc.), and the back slots contain system interface cards. In many cases, a functional card set contains one or more front cards and one or more associated back cards. Both front cards and rear cards have faceplates with indicator LEDs and controls. Rear card faceplates have cable connectors in addition to indicator LEDs.
Up to 16 cards can be installed in each of the upper and lower 16-slot front card shelves. The plug-in cards in the front slots are the basic system unit cards (for example, NPC, NTC, CIP, SDP, LDP, AIT, ARC and CDP). The cards in the back slots are the network and user interface cards (for example, BC-E1, BC-T1, BC-T3 and BC-SR, the SCC, LEC, AIT-T3/E3, ARI, the SDI and LDI). Figure 1-9 and Figure 1-10 shows some typical card placements. Most card types can reside within any vacant slot and appropriate utility bus. Only the controller card has specific slot assignments for primary and redundant units.


The IPX 8 provides most of the capabilities and features of the IPX 16/32 but in a smaller package which enables network designers to extend IPX networks into lower density areas. The IPX 8 features:
An IPX 8 node is enclosed in a modular cabinet so it can be either free-standing or rack-mounted. The cabinet is self-contained and uses forced-air circulation. It includes all shelves for plug-in system modules (cards), power supplies, and cooling.
The IPX 8 cabinet (Figure 1-11) is a painted steel enclosure with a front door. The front door provides access to the front cards, power supplies, fans, and air filter assembly (Figure 1-12). The front door is provided with a gasket for EMI shielding and is secured by a keyed latch. The cabinet can include either mounting feet or rack-mounting rails.
Cooling air enters through a vent at the bottom of the front door and through an air filter assembly at the bottom of the cabinet. This air exits at the back through a plenum mounted at the top-rear of the cabinet.
Access to back cards and cabling connections is available at the rear. A PDU is located at the rear on the right side. Velcro cable ties are provided at the rear of the cabinet to organize cables. Since there is no back door, blank filler cards must occupy empty card slots to eliminate Radio Frequency Interference (RFI) and Electro-Magnetic Interference (EMI) and to ensure proper air flow through the cabinet.


The IPX 8 power supply slots are located at the left side of the cabinet behind the front door. Space exists for two, stacked 600-watt power supplies. The bottom supply is provided as standard; the top supply is optional. In all cases, a node can be completely powered by one supply. The optional second supply provides redundancy.
Unlike power supplies in the IPX 16/32, each IPX 8 power supply has its own separate input. An IPX 8 can be configured with either 110/220 VAC (switch selectable) or -48 VDC input. The IPX 8 does not have accessory receptacles.
Power supply output voltages are monitored by the Power Supply Monitor (PSM) on the System Clock Card (SCC). The status of each power supply and the cabinet temperature is displayed on the control terminal. Each power supply has a red FAIL and a green ACTIVE indicator.
The fan assembly at the bottom-front of the cabinet provides system cooling. This assembly contains three DC-powered fans that draw air through a wire mesh filter and push the air through the cabinet. Air exits at the rear of the cabinet. The wire mesh air filter is easily removed for cleaning. Refer to preventive maintenance instructions in this manual for cleaning interval and procedures.
The Power Supply Monitor detects the cabinet temperature and sends an alarm to the control terminal if the internal cabinet temperature reaches approximately 50× C. The operator can display the cabinet temperature on the StrataView Plus terminal or any terminal attached to the system.
In the IPX 8 node, the PDU resides immediately behind the two power supply slots at the rear of the IPX 8 cabinet.
An AC-powered IPX 8 has two 10-Amp circuit breaker/power switches CB1 and CB2 ("Circuit Breaker for PS1" and "Circuit Breaker for PS2" in Figure 1-13). The circuit breaker on the left (viewed from the rear of the IPX 8) controls the lower power supply, and the circuit breaker on the right controls the upper power supply.
A separate power cord and circuit breaker connects each of the power supplies to a power source. Each power supply should be connected to a separately protected outlet in the facility. A cable clamp in each of the two power cord receptacles prevents the power cords from accidentally becoming disconnected. Connector P1 is used to carry power-sense leads to the SCC, where the voltages are monitored. This is not a customer connection.
A two-position sliding voltage selector in the center of the AC PDU is used to select either a 110 VAC or 220 VAC input. Each AC input has a series line filter on the back of the AC PDU to suppress AC line noise.

Two circuit breakers are provided for overload protection and for turning the input DC power on and off (Figure 1-14). DC configured IPX 8 cabinets are powered by 48 VDC from central office battery supplies or from a battery backup when necessary.
Terminal blocks TB1 and TB2 on the DC PDU (Figure 1-14) connect the input power and ground wiring. The top screw terminal connects to -48 VDC input. The bottom terminal connects to the 48 VDC return. The middle terminal connects to chassis ground.

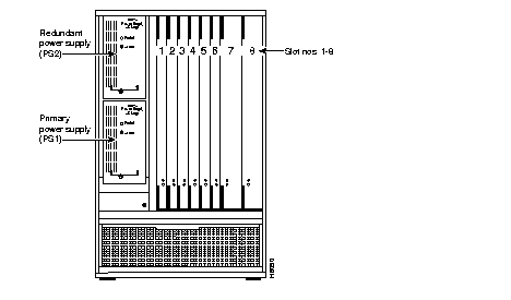
The IPX 8 cabinet contains one card shelf with numbered front and back slots for card access (Figure 1-15). The front card slots are typically equipped with processor cards, and the back cards are used for network interfaces.
The number 1 and number 2 front slots are reserved for the primary and redundant NPC controller cards and, the accompanying SCC is factory-installed in rear slot number 1. If the system is equipped with a redundant NPC, the redundant card resides in slot number 2, and the rear slot number 2 remains empty.
Up to six other cards, such as NTC, CDP, FRP, SDP, ARC, ATM, or LDP, can reside in a front card shelf. The cards in the back slots are the network and user interface cards (for example, BC-E1, BC-T1, BC-SR, FRI, SDI, and LDI). Most card types cards may reside anywhere that a vacant slot and appropriate utility bus are available. Only the controller card and power supply have assigned slots for primary and redundant units.

For ease of ordering, the IPX 8 is offered in factory-configured assemblies. These assemblies are available in a variety of input power and trunk format configurations (Table 1-1). These assemblies are equipped with one NPC and one SCC. The remaining slots are available for additional system cards.
| Configuration | Model No. |
| T1 110 VAC | 590400 |
| T1 48 VDC | 590401 |
| E1 CEPT 240 VAC | 590402 |
| E1 CEPT 48 VDC | 590403 |
System assemblies indicated as T1 are configured with a BC-T1 back card for the associated NTC and CDP. Assemblies indicated as E1 are configured with a BC-E1 as the back card associated with the NTC and CDP. System assemblies indicated as J1 are configured with a BC-J1 as the back card associated with the NTC card and with a BC-Y1 as the back card associated with the CDP.
![]() | Warning To assure proper cooling airflow and EMI/ESD compliance, the IPX 8 must be configured with all of the back slots occupied by either a back card or a blank panel. |
|
|