|
|
This chapter covers the following topics:
This section describes card placement in the IGX node. The locations of the system cards depend on the hardware configuration. Reserved slots are for the NPMs and SCM. Primary and redundant NPMs reside in front slot 1 and 2. The SCM must reside in back slot 1. Except for the reserved slots, cards can reside in any slot on the appropriate side of the node (but StrataCom recommends that the optional ARM/ARI card set reside in the slot on the far right). Refer to Figure 3-1 for a front view of a shelf with 2 NPMs.
Before you install cards in a rack-mounted IGX 16 or IGX 32 node, a step is necessary to indicate to the SCM whether the system is an IGX 16 or an IGX 32. The step consists of either removing or leaving a jumper switch on the SCM. (For the IGX 8 node and standalone IGX 16/32 systems, StrataCom sets the switch at the factory.) The switch is W6. It sits above component U7P (near the top of connector P2). To indicate an IGX 32 node, remove the jumper. To indicate an IGX 16, leave the jumper. Make a record of this step so you do not have to remove the SCM later to check it.
Many card sets support Y-cable redundancy. This feature requires an extra set of cards and a Y-cable. A set of commands exist to specify, delete, and display Y-cable redundancy. For instructions on setting up Y-cable redundancy, refer to the setup section for the specific card set.
An IGX 32 node can support a configuration of up to 16 trunk cards. This trunk maximum includes combined NTM and BTM card sets.
![]() | Warning Connector pins must align with receptacles. Before card insertion, make sure that pins are straight and that card connectors and the backplane align. Insert the card gently. It may be necessary to push the edge of the card slightly to one side for alignment (this may require removing cards). |
The locations for the NPMs and SCMs in an IGX:
Figure 3-1 and Figure 3-2 illustrate the front and back shelf views of an IGX 8 node, respectively. Figure 3-3 illustrates the front shelf view of an IGX 16. Figure 3-4 shows the back of an IGX 32 node.

| **before**When handling the cards, wear a wrist strap to prevent damage to the cards from electrostatic discharge. The IGX 8 cabinet has an attached wrist strap both at the front and back.@@before@@ | Caution **after**When handling the cards, wear a wrist strap to prevent damage to the cards from electrostatic discharge. The IGX 8 cabinet has an attached wrist strap both at the front and back.@@after@@ |



The sections in the remainder of this chapter describes how to make IGX signal connections.
The following trunk connections are supported:
The following service module (or circuit line) connections are supported:
The sections that follow contain basic information on how to set up the two types of trunks on the IGX node. The two trunk types are FastPacket and ATM. The supported line types are T1, Y1, E1, T3, and E3. The card sets described in this section are the Network Trunk Module (NTM), ATM Line Module B (ALM/B), and Broadband Trunk Module (BTM).
T1 trunk connections use the NTM front card and the BC-T1 back card. Japanese Y1 connections use the NTM front card and the BC-Y1 back card. The procedure for making Y1 connections is the same as for T1 connections described below.
Make the T1 connections as follows:
Step 1 Bring each T1 cable through the opening at the bottom of the cabinet (if applicable) and up the back of the unit.
Step 2 Use the cable management feature to help route the cables.
Step 3 Connect the trunks to the connectors on the BC-T1s that are part of NTM/BC-T1 card sets. The T1 lines are attached to DB-15, Sub miniature, 15-pin connectors on the BC-T1 cards.
The back slot line numbers correspond to the back slot number in which the BC-T1 card resides. Record the back slot number of each line. These numbers are necessary for configuring the system after you complete hardware installation.
E1 trunk connections use the NTM front card and the BC-E1 back card. Subrate E1 connections use the NTM front card and the BC-SR back card. The E1 Trunk Interface Card BC-E1 contains the E1 trunk connector (G.703 Input/Output) that is located at the top of the back card. The BC-E1 faceplate has four, 75-Ohm BNCs.
Make the E1 connections as follows:
Step 1 Bring each E1 BNC patch cable (or 15-pin cable) through the opening at the bottom of the cabinet (if applicable) and up the back of the unit.
Step 2 Use the cable management feature to help route the cables.
Step 3 Connect the cables to connectors on the BC-E1s that are part of a NTM/BC-E1 card sets.
Record the slot numbers of which NTM/BC-E1 card set. These numbers are necessary for configuring the system after you complete the hardware installation.
The ATM Line Module Model B (ALM/B) provides a T3 or E3 trunk interface. This section describes the requirements for bringing up the ALM/B. For a description of the ALM/B, refer to the Cisco StrataCom IGX Reference.
Before you set it up, note the following characteristics of an ALM/B:
Attach the cables as follows:
Step 1 Bring each T3 or E3 cable through the opening at the bottom of the cabinet (if applicable).
Step 2 If the unit has the optional cable manager, you can use it to help route the cables.
Step 3 Connect the cables to the BNC connectors on the back cards.
To bring up the ALM/B, take the following steps:
Step 1 Activate the trunk with the uptrk command.
Step 2 Using cnftrk, specify a maximum receive rate in packets per second (pps) and a header:
Step 3 You can set up optional Y-cable redundancy by using addyred or trunk redundancy by using addtrkred.
After configuring the line with cnftrk, use dsptrkcnf to check the configuration. During network operation, you can use dsptrkutl to see the amount of traffic and percent of utilization on the trunk.
For a summary of commands you use to bring up an IGX node, refer to the section titled "IGX Configuration Summary " at the end of this chapter.
The BTM back card can be either an AIT-T3, AIT-E3, AIT-E2, or AIT-HSSI. Each back card has either a pair of female BNC connectors (one for each direction) or a balanced, D-type connector. For the balanced connectors, use 120-Ohm twisted pair. For the BNC connectors, use 75-ohm coax cable RG-59 B/U for short runs or AT&T 734A for longer runs. For cabling requirements, see the appendix titled "Cabling Summary."
Attach the cables to a back card as follows:
Step 1 Bring each cable through the opening at the bottom of the cabinet (if applicable) and up the back of the unit.
Step 2 If the unit has the optional cable manager, you can use it to help route the cables.
Step 3 Connect the cables to the connector or (BNC) connectors on the back card.
The following is the command sequence for bringing up the trunk. You must bring up the trunk before you add connections. For complete command descriptions, see the Cisco StrataCom Command Reference.
Step 1 Verify the correct card locations in both the local and remote nodes (dspcds).
Step 2 Up the trunk at each node (uptrk).
Step 3 Configure any parameters required for the trunk at each node (cnftrk). Refer to the cnftrk description in the Cisco StrataCom Command Reference for the possible receive rates.
Step 4 Set up optional trunk redundancy if you require it (addtrkred).
For a summary of commands you use to bring up an IGX node, refer to the section titled "IGX Configuration Summary " at the end of this chapter.
This section describes how to set up an ALM/A. The first part of this section describes the issues to keep in mind before you begin adding connections. The second part lists the steps for hardware installation, bringing up and configuring the line, and adding connections.
Before you add bring up an ALM/A, consider the implementation of the header and the other characteristics of the ALM/A. Note that:
When you specify a header type of VPC or VCC, the type of connections that can terminate on the card and the use of a VCI=0 are affected. If the you put the card in VCC mode by specifying the VCC header type with the cnfln command:
If the you put the card in VPC mode by specifying the VPC header type with the cnfln command:
Attach the cabling as follows:
Step 1 Make sure you have correct slot intended for each ALM/A.
Step 2 Bring each T3 or E3 cable through the opening at the bottom of the cabinet (if applicable) and up the back of the unit.
Step 3 If the unit has the optional cable manager, you can use it to help route the cables.
Step 4 Connect the cables to the BNC connectors on the back cards.
Step 5 Note the slot location.
To bring up the ALM/A and add connections on it, take the following steps:
Step 1 Activate the card with the upln command.
Step 2 For T3 and E3 trunks, use option No. 4 of the cnflnparm (or cnfclnparm) command to specify a gateway efficiency of 3.0 (3 FastPackets per ATM cell).
Step 3 Using cnfln, specify the maximum receive cells per second (cps) and the header type and whether payload scramble is enabled:
Step 4 Use the addcon command to add connections. The applicable syntax depends on the header type you specified with cnfln and the type of connection:
After configuring the line with cnfln, use dsplncnf to check the configuration. During network operation, the dsputl command shows the amount of traffic and percent of utilization on the line.
For a summary of commands you use to bring up an IGX node, refer to the section titled "IGX Configuration Summary " at the end of this chapter.
This section describes how to install the voice cards. The two voice card sets are the Channelized Voice Module (CVM) and the Universal Voice Module (UVM). These cards can also carry channelized data. The serial data card sets are the HDM and LDM. This section also describes the considerations for using the TDM Transport feature on the CVM.
Voice or data connections on a T1 line use the CVM front card and the BC-T1 back card. Japanese J1 connections use the CVM front card and the BC-J1 back card. The procedure for making J1 connections is the same as for T1 connections. Make the T1 connections as follows:
Step 1 Bring each cable through the opening at the bottom of the cabinet (if applicable) and up the back of the unit.
Step 2 Use the cable management feature to help route the cables.
Step 3 Connect the trunks to the connectors on the BC-T1s that mate with the CVM (not NTM). The T1 lines are attached to DB-15, sub-miniature, 15-pin connectors on the BC-T1 cards.
The back slot line numbers correspond to the back slot number in which the BC-T1 card resides. Record the back slot number of each line. These numbers are necessary for configuring the system after you complete hardware installation.
Channelized voice or data connections on an E1 line use the CVM front card and the BC-E1 back card. Subrate E1 connections use the CVM front card and the BC-SR back card. The E1 Trunk Interface Card BC-E1 contains the E1 connector (G.703 Input/Output) that resides at the top of the back card. The BC-E1 faceplate has four, 75-Ohm BNCs.
Make the E1 connections as follows:
Step 1 Bring each E1 BNC patch cable (or 15-pin cable) through the opening at the bottom of the cabinet (if applicable) and up the back of the unit.
Step 2 Attach the cabling to connectors on the BC-E1s that mate with the CVM (not an NTM).
Step 3 Use the cable management feature to help route the cables.
The back slot line numbers correspond to the back slot number in which the BC-E1 card resides. Record the back slot number of each line. These number are necessary for configuring the system after installation is complete.
The next section describes a specialized version of data transmission service called TDM Transport. It applies to older, non-StrataCom WANs.
This section describes how to plan for use of the Time Division Multiplexing Transport (TDM Transport) feature. Note that TDM Transport requires Rev. C firmware on all connected CVMs or CDPs that use this feature. Refer to the TDM Transport description in the Cisco StrataCom IGX Reference for details on Rev. C firmware features and limitations. Refer to the Cisco StrataCom Command Reference for a description of the command parameters in related commands.
Before adding a bundled connection under TDM Transport, consider the following:
Voice or data connections on a T1 line use the UVM front card and the BC-UVI-2T1 back card. The procedure for connecting the T1 lines is as follows:
Step 1 Bring each cable through the opening at the bottom of the cabinet (if applicable) and up the back of the unit. Install optional Y-cables as needed. You can use the cable management feature to help route the cables.
Step 2 If the intended compression for voice channels is LDCELP and the number of channels on a T1 line exceeds 16, install cabling for pass-through. Note that the UVM does not pass-through t-type connections. For the steps that follow, refer to Figure 3-5 for an illustration of the possible UVM cabling arrangements. Note that, in Example B, the number of channels has not exceeded the UVM capacity, so pass-through is unnecessary.
For a description of the pass-through feature, refer to the Cisco StrataCom IGX Reference.
The back slot line numbers correspond to the slot number in which the BC-UVI-2T1 card resides. Record the back slot number and port number of each line. These numbers are necessary for configuring the system after you complete hardware installation.

Voice or data connections on an E1 line use the UVM front card and the BC-UVI-2E1EC back card. The procedure for connecting the E1 lines is as follows:
Step 1 Bring each cable through the opening at the bottom of the cabinet (if applicable) and up the back of the unit. You can use the cable management feature to help route the cables.
Step 2 If you use the 120-Ohm, DB15 connectors, you must remove the nuts on the BNC connectors for the port even though the BNC has no attached cable.
Step 3 If you use the 75-Ohm BNC connectors in a balanced mode, you must remove the nuts from the BNC connector.
Step 4 Install optional Y-cables as needed.
Step 5 If the intended compression for voice channels is LDCELP and the number of channels on a E1 line exceeds 16, install cabling for pass-through. For the steps that follow, refer to Figure 3-6 for an illustration of the possible UVM cabling arrangements. Note that, in Example B, the number of channels has not exceeded the UVM capacity, so pass-through is unnecessary.
For a description of the pass-through feature, refer to the Cisco StrataCom IGX Reference.

The back slot line numbers correspond to the slot number in which the BC-UVI-2E1EC card resides. Record the back slot number and port number of each line. These numbers are necessary for configuring the system after you complete hardware installation.
The Low-Speed Data Module (LDM) and High-Speed Data Module (HDM) card sets provide serial data service. Each of these front cards uses a variety of back cards.
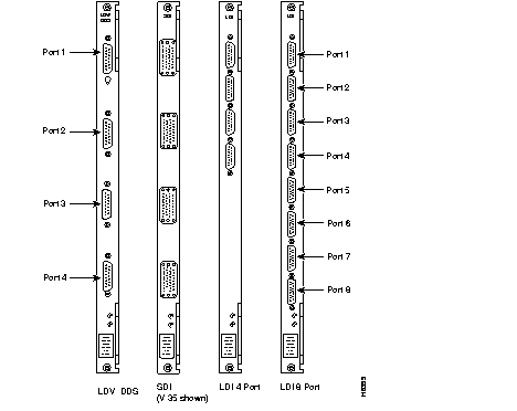
The LDM front card uses the 4-port or 8-port version of the Low-Speed Data Interface (LDI) back card for EIA/TIA-232C/D (V.24) connections. For DDS (Digital Data Service) connections, the LDM uses with the LDI4/DDS back card. The data connection ports are labeled PORT 1 through PORT 4 or PORT 1 through PORT 8. See Figure 3-7 for illustrations these back cards. For instructions on configuring an LDI port for DTE or DCE mode, refer to the forthcoming section titled Configuring the Mode of an LDI Port.
The HDM front card works with a Serial Data Interface (SDI) back card. Four types of SDIs are available. These are V.35, EIA/TIA-449/422, EIA/TIA-232D, and EIA/TIA-232C (V.24). (X.21 uses EIA/TIA-449 plus an adapter cable.) Each type of SDI has four connection ports, which are labelled PORT 1 through PORT 4. An example SDI card appears in Figure 3-7 .
When you connect SDI, LDI, and DDS ports, use the shortest reasonable cable length for each port.

Small jumper boards on the back card determine whether the mode of the port is DTE or DCE. The factory-set modes of the SDI ports alternate DCE with DTE. The steps that follow describe how to change the mode of the port. For the two modes, the rows on the back card jumper connector that are occupied by the jumper card are:
To change the mode on a port to DTE, position the jumper board for that port as follows:
![]() | Caution To prevent damage to the SDI cards, wear a wrist strap and clip the strap to the enclosure. |
Step 1 At the back of the IGX node, remove the SDI card, as follows:
Step 2 Move the jumper board one row of pins away from the SDI faceplate (Figure 3-8 ). For DTE mode, the jumper board should occupy rows 2, 3, 5, and 6.
If a port is in DTE mode and needs to be changed to DCE, plug the jumper board into the connector receptacle pin rows closest to the SDI faceplate (Figure 3-8 ). These rows are 1, 2, 4, and 5.

Optional redundancy for HDM and LDM cards can be provided with a second front and back card set and a Y-cable connection on each port to the customer data equipment.
Each port on an LDI card uses an adapter cable. For a list of LDI adapter cables, refer to the appendix titled "Cabling Summary." Each cable does the following:
See Figure 3-9 for an example. In Figure 3-9, the adapter cable makes the port a DCE port. Circuits on the card test certain pins on the cable then configure the port as DTE or DCE.

This section outlines how to establish frame relay service by setting up a Universal Frame Module (UFM) or a Frame Relay Module (FRM). The information includes details for T1, E1, HSSI, V.35, and X.25 interfaces. Detailed descriptions of the frame relay commands appear in the Cisco StrataCom Command Reference. For more details on StrataCom frame relay service, refer to the Cisco StrataCom System Overview. Cabling requirements for individual frame relay interfaces appear in the appendix titled "Cabling Summary." Specific cabling requirements for the UFI back cards on the UFM-U appear in the UFM-U description in the Cisco StrataCom IGX Reference.
For any frame relay card set that has a maximum frame length of 4510 bytes, the type of signaling protocol you may (optionally) specify with cnffrport results in a limit on the number of connections per physical or logical port. The maximum number of connections per port for each protocol is:
Neither addcon nor cnffrport prevents you from adding more than the maximum number of connections on a port. (You might, for example, use cnffrport to specify an LMI for a port when more connections than the applicable maximum listed above already exist.) If the number of connections is exceeded for a particular LMI, the LMI does not work on the port, the full status messages that result are discarded, and LMI timeouts occur on the port. A port failure results and also subsequently leads to a-bit failures in other segments of the connection path.
Channelized and unchannelized versions of the UFM card sets exit. The channelized front cards UFM-4C and UFM-8C operate with T1 and E1 interfaces, and the unchannelized front card UFM-U operates with V.35, X.21, and HSSI interfaces.
The back cards have the following terminations:
If the installation includes Y-cable redundancy, first read "Y-Cable Redundancy on the UFMs."
Redundancy for a frame relay port is possible with a second card set and the appropriate Y-cable. The card redundancy kit for UFM contains a second UFM/UFI card set and Y-cables to interconnect the ports on the two back cards. The forthcoming section titled "Setting Up Frame Relay Ports and Connections (UFM) " includes the step for configuring Y-cable redundancy.
Refer to the cabling description in the UFM-U section of the Cisco StrataCom IGX Reference for descriptions and part numbers of all cables for unchannelized UFMs.
Figure 3-10 shows the Y-cable arrangement for standard cables that support one or two ports. The diagram for single-port cables applies to all back cards. The dual-port cables connect to only a V.35 or X.21 UFI. The Y-cable connects to the back card, and the standard cable runs between the access device or CPE and the base of the "Y."
Y-cable redundancy is not allowed between different line types, such as a UFI-8T1-DB15 and a UFI-8E1-DB15. The dspyred display shows any conflict in reverse video. (See the descriptions of the upln (or upcln) and upfrport commands in the Cisco StrataCom Command Reference.)
The commands that relate to Y-cable redundancy are addyred, delyred, dspyred, and ptyred. After you have installed the cards in adjacent slots and connected the cables, use the addyred command to direct the node to recognize the card redundancy. See the Cisco StrataCom Command Reference for descriptions of.the commands.

For important details on standard cables and Y-cables for the UFI back cards, refer to the cabling description in the UFM-U section of the Cisco StrataCom IGX Reference.
Take the following steps after you have inserted the cards according to the information on installing cards in the section titled "Readying the Cards" earlier in this chapter. Connect the cables as follows:
Step 1 For the UFM-U/UFI card sets, make sure the cables are the correct DCE or DTE versions. For V.35 and X.21 connectors where both ports are to be used with two-port versions of the cable, the cable is either DCE or DTE. (You must specify both ports to be either DCE or DTE when you configure the port with the cnffrport command.)
Step 2 Bring each cable through the opening at the top or bottom of the cabinet (if applicable) and along the back of the unit. If necessary, use the cable manager to help route the cables.
Step 3 Add optional Y-cables as necessary.
Step 4 Secure the cables to the connectors on the back cards that mate with the correct front card. If the front card is a UFM-4C, use only the first 4 lines. If you install Y-cable redundancy on a UFI-4HSSI card, only Port 1 is configurable for redundancy.
Step 5 Record the slot number of each line for configuration purposes after hardware installation.
This section outlines the steps for setting up and deleting frame relay ports, adding connections, and grouping or bundling connections. Use either a StrataView Plus workstation an IGX control terminal to do these tasks. For detailed command descriptions, see the Cisco StrataCom Command Reference.
Step 1 If necessary, use the Display Cards (dspcds) command to verify the correct UFI back card and UFM front card. (Use the vt command to access other nodes.) The dspcds output shows any mismatch between firmware on the front card and firmware on the back card.
Step 2 If the card is a UFM-C, "up" (or activate) each line with the Up Line (upln) command. The range of lines for a UFM-4C is 1-4. The range of lines for a UFM-8C is 1-8. A UFM-U does not require upln.
Step 3 If the card is a UFM-C, assign logical frame relay ports to individual physical lines by using the Add Frame Relay Port (addfrport) command. A UFM-U does not require addfrport. An optional command you can use for a UFM-C either before or after addfrport is the Configure Line command (cnfln) command. Note that if you use cnfln to assign a DS0 to carry signaling, you cannot subsequently assign that DS0 for user-data with addfrport.
Step 4 If the card is a UFM-U, use the Configure Mode (cnfmode) command to configure the mode of the card if you do not use the default of mode 1. You must understand the ramifications of this step before you use cnfmode. If you do not understand the modes of the UFM-U, refer to the UFM-U description in the Cisco StrataCom IGX Reference.
Step 5 For optional Y-cable redundancy, configure the two cards by using the addyred command. For Y-cable redundancy on a HSSI card, you must use port 1 of the cards for the primary and redundant ports. For important information about Y-cable redundancy on a UFM-U, see the description in the UFM-U portion of the Cisco StrataCom IGX Reference.
Step 6 Activate the ports using the Up Frame Relay Port (upfrport) command.
Step 7 Configure the port for speed, clocking, LMI type, DCE or DTE, and so on, by using the Configure Frame Relay Port (cnffrport) command. Alternatively, you can keep the default parameters. Before using addcon to bundle connections, use cnffrport to set the Port ID to the DLCI planned for the near-end connections. The PortID is optional for non-bundled connections. Note that cnfport functions the same for Frame Relay as cnffrport.
Step 8 Add connections by using the addcon command. Adding connections requires the slot number, logical port number, and DLCI for each end of the connection. Frame relay is a purchased option. If you attempt to add connections but the system display states that frame relay is not available, call the WANBU TRT through Customer Engineering.
If you do not know the frame relay class intended for entry with the addcon command, determine which frame relay class number to use. Use the Display Frame Relay Classes (dspfrcls) command to see the parameters that each class specifies. To modify parameters in a class, use Configure Frame Relay Class (cnffrcls).
Step 9 Optionally--for an individual connection--you can configure bandwidth parameters or enabling ForeSight (if purchased) by using Configure Frame Relay Connection (cnffrcon).
Step 10 Optionally, you can set the channel priority by using the Configure Channel Priority (cnfchpri) command. Normally, the system-default priority is adequate.
If a port has multiple PVCs, you can optionally group or bundle the connections. Grouping helps conserve system resources such as device codes and logical connections in networks that need a high level of standardization. Bundling facilitates network meshing.
To place connections in a group:
Step 1 First establish a connection group with the Add Connection Group (addcongrp) command. The Display Connection Group (dspcongrp) command displays existing groups.
Step 2 Add existing connections to a group by using the Group Connection (grpcon) command.
You can specify connection bundling during parameter specification in the Add Connection (addcon) command: if you press Return without specifying a DLCI during port specification, the system prompts for bundling information. See the "Frame Relay Connections" chapter in the Cisco StrataCom Command Reference for details.
To specify logical ports on a T1 or E1 interface, use addfrport. The addfrport command assigns a logical port number to a physical line and a range of 1 or more DS0s/timeslots. Use the logical port number to activate a port (upfrport), add connections (addcon), or display statistics (dspportstats). For example, after you add logical port 14.60 2.1-24 with addfrport, you up this logical port by entering "upfrport 14.60." The maximum number of logical port numbers on a UFM-C is 250. Use dspfrport to display logical ports.
Delete a logical port by executing the delfrport command. Executing delfrport dissolves any groups of DS0s/timeslots and unassigns all DS0s/timeslots on the logical port. (Note that, before you delete a frame relay port, you must delete any connections on the port with delcon.) After deleting a logical port with delfrport, you can de-activate the physical port with dnport.
Four types of interfaces are available for the FRM. The back cards have the following terminations:
Cabling requirements for the frame relay interfaces are in the appendix titled "Cabling Summary."
The following steps take place after you have inserted the cards according to the general information on installing cards in the section titled "Readying the Cards" earlier in this chapter. Make the cable connections as follows:
Step 1 Bring each cable through the opening at the bottom of the cabinet (if applicable) and up the back of the unit.
Step 2 If needed, use the cable manager to help route the cables.
Step 3 Secure the cables to the connectors on the cards that mate with the correct front card.
Record the slot number of each line. These numbers are necessary for configuring the system after you finish installing the hardware.
You can configure each port on a FRI-V.35 or FRI-X.21 as a DCE or a DTE through the position of a jumper card on the FRI.
![]() | Warning Only qualified personnel should open the cabinet door. |
![]() | Caution To prevent damage to the FRI cards, ground yourself before handling IGX cards by clipping a grounding strap to your wrist, and clipping the wrist strap lead to the enclosure. |
A small jumper card near each connector on the back card selects the port's mode. The factory-set modes alternate between DCE and DTE. The steps that follow describe how to change the mode of a port. The relation between back card row numbers and the port mode is as follows:
To change the mode of an interface, reposition the jumper board for the port as follows:
Step 1 If the FRI is already in the node:
Step 2 To change to DTE, move the jumper board one row of pins away from the FRI faceplate (Figure 3-11 ). For DTE mode, the jumper board should occupy rows 2, 3, 5, and 6.
To change to DCE, plug the jumper board into the connector receptacle pin rows closest to the FRI faceplate (Figure 3-11 ). The rows for DCE mode are 1, 2, 4, and 5.
Step 3 Insert the FRI card and gently slide it in all the way to the rear of the slot.
Step 4 Screw in the mounting screws.

Optional redundancy on a frame relay port is possible with a second FRM/FRI card set and a Y-cable connection on each applicable port. The forthcoming section "Setting Up Frame Relay Ports and Connections (FRM) " includes the step for configuring Y-cable redundancy. The card redundancy kit contains a second FRM/FRI card set, Y-cables to interconnect the ports on the two back card, and four, 200-ohm DCE/DTE jumper cards if the back cards are either FRI-V.35s or FRI-X.21s. (The DCE or DTE port applies to only V.35 or X.21 interfaces.) Make sure that the firmware revision of the FRM in the kit matches the firmware in the installed FRM. Model firmware supports V.35 and X.21 interfaces. Model E firmware supports T1 and E1 interfaces.
When you install a redundant card set with either a V.35 or X.21 interface, you must change the "daughter cards" on the existing FRI that specify DCE or DTE mode at each port. Install the higher impedance (200 Ohms) version cards that are in the Y-cable kit.
Y-cable redundancy is not allowed between inconsistent back card types, such as an FRI T1 and an FRI V.35. The dspyred display shows any conflict in reverse video. (Refer also to the descriptions of the upcln and upfrport commands in the Cisco StrataCom Command Reference.)
After the hardware is installed, use the Add Y Redundancy (addyred) command to reconfigure the node to recognize the card redundancy. Refer to the Cisco StrataCom Command Reference for more information on the commands addyred, delyred, dspyred, and ptyred.
This section outlines the steps for setting up and deleting frame relay ports, adding and configuring connections, and grouping or bundling connections. As the steps show, some commands apply to channelized connections (T1, E1, or J1) but not to unchannelized connections (V.35 or X.21). Use either the IGX control terminal or a StrataView Plus workstation to execute the commands. For parameters and other details on the commands, refer to the Cisco StrataCom Command Reference.
Step 1 If not already done, activate the applicable lines with the Up Line (upln) command.
Step 2 Use the Display Cards (dspcds) command to verify that all nodes have the correct FRI back card and FRM front card. (Use the vt command to gain access to other nodes.) The dspcds output shows the slot number of each card and any mismatch between firmware on the front card and firmware on the back card. Note the slot number of each FRM or UFM for subsequent commands.
Step 3 For V.35 and X.21 interfaces, check the mode (DCE or DTE) of each relevant port by using the Display Frame Relay Port (dspfrport) command. (For T1 and E1 lines, the mode is not applicable.) On an FRI-X.25 or FRI-V.35 back card, a jumper board near each connector determines the mode of the port. See "Port Mode Selection for V.35 and X.21 " for details.
Step 4 For optional Y-cable redundancy, configure the two slots for redundancy by using addyred.
For V.35 and X.21 interfaces, skip the next three steps.
Step 5 For T1, E1, and J1 interfaces, up the line using the Up Line (upln) command.
Step 6 For T1, E1, and J1 interfaces, configure the line using Configure Line (cnfln) command.
Step 7 For T1, E1, and J1 interfaces, add the logical frame relay port using the using the Add Port (addport) command.
Step 8 For all interface types, activate the port using the Up Port (upport) command.
Step 9 Configure the port for speed, clocking, LMI type, and so on, by using the Configure Frame Relay Port (cnffrport) command. Alternatively, you can keep the default parameters. If you intend to bundle connections, use cnffrport to set the Port ID to the DLCI planned at the near-end connections. Setting the PortID is optional for non-bundled connections.
Step 10 Determine which frame relay class number to use when you add connections to a port. To see the parameters that each class specifies, use the Display Frame Relay Classes (dspfrcls) command. To modify parameters in a class, use Configure Frame Relay Class (cnffrcls).
Step 11 Add connections to the port by using the Add Connection (addcon) command. Enter the slot number and specify a DLCI for each end of the connection.
Step 12 For an individual connection, you have the option of configuring bandwidth parameters or enabling ForeSight (if purchased) by using Configure Frame Relay Connection (cnffrcon).
Step 13 Optionally, you can set the channel priority by using the Configure Channel Priority (cnfchpri) command. Normally, the system-default priority is adequate.
If a port has multiple PVCs, you can optionally group or bundle the connections. Grouping helps conserve system resources such as device codes and logical connections in networks that need a high level of standardization. Bundling facilitates network meshing.
To place connections in a group:
Step 1 First establish a connection group with the Add Connection Group (addcongrp) command. (The Display Connection Group (dspcongrp) command displays existing groups.)
Step 2 Add existing connections to a group by using the Group Connection (grpcon) command.
You can specify connection bundling during parameter specification in the Add Connection (addcon) command: if you press Return without specifying a DLCI during port specification, the system prompts for bundling information. See the "Frame Relay Connections" chapter in the Cisco StrataCom Command Reference for details.
To specify logical ports on a T1 or E1 interface, use addfrport. The addfrport command assigns a logical port number to a group of one or more DS0s/timeslots. The slot number and the lowest number in the user-specified DS0/timeslot group form the logical port number. Use the logical port number to activate a port (upfrport), add connections (addcon), or display statistics (dspportstats). For example, after you add logical port 14.1-6 (6 DS0s/timeslots) with addfrport, you up this logical port by entering "upfrport 14.1." Use dspfrport to display logical ports.
Executing delfrport dissolves any groups of DS0s/timeslots and unassigns all DS0s/timeslots on the logical port. To delete a logical port:
Step 1 Delete any connections on the port with delcon.
Step 2 Delete the logical port with delfrport.
Step 3 You can de-activate the logical port with dnfrport.
Step 4 You can de-activate the physical line with dnln.
You can add connections for a Cisco 3800 series access device at the FTM or FTC (IPX) when the other end of the connection is on an FTC, FTM, FRP, or FRM. When the other end of the connection terminates at an FTC/FTM, the connected device must be a Cisco access device (not a FastPAD). Also, to add a voice connection, you must add the connection at the CDP or CVM. Note also that the signaling type for voice connection to a 3800 series device is CAS.
For descriptions of the Cisco 3800 access devices, see the Cisco 3800 Series Software Configuration Guide and Command Reference and Cisco Access Products 3800 Series Installation Guide.
The syntax for identifying a connection on a Cisco access device is slot.port.connection_ID, where connection_ID has the usual DLCI range. This syntax applies for all commands that relate to a connection on an access device and at all termination points of the connection. For example, if you add a voice connection at a CVM, the near end connection identifier would be slot.channel, and the far end identifier would be slot.port.connection_ID.
Cisco access device connections use the FTM front card and an FPC back card. The back card versions are FPC T1, FPC E1, FPC V.35, and FPC X.21.
The T1 card has a DB15 for RX/TX. The E1 connections are the same except for additional BNC connectors for unbalanced connections and BNC connectors for RX/TX MONITOR.
For V.35 and X.21 connections, the cable-type determines whether the access device functions in DTE or DCE mode. Also, once you have specified the mode by your choice of cable, you must use the IOS command for specifying the clock rate and clock source at the access device terminal.
For an X.21 interface, the cable 72-1304-xx makes the access device DTE. The cable 72-1304-xx makes the access device DCE.
For a V.35 interface, the cable 72-1311-xx makes the access device DCE. The cable 72-1302-xx makes the access device DTE.
The cabling requirements are the same as for the corresponding frame relay interface and are detailed in the appendix titled "Cabling Summary."
Installation of the FTM/FPC card set follows the same steps as other card sets. The FPC plugs directly into the FTM card. The FTM and FPC can reside in any slot not reserved for the NPM and SCM, respectively.
The types of FastPAD interfaces are T1, E1, V.35, and X.21.
FastPAD connections use the FTM front card and an FPC back card. The back card versions are FPC T1, FPC E1, FPC V.35, and FPC X.21.
The T1 card has a DB15 for RX/TX. The E1 connections are the same except for additional BNC connectors for unbalanced connections and BNC connectors for RX/TX MONITOR.
A V.35 connection uses a standard 34-pin female MRAC-type connector with a standard V.35 cable. The FPC-X.21 has female DB15 sub miniature connectors.
The cabling requirements are the same as for the corresponding frame relay interface and are detailed in the appendix titled "Cabling Summary."
Installation of the FTM/FPC card set follows the same steps as other card sets. The FPC plugs directly into the FTM card. The FTM and FPC can reside in any slot not reserved for the NPM and SCM, respectively.
Each of the four ports on the FPC V.35 and X.21 versions can be configured as a DCE or as a DTE by selecting the position of a jumper board on the FPC. These ports are factory-configured as DCE interfaces. (Although the default is for DCE, check the boards before starting up the system.)
| **before**To prevent damage to the FTM and FPC, put on a ground strap and clip the wrist strap lead to the enclosure.@@before@@ | Caution **after**To prevent damage to the FTM and FPC, put on a ground strap and clip the wrist strap lead to the enclosure.@@after@@ |
To change a port's interface configuration on the FPC V.35 or FPC X.21, reposition the jumper board for the port as follows:
Step 1 At the back of the IGX cabinet, identify the slot where the FTM/FPC card resides.
Step 2 Loosen the captive phillips screws at both ends of the faceplate.
Step 3 Rotate the card extractor levers and slide the card out.
Step 4 For each port that is being changed to DTE, move the jumper board to the row of connector pins that is one row away from the FPC faceplate. Figure 3-12 shows positions for both DTE and DCE.
Step 5 To change a port to DCE, plug in the jumper board so that the row of connector pins that is closest to the FPC faceplate is occupied. See Figure 3-12.
Step 6 Re-insert the FPC card and gently slide it in all the way to the rear of the slot.
Step 7 Screw in the mounting screws.

To install an Alarm Relay Module (ARM) card set, do the following:
Step 1 At the back of the IGX node, identify the slot where the ARI card is to reside.
Step 2 Install the ARM in the front slot and use the card extractors to help secure card.
Step 3 Install the ARI in the corresponding back slot. Use the extractor handles to help secure the card then tighten the captive screws by hand.
Step 4 Note that the FAIL LED on the ARM is off. The ACTIVE LED is also off.
Step 5 Attach a 22 or 24-gauge cable with the appropriate number of pairs to a male DB37 connector at one end. Typically, a 12-pair cable is adequate. Connect this cable to the DB37 connector on the ARI and tighten the captive screws.
See also "Initial Startup of the IGX," when the system is ready for power.
The steps that follow show how to set up an ARM card set after the physical installation is complete. This is done from the IGX control terminal or StrataView Plus workstation. For details on each command used, refer to the Cisco StrataCom Command Reference.
Step 1 Verify that the node is equipped with the proper ARM front card and ARI back card by using the Display Cards (dspcds) command. This will show in which slot they are located.
Step 2 From a control terminal or a StrataView Plus NMS workstation, vt to the node and enter the addalmslot command followed by the slot number where the ARM is located. This will activate the alarm reporting from the card.
Step 3 Observe that the ACTIVE LED on the ARM card is on.
Step 4 Testing the operation of the alarm outputs requires you to create an alarm and note the resulting alarm output. This test is easy on a node that is not connected to the network but difficult on a node in a fully operational network. The best time to create a major alarm an operational network is during a low traffic period. If you create an alarm, go to Step 5. Otherwise, stop here.
Step 5 Create an alarm by disconnecting a trunk cable from the connector on a back card.
Step 6 Observe that a lit MAJOR LED appears on the front of the ARM.
Step 7 Using a voltage/ohm meter (VOM), make sure continuity exists between pins 16 and 17 and between pins 35 and 36 at the DB37 connector on the ARI card.
Step 8 Reconnect the cable that was disconnected in Step 5.
Step 9 With the VOM, check that the reading between pins 16 and 17 and pins 35 and 36 are open and the MAJOR LED is not on.
Alarm output connections are made at the DB37 connector on the ARI card. The connector pin assignments with the alarm signal names are Table 3-1 (see also the "Cabling Summary" appendix).
| Pin # | Alarm Type | Alarm Name | Alarm Description |
|---|---|---|---|
| 1 | both | CHASSIS | Protective ground |
| 3 | Network | NWMAJA | Major--normally open contact |
| 22 | Network | Major--normally closed contact | |
| 4 | Network | NWMAJC | Major--common contact |
| 10 | Node | MNVISA | Minor Visual--normally open contact |
| 11 | Node | Minor Visual--normally closed contact | |
| 12 | Node | MNVISC | Minor Visual--common contact |
| 16 | Node | MJAUDC | Major Audible--common contact |
| 17 | Node | MJAUDA | Major Audible--normally open contact |
| 23 | Network | NWMINA | Minor--normally open contact |
| 24 | Network | Minor--normally closed contact | |
| 25 | Network | NWMINC | Minor--common contact |
| 29 | Node | NWAUDA | Minor Audible--normally open contact |
| 30 | Node | Minor Audible--normally closed contact | |
| 31 | Node | NWAUDC | Minor Audible--common contact |
| 35 | Node | MJVISC | Major Visual--common contact |
| 36 | Node | MJVISA | Major Visual--normally open contact |
Table 3-2 shows the unassigned connector pins.
Pin # | Alarm Type | Alarm Description |
|---|---|---|
| 7 | Relay 2 | common contact |
| 8 | Relay 2 | normally closed contact |
| 9 | Relay 2 | normally open contact |
| 26 | Relay 4 | common contact |
| 27 | Relay 4 | normally closed contact |
| 28 | Relay 4 | normally open contact |
The DB15 connector labeled Ext Clocks on the faceplate of the SCM connects two external sources for a high-stability clock (primary and redundant). These inputs are 1.544 MHz for T1 systems and 2.048 MHz for CEPT systems. In addition, one of the trunk or circuit line inputs may also serve as a source of timing for the node. If you do not select a clock source, the clock source is the internal IGX clock.
Two separate clock inputs exist. The primary clock source is A, and the secondary clock source is B. One or both of these can be either 1.544 Mbps or 2.048 Mbps. For a list of connector pin assignments, see the appendix titled "Cabling Summary."
A network must have at least one control terminal (or StrataView Plus workstation if you wish to collect statistics) attached, along with a network printer for printing out the status of the system. The SCM has three ports for attaching peripherals to an IGX node. These ports are CONTROL TERMINAL, LAN AUI, and AUX PORT.
For StrataCom ISC to perform remote troubleshooting, a modem must connect to the network. This is a requirement for all StrataCom service plans. The following sections provide procedures for attaching peripherals to the IGX node. Be sure to read the manufacturers' literature to ensure that the equipment is ready before attempting to connect it to the IGX node.
To use network management, at least one node in a StrataCom network running Release 7.2 software must have a StrataView Plus workstation connected. The workstation connects to the AUI Ethernet LAN port on the SCM.
The StrataView Plus workstation may be used to configure and maintain all nodes in a network. For instructions on using the StrataView Plus workstation, see the Cisco StrataCom StrataView Plus Operations Manual.
If only a single NMS station is connected and the network is relatively small, you can use a serial EIA/TIA232 port--the CONTROL TERMINAL port.
Appendix B lists the control terminals supported by the IGX 8 node and the configuration settings. The appendix titled "Cabling Summary" has the pin assignments for the IGX 8 control terminal port.
Attach the control terminal to the SCM as follows (see Figure 3-13).
Step 1 From the back of the cabinet, run the control terminal EIA/TIA-232/V.24 cable through the opening at the bottom and up to the SCM card in back slot 1.
Step 2 Locate the CONTROL TERMINAL connector on the SCM and attach the control terminal EIA/TIA-232/V.24 cable to it.

Step 3 Tighten the EIA/TIA-232 connector screws to firmly attach the cable to the CONTROL TERMINAL connector.
Step 4 Plug the control terminal power cord into the appropriate wall receptacle.
Step 5 Set the port function for VT100 (#5) using the cnftermfunc command.
Step 6 Make sure the AUXILIARY port and the terminal are set to the same baud rate and check the other communication parameters using the cnfterm command.
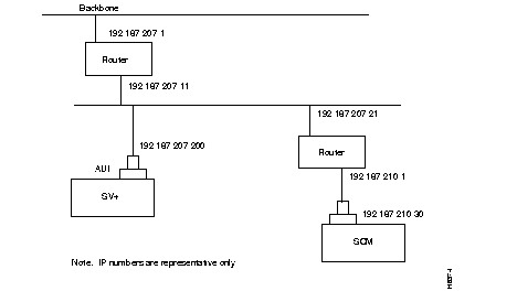
If the network is large or extensive network statistics are needed, an Ethernet port (LAN port) should be used. Larger networks produce a greater flow of statistics data between the node and the StrataView Plus workstation, so a higher speed Ethernet port is suitable. Figure 3-14 illustrates this connection. Accessing a node over an Internet connection requires the operator to use cnflan to enter the Internet Protocol (IP) address, IP subnet mask, TCP service port, and gateway IP address.

Step 1 Contact a System Administrator to obtain IP addresses for the workstation and for the IGX node.
Step 2 Normally, the System Administrator updates the NIS database, as applicable (if an NIS is used), and adds the IP addresses for the workstation and node to the NIS database. Refer to the StrataView Plus Operations Manual for instructions on configuring the StrataView Plus workstation.
192.187.207.200 hedgehog
192.187.210.30 sanfran
Step 3 Configure the LAN port on the IGX node using a dumb terminal or an EIA/TIA-232 connection via the workstation (using the vt command, as applicable) to enter the appropriate cnflan parameters.
The cnflan command configures the node's communication parameters so that the node can communicate with a StrataView Plus terminal over an Ethernet LAN using the TCP/IP protocol. The parameters contain address information about the Ethernet TCP/IP network that is used to connect the StrataView Plus workstation to an IGX node. The values used must conform to those of the network and should be supplied by the Ethernet network administrator.
The cnflan command has the following parameters:
A cnflan screen is shown in Figure 3-15 . The active IP address for the workstation has been entered as the IP address selected previously for the node, 192.187.207.21. The IP Subnet mask is entered as 255.255.255.0 for a Class C LAN network. The TCP service port is entered as 5120. Since the workstation and node are on different networks in this example, a gateway address of 192.187.207.1 has been entered. If the workstation and node are both on the same network, no gateway address is needed. The "Maximum LAN Transmit Unit" and "Ethernet Address" parameters are not configurable by the cnflan command. The "Ethernet Address" is a hardware address ("burned into the NPM card") that is unique to each NPM card.
D2.cb1 LAN StrataCom IGX 8 8.2 Feb. 27 1996 14:23 PST Active IP Address: 192.187.207.21 IP Subnet Mask: 255.255.255.0 TCP Service Port: 5130 Default Gateway IP Address: 192.187.207.1 Maximum LAN Transmit Unit: 1500 Ethernet Address: 00.55.43.00.04.55 Control Socket - Ready Base Socket Descriptor - 1 Socket Closed Last Command: cnflan Next Command:
Step 4 Connect the StrataView Plus workstation and the IGX node to a LAN network. Examples are shown in Figure 3-16 and Figure 3-17. The LAN port on the IGX node provides a DB-15 connector that can be connected to a Y-cable which in turn is connected to an AUI as shown in Figure 3-17.
Step 5 To make sure a LAN connection on the IGX LAN port is good, an example hostname of "sanfran" entered in the config.sv file, enter the following at the StrataView Plus workstation:
ping sanfran
Step 6 Once the workstation and IGX node interface has been set up, StrataView Plus can be started. Figure 3-18 shows the dsplan screen after StrataView Plus has been started and the communication sockets are active.


D2.cb1 LAN StrataCom IGX 8 8.2 Feb. 27 1996 14:27 PST Active IP Address: 192.187.207.21 IP Subnet Mask: 255.255.255.0 TCP Service Port: 5130 Default Gateway IP Address: 192.187.207.1 Maximum LAN Transmit Unit: 1500 Ethernet Address: 00.55.43.00.04.55 Control Socket - Ready Base Socket Descriptor - 1 Open Socket Descriptor - 2 Last Command: dsplan Next Command:
![]() | Caution Before switching on the StrataView Plus workstation, refer to the StrataView Plus Operations Guide. |
Step 7 Switch on the control terminal (or StrataView Plus workstation). Adjust the terminal's configuration, if necessary, to match the default settings of the control terminal port in the IGX node. See Appendix B, "Peripherals Specifications," for the required settings. See the StrataView Plus Operations Guide for settings and operating instructions for the workstations.
When a network management station has more than one serial port, ports may connect to different networks. When the number of workstation serial ports is less than the number of networks to be managed, a terminal server is necessary to obtain a communications link to the separate networks. This subject is covered in the StrataView Plus Installation Guide.
At least one node in the network should have a printer connected. The printer connects to the AUX PORT on the SCM.
The printer is used to display information about network operation. It can be configured to print maintenance information on a regular basis, and it can print specific diagnostic information when necessary. Instructions on using the printer for this purpose are in the Cisco StrataCom Command Reference (see Appendix A in the Cisco StrataCom Command Reference for a list of printer-related commands).
Attach the printer to the IGX node as follows:
Step 1 Check the printer EIA/TIA-232/V.24 cabling pinout and, if required, adjust the DIP switches to the settings indicated for the type of printer to be connected to the IGX node. See Appendix B for EIA/TIA-232/V.24 cable pinout and DIP switch settings.
Step 2 At the back of the cabinet, run the printer EIA/TIA-232/V.24 cable through the opening at the bottom and up to the SCM card in back slot 1.
Step 3 Locate the AUX PORT connector on the SCM and attach the printer EIA/TIA-232/V.24 cable to it. See Figure 3-19 .

Step 4 Tighten the EIA/TIA-232/V.24 connector screws to firmly attach the cable connector to the AUX PORT connector.
Step 5 Plug the printer power cord into the appropriate wall receptacle.
Two modems may be connected to the IGX node to provide access for remote troubleshooting and for remote alarm logging (see Figure 3-20). Each connection between the SCM and a modem requires a special cable and setup procedure. Refer to Appendix B, "Peripherals Specifications," for instructions on connecting and setting up the modems.
The modem that provides access for remote troubleshooting from the WANBU TRT office (WANBU TRT-to-IGX modem) is connected to CONTROL TERMINAL port on the SCM. Typically, the modem connects to the telephone wall jack with a direct-dial line. You can reach the WANBU TRT through Cisco Customer Engineering.
The modem that is used to provide remote alarm logging (IGX-to-WANBU TRT modem) is connected to the AUX PORT on the SCM. This modem connects to a wall jack using a standard telephone line.

The Power Supply Monitor (PSM) is a connector with outputs that signal an AC power supply alarm. Cisco provides no equipment that connects to the PSM connector, so user-supplied equipment is necessary. Refer to the Cisco StrataCom IGX Reference for a description of the PSM outputs.
This section describes checkout procedures to follow after the hardware is in place and ready to receive power. "IGX Configuration Summary ," summarizes the steps and lists the commands for brining up the system.
Before using the IGX node, be sure the following procedures are complete:
Step 1 If the IGX node uses AC, make sure the node is connected to the correct AC receptacle. For a DC-powered unit, make sure it connects to the correct, dedicated DC source.
Step 2 Check the record for the correct switch status for switch W6 on the SCM. See the recommendation in the section "Readying the Cards." If the switch position was not previously verified, do so now. W6 sits above component U7P on the SCM. To indicate to the controller card that the system is an IGX 32 node, remove the jumper. To indicate that the system is an IGX 16 node, leave the jumper on the card. For an IGX 8, the Cisco factory sets the switch positions to indicate the node type.
Step 3 The full complement of cards for the node are mounted in the correct slots, correctly seated, and secured with screws.
Step 4 The T1 cables are attached to the correct BC-T1, BC-UVI-2T1EC, or UFI-8T1 card.
Step 5 The E1 cables are attached to the correct BC-E1, BC-UVI-2E1EC, or UFI-8E1 card.
Step 6 The Fractional E1 or T1 connections are attached to the BC-E1 or BC-T1 card connector if the IGX node is providing Fractional E1 or T1 service.
Step 7 The Subrate connections connect to the BC-SR card if the IGX node is providing Subrate E1 or T1 service.
Step 8 E3 cables connect to the correct AIT-E3 or BC-UAI-1E3 card.
Step 9 T3 cables connect to the correct AIT-T3 or BC-UAI-1T3 card.
Step 10 The data connections are attached to the appropriate SDI/LDI cards.
Step 11 For frame relay connections from a FastPAD, make sure the Frame Relay User Device Connections connect to the appropriate FPC card connectors.
Step 12 A control terminal connects to the CONTROL TERMINAL port on the SCM in back slot 1, or a StrataView Plus workstation connects to the AUI port, and the power cord plugged into the appropriate AC receptacle.
![]() | Warning If the FAN 2 connector on the PE-BC is unused, be sure not to plug the control terminal cable into FAN2. |
Step 13 If specified, a printer connects to the AUX PORT on the SCM in back slot 1, and the power cord is plugged into the appropriate AC receptacle.
Step 14 If specified, one or more modems connect to the CONTROL TERMINAL port or AUX PORT, as applicable, on the SCM in back slot 1, and any modem power cords plug into the appropriate AC receptacle.
Step 15 At the back of the unit, turn the circuit breakers to the ON position. In a system using a DC source, attach the cable guard (AC should already have the cable guard in place). After initial powerup, DC systems can be switched off and on either at the PEM or at the building site's resident circuit breaker. Use the building's DC circuit breaker only if all cables are clearly marked; if the building's dedicated circuit breaker has an actual switch and not just a fuse; and if controlling power at the building's circuit breaker actually provides an advantage over removing the cable guard.
Step 16 Observe that, after you turn on the IGX node, the cards run diagnostic self-test.
Step 17 If an alarm exists for a T1 or an E1 line that is physically connected to the IGX node, try reconnecting the line to make sure there is a good physical connection. If the alarm condition continues, a valid T1 or E1 problem may exist.
The IGX software contains a group of diagnostic tests that run on the system's hardware at power-up. The startup diagnostic either passes or fails the NPM(s). The test result is displayed on the control terminal screen as pass or fail (Figure 3-21 or Figure 3-22).
************************************************************************************** Release 7 Boot power up diagnostics starting. 68000 Internal Registers test passed. 68000 clock test passed. Static RAM test passed. TDM memory test passed. Fast RAM test passed. BRAM test passed. Dynamic RAM test from Hex Address 400000 to Hex Address 9FFFFF Release 7 Power up diagnostics complete. **************************************************************************************
**************************************************************************************Release 7 Boot power up diagnostics starting. 68000 Internal Registers test passed. 68000 clock test passed. Static RAM test passed. TDM memory test passed. Fast RAM test passed. BRAM test failed. Remove and reinsert this NPM to see if it fails again. **************************************************************************************
If an NPM fails the power-up diagnostic (Figure 3-22), the boot process does not finish. If this failure occurs, do the following:
Step 1 Remove the failed NPM from its slot.
Step 2 Install the NPM in the same slot again.
Step 3 Wait for the power-up diagnostic to run.
Step 4 If the NPM fails the power-up diagnostics again, replace it with an NPM that is known to be good. For card replacement procedures, refer to the "Troubleshooting" chapter.
IGX software includes internal diagnostic routines that periodically test the cards' performance. Self-test diagnostics automatically start and run in background and do not disrupt normal traffic. If a failure is detected during the self-test, the faceplate red FAIL LED is turned on. You can also view the status at the control terminal by executing the Display Card (dspcd) command.
A report of a card failure remains until cleared. Clear a card failure by the Reset Card (resetcd) command. The two types of resets are hardware and failure. The reset-failure clears the event log of failures detected by the card self-test but does not disrupt operation of the card. A reset of the card firmware occurs with a hardware reset: it reboots the firmware and momentarily disables the card. If a redundant card is available, the hardware reset causes a switch over to the standby card.
Check the status lights on the system unit cards. Table 3-3 shows the normal status of each light, assuming n+1 redundancy for NTM and CVM cards
| Card | Active Status | Standby Status1 | Alarms |
|---|---|---|---|
| NPM | 1 | 1 | - |
| CVM | - | - | - |
| UVM | - | - | - |
| NTM | - | all | - |
| BC-T1/E1 | - | all | - |
| BC-SR (Subrate) | - | all | - |
| AIT-T3/E3 | - | all | - |
| HDM/LDM | - | all | - |
| SDI/LDI | - | all | - |
| FRM | - | all | - |
| UFM | - | all | - |
| SCM | 1 | 0 | - |
| ALM/A | - | all | - |
| ALM/B | - | all | |
| BTM | - | all | |
| ARM | 1 | - | - |
| Power Supplies | All | - | - |
The means for verifying the correct power supply voltages are the DC Okay and AC Okay LEDs on each power supply. If either of these LEDs is off, a problem exists in relation to that supply. Power supplies are not field-adjustable. If a power supply voltage is out of tolerance, replace the supply with one known to be within tolerance. Refer to the section on AC power supply replacement in Chapter 4, "Troubleshooting."
This section outlines the steps and names the commands for configuring a network. This section is not an exhaustive presentation. For detailed descriptions of the commands, refer to the Cisco StrataCom Command Reference or the Cisco StrataCom SuperUser Command Reference. For detailed descriptions of the networking concepts, refer to the Cisco StrataCom System Overview.
You can configure the IGX node through commands you enter at the control terminal or, if you have access, at a StrataView Plus Network Management Station.
For IGX configuration, the control terminal has system access either through a local control port (over an EIA/TIA-232 or Ethernet TCP/IP link) or from a control terminal screen on a StrataView Plus Network Management Station (NMS). Remote control terminal access is possible using a Virtual Terminal (vt) command if the node has been configured with a name (cnfname) and at least one trunk has been established to the network.
The basic tasks to configure an IGX node are as follows:
Two approaches are available for establishing a frame relay-to-ATM interworking connection in a tiered network (see the Cisco StrataCom System Overview for a description of tiered networks). The simplest approach is to use the Connection Manager in StrataView Plus. When the connection to an FRSM on an AXIS interface shelf is specified, the correct end-to-end connection type is established. This connection type is either atfr (ATM-to-frame relay interworking) or atfst (ATM-to-frame relay interworking with ForeSight). The other approach is to use the command line interface on the IGX node or other routing node to execute addcon and related commands (such as cnfcon) to establish the connection between routing nodes. A network interworking connection requires that each connection segment be specified. (Establishing the connection between the FRSM on the AXIS shelf and the BPX node requires execution of the addchan command.)
You can monitor, manage, and troubleshoot the IGX node using the StrataView Plus Network Management Station. Issue commands to an IGX node through the Node Administration window. Display and monitor the network's topology using the Network Overview and Network Topology windows. Alarms are reported and logged into the Event Log window. Statistics are collected and displayed through the StrataView Plus Statistics window.
|
|