|
|
This chapter describes the hardware and related functions for each circuit line card in an IGX node. The description of each card includes:
A brief description of optional peripherals and third-party equipment appears at the end of the chapter. For system specifications, such as protocols and standards, refer to Appendix A.
For all matters relating to installation, troubleshooting, user-commands, and repair and replacement, refer to the Cisco StrataCom IGX Installation manual.
Other manuals that relate to IGX operation are:
This chapter introduces each of the following line card groups:
Table 4-1 lists the front cards that can be used in the IGX. Table 4-2 lists the back cards that can operate in an IGX. In addition to the front and back cards, the IGX uses an Adapter Card Module (ACM). These cards attach to existing IPX 16/32 service module cards and perform the adaptation necessary to allow IPX 16/32 front cards to operate in an IGX 8, 16, or 32 system. Note that IPX this upgrade scheme does not apply to 8-specific cards. Beyond this limitation, IPX back cards can operate in an IGX system without modifications.
| Card Acronym | Card Name |
|---|---|
| BC-UAI-1T3 | Universal ATM Interface T3 Back Card |
| BC-UAI-1E3 | Universal ATM Interface E3 Back Card |
| BC-E1 | E1 Interface Card |
| BC-T1 | T1 Interface Card |
| BC-Y1 | Y1 Trunk Interface Card |
| BC-J1 | J1 User (Circuit) Interface Card |
| BC-SR | Subrate Trunk Interface Card |
| BC-UVI-2TIEC | Universal Voice Interface T1 Card |
| BC-UVI-2E1EC | Universal Voice Interface E1 Card |
| UFI-8T1-DB15 | Universal Frame Interface 8 T1 Card (with DB15 connectors) |
| UFI-8E1-DB15 | Universal Frame Interface 8 E1 Card (with DB15 connectors) |
| UFI-8E1-BNC | Universal Frame Interface 8 E1 Card (with BNC connectors) |
| UFI-4HSSI | Universal Frame Interface 4 HSSI (supports 4 HSSI lines) |
| UFI-12V.35 | Universal Frame Interface 12 V.35 (supports 12 V.35 lines) |
| UFI-12X.21 | Universal Frame Interface 12 X.21 (supports 12 X.21 lines) |
| FRI | Frame Relay Interface Card (supports T1, E1, X.21, or V.35) |
| FPC | FastPAD Card (V.35, T1/E1, X.21) |
| SDI | Synchronous Data Interface: RS-232C, RS-232D, RS-422/449 X.21, V.24, and V.35 |
| LDI | Low-Speed Data Interface RS-232C/D, 4-port, 8-port V.24, 4-Port, 8-Port DDS, 4-port |
| ARI | Alarm Relay Interface |
Front cards and back cards have faceplates with indicator LEDs and, on some front cards, push-button controls. In addition, back card faceplates have the cable connectors. In slots where no back card exists, a blank faceplate must reside to contain Electromagnetic Interference (EMI) and Radio Frequency Interference (RFI) and to ensure correct air flow.
The LED indicators are on the front and back card faceplates. Each plug-in card has both a green ACTIVE LED and a red FAIL LED at the bottom of the faceplate. In general, the meaning of each LED is indicated in Table 4-3. Some other cards have additional indicators, connectors, or controls, which the appropriate sections describe.
| Indicators | Status | Meaning |
|---|---|---|
| FAIL | ON Steady | Indicates an error occurred. Resetting the card with the resetcd f command is suggested first. If the LED comes on again, call Cisco Customer Engineering. |
| FAIL | Blinking | On an NPM in a redundant system, this combination indicates that the card is being updated. |
| ACTIVE | ON steady | When steadily on, this combination indicates the card is active and carrying traffic or processing data. |
| ACTIVE | ON momentarily | When momentarily on, indicates the card executed a self-test. |
| BOTH | OFF | Indicates the card part of a redundant pair and is in the standby mode or not being used at all. |
| BOTH | ON | Indicates the card failed but remains active because no standby card is available. In the case of an HDM or LDM card, this could indicate that one or more of the data channels failed, but the others are still active. |
StrataCom can upgrade IPX service/interface cards for use in an IGX. This allows the IGX to provide all the services of the IPX with cards of proven efficiency, functionality, and reliability. The upgrade is available only as a factory upgrade. The factory upgrade consists of an adding one of three possible Adapter Card Modules (ACM) and possible firmware or hardware modifications. Due to the complexity of the ACM, field upgrades of IPX cards are not possible.
Connecting IPX front cards to their corresponding back cards on the IPX requires the use of a utility or local bus. On upgraded IPX cards (IGX cards), the local or utility bus is not necessary.
The following IPX cards can be adapted for use in the IGX:
The ATM Line Module A (ALM/A) provides an ATM UNI port that allows devices such as routers or ATM switches to support VPCs and VCCs across the IGX. The ALM/A operates as a cell relay interface that supports basic connectivity to IGX interfaces or BPX ASI interfaces through a Cisco Stratacom network. The ALM/A supports ATM connections that terminate at either ATM or frame relay endpoints. With the processing that the IGX provides, cells can cross either an ATM trunk or a FastPacket trunk. This ALM/A description covers the following topics:
Using the addcon command, you can add connections between the following endpoints
Figure 4-1 shows an example of a network using ALMs. The network contains connections from an ALM/A to another ALM/A, a UFM, and an ASI. The dashed lines show virtual connections. The solid lines between the trunk cards and the ATM cloud are trunks.
Figure 4-2 shows the ALM/A faceplate.


A general list of ALM/A characteristics follows. (Subsequent sections have more particular information on interworking, traffic management, and back cards.
The ALM/A supports CBR, VBR, ABR, ATFR, ATFT, and ATFX connection types. Thus, the card supports ATM, cell forwarding, and both network and service interworking connections. Table 4-4 shows the card combinations and connections types. The Cisco StrataCom IGX Installation describes where and when to specify the connection type. For more information on the interworking connections, see the System Manual and the addcon description for frame relay and ATM connections in the Cisco StrataCom Command Reference.
| Far Endpoint Card | Possible Connection Types on the ALM-A |
|---|---|
| ALM/A | VBR, CBR, ABR, ATFR, ATFT, ATFX |
| UFM | ATFR, ATFT, ATFX |
| FRM | ATFR |
| ASI | VCCs only: VBR, CBR, ABR, ATFT, ATFR |
The ALM/A uses per-VC queue thresholds and credit-based servicing to control the ingress flow of data to the network and guarantee card resources for each connection.
Using addcon for an ATM or cell-forwarding connection, you specify the VC queue depth and the rate for the connection. If you do not specify a queue depth, the system calculates the queue depth for the connection based on the cell rate. The connection rate determines the service credits. If 80% of the VC queue depth is exceeded, cells with CLP=1 are discarded. If a connection's VC queue is full and the cell rate is exceeded long enough, cells are discarded from the affected queue. Therefore, if a high level of bursty traffic expected for given cell rate, specify a deeper queue for a connection.
For cell forwarding connections, you can explicitly assign VC queue depth for each connection. For ATFR connections, you can assign a VC queue depth by choosing or modifying a frame relay class and specifying the queue depth in bytes. Either way, you can over-subscribe the buffer pool on the card. Actually, buffers are dynamically assigned to VC queues as cells arrive and depart. In this scheme, no data is lost unless you over-subscribe and all buffers are occupied. If you do not specify VC queue depth when adding a connection, switch software assigns a percentage of buffers equal to the connection's cell rate divided by the total ALM/A bandwidth. With this approach, over-subscription is not a problem.
The ALM/A has the following operational parameters:
The ALM/A T3 and E3 back cards are the BC-UAI-1T3 and BC-UAI-1E3, respectively. Each back card has two BNC connectors and six LED indicators. For the BC-UAI-1T3 faceplate items, refer to Figure 4-3 and Table 4-5 . For the BC-UAI-1E3 faceplate items, refer to Figure 4-4 and Table 4-6. As you read from the top-down, the items in the figure and table correlate to each other. For technical specifications on T3 and E3 lines, refer to the appendix titled "System Specifications."

| Connector/Indicator | Function |
|---|---|
| Transmit Jack | BNC connector for transmit data. |
| Receive Jack | BNC connector for receive data. |
| LOS light (red) | Loss of signal at the local end. |
| Red alarm light (red) | Loss of local T3 or E3 frame alignment or loss of cell alignment. |
| Yellow alarm light (yellow) | Loss of frame alignment at remote end or loss of cell alignment. |
| AIS light (green) | All ones on the line. |
| FAIL light (red) | An error was detected. (Resetting the card with resetcd f may clear it. If the LED comes on again, call Cisco Customer Engineering.) |
| ACTIVE light (green) | The card is in service and has active circuits. |

| Connector/Indicator | Function |
|---|---|
| Transmit Jack | BNC connector for transmit data. |
| Receive Jack | BNC connector for receive data. |
| LOS light (red) | Loss of signal at the local end. |
| Red alarm light (red) | Loss of local T3 or E3 frame alignment or loss of cell alignment. |
| Yellow alarm light (yellow) | Loss of frame alignment at remote end or loss of cell alignment. |
| AIS light (green) | All ones on the line. |
| FAIL light (red) | An error was detected. (Resetting the card with resetcd f may clear it. If the LED comes on again, call Cisco Customer Engineering.) |
| ACTIVE: light (green) | The card is in service and has active circuits. |
This section introduces the Universal Voice Module (UVM) and its related back cards. The topics covered in this section are as follows:
For setup instructions, see the Cisco StrataCom IGX Installation and the relevant commands in the Cisco StrataCom Command Reference (voice-specific commands are in the chapter titled "Voice Connections").
The UVM card set is a multi-purpose module capable of supporting E1 or T1 lines for carrying voice, data, or both types of traffic on a card. The types of voice coding that the UVM supports are:
For voice, a UVM can terminate connections to a:
For voice using PCM or ADPCM, the UVM can operate in either 24-channel mode (T1) or 30-channel mode (E1). If the compression is LDCELP, the UVM supports 16 channels but can pass the remaining DS0s on a T1 or E1 line to another UVM for processing. You assign the circuits on a UVM hop on a per-timeslot basis within a T1 or E1 frame.
The back cards for the UVM are the BC-UVI-2T1EC and BC-UVI-2E1EC. Each back card has two ports. You can use one port for communication with user-equipment and optionally use the other port for passing through unprocessed logical channels to another UVM. (See the forthcoming section titled "Channel Pass-Through .")
The features of the UVM are:
This section describes the operational parameters you can specify for the UVM card set. Table 4-7 is a list of the types of UVM operation. The sections that follow further describe the listed subjects.
The first two entries in Table 4-7 are the two types of 64-Kbps operation. The "p" indicates uncompressed PCM voice. The "t" indicates 64 Kbps clear channel data. The third entry is "v," which indicates VAD. The table then shows voice and data modes, transmit/receive rates, and indications of compression and ZCS (zero code suppression).
A "c" or an "a" preceding a numerical value indicates compression. A "c" indicates compression with voice activity detection (VAD), so "c" does not apply to data connections. An "a" indicates compression without VAD. The "a" can apply to either voice or data. The numerical value following the "a" or "c" is the bit rate. Table 4-7 also explains the significance of the other characters that may follow the bit rate.
Standard-rate (64 Kbps) voice connections terminate on CVM or UVM T1 or E1 lines. (The CVM can terminate a connection from a UVM only if the connection does not use LDCELP.) You can configure the voice compression, and echo cancelling for each channel, and-when circumstances make it appropriate-A-law or m-law encoding. You can select voice frequency compression of 64 Kbps (no compression), 32 Kbps (2:1), 24 Kbps (3:1), or 16 Kbps (4:1). Except for the initial version of LDCELP with VAD, the compression ratios approximately double when you also enable the internal VAD. The increase of compression by VAD for LDCELP is not yet specified.
| p | A p-connection carries 64 Kbps PCM voice and supports A-law or m-law encoding and conversion, gain adjustment, and signaling. |
| t | A t-connection carries 64 Kbps clear channel data traffic. |
| v | A v-connection carries compressed voice. |
| a32 a24 | Specifies ADPCM only. You can specify 32-Kbps or 24-Kbps. This type of connection also supports modems. |
| c32 c24 | Specifies both ADPCM and VAD. You can specify 32-Kbps or 24-Kbps. |
| l16 | LDCELP compression of voice to 16 Kbps. This type of connection also supports modems or FAX. |
| l16v | LDCELP compression of voice to 16 Kbps with VAD. |
The particular voice features are:
In addition to the preceding, the UVM can set, invert, and clear AB or ABAB bits (T1) or ABCD bits (E1) to accommodate some signaling conversions.
The UVM lets you specify echo cancellation. Echo cancellation is effective for 32 milliseconds for all voice, including ADPCM and LDCELP.
The UVM can support mixed connection types. For example, you can add 12 connections that use ADPCM and 6 that use LDCELP. Any combination is possible as long as the configuration does not exceed the capacity of the card. If the number and types of connections exceeds the capacity of the UVM, a second UVM is necessary to take the excessive channels. The name of this approach is pass-through. In this scheme, a primary UVM connects through a cable to a secondary UVM. The primary passes the unprocessed channels to the secondary UVM. The primary application of pass-through is to LDCELP.
The maximum number of channels that can carry LDCELP data is 16, so not all possible channels on a T1 or E1 line are supported if all channels are using LDCELP. To support the other channels, the UVM can pass-through the remaining channels to a second UVM. Pass-through, for example, lets a PBX with a T1 or E1 trunk use all of its T1 or E1 bandwidth when the specified compression is LDCELP. In addition to the secondary UVM, you must have an additional cable to connect the two back cards. The command for specifying pass-through is cnflnpass. For a description of how to set up pass-through, refer to the Cisco StrataCom IGX Installation.
Once you have added the channels with LDCELP to the primary UVM, switch software does not allow you to duplicate the channel numbers. For example, if you add 16 channels with LDCELP to a primary UVM in slot 7 (7.1.1-16) and the secondary UVM resides in slot 8, the system prevents you from adding 8.1.1-8. Instead, you would add 8.1.17-24.
Figure 4-5 shows possible arrangements of UVMs with T1 lines. Figure 4-6 shows possible arrangements for E1 Lines. In Figure 4-5, Example A shows UVM 1 set to pass unsupported channels to UVM 2. Example B shows no pass-through, so the UVM is supporting a number of channels (of any combination) that does not exceed its capacity. Example C shows the possibility of two T1 lines to be fully supported on three UVMs (with all channels using LDCELP). In Figure 4-6, Example A shows no pass-through, and Example B shows the pass-though configuration.


A UVM can provide data connections to the network. Data connections that originate on a UVM can terminate on a CVM or a UVM. The only category of data connection the UVM supports is a standard 64-Kbps connection.
The UVM extracts information from the signaling bits in the E1 or T1 frame. When a signaling bit changes state, the UVM generates signaling packets to the card at the other end of the connection. DPNSS and ISDN signaling are supported through a clear channel (transparent mode). The supported combinations of signaling and line configurations are as follows:
Use the cnfcln command to configure the signaling and dsplncnf to see the configured signaling.
Up to 23 voice interface types, such as 2-W E&M, FXO/FXS, or DPO/DPS, can be selected from a template to condition the VF signaling. You can also specify customized signal conditioning. Voice channel signaling is programmable for any of the following:
The UVM card set monitors and reports statistics on the following input line conditions:
You can set up local and remote loopbacks to check UVM-terminated connections. A local loopback functions at the system bus interface. It returns data and supervision back to the local facility to test the local UVM card set and the customer connection. Remote loopbacks extend to the UVM card at the other end and check both transmission directions and much of the far-end UVM.
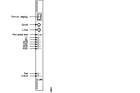
Table 4-8 and Figure 4-7 describe the front card faceplate.
| ACTIVE (green) | Indicates card is active. |
| FAIL (red) | Indicates self-test has detected a card failure on the main. |
| MAJOR (red) | A line failure has been detected on the receive (local) side. |
| MINOR (yellow) | A line failure has been detected at the remote end. |

The BC-UVI-2T1EC back card provides a T1 line interface for a UVM card. The BC-UVI-2T1EC plugs into the P2 connector on the UVM front card. The card set can reside in any non-reserved slot. The BC-UVI-2T1EC provides the following features:
B8ZS supports clear channel operation because B8ZS eliminates the possibility of a long string of 0s. B8ZS is preferable whenever available, especially on trunks.
The BC-T1 supports two clock modes. The clock modes are normal clocking and loop timing. You select the mode through software control. With normal clocking, the node uses the receive clock from the network for the incoming data and supplies the transmit clock for outgoing data. The node can use the receive clock to synchronize itself with the network.
With loop timing, the node uses the receive clock from the T1 line for the incoming data and redirects this receive clock to time the transmit data.
Figure 4-8 and Table 4-9 provide information on the faceplate of the BC-UVI-2T1EC. When you correlate the descriptions in the table with the callouts in the figure, read from the top of the table to the bottom. The standard port connector is a female DB15.

| Connector/Indicator | Function |
|---|---|
| Transmit/Receive (2) | Two, bi-directional DB 15 connectors--one for each port. |
| Port Status LED (2) | Tri-color LED, 1 per port. Green=active port. Yellow=remote alarm. Red=local alarm. |
| FAIL LED (red) | Error detected. Reset card with resetcd f. If LED comes on again, call Customer Engineering. |
| ACTIVE LED (green) | The card is in service and has active circuits. |
The BC-UVI-2E1EC back card provides an E1 circuit line interface for a CVM card. The BC-UVI-2E1EC plugs into the P2 connector on the CVM front card. The card set can reside in any non-reserved slot. The BC-UVI-2E1EC provides the following features:
The BC-UVI-2E1EC supports two clock modes. The clock modes are normal clocking and loop timing. You select the mode through software control. With normal clocking, the node uses the receive clock from the network for the incoming data and supplies the transmit clock for outgoing data. The node can use the receive clock to synchronize itself with the network.
With loop timing, the node uses the receive clock from the network for the incoming data and redirects this receive clock to time the transmit data.
Statistics are kept on most line errors and fault conditions, including the following:
Figure 4-9 shows and Table 4-10 lists status LEDs and connections on the BC-UVI-2E1EC faceplate. When you correlate the table and figure items, read from the top to the bottom.

Connector/Indicator | Function |
|---|---|
| Transmit/Receive DB 15 (2) | Two, bi-directional DB 15 connectors--one for each port. |
| Transmit/Receive BNC (4) | Two pairs of BNC connectors--one receive connector and one transmit connector for each port. |
| Port Status LED (2) | Tri-color LED, 1 per port. Green=active port. Yellow=remote alarm. Red=local alarm. |
| FAIL LED (red) | Error detected. Reset card with resetcd f. If LED comes on again, call Customer Engineering. |
| ACTIVE LED (green) | The card is in service and has active circuits. |
| RMFRA/YMFYA | Two-color LED: Red (RMFRA) indicates local loss of multiframe alignment. Yellow (YMFYA) indicates loss of multiframe alignment at remote end. |
This section introduces the Channelized Voice Module (CVM) and its related back cards. The topics covered in this section are as follows:
For setup instructions, see the Cisco StrataCom IGX Installation and the relevant commands in the Cisco StrataCom Command Reference (voice-specific commands are in the chapter titled "Voice Connections").
Introduction to the CVM
The CVM is a multi-purpose front card. A CVM circuit line can carry the following types of traffic:
The default mode for a channel on a CVM is voice. In addition to other CVMs, a CVM can communicate with a CDP in an IPX or one of the ports on a UVM. Figure 4-10 illustrates different traffic configurations. You can use the CVM in either 24-channel mode (T1) or 30-channel mode (E1). You assign the circuits on a CVM hop on a per-timeslot basis within a T1 or E1 frame.
The CVM cards can reside in any non-reserved slot in an IGX. The front card operates with either a BC-T1, BC-E1, or BC-J1 back card. For details on back cards, see the forthcoming sections titled "T1 Interface Back Card (BC-T1) ," "E1 Interface Back Card (BC-E1)," or "BC-J1 Description ."

The following is a list of CVM features.
This section describes the operational parameters you can specify for the CVM card set. Table 4-11 is a list of the types of CVM operation. The sections that follow further describe the listed subjects.
The first two entries in Table 4-11 are the two types of 64-Kbps operation. The "p" indicates uncompressed PCM voice. The "t" indicates 64 Kbps clear channel data. The table then shows voice and data modes, transmit/receive rates, and indications of compression and ZCS (zero code suppression). A "c" or an "a" preceding a numerical value indicates compression. A "c" indicates compression with voice activity detection (VAD), so "c" does not apply to data connections. An "a" indicates compression without VAD. The "a" can apply to either voice or data. The numerical value following the "a" or "c" is the bit rate. Table 4-11 also explains the significance of the other characters that may follow the bit rate.
Standard-rate (64 Kbps) voice connections terminate on CVM or UVM T1 or E1 lines. (The CVM can terminate a connection from a UVM only if the connection does not use LDCELP.) You can configure the voice compression, and echo cancelling for each channel, and-when circumstances make it appropriate-A-law or m-law encoding. You can select voice frequency compression of 64 Kbps (no compression), 32 Kbps (2:1), 24 Kbps (3:1), or 16 Kbps (4:1). The compression ratios approximately double when you also enable the internal VAD.
The particular voice features are:
In addition to the preceding, the CVM can set, invert, and clear AB or ABAB bits (T1) or ABCD bits (E1) to accommodate some signaling conversions.
A CVM can provide data connections to the network. Data connections that originate on a CVM can terminate on either a CVM, UVM, HDM, LDM, CDP (on IPX), SDP (IPX), or LDP (IPX) card set.
Two categories of data connections exist on the CVM. The categories are super-rate and subrate. A super-rate connection is an aggregate of channels that functions as a single, logical connection. A super-rate connection can consist of any combination of 56 or 64 Kbps-connections up to a maximum of 8 connections totalling 512 Kbps. The DS0 timeslots must be contiguous or alternating (not random). All 56-Kbps data channels are bit-stuffed up to 64 Kbps on a circuit line. The CVM removes the bits prior to packetization. Note that super-rate connections carry no supervisory bits.
A subrate data connection has a rate less than 64 Kbps and exists within a DS0. Supported rates are 2.4, 4.8, 9.6, and 56 Kbps. The type of subrate data connection that StrataCom equipment supports is DS0A.
In-band DS0A link codes are translated into EIA control lead states for CVM-to-HDM or LDM connections, but fast EIA, DFM, and isochronous clocking are not available.
The CVM extracts information from the signaling bits in the E1 or T1 frame. When a signaling bit changes state, the CVM generates signaling packets to the CVM at the other end of the connection. DPNSS and ISDN signaling are supported through a clear channel (transparent mode). The supported combinations of signaling and line configurations are as follows:
Up to 23 voice interface types, such as 2-W E&M, FXO/FXS, or DPO/DPS, can be selected from a template to condition the VF signaling. You can also specify customized signal conditioning. Voice channel signaling is programmable for any of the following:
The CVM card set monitors and reports statistics on the following input line conditions:
You can set up local and remote loopbacks to check CVM-terminated connections. A local loopback functions at the system bus interface. It returns data and supervision back to the local facility to test the local CVM card set and the customer connection. Remote loopbacks extend to the CVM card at the other end and check both transmission directions and much of the far-end CVM.
The CVM faceplate has four LED indicators: ACTIVE, FAIL, MAJOR, and MINOR (see Table 4-12). The label on the faceplate also shows the type of CVM card.
| ACTIVE (green) | Indicates card is active. |
| FAIL (red) | Indicates self-test has detected a card failure in the main card or optional integrated echo canceller board. |
| MAJOR (red) | A line failure has been detected on the receive (local) side. |
| MINOR (yellow) | A line failure has been detected at the remote end. |
| CVM | A label indicating standard CVM |
| CVM ADPCM T1 | A label indicating T1 with echo cancelling circuitry |
| CVM ADPCM E1 | A label indicating E1 with echo cancelling circuitry |
The BC-T1 back card provides a T1 line interface for a CVM card. The BC-T1 plugs into the P2 connector on the CVM front card. The card set can reside in any non-reserved slot. The BC-T1 provides the following features:
B8ZS supports clear channel operation because B8ZS eliminates the possibility of a long string of 0s. B8ZS is preferable whenever available, especially on trunks.
The BC-T1 supports two clock modes. The clock modes are normal clocking and loop timing. You select the mode through software control. With normal clocking, the node uses the receive clock from the network for the incoming data and supplies the transmit clock for outgoing data. The node can use the receive clock to synchronize itself with the network.
With loop timing, the node uses the receive clock from the network for the incoming data and redirects this receive clock to time the transmit data.
Figure 4-11 and Table 4-13 provide information on the faceplate of the BC-T1. When you correlate the descriptions in the table with the callouts in the figure, read from the top of the table to the bottom. The standard port connector is a female DB15.

| Connector/Indicator | Function |
|---|---|
| T1 INPUT/OUTPUT | Female DB15 connector for T1 line. |
| LOS light (red) | Indicates loss of signal at the local end. |
| Red alarm light (red) | Indicates loss of local E1 frame alignment, or it indicates loss of packet alignment on the CVM. |
| Yellow alarm light (yellow) | Loss of frame alignment at remote end or loss of packet alignment (CVM). |
| AIS light (green) | Indicates the presence of all ones on the line. |
| FAIL light (red) | Indicates an error occurred. Reset the card with the resetcd f command. If the LED comes on again, call Cisco Customer Engineering. |
| ACTIVE: light (green) | Indicates the card is in service with active circuits. |
The BC-E1 back card provides an E1 circuit line interface for a CVM card. The BC-E1 back card plugs into the P2 connector on the CVM front card. The card set can reside in any non-reserved slot. The BC-E1 provides the following features:
The BC-E1 supports two clock modes. The clock modes are normal clocking and loop timing. You select the mode through software control. With normal clocking, the node uses the receive clock from the network for the incoming data and supplies the transmit clock for outgoing data. The node can use the receive clock to synchronize itself with the network.
With loop timing, the node uses the receive clock from the network for the incoming data and redirects this receive clock to time the transmit data.
Statistics are kept on most line errors and fault conditions, including the following:
Figure 4-12 shows and Table 4-14 lists status LEDs and connections on the BC-E1 faceplate. When you correlate the table and figure items, read from the top to the bottom.

Connector/Indicator | Function |
|---|---|
| RX-TX | Female DB15 connector for XMT and RCV E1. |
| RX | BNC connector for receive E1 line. |
| TX | BNC connector for transmit E1 line. |
| LOS light (red) | Indicates loss of signal at the local end. |
| Red alarm light (red) | Indicates loss of local E1 frame alignment. On a CVM, Red alarm indicates loss of packet alignment. |
| Yellow alarm light (yellow) | Indicates loss of frame alignment at remote end. On a CVM, Yellow alarm indicates loss of packet alignment. |
| AIS light (green) | Indicates the presence of all ones on the line. |
| MFRA (red) | Indicates loss of multiframe alignment. |
| MFRY (yellow) | Indicates loss of multiframe at remote end. |
| FAIL light (red) | Indicates an error occurred. Reset the card with resetcd f. If the LED comes on again, contact the WANBU TRT through Customer Engineering. |
| ACTIVE: light (green) | Indicates the card is in service with active circuits. |
The BC-J1 back card provides a Japanese J1 circuit line interface for a CVM card. The BC-J1 back card plugs into the P2 connector on the CVM front card. The card set can reside in any non-reserved slot. The BC-J1 provides the following features:
The BC-J1 supports two clock modes. The modes are normal clocking and loop timing. You select the mode through software control. With normal clocking, the node uses the receive clock from the network for the incoming data and supplies the transmit clock for outgoing data. The node can use the receive clock to synchronize itself with the network. With loop timing, the node uses the receive clock from the network for incoming data and redirects the receive clock to time the transmit data.
Figure 4-13 shows a BC-J1 faceplate. Table 4-15 lists BC-J1 connections and status LEDs.

| RX-TX | Female DB15 connector for XMT and RCV J1. |
| Line in | J1 trunk input line |
| Line out | J1 trunk output line |
| RX MON | BNC test connector for monitoring receive J1 line. |
| TX MON | BNC test connector for monitoring transmit J1 line. |
| LOS light (red) | Indicates loss of signal at the local end. |
| Red alarm light (red) | Indicates loss of local frame alignment. |
| Yellow alarm light (yellow) | Indicates loss of frame alignment at the remote end. |
| AIS light (green) | Indicates the presence of all ones on the line. |
| MFRA light (red) | Indicates loss of multiframe alignment |
| MFYA light (yellow) | Indicates loss of multiframe at the remote end |
| FAIL light (red) | Indicates an error occurred. (First, reset the card with resetcd f. If the LED comes on again, call Cisco Customer Engineering. |
| ACTIVE light (green) | Indicates the card is in service and that circuits are active. |
This section applies only to CVMs (and CDPs in the IPX) that have Rev. C firmware. Rev. C provides a service called Time Division Multiplexing Transport (TDM Transport). TDM Transport bundles DS0s to form a single, transparent connection through the network. TDM Transport is most valuable for transporting TDM data from trunks in older, non-StrataCom WANs. For setup instructions, see the Cisco StrataCom IGX Installation and the relevant commands in the Cisco StrataCom Command Reference.
The Rev. C firmware features are as follows:
The limitations on TDM Transport within Rev. C firmware are as follows:
To achieve full T1 and E1 rates on a single CVM or CDP, TDM Transport supports inverse multiplexing. Figure 4-14 shows a simple example. In this example, the three, bundled 512-Kbps data connections symbolized by the arrows add up to a T1 connection.

This section describes the frame relay service cards. The frame relay cards consist of the UFM (Universal Frame Module) family of front and back cards and the FRM (Frame Relay Module) family of front and back cards. The first part of this section contains information that applies to both the UFM and FRM card sets. Subsequent sections contain information that is particular to individual front and back cards. The frame relay and individual card topics are:
See Cisco StrataCom IGX Installation for installation steps. For technical details on the line types of individual back cards, see the appendix titled "System Specifications." For a description of frame relay on a FastPAD, see the section titled "FastPAD Trunk Module (FTM)" later in this chapter.
This section lists information that applies to frame relay service. The first list describes functions at the node-level and the network interface. The second list contains card-specific information.
An IGX frame relay network features the following:
The FRM and UFM front cards perform the following functions:
The card places frame relay data into FastPackets. Frame relay flag bytes and bit-stuffing provide frame delimiting and transparency. If a user-data byte has a value of hexadecimal 7E, the card changes it by inserting 0s, so that the card does not process the byte as a flag. (The frame relay card uses flag bytes to fill partial FastPackets.)
For any frame relay card set that has a maximum frame length of 4510 bytes, the type of signalling protocol you may (optionally) specify with cnffrport results in a limit on the number of connections per physical or logical port. The maximum number of connections per port for each protocol is:
Neither addcon nor cnffrport prevents you from adding more than the maximum number of connections on a port. (You might, for example, use cnffrport to specify an LMI for a port when more connections than the applicable maximum listed above already exist.) If the number of connections is exceeded for a particular LMI, the LMI does not work on the port, the full status messages that result are discarded, and LMI timeouts occur on the port. A port failure results and also subsequently leads to a-bit failures in other segments of the connection path.
On an IGX, frame relay over a T1 or E1 line requires one of the following combinations:
A frame relay T1/E1 connection can terminate on any Frame Relay Interface--V.35, X.21, T1 or E1.
Frame relay over a T1 or E1 interface supports groups of DS0 timeslots in a logical port. A logical port is a single DS0 or a group of contiguous DS0s. Logical ports consisting of multiple DS0s operate at the full rate of 64 Kbps per timeslot. If a logical port consists of a single DS0, you can configure either 56 Kbps or 64 Kbps. See Figure 4-15.
If the rate on a logical port is 56 Kbps, the frame relay interface strips the least significant (signaling) bit from the incoming octet and puts a 1 in the least significant bit of the outgoing octet. The 56-Kbps rate typically applies to a groomed DDS circuit that uses a T1/E1 line.

Frame relay card redundancy can be provided through a second card set in adjacent slots and a Y-cable between each port that connects to the user-equipment. See Figure 4-16 for an illustration. The hardware kits for this feature contain a second frame relay card set, a set of Y-cables to interconnect the two card sets, and any other pieces that apply to the card types. Y-cable redundancy is not possible using back cards with different interfaces, such as an FRI T1 and FRI V.35.

The Universal Frame Module (UFM) cards exist as channelized and unchannelized versions. They support a much higher port density than the FRM cards and support ELMI and frame relay-to-ATM service interworking. The channelized front card (UFM-4C or UFM-8C) can support frame relay traffic on a maximum of 4 or 8 T1 or E1 ports on a back card. The unchannelized front card (UFM-U) can support frame relay traffic on 12 V.35 ports, 12 X.21 ports, or 4 HSSI ports on a back card.
The next sections describe the UFM-C card sets. Subsequent sections describe the UFM-U card sets.
The channelized Universal Frame Model (UFM-C) supports either 4 or 8 T1 or E1 ports per back card. The UFM-4C supports 4 ports regardless of the presence of the 8 connectors on the UFI back card. The UFM-8C supports all 8 ports. Both models of the UFM-C support 1 to 24 or 1 to 31 DS0s per physical line.
The UFM-C can also operate unchannelized for E1 only, with 32 DS0s constituting one unchannelized E1. In the unchannelized mode, one logical E1 port maps to one E1 line.
Table 4-16 lists the front and back cards described in this and subsequent sections.
| UFM-4C UFM-8C | UFI-8T1-DB15 UFI-8E1-DB15 UFI-8E1-BNC |
The characteristics and functions of the UFM-C are as follows:
Figure 4-17 shows a UFM-C faceplate. If the label on the faceplate shows "UFM C," the front card is a UFM-8C, which most UFMs are. The UFM-4C label shows "UFM-4C."

| ACTIVE (green) | On indicates card is active. |
| FAIL (red) | On indicates self-test has detected a card failure. |
| MAJOR (red) | A line failure has been locally detected on one or more of the receive ports. |
| MINOR (yellow) | A line failure has been detected at the remote end on one or more of the receive ports. |
The Universal Frame Interface 8T1 (UFI-8T1-DB15) back card has 8, bi-directional, DB15 connectors. See Figure 4-18. For each port, one tri-color LED displays the status, as the emphasized area of Figure 4-18 shows. The line is inactive if the LED is off. See Table 4-18 .

| Green | On indicates line is active. |
| Red | On indicates line is active but a local alarm was detected. |
| Yellow | On indicates line is active but a remote alarm was detected. |
Universal Frame Interface 8E1 cards have connectors for 8 E1 ports. The UFI-8E1-DB15 has 8 bi-directional DB15 connectors. The UFI-8E1-BNC has 16 BNC connectors (2 per port). See Figure 4-19. Each port has a tri-color LED for status display. See Table 4-19 . The line is inactive if the LED is off.
| Green | On indicates line is active. |
| Red | On indicates line is active but a local alarm was detected. |
| Yellow | On indicates line is active but a remote alarm was detected. |

This section contains the following:
For a description of StrataCom's frame relay technology, see the Cisco StrataCom System Overview.
The back cards that provide line interfaces to the UFM-U are the:
The features and operational characteristics of the unchannelized UFM card sets are as follows:
The aggregate throughput you can configure across all ports is 24.576 Mbps. The 24.576 Mbps is the maximum line speed and is the over-subscription ceiling. The actual data throughput of the card depends on the hardware and the frame size. As the frame size decreases, the throughput decreases. With a frame size of 200 bytes of more, for example, the sustainable throughput is 16.384 Mbps. With 100-byte frames, data may be dropped if the rate is 16.384 Mbps for a significant period of time.
Figure 4-20 shows the faceplate of the UFM-U. Table 4-20 describes its LED indicators. The first two columns of Table 4-20 shows the names of the LEDs and possible combinations of on and off states. The "Description" column describes the meaning of the LED states.

| Description | ||
|---|---|---|
Major LED | Minor LED | The Major and Minor LEDs are unused on the UFM-U. |
|
|
|
Active LED | Fail LED |
|
Unlit | Unlit | Card power is off. |
Unlit | Red | Card power is on, but no activation has been received; or an activation message has been received, but the card failed. |
Green | Red | A background diagnostic has failed. |
Green | Unlit | The card is active, and no failures have been detected. |
This section describes how to specify active ports and the maximum speed allowed on each active port. Specifying the maximum speed for active ports requires careful planning, and this section provides the information for understanding and planning the port specification.
The hardware does not permit random combinations of speeds across the ports. Speeds are constrained to certain combinations of maximum rates and ports. The combination of maximum speeds and active port number is called the mode of the card. Table 4-21 shows the maximum bit rate on each port for the modes and additionally groups the ports under a letter. If you need to change the mode of a card after connections have been added, you must consider these port groups. The forthcoming section titled "Changing the Mode of a UFM-U " describes the application of port groups.
In the port column of Table 4-21, the numeric value is the maximum bit rate for that port. You specify the actual bit rate for a port with either the cnfport or cnffrport command. In Table 4-21:
| V.35 and X.21 Ports | HSSI Ports | ||||
|---|---|---|---|---|---|
| Group A | Group B | Group C | A | B | |
| Mode | 1 2 3 4 | 5 6 7 8 | 9 10 11 12 | 1 2 | 3 4 |
| 1 | 3 3 3 3 | 3 3 3 3 | 3 3 3 3 | 8 8 | 8 8 |
| 2 | 8 - 8 - | 8 - 8 - | 8 - 8 - | 16 - | 16 - |
| 3 | 10 - - - | 10 - - - | 10 - - - | 16 - | - - |
| 4 | 8 - 8 - | 3 3 3 3 | 3 3 3 3 |
|
|
| 5 | 10 - - - | 3 3 3 3 | 3 3 3 3 |
|
|
6 | 8 - 8 - | 8 - 8 - | 3 3 3 3 |
|
|
7 | 10 - - - | 8 - 8 - | 3 3 3 3 |
|
|
8 | 10 - - - | 10 - - - | 3 3 3 3 |
|
|
9 | 10 - - - | 8 - 8 - | 8 - 8 - |
|
|
10 | 10 - - - | 10 - - - | 8 - 8 - |
|
|
11 | 3 3 3 3 | 8 - 8 - | 3 3 3 3 |
|
|
12 | 3 3 3 3 | 3 3 3 3 | 8 - 8 - |
|
|
13 | 3 3 3 3 | 10 - - - | 3 3 3 3 |
|
|
14 | 3 3 3 3 | 3 3 3 3 | 10 - - - |
|
|
15 | 8 - 8 - | 3 3 3 3 | 8 - 8 - |
|
|
16 | 3 3 3 3 | 8 - 8 - | 8 - 8 - |
|
|
17 | 8 - 8 - | 10 - - - | 3 3 3 3 |
|
|
18 | 8 - 8 - | 3 3 3 3 | 10 - - - |
|
|
19 | 3 3 3 3 | 8 - 8 - | 10 - - - |
|
|
20 | 3 3 3 3 | 10 - - - | 8 - 8 - |
|
|
21 | 10 - - - | 3 3 3 3 | 8 - 8 - |
|
|
22 | 10 - - - | 3 3 3 3 | 10 - - - |
|
|
23 | 3 3 3 3 | 10 - - - | 10 - - - |
|
|
24 | 8 - 8 - | 10 - - - | 8 - 8 - |
|
|
25 | 8 - 8 - | 8 - 8 - | 10 - - - |
|
|
26 | 10 - - - | 8 - 8 - | 10 - - - |
|
|
27 | 8 - 8 - | 10 - - - | 10 - - - |
|
|
Initially, an unchannelized UFM card set comes up in mode 1. To specify another mode, use either cnfmode or cnfufmumode. The preferable time to specify a mode is before you add connections. After connections exist on the card, you must delete some or all connections and down ports before you change the mode. To change the mode of a card set, you must first delete all the connections in a group and down all the active ports in a group if any maximum port speed changes in a group as a result of the mode change. This requirement means you may or may not have to delete connections in a particular group. Use Table 4-21 to follow two examples that illustrate what you must do before you change modes.
The steps for changing the mode of a UFM-U when connections exist on the card is as follows:
Step 1 Use the delcon command to remove all connections in any group where any maximum port speed changes because of the mode change.
Step 2 Use the dnport command to deactivate all ports in any group where any maximum port speed changes because of the mode change.
Step 3 Use the cnffrport command to configure new port speeds (at or below the new maximum resulting from the mode change).
Step 4 Use the cnfmode command to change the mode.
Step 5 Use the upport command to activate the inactive ports that are operational under the new mode.
Step 6 Use addcon to add connections as needed.
This section describes the standard cabling and the Y-cabling scheme for the unchannelized back cards. The back cards are the UFI-12V.35, UFI-12X.21, and UFI-4HSSI. Because of the port variety and because the cables are either DCE or DTE, a significant number of cable configurations exist. Table 4-22 shows cable names, part numbers, and descriptions.
The connectors on the UFI cards are high density. Each UFI-12V.35 and UFI-12X.21card has 6, 60-pin connectors. Each of these connectors has two ports. If your specification dictates that both ports on a connector are active, you must have a cable with wiring for two ports. If a part number in Table 4-22 has the form "CAB-2...," the cable has wiring for two ports. Note that if both ports on a connector are active, both ports must be either DCE or DTE because the cable itself is either DCE or DTE. If a connector has only one active port, the cable can be the less expensive, single-port version. A HSSI connector has 50 pins and supports one port.
| Card | Model Number | Part Number | PCB Connector | Destination Connector | Cable Description |
|---|---|---|---|---|---|
HSSI | CAB-HS1 | 72-1239-01 | 50-pin Male | 50-pin Male | HSSI Cable, UFI is DCE |
HSSI | CAB-HS1-DTE | 72-1265-01 | 50-pin, Male | 50-pin Male | HSSI Cable, UFI is DTE |
HSSI | CAB-Y-HS1 | 72-1366-01 | Two, 50-pin Male | 50-pin Male | HSSI Y-cable, 3 feet |
V.35 | CAB-V35MC | 72-0802-02 | DB60F | V.35 | V.35 Cable, DCE, Male, 10 ft. |
V.35 | CAB-V35MT | 72-0791-02 | DB60F | V.35 | V.35 Cable, DTE, Male, 10 ft. |
V.35 | CAB-V35FC | 72-0792-02 | DB60F | V.35 | V.35 Cable, DCE, Female, 10 ft. |
V.35 | CAB-V35FT | 72-0801-02 | DB60F | V.35 | V.35 Cable, DTE, Female, 10 ft. |
X.21 | CAB-X21MT | 72-0789-02 | DB60F | X.21 | X.21 Cable, DTE, Male, 10 ft. |
X.21 | CAB-X21FC | 72-0790-02 | DB60F | X.21 | X.21 Cable, DCE, Female, 10 ft. |
V.35 | CAB-2V35MT | 72-1354-01 | DB60 Male | Two V.35 | V.35 Cable, DTE, Male 10 feet |
V.35 | CAB-2V35FC | 72-1356-01 | DB60 Male | Two V.35 | V.35 Cable, DCE, Female 10 ft. |
V.35 & | CAB-Y-UFI | 72-1384-01 | 2xDB60 Male | DB60 Female | UFI-specific Y-cable |
X.21 | CAB-2X21MT | 72-1355-01 | DB60 Male | Two X.21 | X.21 Cable, DTE, Male, 10 ft. |
X.21 | CAB-2X21FC | 72-1357-01 | DB60 Male | Two X.21 | X.21 Cable, DCE, Female, 10 ft. |
Port redundancy through the use of a Y-cable requires two card sets, at least one Y-cable, and the standard cabling. On a UFI-4HSSI, Port 1 is the only port that supports Y-cable redundancy. On the V.35 and X.21 UFIs, redundancy at more than one connector requires a corresponding number of Y-cables and standard cables. The standard cables are either single-port for HSSI, V.35, or X.21 or dual-port for the X.21 and V.35 UFIs.
To set up the Y-cabling, you attach a branch of the "Y" at the primary and redundant connectors then attach the near end of the standard cable to the base of the "Y." Figure 4-21 illustrates single and dual-cabling in a Y-cable setup. The single-cable arrangement applies to HSSI, V.35, and X.21. The dual-port redundancy setup applies to a UFI-12X.21 or UFI-12V.35, where both ports within the UFI connector are used in a Y-cable redundancy scheme.

The UFI-12V.35 has six connectors. Each connector contains two V.35 ports. Each port has a tri-color LED to indicate its status. Because each connector supports two ports, each connector has two associated LEDs. Figure 4-22 shows the faceplate of the UFI-12V.35, and Table 4-23 describes the significance each color of the LED.
You can configure each port on the UFI-12V.35 to use normal clocking or a looped clocking, then configure the port to run at one of the following speeds:

| Green | Indicates line is active and functional. |
| Red | Indicates line is active but either has no cable or the wrong cable or is running over-speed. |
| Yellow | Indicates the line is active and in loopback mode. |
| Off | Indicates that either the port is inactive or has no power. |
The UFI-12X.21 has six connectors. Each connector contains two X.21 ports. Each port has a tri-color LED to indicate its status. Because each connector supports two ports, each connector has two associated LEDs. Figure 4-23 shows the faceplate of the UFI-12X.21, and Table 4-24 describes the significance each color of the LED.
You can configure each port on the UFI-12X.21 to use normal clocking or a looped clocking, then configure the port to run at one of the following speeds:

| Green | Indicates line is active and functional. |
| Red | Indicates line is active but either has no cable or the wrong cable or is running over-speed. |
| Yellow | Indicates the line is active and in loopback mode. |
| Off | Indicates that either the port is inactive or has no power. |
The UFI-4HSSI has four connectors. Each connector has a tri-color LED for status. Figure 4-24 shows the UFI-4HSSI faceplate, and Table 4-25 describes the significance each color of the LED.
Using cnffrport, you can configure each port with a speed that is a multiple of 1 Mbps up to the maximum for the mode of the card (see "The Modes of the Unchannelized Back Cards").

| Green | Indicates line is active and functional. |
| Red | Indicates line is active but either has no cable or the wrong cable or is running over-speed. |
| Yellow | Indicates the line is active and in loopback mode. |
| Off | Indicates that either the port is inactive or has no power. |
The Frame Relay Module (FRM) front card supports 1 to 4 data ports and, in single-port mode, operates at up to 2.048 Mbps.
| Front Card | Model | Back Card | Model |
| FRM Frame Relay Module, unchannelized | D | FRI-V.35
FRI-X.21 | B
A |
| FRM Frame Relay Module, channelized (with 31 channels) | E | FRI-T1 or FRI-E1 | A |
| FRM2 Frame Relay Module, Port Concentrator Shelf | F | FRI2-X.21 | A |
The FRM supports a maximum port speed of 2.048 Mbps plus the following features:
The FRM can support a maximum of 252 virtual circuits (PVCs). PVC distribution can cross all four ports if they do not exceed the 252 PVC limit and the limit of 2.048 Mbps per FRM.
Bundled and grouped connections are software groupings of multiple virtual circuits within a single routing connection. Grouping allows a node to support up to 1024 virtual circuits, which is the logical equivalent of four FRMs.
The Frame Relay Interface V.35 (FRI-V.35) is a four-port back card to the FRM card. Two models of the FRI-V.35 can support the FRM:
The FRI-V.35 has the following functions and features:

Table 4-27 shows the relationship between the number of ports used on the FRI and maximum operating speed for each port. Model A FRM and FRI cards are included for early users who may not have updated the cards. Note that the port numbers start at the top on the FRI faceplate.
A/A | £ 256 | £ 256 | £ 256 | £ 256 |
| 1024 | 0 | 0 | 0 | |
| B/A | £ 256 | £ 256 | £ 256 | £ 256 |
| £ 336 | £ 336 | £ 336 | 0 | |
| £ 512 | £ 512 | 0 | 0 | |
| 1024 | 0 | 0 | 0 | |
| C/A | £ 256 | £ 256 | £ 256 | £ 256 |
| £ 336 | £ 336 | £ 336 | 0 | |
| £ 512 | £ 512 | 0 | 0 | |
| 1024 | 0 | 0 | 0 | |
| C/B D/B | One port can operate at 2048 or 1920. Combinations of ports can add up to 2048 Kbps. If one port is 1920 or 2048, no other port can be active. | |||
Each frame relay logical channel has a number in the form:
where
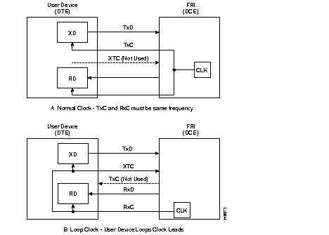
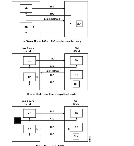
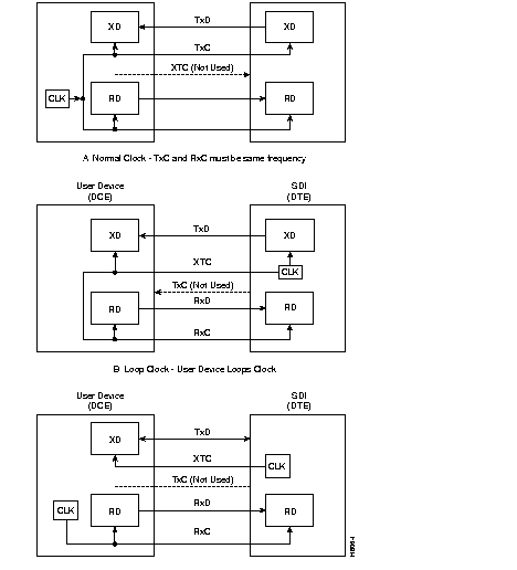
The two clocking modes that the FRI supports are normal and looped. Figure 4-26 illustrates the two modes. Note that the direction for the clock and data is reversed for the two FRI mode configurations (DCE or DTE), as follows:

Figure 4-27 illustrates the FRI-T1 and FRI-E1 back cards.

The IGX does not support port loopbacks (tstport and addextlp command) towards the IGX. In contrast, for V.35 and X.21 interfaces only, you can set up connection loopbacks towards the facility by using the addloclp and addrmtlp commands.
The firmware on the front card must match the type of interface on the back card. Rev D firmware on the FRM supports X.21 and V.35 protocols. Rev E firmware on the FRM supports T1 and E1 protocols. The Display Card (dspcd) command indicates the type of back card that the FRM firmware supports and reports any mismatch.
The FRI-X.21 back card provides an X.21 interface to the user equipment. The two model D FRI cards are the FRI-V.35 and FRI-X.21. They differ only in the physical connectors (see Table 4-28). The operating rates of each port and the composite data rate supported by the FRI-X.21 card is the same as the FRI-V.35. You can configure each port as either a DCE or a DTE. Another FRI card is the FRI-2-X.21. This is the back card that provides the interface between the Port Concentrator Shelf (PCS) and the FRM-2. See the section titled "FRM-2 Interface to the Port Concentrator Shelf ."
The FRI-X.21 uses leased line service for international networks. The V.35 version is for domestic (U.S.) use and also uses a leased line service for its connections. The FRI-X.21 back card features:
FRI configuration supports one to four ports. The configuration depends on the maximum speed requirement (the card itself has a maximum composite speed). Figure 4-28 shows the FRI faceplate. Table 4-29 lists the available port operating speeds.
Any one port can operate at 2048 Kbps. Any combination of ports can equal 2048 Kbps. If a port is operating at 2048 Kbps, it must be port 1, and no other port can be active. Numbering of the 4 DB15 connectors starts at the top of the faceplate. Table 4-30 lists the cable and pinouts for an X.21 port.
| FRI-X.21 | X.21 | 4-ports | DB15 Sub miniature, female |
| FRI-V.35 | V.35 | 4-ports | 34-pin MRAC type (Winchester), female |
| Any multiple of 56 Kbps | Up to 1.792 Mbps |
| Any multiple of 64 Kbps | Up to 2.048 Mbps |
| 1 | Gnd. | both | Protective (Shield) ground |
| 8 | Sig. Gnd. | both | Signal ground |
| 3/10 | C | both | Control |
| 5/12 | I | both | Indication |
| 2/9 | TxD | DTE | Transmit Data from DTE |
| 4/11 | RxD | DCE | Receive Data to DTE |
| 6/13 | S | DCE | Clock Out (DCE), Clock In (DTE) |

The FRI-X.21 supports only normal clock mode. The direction of the clock and data lines is reversed if the FRI is configured as a DCE or as a DTE as follows (see Figure 4-29):

The Y-cable redundancy kits for the FRI-X.21 and FRI-V.35 contain four extra daughter cards for specifying individual ports as either DCE or DTE. The extra daughter cards are 200-Ohm versions for the FRI already installed. The higher impedance cards are necessary because of circuit behavior at higher speeds when the two interfaces are in parallel (by way of the Y-cable).
As with all IGX cards, the FRI-X.21 includes internal diagnostic routines that periodically test the card's performance. These self-test diagnostics automatically start and run in background. They do not disrupt normal traffic. If a failure is detected during the self test, the faceplate red FAIL LED is turned on. The operator can also view the status at the control terminal by executing the Display Card (dspcd) command.
A report of a card failure remains until cleared. A card failure is cleared by the Reset Card (resetcd) command. The two types of reset that resetcd can do are hardware and failure. The failure reset clears the event log of any failure detected by the card self-test but does not disrupt operation of the card. A reset of the card firmware is done by specifying a hardware reset. This reboots the firmware and momentarily disables the card. If a redundant card is available, the hardware reset causes a switch over to the standby card.
The X.21 frame relay ports and any associated external modems, CSUs, or NTUs can be tested using data loopback points in the circuit path. The three possible loopbacks for X.21 frame relay ports are:
The modems must be compatible with the StrataCom loopback protocol. For information on supported modems and protocols, refer to the appendix titled "Peripherals Specifications" in the Cisco StrataCom IGX Installation. Also, refer to the Cisco StrataCom Command Reference for protocol requirements for the addextlp, addloclp, and addrmtlp commands. For information that applies to loopbacks on the FRM-2/FRI-2 and PCS, see the descriptions of these loopback commands in the Cisco StrataCom Command Reference. If these sources fail to clarify a particular situation, contact Cisco Customer Service.
All three loopbacks are set up using the tstport command. Only one port at a time can be in loopback mode for testing.
The internal loopback point is established inside the FRI card. Figure 4-30 illustrates the setup. The FRM generates a test pattern, sends it out on the transmit circuitry, and detects this pattern on the receive circuitry. This test takes several seconds and momentarily interrupts traffic on the port. The test runs on a port that is in either DCE or DTE mode.

For ports configured for DTE, the two additional tests (local loopback and remote loopback) are available. For these ports there are two methods of loopback testing:
FRI card replacement is the same as other back card replacement. For back card replacement procedures, refer to the Cisco StrataCom IGX Installation.
This section introduces the Port Concentrator Shelf (PCS) for frame relay traffic. The PCS is an external device that expands the capacity of a Frame Relay Module (FRM) to 44 low-speed ports. This ability to increase the port density of an IGX switch supports more efficient usage for the common switch equipment. The port parameters are as follows:
The PCS requires a version of the FRM/FRI card set that is exclusively dedicated to the PCS. The front card is the FRM-2. The back card that interfaces the FRM-2 to the PCS is the FRI-2-X.21. Figure 4-31 illustrates the relation ship between the FRM/FRI card set and the PCS. It provides one or more X.21 links. Each X.21 link is called a concentrated link. In a full configuration, each concentrated link services one of four 11-port modules in the PCS. This makes a total of 44 ports on the FRM-2.
For more detailed information on the PCS, refer to the section on the Port Concentrator Shelf in the System Manual. For detailed installation instructions, refer to the Port Concentrator Installation document that comes with each unit. Cabling information for the PCS appears in the cabling appendix and in the Port Concentrator Installation document.

The following terms are used to identify PCS components:
Other than front panel LEDs, the PCS has no user interface because the PCS functions as an extension of the FRM-2. PCS ports are operated and maintained from the IGX user interface.
The PCS operates within the IGX environment as a frame relay card with 44 ports. Existing frame relay commands (cnffrport, upfrport, dnfrport, addcon, delcon, etc.) are the same in syntax and function. The difference is that a range of 44 ports can be specified instead of 4. The configuration of each of the PCS logical ports is similar to that of non-PCS frame relay ports. A frame relay card connected to a PCS notifies the system database and permits the additional ports to be specified.
The PCS requires the following:
The concentrated link refers to the connection between port concentrator and frame relay card. Each module supporting 11 external ports is connected to 1 of the 4 ports on the FRI-2-X.21 back card.
Each of the four composite links between PCS and IGX has a fixed configuration of:
The PCS Concentrated Link cable is illustrated in the cabling appendix. Its maximum length is 25 feet. You cannot use a modem to extend this distance.
FRM-2 firmware interacts with the PCS over composite links only if the FRM-2 is active. The FRM-2 changes from standby to active state when its first logical port is activated.
A PCS logical port associated with an FRM-2 card is activated with the upfrport command. The upfrport command requires the slot number of the FRM-2 to which the PCS is connected. Enter the slot number and a logical port in the range of 1-44 (assuming a connection exists for all 4 composites between the PCS and IGX).
This example indicates that the FRM-2 in slot 4 and concentrated link 1 are connected.
Entering the upfrport command for one port activates all four ports. The following events are generated by successful activation of four concentrated links. The display is from the example "upfrport 4.1:"
A noticeable delay occurs after upfrport begins executing on the first port. During initial upfrport execution, the FRM-2 performs first-time configuration, diagnostic, and up/download functions.
If a concentrated link is not connected or fails to come up, the logical port remains in a failed state until either the link comes up or the port is deactivated with the dnfrport command.
The FRM-2 card set returns to the standby state after you de-activate all 44 logical ports by executing the dnfrport command.
When the frame relay ports are activated, the IGX recognizes them as PCS-connected ports. Subsequently, all applicable frame relay port management commands accept logical port numbers in the form slot.port. The range for port is 1 to 44. Table 4-31 shows the logical ports the PCS supports. In Table 4-31 , slot is the IGX slot in which the FRM-2 resides.
| PCS Ports |
|---|---|
| Composite L1 | slot.1--slot.11 |
| Composite L2 | slot.12--slot.22 |
| Composite L3 | slot.23--slot.33 |
| Composite L4 | slot.34--slot.44 |
The interface and clocking characteristics for each PCS port is independently configured to be V.11 (X.21), V.35, or V.28 by inserting the required interface card (or "ICARD") into the associated slot in the PCS. For detailed information on PCS hardware interfaces, refer to the Port Concentrator Installation document. This document comes in the PCS shipping container.
The IGX does not have the capacity to read the type of interface present for the PCS port. The values you enter under Interface Type with the cnffrport command appear in the display only and cannot be checked against the hardware.
You configure a PCS with the cnffrport command. With the following limitations, all parameters for the cnffrport command are supported:
All frame relay summary and interval statistics are kept for PCS ports. The PCS and FRM-2 share responsibility for statistics collection on PCS ports. The PCS maintain counters for:
All remaining statistics counters are collected by the FRM-2. Although the IGX supports ForeSight for PCS connections, CLLM (ForeSight) statistics are not available in Release 8.1. These fields are present but not valid.
Monitoring functions generally apply to the PCS except that you can specify up to 44 logical ports for a FRM-2 slot. For descriptions of the monitoring commands, refer to the "Troubleshooting" chapter of the Cisco StrataCom Command Reference. Note that commands dspchcnf, dspchstats, dspportstats, and dspbob fail when the required concentrated link is down. Trying to execute one of these commands on a concentrated link that is down causes an error message to appear.
The PCS measures the speed of receive data on logical ports if the port is configured as a DTE interface. To see the measured speed, use the dspbob command. The PCS measures port speed after any of the following occurs:
The process of measuring port speed sends out two 1-byte frames with no CRC on the port.
The IGX measures the physical port speed for FRI-2-X.21 ports once per minute. The current measured speed is displayed with the dspfrcport command and should always read 512 Kbps when the port is active.
LED Name | Function |
|---|---|
| State | OFF = No power. RED = power applied but software not running. GREEN = Operating software running. |
| Rx | Flashes for frames received on concentrated link.
With no activity on link, Link Rx blinks once per second. |
| Tx | Flashes for frames transmitted on concentrated link
With no activity on link, Link Tx blinks once per second. |
| CPU A | On solid when operating software on CPU A is running. Should always be On during operation. |
| CPU B | On solid when operating software on CPU B is running. Should always be On during operation. |
| Port 1 | On for module connected to FRM-2 Port 1. Should always be On for Module 1. |
| Port 2 | On for module connected to FRM-2 Port 2. Should always be On for Module 2. |
| Port 3 | On for module connected to FRM-2 Port 3. Should always be On for Module 3. |
| Port 4 | On for module connected to FRM-2 Port 4. Should always be On for Module 4. |
| Download | Flashes when frames are received during software download from FRM-2. |
If the FRM-2 or FRI-2.X21 card is removed for any reason, be sure to maintain card compatibility upon card replacement: the FRM-2 card is compatible with only the FRI-2-X.21 back card. The IGX declares a mismatch state for any other back card inserted into an active FRM-2 slot. Inserting compatible hardware is the only way to clear the mismatch. Similarly, once an IGX slot is active with an FRM-2, a mismatch is declared if any other front card is inserted into this slot. Before the slot can be used for any other type of card, the slot must be de-activated as a PCS-capable frame relay card.
The commands in the list that follows apply to PCS frame relay ports. Most commands have the syntax described in the Cisco StrataCom Command Reference with the exception that system software recognizes 44 ports per FRM-2 instead of 4. Some commands are PCS-specific.
| addcon | used to add frame relay connections. |
| addloclp | test command for creating local loopback. |
| addrmtlp | test command for creating remote loopback. |
| cnfcondsc | configures frame relay connection description. |
| cnfchpri | configures frame relay channel priority. |
| cnfchutl | optimizes frame relay channel utilization. |
| cnffrcls | configures frame relay class of service (also cnfcos command for connection) |
| cnffrcon | configures frame relay connection parameters. |
| cnffrcport | configures the concentrated link between the FRM-2 cards and the PCS. |
| cnffrport | configures frame relay port parameters. |
| cnfpref | configures preferred route for frame relay connection. |
| clrchstats | clears PCS frame relay channel statistics. |
| clrfrcportstats | PCS-specific command for clearing FRI-2-X.21 physical port statistics. |
| clrportstats | clears PCS frame relay port statistics. |
| delcon | deletes a frame relay connection. |
| delcongrp | deletes a frame relay connection group. |
| dellp | deletes a frame relay loopback condition. |
| dncon | deactivates a frame relay connection. |
| dspchcnf | displays channel configuration. |
| dspchstats | displays PCS frame relay channel statistics. |
| dspfrcportstats | PCS-specific command to display FRI-2-X.21 physical port statistics. |
| dspfrcbob | PCS-specific command for displaying FRI-2-X.21 physical port signals. |
| dspfrport | displays PCS logical port. |
| dspfrcport | displays FRI-2-X.21 physical port. |
| dsppcs | PCS-specific command to display PCS unit information. |
| dspportstats | displays PCS frame relay port statistics. |
| dspcon | displays frame relay connections. |
| prtcons | prints frame relay connections. |
| prtchcnf | prints frame relay channel configuration. |
| tstcon | tests frame relay connection. |
| tstdelay | tests frame relay connection delay. |
| tstpc | PCS-specific command to test the PCS. |
| resetpc | PCS-specific command to reset the PCS. |
A PCS logical port failure is defined as a minor alarm. The FTC/FRP Port Comm Failure icon appears in the dspalms screen. Any connection that terminates on a failed port is also failed. Three causes of a port failure are defined, as described under Alarms and Events.
A failed connection on a PCS logical port is conditioned in the same manner as a failed connection on a non-PCS FRP port. Only the active control template is supported on PCS ports. The "conditioned" control template should not be used for PCS logical ports.
When it detects a Port Concentrator on one of its links, the FRM-2 checks for a compatible firmware revision on the Port Concentrator. If the FRM8-2 detects that the firmware on the Port Concentrator is incompatible, the FRM8-2 downloads the current firmware to the Port Concentrator. This download operation takes about two minutes. An event is logged when a firmware download has either started or failed.
Operating software on the Port Concentrator is stored in Flash memory. Download should be required only if the PCS is connected to an FRM-2 with newer firmware or a PCS module is replaced and a software version difference exists.
The FRM-2 card runs a self-test diagnostic when it is in the standby state. The system software uses a reserved channel on the FRM-2 card to perform background loopback tests that include both the FRM-2 and FRI-2-X.21. This test verifies that all components up to the FRI-2-X.21 physical port are functioning. These diagnostics do not test the PCS.
Information about PCS logical ports and frame relay connections is automatically reported to StrataView Plus, just as they are for FRP ports and connections.
Connection Management and other FRM-2 port functions may also be handled for PCS ports from StrataView Plus.
The SNMP agent supports Port Concentrator logical ports. This includes configuring PCS port parameters, adding, or deleting frame relay connections, and retrieving statistics.
The SNMP agent also supports provisioning for 44 frame relay ports for FRM-2; the existing MIB variables are extended to the expanded number of logical ports. SNMP management functions are not supported for the Port Concentrator concentrated links.
Interaction between the FRM-2 and PCS automatically updates the database to display the number of connected logical FRM-2 ports at the PCS. As a result, both the IGX user interface and the StrataView Plus interface automatically display the additional capacity of 44 ports for the FRM-2.
If, during normal operation, communication stops between FRM-2 and PCS over a concentrated link, a concentrated link failure alarm is generated.
In addition, during start-up, a concentrated link is failed for any of the following reasons:
The FastPAD Trunk Module (FTM) supports devices that provide access for various types of traffic to the IGX. Two lines of access devices are supported by the FTM. One series is the FastPAD family of products. The FastPADs support frame relay, voice, and serial data. The other series is the Cisco line of access devices.
An example of the Cisco line of access devices is the Cisco 3800 family of products. The Cisco access devices run the Cisco IOS (operating system) and have a control terminal separate from the node's control terminal. The access device itself uses IOS command, but once a control session has been established, you control the interface between the node and the access device by using StrataCom commands on the command line interface. For descriptions of the StrataCom commands that apply to the FTM and connections to the Cisco access devices, refer to the Cisco StrataCom Command Reference. Individual manuals also exit for the Cisco access devices. Currently, you can refer to the Cisco Access Products 3800 Series Installation Guide and the Cisco 3800 Series Software Configuration Guide and Command Reference.
For the Cisco access devices, you can add connections between the following endpoints.:
Note that, when you add connections between a 3800 on an FRM to a CDP or CVM, you must add the connections at the CDP or CVM. The FTM and FRP or FRM endpoints, you can add connections at either end. For more information on setting up connections between the Cisco 3800 access devices and an FTM, FRP/FRM, or CVM, refer to the Cisco StrataCom IGX Installation.
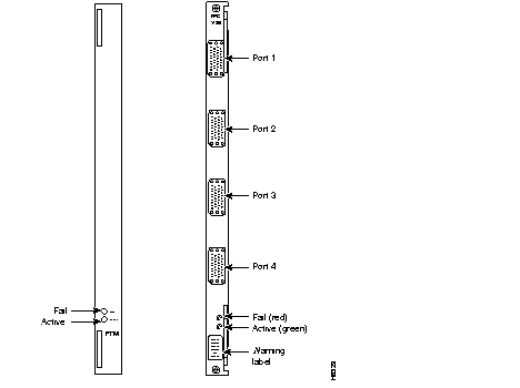
The interface cards for FastPADs are the FTM front card and FPC back card. The back card provides either a T1, E1, V.35, or X.21 interface. Each FPC V.35 or FPC X.21 provides four ports. Each port can support one FastPAD either locally or remotely (via modem). The T1 card has a DB15 for RX/TX and an alternate pair of RX/TX BNC connectors. The E1 connections are the same except for additional RX/TX-monitoring BNC connectors. Y-cable redundancy is also supported. Figure 4-32 shows the FTM front card and the FPC-V.35.
Commands you enter manage the FTM/FPC, the FastPAD, and their ports and connections. Statistics that relate to cards, ports, and the FastPAD are collected for StrataView Plus. Card management of the FTM/FPC includes detection of card installation or removal, mis-matched back cards, or Y-cable redundancy.

Port management includes EIA signaling, LMI alarms, upping and downing of ports and the collection of port statistics available to StrataView Plus.
FastPAD management permits the management of cards and ports on the FastPAD device from the IGX. This management includes card and card removal detection, card mismatch, uploads and downloads between the FastPAD and the IGX node.
Connection management involves mapping FastPAD connection to Frame Relay-type virtual circuits (VCs). Connections that originate at a FastPAD must terminate at another FastPAD. Each FTM/FPC card set supports up to 252 connections. The card set collects statistics on these connections and provides them to StrataView Plus.
For descriptions of the FastPAD commands and detailed information on the FastPAD, refer to the FastPAD User's Guide. Refer also to the StrataView FastPAD User's Guide.
A data circuit has a direct interface to the IGX through either a High-speed Data Module (HDM) or Low-speed Data Module (LDM) card set. The HDM set consists of an HDM front card and a Synchronous Data Interface (SDI) back card. The LDM set consists of an LDM front card and a Low-speed Data Interface (LDI) back card. The back cards match the circuit type to the front card. Synchronous data card sets are listed in Table 4-33. An IGX 32 node can have up to 25 HDM/LDM sets in a non-redundant system, for support of up to 200 full-duplex data connections.
The synchronous data cards support the ability to configure and monitor EIA leads; the ability to configure each channel for clocking, data rate, and DTE or DCE interface type; and complete loopback testing capability. Data channels can support null modem emulation as well as constant-carrier and switched-carrier operation. Data interfaces are transparent with respect to protocol. Asynchronous, binary synchronous, and bit synchronous protocols are supported with no impact on host or terminal software.
| HDM, High-speed Data Module | SDI, RS-449 synchronous data interface (for X.21 or RS-422). |
| SDI, V.35 synchronous data interface. | |
| SDI, RS-232D synchronous data interface. | |
| SDI, RS-232C synchronous data interface (for V.24). | |
| LDM, Low -speed Data Module | LDI, RS-232C (V.24) four-port and eight-port low-speed data interface, non-interleaved EIA. 4-port models limited to 56 Kbps., 8-port models up to 19.2 Kbps. |
| LDI, RS-232D four-port and 8-port, low-speed data interface, up to 19.2 Kbps., non-interleaved EIA. | |
| LDI4/DDS, four-port AT&T 56 Kbps. Digital Data Service interface. |
The HDM front card in an IGX is a programmable communications processor that can support one to four high speed, synchronous data channels. It operates at speeds from 1.2 Kbps up to 1344 Kbps on all four ports while performing link error monitoring.
The HDM front data card:
An internal baud rate generator provides transmit and receive data clocks to the SDI card at the selected rate. The HDM can accept data from an external data device with a non network synchronized clock (isochronous clock) up to 112 Kbps. With isochronous clocking, the HDM sends a clock control signal to the other end of the circuit to synchronize the far end HDM receive clock to the isochronous clock received at the near end.
Unless specified, a packet of data for EIA control lead information is built only at a very low rate or when a change of state is detected on one or more of the control leads. The data rate is specified as either "fast" or "not fast" (the default) by the addcon command for data connections. A fast EIA lead transmission can be specified in the software to send EIA control lead information in every FastPacket (interleaved EIA mode). This tightly couples the EIA lead states with the transmitted data but reduces the bandwidth efficiency.
The HDM card is installed in a front slot. An SDI back card plugs directly into the P2 connector of the front card. The SDI back card provides the proper data channel interface.
The faceplate of the HDM has message lights and buttons for loopback control and signal monitoring. The buttons relate to loopback testing or scrolling through the FastPacket data ports for a snapshot of selected data port conditions (indicated by PORT, PORT UNDER TEST, loopback, and communication line state lights). Figure 4-33 illustrates and Table 4-34 lists the controls and indicators. When correlating the figure to the table, read from the top down.

PORT light (yellow) | Indicates which data port on the back card is currently monitored. |
| SCROLL push-button | When pressed toggles through to the desired port. Information that is displayed by the remaining lights on the HDM faceplate applies to the port whose corresponding light is on. |
| LOOPBACK push-button | When pressed, toggles through the three loopback states--no loopback, local loopback, and remote loopback--on the port whose corresponding light is on. This button can be disabled by the cnffunc command. |
| PORT UNDER TEST light (yellow) | Indicates one of the ports has gone into loopback mode. If this is not the current port, press the SCROLL button to toggle in the port being tested. |
| LL light (yellow) | Indicates a local loopback is present on a port. |
| RL light (yellow) | Indicates a remote loopback is present on a port. |
| DTR light (green) | Indicates the Data Terminal Ready signal is ON at the selected port terminal. |
| TXD light (green) | Indicates that the Transmit Data signal is ON at the selected port terminal. |
| DCD light (green) | Indicates the Data Carrier Detect signal is ON at the selected port terminal. |
| RXD light (green) | Indicates that the Receive Data signal is ON at the selected port. |
| FAIL light (red) | Indicates an error occurred. Resetting the card with the resetcd f command is suggested first. If the LED comes on again, call Cisco Customer Engineering. |
| ACTIVE light (green) | Indicates that the card is active and functioning normally. |
Redundancy for HDM data cards can be provided with a second front and back card set and a Y-cable connection on each port to the customer equipment. See Figure 4-34.

The SDI card is a synchronous data interface back card that directly connects to a front HDM card. Each SDI card has four connectors and provides the physical and electrical connection interface to four data ports. Each port is independently configurable for DTE or DCE mode, baud rate, and so on. One for one port redundancy is provided with a second card set and a standard Y-cable arrangement.
The SDI card:
Four types of SDI back cards can provide an interface between an HDM front card and the customer data equipment. Table 4-35 distinguishes each type of SDI card.
| RS-232C/V.24 | 4-ports | DB25 Subminiature, female |
| RS-232D/V.24 | 4-ports | DB25 Subminiature, female |
| RS-449/X.21 | 4-ports | DB37 Subminiature, female |
| V.35 | 4-ports | 34-pin MRAC type (Winchester), female |
Three clocking modes are available on the SDI for clocking in transmit data and clocking out receive data. In addition, the SDI can operate as either a DCE or DTE, which makes possible six combinations of clocking. (See Figure 4-35 and Figure 4-36 .) With loop clocking, the user device must loop the RxC to the XTC for clocking out the transmit data.
When the SDI is configured as DTE, the user device is the source of clock timing and is generally not synchronous with the network (IGX) timing. This is isochronous clocking. Isochronous clocking allows the customer data sets at each end of a circuit to operate at slightly different rates (non-synchronously) with minimum delay and loss of data. This feature limits the amount of data allowed to accumulate in the HDM receive buffers and forces a re-synchronization before the delay reaches an unacceptable level.


Isochronous clocking involves a mechanism that lets a node at the far end compensate for an unstable clock in the user device at the near end. Data transmission in an isochronous network is reliable up to 112 Kbps. You can use isochronous clocking on only one input at a time per port. The SDI does not support two isochronous clock inputs in the same direction as required by some modems that generate the TxC and RxC clocks independent of each other.
Split clocking uses the user-device timing for timing data transmission in one direction and the IGX timing for the other direction.
The LDM front card supports up to 8 synchronous or asynchronous data ports. Each port is independently configurable for DTE or DCE mode, baud rate, and so on. The LDM card is a low speed data module for use on RS-232C ports with data rates up to 19.2 Kbps, where the higher speed capabilities of an HDM are unnecessary. An LDM can provide 56 Kbps Digital Data Service interfaces to the IGX when it operates with an LDI4/DDS.
The LDM can process either synchronous or non-synchronous input data. With non-synchronous inputs, the data is over-sampled at a rate determined by how much jitter your equipment can tolerate. Using an external device is also possible for synchronizing the asynchronous data before the data enters the IGX.
The LDM front data card:
Additional features, such as embedded (fast) EIA, sixth EIA lead support, and pleisochronous clocking, are also supported. The fast EIA control lead lets the user include the RTS/CTS EIA control leads in the same FastPacket as customer data. The EIA control lead status is encoded as the eighth data bit in each data byte. This provides a quick EIA response without significantly affecting bandwidth requirements. It is limited to data rates of 19.2 Kbps and below.
The LDM can reside in any empty front slot and requires an LDI back card. The LDI card plugs directly into the P2 connector of the LDM card.
The faceplate of the LDM has message lights and buttons for loopback control and signal monitoring. Figure 4-37 shows and Table 4-36 lists these indicators and buttons. When correlating the figure to the table, read from the top down. The buttons are for loopback testing and scrolling through the FastPacket data ports to obtain a snapshot of selected port conditions (indicated by PORT, PORT UNDER TEST, loopback, and communication line status lights).

PORT Readout Display | Indicates which FastPacket data port (1 through 8) on the Back card is currently under scrutiny. |
| SCROLL push-button | When pressed, toggles through the ports. Information displayed by other LEDs on the faceplate applies to the port shown by the 7-segment display. |
| LOOPBACK push-button | When pressed, toggles through the three loopback states on the port whose light is on. These states are: no loopback, local loopback, remote loopback. |
| PORT UNDER TEST light (yellow) | Indicates that a port has gone into the loopback mode. If this is not the current port, push the SCROLL button to toggle in the port being tested. |
| LL light (yellow) | Indicates that a local loopback is occurring on one of the ports. |
| RL light (yellow) | Indicates a remote loopback is occurring on one a port. |
| DTR light (green) | Indicates the Data Terminal Ready signal is ON at the selected port terminal. |
| TXD light (green) | Indicates the Transmit Data signal is ON at the selected port terminal. |
| DCD light (green) | Indicates the Data Carrier Detect signal is ON at the selected port terminal. |
| RXD light (green) | Indicates that the Receive Data signal is ON at the selected port. |
| FAIL light (red) | Indicates an error occurred. Resetting the card with the resetcd f command is suggested first. If the LED comes on again, call Cisco Customer Engineering. |
| ACTIVE light (green) | Indicates that the card is active and functioning normally. |
Redundancy for LDM data card types is available through a second front and back card set and a Y-cable connection on each port to the customer data equipment. Figure 4-38 illustrates redundancy.

The 4-port and 8-port LDM supports only a subset of the full RS-232C/D control leads. The LDM supports only non-isochronous DCE normal and DCE or DTE looped clocking modes, transmission of 3 EIA lead states (non-interleaved), and baud rates of up to 19.2 Kbps on the 8-port version and 38.4 Kbps on the 4-port version. Split clock mode is not supported.
An LDI4/DDS card provides an interface for four 56 Kbps DDS circuits for T1 IGX systems. The LDI4/DDS card can operate either as a Data Service Unit (DSU) or Office Channel Unit (OCU). Again, one for one port redundancy is available with a second card set and Y-cables for each port.
The LDI4/DDS operating parameters are software selectable for either DSU or OCU mode. Permissible operating speeds in Kbps are: 2.4, 4.8, 9.6, 19.2, and 56. The clock synchronization is looped clock for the OCU mode and external clock for the DSU mode. The LDI4/DDS supports the DDS control codes idle, zero suppression, out-of-service, and loopback sequences. Standard DDS diagnostic tools such as local and remote loopbacks are provided.
In the DSU mode, a port is connected to the local service provider and they should guarantee that the line length will not exceed the 34 dB loss limit that the DDS standard requires. When using a port in the OCU mode, private wiring is used. In this case, refer to Table 4-37 which shows worst case loss and maximum loop lengths for the different operating rates.
| (Kbps) | (dB) | 19 ga. | 22 ga. | 24 ga. | 26 ga. |
| 2.4 | 42 | 28.7 | 19.8 | 15.6 | 13.3 |
| 4.8 | 42 | 21.0 | 14.3 | 11.2 | 9.5 |
| 9.6 | 42 | 15.8 | 10.4 | 8.1 | 6.8 |
| 19.2 | 42 | 12.5 | 7.9 | 6.0 | 5.0 |
| 56 | 38 | 8.7 | 5.1 | 3.6 | 2.9 |
The Low-Speed Data Interface (LDI) card is a low-speed data interface back card that operates in conjunction with an LDM front card. The LDI provides the physical and electrical connection interface between the user low-speed data circuit and the LDM data PAD. Three models of the LDI exist. Two are four-port cards, and one is an eight-port card, as Table 4-38 indicates.
Some of the functions and features of the LDI are:
| LDI 4 | RS-232C/D (V.24) | 4-ports | DB15 Subminiature, female |
| LDI 8 | RS-232C/D (V.24) | 8-ports | DB15 Subminiature, female |
| LDI 4 /DDS | DDS | 4-ports | DB15 Subminiature with pigtail adapter for 8-pin RJ-48 connections |
The LDI can operate either as a DCE or DTE. Selection is made by using a StrataCom DTE or DCE adapter cable between the port connector and the cable from the user device. This cable is terminated with a standard DB25 on the customer end. Each port is configured separately.
Three EIA control leads are brought out to the rear connectors, three when used as a DCE and three for DTE. These leads are:
| RTS | CTS |
| DSR | DTR |
| DCD | RL |
The RL lead allows the use of a previously unused DTE EIA output lead. You can use remote loopback (RL) to enable a far-end modem loopback. Local loopback (LL) is not provided as an output on the LDI. If local loopback is required, use the DTR lead by wiring it to the connector pin for local loopback.
The LDI supports two clocking modes: normal and looped (Figure 4-39). The normal mode is used when the LDI port is configured as a DCE. Looped clock is only used when the LDI port is configured as a DTE. The user device must take the external transmit clock and loop it back to the RxC for clocking in the receive-data. In both cases, the LDI is the source of clock timing. Table 4-40 shows the accuracy and worst case jitter that can be expected from an end-to-end circuit using LDIs at each end.
1200 | .06 | .03 |
| 2400 | .12 | .06 |
| 4800 | .24 | .12 |
| 9600 | .48 | .23 |
| 14,400 | .72 | .35 |
| 19,200 | .96 | .47 |

The alarm relay card set is optional. The set consists of an Alarm Relay Module (ARM) front card and an Alarm Relay Interface (ARI) back card. This card set provides alarm summary outputs by using relay contact closures.
The alarm outputs are typically wired to a telephone central office alarm system for remote alarm reporting to give an indication there is a problem in the associated equipment.
The alarm summary feature provided by the Alarm Relay cards provides both a faceplate visual indication of an IGX node alarm as well as a set of relay outputs (dry-contact) for indicating node and network alarm indications. A visual alarm history indication is also provided. This alarm reporting is separate and is in addition to the alarm output at the node's control port, which provides a data output to a control terminal, such as the StrataView Plus Network Management Station. Table 4-41 summarizes the alarm conditions and the resulting indications.
One set of alarm relays is used to signal a major alarm or minor alarm on the node. One pair of contacts on each relay is used for audible alarms. These contacts are in series with a faceplate alarm cut-off (ACO) switch. The other set of relay contacts are used for visual alarms and are not affected by the ACO switch. When the ACO switch is activated, a faceplate ACO indicator lights up as a reminder to the operator. If the ACO switch is activated to disable the node's audible alarm output and a second alarm occurs, the audible alarm is re-activated. Two faceplate LEDs provide local indication of network alarms.
| Network | Major | none | Single form-C relay closed or open. |
| Minor | none | Single form-C relay closed or open. | |
| Node | Major | MAJOR LED (red) | Visual and audible relay closed only (normally open). |
| Minor | MINOR LED (yellow) | Visual and audible form-C relay closed or open. | |
| Alarm cutoff | n.a. | ACO LED (green) | Interrupts audible relay closed. |
| Alarm history | n.a. | HIST LED (green) | None. |
A second, independent, set of alarm outputs are provided to report network alarms. If a major or minor alarm occurs anywhere in the network--not necessarily on a particular node--these alarm relays are activated.
Major alarm relays are normally energized, providing an open circuit, so that a complete power failure (relay de-energized) at the node will result in a contact closure and resulting major alarm output. Minor alarms, however, are normally de-energized to conserve power and both contact closures as well as contact openings are available for minor alarms.
When an alarm condition clears, the alarm relays return to their normal state to clear the alarm outputs. A faceplate history indicator is turned on for each node alarm occurrence. The indicator will remain on even though an alarm may have already cleared. The history indicator is manually cleared by pressing a faceplate switch.
Two additional relays are available under software control to report other conditions, but these relays are currently unassigned.
The alarm reporting feature requires a card set that includes an ARM front card and an ARI back card. This card set can reside in any slot except the reserved slots. However, StrataCom recommends that the front card go in the slot on the far right. Since a failure of either of these cards does not affect service, card redundancy is not necessary.
The alarm relays are controlled by system software through Control Bus commands. The ARM interface with the Control Bus allows the card to receive alarm signals from the NPM and to send status signals back to the NPM. The firmware on the ARM decodes the alarms. The ARM does not connect to the CELLBUS because it does not packetize user-data.
The ARM faceplate contains the alarm LEDs, ACO and History Clear push buttons, and the active and fail LEDs indicating the status of the ARM card (see Figure 4-40 and Table 4-42). The ARM card is used in conjunction with an ARI card. The ARI card connects to the ARM at the P2 connector. Relay drive signals originate in the ARM to operate relays on the ARI.
The ARM periodically runs a background self-test to determine the state of the card. If the card fails this self-test, the faceplate FAIL LED turns on, and the ACTIVE LED turns off.

| MINOR LED (yellow) | Indicates a failure in the local node that is not service-affecting but still should be investigated. It could indicate problems such as a loss of redundancy, a low error rate on a digital trunk (frame bit errors or bipolar errors), etc. |
| MAJOR LED (red) | Indicates a failure in the local node that is service-affecting, such as an IGX 8 card failure, that should be attended to immediately. |
| ACO LED (white) | Indicates that a MINOR or MAJOR alarm is present, and that the alarm cutoff (ACO) button (5) was pressed to silence an accompanying audible alarm. The ACO light is turned off when the alarm condition is cleared. |
| HISTory light (green) | Indicates that an alarm has occurred sometime in the past on the node. The alarm may be current or it may have cleared. Pressing the HIST CLR button (6) turns off this light if there is no current alarm. |
| ACO button | When pressed, silences audible alarm (visual alarms remain on) and turns on ACO light (3). |
| HIST CLR button | When pressed, turns off HIST light (4) if there is no current alarm. |
| FAIL light (red) | Indicates that the card has failed self-test (an error occurred). Resetting the card with the resetcd f command is suggested first. If the LED comes on again, call Cisco Customer Engineering. |
| ACTIVE light (green) | Indicates that the card is active, has been assigned using the addalmslot command, and is functioning normally. |
The installation of the ARM cards requires the removal of the node from service. The ARM can be physically installed in any front slot except slots normally reserved for the node processor cards (NPMs). For standardization, StrataCom recommends that the ARM reside in the slot at the far right side of the card cage. The corresponding back slot must have an ARI card. The ARI card plugs directly in the ARM card.
Three commands affect the ARM card set:
The Alarm Relay Interface (ARI) card contains the alarm relays and their associated relay drivers. Alarm outputs are dry contact closures or opening contacts from Form C relays. The user must supply the voltage source to be switched by the IGX. Any source or load can be switched as long as it meets the following requirements.
A female DB37 connector resides on the faceplate for connection to the customer's office alarm or alarm-reporting system. Refer to Figure 4-41 for an illustration of the ARI faceplate.

The following paragraphs describe the maintenance and troubleshooting features associated with the ARM card set. Preventive maintenance is not necessary.
As with all IGX 8 cards, the ARM has diagnostic routines that periodically run to test the card's performance. These self-test diagnostics are run in the background, so they do not disrupt normal traffic. If a failure is detected during the self test, the faceplate red FAIL LED is turned on. In addition, the status of the card can be checked at the control terminal by using the Display Card (dspcd) command.
If a card failure is reported, the report remains until cleared. A card failure is cleared by using the Reset Card (resetcd) command. Two types of resets are available. They are hardware and failure. The reset failure clears the event log of any failure detected by the card self test and does not disrupt card operation. The hardware reset reboots the firmware and resets the card, which momentarily disables the card.
ARM card set replacement is the same as other card replacement. For these procedures, refer to the repair and replacement description in the Cisco StrataCom IGX Installation.
At least one node in a network has a StrataView Plus terminal, a control terminal, or a dial-in modem connected to it. Any control terminal connected in the network can configure, manage, monitor, and diagnose the entire network. In addition, at least one node in a network may have a connected printer for error and event reports.
The control terminal and printer connect to two RS-232 serial ports. These ports are the Control Terminal and Auxiliary Port on the SCM faceplate. These serial ports support all standard asynchronous data rates from 1200 to 19,200 baud. The default rate is 9600 baud. Data rates and the type of equipment connected to the ports are software-configurable.
StrataCom recommends that at least one IGX in the network connects to a direct-dial modem so that WANBU TRT personnel can perform remote diagnostic tests. (Contact the WANBU TRT through Customer Engineering.) A direct-dial modem connects to the backplane at the Control Terminal port. In addition, an auto-dial modem can be connected to the AUX port connector on the SCM at any node in the network so that remote error messages and alarms can be sent to the WANBU.
An external clock source can be connected to the SCM card using the external clock adapter cable. The external clock device can be either 1.544 MHz or 2.048 MHz RS-422 square wave signals depending on the primary application of the IGX (T1 or E1). Selection is made through software. The clock stability should be at least as good as a Stratum 3 clock source. The Cisco StrataCom IGX Installation lists the terminals, printers, modems and clock sources that have been tested and approved for use with the IGX.
|
|