|
|
This chapter describes how ATM connection services are established by adding ATM connections between ATM service interface ports in the network using ATM standard UNI 3.1 and Traffic Management 4.0. It describes BXM and ASI card operation and summarizes ATM connection parameter configuration
The chapter contains the following:
ATM connection services are established by adding ATM connections between ATM service interface ports in the network. ATM connections can originate and terminate on the ASI (ATM Service Interface) cards, on BXM-T3/E3, BXM-155 (OC-3), and BXM-622 (OC-12) cards configured for port (service access) operation on the BPX, or on the AXIS shelf (using the AUSM card for the AXIS). Frame relay to ATM network interworking connections are supported between either BXM or ASI cards to the IPX, IGX, or AXIS. Frame relay to ATM service interworking connections are supported between either BXM or ASI cards to FRSM cards on the AXIS shelf.
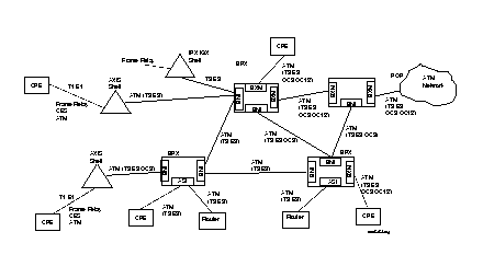
Figure 7-1 is a depiction of ATM connections over a BPX network. It shows ATM connections via BXM-T3/E3, BXM-155, BXM-622, ASI-1, and ASI-155 cards, as well as over AXIS shelves. It also shows frame relay to ATM interworking connections over AXIS, IPX, and IGX shelves. For further information on the AXIS shelf, refer to the AXIS Reference document.
. 
When an Extended Services Processor (ESP) is co-located with a BPX Extended Services Node, ATM and Frame Relay Switched Virtual Circuits (SVCs) are supported in addition to Permanent Virtual Circuits (PVCs). For further information on ATM SVCs, refer to the BPX Service Node Extended Processor Installation and Operation document.
The ATM Forum Traffic Management 4.0 Specification defines five basic traffic classes:
Table 7-1 summarizes the major attributes of each of the traffic management classes:
| Attribute | CBR | rt-VBR | nrt-VBR | UBR | ABR |
|---|---|---|---|---|---|
| Traffic Parameters | |||||
| PCR & CDVT | x | x | x | x | x |
| SCR & MBS | x | x | |||
| MCR | x | ||||
| QoS Parameters | |||||
| Pk-to-Pk CDV | x | x | |||
| Max CTD | x | x | |||
| CLR | x | x | x | nw specific | |
| Other Attributes | |||||
| Congestion Control Feedback | x |
Traffic parameters are defined as:
QoS (Quality of Service) parameters are defined as:
Congestion Control Feedback:
Standard ABR uses RM (Resource Management) cells to carry feedback information back to the connection's source from the connection's destination.
ABR sources periodically interleave RM cells into the data they are transmitting. These RM cells are called forward RM cells because they travel in the same direction as the data. At the destination these cells are turned around and sent back to the source as Backward RM cells.
The RM cells contain fields to increase or decrease the rate (the CI and NI fields) or set it at a particular value (the explicit rate ER field). The intervening switches may adjust these fields according to network conditions. When the source receives an RM cell it must adjust its rate in response to the setting of these fields.
ABR sources and destinations are linked via bi-directional connections, and each connection termination point is both a source and a destination; a source for data that it is transmitting, and a destination for data that it is receiving. The forward direction is defined as from source to destination, and the backward direction is defined as from destination to source. Figure 7-2 shows the data cell flow in the forward direction from a source to its destination along with its associated control loop. The control loop consists of two RM cell flows, one in the forward direction (from source to destination) and the other in the backward direction (from destination to source).
The data cell flow in the backward direction from destination to source is not shown, nor are the associated RM cell flows. However, these flows are just the opposite of that shown in the diagram for forward data cell flows.
A source generates forward RM cells which are turned around by the destination and returned to the source as backward RM-cells. These backward RM-cells may carry feedback information from the network elements and/or the destination back to the source.
The parameter Nrm is defined as the maximum number of cells a source may send for each forward RM cell, i.e., one RM cell must be sent for every Nrm-1 data cells. Also, in the absence of Nrm-1 data cells, as an upper bound on the time between forward RM cells for an active source, an RM cell must be sent at least once every Trm msecs.
The BXM-T3/E3, BXM-155, and BXM-622 cards support ATM Traffic Management 4.0. The BXM cards are designed to support all the following service classes: Constant Bit Rate (CBR), Variable Bit Rate (VBR), Available Bit Rate (ABR with VS/VD, ABR without VS/VD, and ABR using Foresight), and Unspecified Bit Rate (UBR). ABR with VS/VD supports explicit rate marking and Congestion Indication (CI) control.

ForeSight may be used for congestion control across BPX/IGX/IPX switches for connections that have one or both end points terminating on ASI-T3/E3 or BXM cards. The ForeSight feature is a proprietary dynamic closed-loop, rate-based, congestion management feature that yields bandwidth savings compared to non-ForeSight equipped trunks when transmitting bursty data across cell-based networks. The BXM cards also support the VSVD congestion control mechanism as specified in the ATM Traffic Management 4.0 standards.
There are two connection addressing modes supported. The user may enter a unique VPI/VCI address in which case the BPX functions as a virtual circuit switch. Or the user may enter only a VPI address in which case all circuits are switched to the same destination port and the BPX functions as a virtual path switch in this case. The full ATM address range for VPI and VCI is supported.Virtual Path Connections are identified by an * in the VCI field. Virtual Circuit Connections specify both the VPI and VCI fields.
The VPI and VCI fields have significance only to the local BPX, and are translated by tables in the BPX to route the connection. Connections are automatically routed by the AutoRoute feature once the connection endpoints are specified.
ATM connections can be added using either the StrataView Plus Connection Manager or a node's command line interface (CLI). Typically, the StrataView Plus Connection Manager is the preferred method as it has an easy to use GUI interface. The CLI may be the method of choice in some special cases or during initial node setup for local nodes.
When adding ATM connections, first the access port and access service lines connecting to the customer CPE need to be configured. Also, the trunks across the network need to configured appropriately for the type of connection. Following that the addcon command may be used to add a connection, first specifying the service type and then the appropriate parameters for the connection.
For example, when configuring a BXM for CPE connections, the BXM is configured for port mode, a line is upped with the upln command and configured with the cnfln command. Then the associated port is configured with the cnfport command and upped with the upport command. Following this, the ATM connections are added via the addcon command with the syntax.
ATM connections for a BXM or ASI card are identified as follows:
The slot and port are related to the BPX hardware. Virtual path connections (VPCs) are identified by a "*" for the VCI field. Virtual circuit connections (VCCs) are identified by both a VPI and VCI field.
Connections added to the network are automatically routed once the end points are specified. This AutoRoute feature is standard with all BPX, IGX, and IPX nodes. The network automatically detects trunk failures and routes connections around the failures.
The following parameters are entered for BXM addcon command. Depending upon the connection type, the user is prompted for the appropriate parameters as shown in the following:
addcon local_addr node remote_addr traffic_type....extended parameters
| Field | Value | Description |
|---|---|---|
| local/remote_addr | slot.port.vpi.vci | desired VCC or VPI connection identifier |
| node | slave end of connection | |
| traffic_type | Type of traffic, chosen from CBR, VBR, ABR, and UBR | |
| extended parameters | The traffic management and performance parameters associated with an ATM connection. |
The following figures and tables describe the parameters used to configure ATM connections:
The following figures list the connection parameters in the same sequence as they are entered when a connection is added:
The following figure shows the VSVD network segment and external segment options available when ABR Standard or ABR ForeSight is selected. ForeSight congestion control is useful when both ends of a connection do not terminate on BXM cards. At present, FCES (Flow Control External Segment) as shown in Figure 7-7 is not available for ABR with ForeSight.
The following figures list the connection parameters in the same sequence as they are entered when a connection is added:
| Connection Type | ATM Forum TM spec. 4.0 conformance definition | PCR Flow (1st leaky bucket) | CLP tagging (for PCR flow) | SCR Flow (2nd leaky bucket) | CLP tagging (for SCR flow) |
|---|---|---|---|---|---|
| CBR | CBR.1
when policing set to 4 (PCR Policing only) | CLP(0+1) | no | off | n/a |
| CBR | When policing set to 5 (off) | off | n/a | off | n/a |
| UBR | UBR.1
when CLP setting = no | CLP(0+1) | no | off | n/a |
| UBR | UBR.2
when CLP setting = yes | CLP(0+1) | no | CLP(0) | yes |
| VBR, ABR, ATFR, ATFST | VBR.1
when policing set to 1 | CLP(0+1) | no | CLP(0+1) | no |
| VBR, ABR, ATFR, ATFST | VBR.2
when policing set to 2 | CLP(0+1) | no | CLP(0) | no |
| VBR, ABR, ATFR, ATFST | VBR.3
when policing set to 3 | CLP(0+1) | no | CLP(0) | yes |
| VBR, ABR, ATFR, ATFST | when Policing set to 4 | CLP(0+1) | no | off | n/a |
| VBR, ABR, ATFR, ATFST | when Policing set to 5 for off) | off | n/a | off | n/a |
Note 1: - For UBR.2, SCR = 0
Note 2:
| Parameter | Description |
|---|---|
| PCR | Peak cell rate:
The cell rate which the source may never exceed |
| %Util | % Utilization; bandwidth allocation for: VBR, CBR, UBR it's PCR*%Util, for ABR it's MCR*%Util |
| MCR | Minimum Cell Rate:
A minimum cell rate committed for delivery by network |
| CDVT | Cell Delay Variation Tolerance:
Controls time scale over which the PCR is policed |
| FBTC (AAL5 Frame Basic Traffic Control) | To enable the possibility of discarding the whole frame, not just one non-compliant cell. This is used to set the Early Packet Discard bit at every node along a connection. |
| ForeSight | Proprietary flow control feature |
| VSVD | Virtual Source Virtual Destination:
(see Meaning of VSVD and Flow Control External Segments, Figure 7-7) |
| FCES (Flow Control External Segments) | (see Meaning of VSVD and Flow Control External Segments, Figure 7-7) |
| SCR | Sustainable Cell Rate:
Long term limit on the rate a connection can sustain |
| MBS | Maximum Burst Size:
Maximum number of cells which may burst at the PCR but still be compliant. Used to determine the Burst Tolerance (BT) which controls the time scale over which the SCR is policed |
| Policing | (see definitions of Traffic Policing, Table 7-2) |
| VC QDepth | VC Queue Depth |
| CLP Hi | Cell Loss Priority Hi threshold (% of VC QMax) |
| CLP Lo/EPD | Cell Loss Priority Low threshold (% of VC QMax)/Early Packet Discard. If AAL5 FBTC = yes, then for the BXM card this is the EPD threshold setting. For ASI cards, regardless of the FBTC setting, this is the CLP Lo setting. |
| EFCI | Explicit Forward Congestion Indication threshold (% of VC QMax) |
| ICR | Initial Cell Rate:
The rate at which a source should send initially and after an idle period |
| ADTF (ATM Forum TM 4.0 term) | The Allowed-Cell-Rate Decrease Factor:
Time permitted between sending RM-cells before the rate is decreased to ICR |
| Trm (ATM Forum TM 4.0 term) | An upper bound on the time between forward RM-cells for an active source, i.e., RM cell must be sent at least every Trm msec |
| RIF (ATM Forum TM 4.0 term) | Rate Increase Factor:
Controls the amount by which the cell transmission rate may increase upon receipt of an RM cell |
| RDF (ATM Forum TM 4.0 term) | Rate Decrease Factor:
Controls the amount by which the cell transmission rate may decrease upon receipt of an RM cell |
| Nrm (ATM Forum TM 4.0 term), BXM only. | Nrm
Maximum number of cells a source may send for each forward RM cell, i.e. an RM cell must be sent for every Nrm-1 data cells |
| FRTT (ATM Forum TM 4.0 term),
BXM only. | Fixed Round Trip Time: the sum of the fixed and propagation delays from the source to a destination and back |
| TBE (ATM Forum TM 4.0 term), BXM only. | Transient Buffer Exposure:
The negotiated number of cells that the network would like to limit the source to sending during start-up periods, before the first RM-cell returns. |
| IBS | Initial Burst Size
|
The CBR (constant bit rate) category is a fixed bandwidth class. CBR traffic is more time dependent, less tolerant of delay, and generally more deterministic in bandwidth requirements. CBR is used by connections that require a specific amount of bandwidth to be available continuously throughout the duration of a connection. Voice, circuit emulation, and high-resolution video are typical examples of traffic utilizing this type of connection. A CBR connection is allowed to transmit cells at the peak rate, below the peak rate, or not at all. CBR is characterized by peak cell rate (PCR).
The parameters for a CBR connection are shown in Figure 7-3 in the sequence in which they occur during the execution of the addcon command. The CBR policing definitions are summarized in Table 7-5.

| Connection Type | ATM Forum TM spec. 4.0 conformance definition | PCR Flow (1st leaky bucket) | CLP tagging (for PCR flow) | SCR Flow (2nd leaky bucket) | CLP tagging (for SCR flow) |
|---|---|---|---|---|---|
| CBR | CBR.1
when policing set to 4 (PCR Policing only) | CLP(0+1) | no | off | n/a |
| CBR | When policing set to 5 (off) | off | n/a | off | n/a |
VBR (variable bit rate) connections may be classified as rt-VBR or nrt-VBR connections.
The rt-VBR (real-time variable bit rate) category is used for connections that transmit at a rate varying with time and that can be described as bursty, often requiring large amounts of bandwidth when active. The rt-VBR class is intended for applications that require tightly constrained delay and delay variation. An example of rt-VBR is video conferencing which requires real-time data transfer with bandwidth requirements that can vary in proportion to the dynamics of the video image at any given time. The rt-VBR category is characterized in terms of PCR, SCR (sustained cell rate), and MBS (maximum burst size).
The nrt-VBR (non-real time variable bit rate) category is used for connections that are bursty but are not constrained by delay and delay variation boundaries. For those cells in compliance with the traffic contract, a low cell loss is expected. Non-time critical data file transfers are an example of an nrt-VBR connection. A nrt-VBR connection is characterized by PCR, SCR, and MBS.
Configuring VBR connections. The characteristics of rt-VBR or nrt-VBR are supported by appropriately configuring the parameters of the VBR connection.
The parameters for a VBR connection are shown in Figure 7-4 in the sequence in which they occur during the execution of the addcon command. The VBR policing definitions are summarized in Table 7-6.

| Connection Type | ATM Forum TM spec. 4.0 conformance definition | PCR Flow (1st leaky bucket) | CLP tagging (for PCR flow) | SCR Flow (2nd leaky bucket) | CLP tagging (for SCR flow) |
|---|---|---|---|---|---|
| VBR, ABR, ATFR, ATFST | VBR.1
when policing set to 1 | CLP(0+1) | no | CLP(0+1) | no |
| VBR, ABR, ATFR, ATFST | VBR.2
when policing set to 2 | CLP(0+1) | no | CLP(0) | no |
| VBR, ABR, ATFR, ATFST | VBR.3
when policing set to 3 | CLP(0+1) | no | CLP(0) | yes |
| VBR, ABR, ATFR, ATFST | when Policing set to 4 | CLP(0+1) | no | off | n/a |
| VBR, ABR, ATFR, ATFST | when Policing set to 5 for off) | off | n/a | off | n/a |
An ATFR (ATM to Frame Relay) connection is a frame relay to ATM connection and is configured as a VBR connection, with a number of the ATM and frame relay connection parameters being mapped between each side of the connection.
The parameters for an ATFR connection are shown in Figure 7-5 in the sequence in which they occur during the execution of the addcon command.

The term ABR is used to specify one of the following:
The ABR (available bit rate) category utilizes a congestion flow control mechanism to control congestion during busy periods and to take advantage of available bandwidth during less busy periods. The congestion flow control mechanism provides feedback to control the connections flow rate through the network in response to network bandwidth availability. The ABR service is not restricted by bounding delay or delay variation and is not intended to support real-time connections. ABR is characterized by: PCR and MCR.
Policing for ABR connections is the same as for VBR connections which are summarized in Table 7-6.
The ABR connections are configured as either ABR Standard (ABRSTD) connections or as ABR ForeSight (ABRFST) connections.
The parameters for an ABRSTD connection are shown in Figure 7-6 in the sequence in which they occur during the execution of the addcon command.
The ABRSTD connection supports all the features of ATM Standards Traffic Management 4.0 including VSVD congestion flow control.
VSVD and flow control with external segments are shown in Figure 7-7.


The ABRFST connection uses the propriety ForeSight congestion control and is useful when configuring connections on which both ends do not terminate on BXM cards.
The parameters for an ABRFST connection are shown in Figure 7-8 in the sequence in which they occur during the execution of the addcon command.

An ATFST connection is a frame relay to ATM connection that is configured as an ABR connection with ForeSight. ForeSight congestion control is automatically enabled when connection type ATFST is selected. A number of the ATM and frame relay connection parameters are mapped between each side of the connection.
The parameters for an ATFST connection are shown in Figure 7-9 in the sequence in which they occur during the execution of the addcon command.
The unspecified bit rate (UBR) connection service is similar to the ABR connection service for bursty data. However, UBR traffic is delivered only when there is spare bandwidth in the network. This is enforced by setting the CLP bit on UBR traffic when it enters a port.
Therefore, traffic is served out to the network only when no other traffic is waiting to be served first. The UBR traffic does not affect the trunk loading calculations performed by the switch software.
The parameters for a UBR connection are shown in Figure 7-10 in the sequence in which they occur during the execution of the addcon command.
The UBR policing definitions are summarized in Table 7-7.
| Connection Type | ATM Forum TM spec. 4.0 conformance definition | PCR Flow (1st leaky bucket) | CLP tagging (for PCR flow) | SCR Flow (2nd leaky bucket) | CLP tagging (for SCR flow) |
|---|---|---|---|---|---|
| UBR | UBR.1
when CLP setting = no | CLP(0+1) | no | off | n/a |
| UBR | UBR.2
when CLP setting = yes | CLP(0+1) | no | CLP(0) | yes |
The following is a listing of the LMI and ILMI parameters for the ASI:
For ILMI refeer to Table 7-8:
| Parameter | Description |
|---|---|
| VPI.VCI | VCCI for ILMI signaling channnel equal 0.16 |
| Polling Enabled | Keep-alive polling |
| Trap Enabled | VCC change of state traps |
| Polling Interval | Time between GetRequest polls |
| Error Threshold | Number of failed entries before ILMI link failure is declared. |
| Event Threshold | Number of successful polls before ILMI link failure is cancelled. |
| Addr Reg Enab | SVC Address Registration procedures enabled. |
For the LMI refer to
| Parameter | Description |
|---|---|
| VPI.VCI | VCCI for LMI signaling channel equal 0.31 |
| Polling Enable | Keep-alive polling |
| T393 | Status Enquiry timeout value |
| T394 | Update Status timeout value |
| T396 | Status Enquiry polling timer |
| N394 | Status Enquiry retry count |
| N395 | Update Status retry count |
|
|