|
|
Audience ² Organization ² Related Documentation ² Text Conventions
This document describes Light-Stream 2020 hardware, tells you how to install LightStream 2020 enterprise ATM switches, and covers the following troubleshooting tasks:
The audience for this book includes Light-Stream customers and employees of LightStream and partner companies who need information on installing LightStream systems, configuring the hardware, and resolving hardware problems.
![]() | Warning This book is intended for use only by qualified service personnel. Tasks described here can expose unqualified personnel to mechanical and electrical hazards. |
This manual is organized as follows:
The following is a list of LightStream manuals and other material relevant to LightStream users.
Before attempting to install, configure, operate, or troubleshoot a network of LightStream switches, read the LightStream 2020 System Overview. This overview provides important background information about the LightStream product and the ATM technology on which the product is based. After reading the LightStream 2020 System Overview, refer to Table 1-1 to determine which manuals you should read next.
| If you want to: | Read the following manuals in the order listed below: |
|---|---|
| Install LightStream switches | LightStream 2020 Release Notes1
LightStream 2020 Site Planning and Cabling Guide LightStream 2020 Installation and Troubleshooting Manual |
| Configure LightStream switches | LightStream 2020 Release Notes1
LightStream 2020 Configuration Guide LightStream 2020 Online Help Screens |
| Set up or expand a
LightStream network | LightStream 2020 Release Notes1
LightStream 2020 Administration Guide LightStream 2020 Online Help Screens |
| Operate a LightStream network | LightStream 2020 Release Notes1
LightStream 2020 Operations Guide LightStream 2020 Command and Attribute Reference Guide LightStream 2020 Command Line Interface (CLI) Reference Card LightStream 2020 Traps Reference Manual LightStream 2020 Online Help Screens |
| Manage or troubleshoot a LightStream network | LightStream 2020 Release Notes1
LightStream 2020 Operations Guide LightStream 2020 Administration Guide LightStream 2020 Command and Attribute Reference Guide LightStream 2020 Command Line Interface (CLI) Reference Card LightStream 2020 Traps Reference Manual LightStream 2020 Online Help Screens |
| Troubleshoot LightStream hardware | LightStream 2020 Release Notes1
LightStream 2020 Installation and Troubleshooting Manual LightStream 2020 Site Planning and Cabling Guide |
In this document, several conventions distinguish different types of graphics.
| Convention | Purpose | Example |
|---|---|---|
| Bold screen
literal type Screen literal type Boldface type
Italic type
Angle brackets <>
Square brackets [ ]
Caret symbol ^ Curly braces { } | Represents user input.
Represents system output
Denotes names of commands, command arguments, and switches. Command names are case sensitive; enter them exactly as they appear in the text. Used for titles of documents and for emphasis. Indicate user-specified parameters or classes of user responses. When you see this notation in a syntax statement, make the substitution but do not type the angle brackets. Indicate keys on the keyboard, or optional arguments or parameters for commands. You can omit optional arguments and parameters in any command. When the caret symbol precedes a character, it refers to the control key. Indicate a choice of arguments or parameters for commands. Arguments or parameters are separated by a vertical line {|}, and you must select one. | $ date
Wed May 6 17:01:03 EDT 1994
Issue the clear command.
LightStream 2020 Configuration Guide File names are case sensitive. If you see:
you might type: set port 4.3 active Press [Return].
cli> help [<topic>]
^X is the same as [Control] X
cli> set cli traplevel {off|info|oper|trace|debug} |
Chassis ² Midplane ² Switch Card ² Network Processor Card ² Disk Assembly ² Line Cards ² Access Cards ² Fantails² Card LEDs ² Test and Control System ² Cooling ² Power Options
The hardware elements of a LightStream 2020 enterprise ATM switch are outlined in Figure 2-1. This chapter describes each component of a LightStream node, starting with the chassis and midplane.

The chassis serves as a skeleton and container for the LightStream system. It provides access to components from both the front and back. The chassis measures 18.9 inches (48 cm) wide by 26 inches (66 cm) high by 24.7 inches (63 cm) deep. It contains all the hardware elements shown in Figure 2-1. Figure 2-2 shows the front view of a fully loaded, redundantly configured LightStream chassis and Figure 2-3 shows the rear view.


From the front of the LightStream chassis, you have access to network processor cards, line cards, switch cards, disk drive units, and one of the two blowers. Power supplies, access cards, fantails (if any), external cabling, connectors for consoles and modems, and the other blower are accessible from the rear of the chassis.
The LightStream chassis can be mounted in a standard 19 inch wide rack. Guidelines for selecting racks are provided in the LightStream 2020 Site Planning and Cabling Guide; rack mounting instructions appear in "Installing a LightStream Switch" section of this manual.
Each LightStream node has a midplane that contains most of the internal wiring for the node. The midplane, which is a field-replaceable unit (FRU), connects the NPs and line cards to switch cards and also connects the function cards (NPs and line cards) to their I/O access cards. The midplane simplifies system assembly, increases reliability, and improves mean time to repair. The midplane carries 48-volt power to all the cards in the system and interconnects the Test and Control System hub and slave processors.
Figure 2-4 shows a conceptual view of a midplane with several cards connected to it.
NPs, line cards and switch cards plug into the front of the midplane, and I/O access cards associated with each function card plug into the rear of the midplane. The connections between function cards and their I/O access cards pass through the midplane on connector pins, but do not make electrical connection with the midplane. The midplane contains all the internal wiring to connect the function cards to the switch cards.

The midplane provides connections for up to:
Up to 12 cards (10 function cards and 2 switch cards) can be connected to the front of the LightStream midplane. The twelve slots in the chassis are divided into function card slots, numbered 1 through 10, and switch card slots, designated A and B. Switch card slots A and B are located in the center of the chassis, between function card slots 5 and 6. (See Figure 2-4.)
The function cards connect to the switch card via the center 96-pin DIN connector in each slot. The upper and lower 96-pin DIN connectors are used to connect the function card to the access card on the other side of the midplane.
![]() | Caution Although function cards and switch cards are the same size, their midplane connectors are completely different. Do not attempt to place a function card in a switch card slot or vice versa. Attempts to do so may result in damage to the connectors on the midplane or the cards. |
Figure 2-5 shows the connectors on the front of the midplane.
Up to 10 I/O access cards, two console/modem assemblies, and two power supplies can be connected to the back of the LightStream midplane.
Figure 2-6 shows the connectors on the back of the midplane.

The 96-pin DIN connectors in each slot connect the access card to the function card on the other side of the midplane.
Each bulk power tray connects to one connector on the rear of the midplane. The console and modem ports for each switch card share one shrouded pin-header connector located on the rear of the midplane behind the switch card.
On the midplane are two EEPROM chips whose contents, which are written in the factory, include:
(A modem port is associated with each switch card.)
If you replace the midplane, you may need to program some of the information listed above into the EEPROMs on the new midplane. Refer to the midplane replacement procedure in "Replacing FRUs" section of this manual and to the EEPROM programming procedures in the LightStream 2020 Operations Guide.
The chassis IDs in the two midplane EEPROMs in a LightStream switch must be identical, and they must be otherwise unique in your network. For this reason, LightStream Corp. assigns a unique chassis ID number to every LightStream 2020. To ensure that the correct chassis ID is restored in the even of an EEPROM failure, you should keep a record of the chassis ID for every system in your network.
You may wish to change the modem initialization string and modem password on your system. If you change these values for one switch card slot, be sure to change the values for other slot to match. If modem information is not consistent across slots, you could have modem access problems if you move a switch card from one slot to another or if, in a redundant configuration, your backup switch card becomes active.
The midplane acts as the main logic ground point in the LightStream chassis.
The midplane distributes high current bulk power to the function and switch cards. Bulk power arrives on the midplane through connectors mounted on the power tab, a projection on the left side of the midplane.
The midplane is 16 in. (40.6 cm.) high by 12 in. (30.5 cm.) wide. Bulk power connectors are mounted on the power tab, a 2.3 in. (5.8 cm.) by 2.2 in. (5.6 cm.) projection on the left side of the midplane. (See Figure 2-5.) Connectors on the front and back of the midplane carry signals between each line card, NP and switch card in the front of the chassis and the corresponding access card in the back of the chassis.
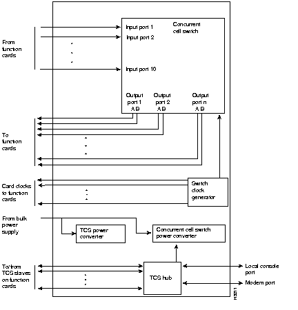
The LightStream switch card, an FRU, provides the interconnection through which line cards and network processors (NPs) in the same LightStream chassis communicate with one another. Communications between NPs and line cards can take place over high-speed switch paths that carry payload traffic between LightStream nodes. In addition, low-speed Test and Control System (TCS) data paths carry control and diagnostic information between the TCS hub on the switch card and the TCS slaves on the NP and line cards.
Two versions of the switch card exist: the Release 1 version and the Release 2 version. Differences between the two are noted as they come up throughout this section. Except as noted, functionality is identical on the two cards.
Switch cards can be inserted in one or both of the dedicated switch card slots on the front of the midplane, slots A and B. A redundant system has two switch cards; a nonredundant system has one. In a redundant system, one switch card is active and the other serves as a hot spare, ready to take over if the active card fails.
Figure 2-7 shows a Release 1 switch card; Figure 2-8 shows a Release 2 switch card.

The switch card has four key functional areas:
Figure 2-9 shows a high-level functional block diagram of the switch card. Each of the functional areas shown in Figure 2-9 is described in the sections that follow.

The concurrent cell switch provides the connection through which NPs and line cards communicate, allowing them to transport cells of data between function cards within a LightStream chassis. The concurrent cell switch has 10 ports, one per function card slot.
The concurrent cell switch on each switch card takes the place of a bus in a conventional computer system. It eliminates the need for high-power drivers for high-speed, high-fanout buses. It provides physical isolation between function card data paths for power-on, nondisruptive servicing, and it provides a very high aggregate bandwidth in the chassis without requiring each function card to accept data at the aggregate rate.
The switch carries cells in fixed length time slots, which are common to all the traffic. All function cards transmit their cells into the switch simultaneously and receive cells from the switch simultaneously.
The decision of which transmitting function card gets a connection to its requested receiving function card is made in the time-slot preceding the actual data transfer. The switch therefore has nearly an entire time slot to make its decision. The switch sends an acknowledgment back to those transmitters whose destination card requests will be fulfilled in the next time slot. The acknowledgment arrives before the end of the requesting time slot, so that the transmitter can begin the data flow as the next time slot begins.
The function cards are connected to the switch by private links. There are three paths between each function card and the switch. One is used to transmit cells from the function card to the switch, and two are used to deliver cells from the switch to the function card. Each of these data paths is eight bits wide and is clocked at 25 MHz, for a raw path bandwidth of 200 Mbps.
The data passing on these links is divided into cells. Each link is unidirectional, but the three data paths between the function card and the switch can all pass cells simultaneously. The double data paths flowing from the switch to the function cards reduce blocking probability so the switch delivers better performance than ordinary "nonblocking" switches. Under typical traffic loads, the concurrent cell switch delivers an average of 160 Mbps of cell payload throughput. This is more than enough to handle the 149.8 Mbps OC-3c SONET payload bandwidth, and sufficient to handle wire-speed FDDI traffic with enough margin to accommodate inefficiencies due to packet fragmentation.
The TCS hub is located on the switch card. It controls the switch card and acts as a communications hub for the system-wide Test and Control System. It provides communication among the TCS slaves, itself, the console, the TCS hub on the redundant switch card if one is present, and the modem.
The switch card provides power for the entire TCS system. The TCS hub can monitor the "DC OK" signal on the bulk power supply.
In a system with two switch cards, the TCS hub on one card is primary and the TCS hub on the other is secondary. The primary TCS hub is not necessarily located on the active switch card. To determine which switch card in a redundant system has the primary hub, look at the TCS SEL LEDs. This LED is lit on the card with the primary TCS hub.
Via the local console and modem ports, both TCS hubs can provide some access to function cards. For example, you can display the status of a function card from either hub. However, if you need to establish a console connection to a card--to use CLI, for example, or to run diagnostics--you must connect to the card via the console or modem port of the switch card with the primary TCS hub.
If the primary hub fails to poll the secondary hub within a specified time period, the secondary hub takes over and becomes primary. In addition, you can force the secondary hub to become primary, as described in the LightStream 2020 Administration Guide. Forcing the hubs to switch roles may be necessary, for example, if you need to remove a switch card from the chassis.
More information on the TCS can be found in the "Test and Control System" section.
On the Release 1 switch card, there are two power supplies. One supplies TCS power for the entire LightStream unit, and the other supplies power to the concurrent cell switch and clock circuitry. On the Release 2 switch card, a single power supply serves both purposes.
The switch card converts internally distributed bulk power to the voltages it needs to operate its switch circuitry and generates power for the TCS system on all the function cards.
The switch card generates a 25 MHz clock signal for the system and distributes it to all the function cards.
The Release 2 switch card has network synchronization logic that allows all LightStream nodes in a network to be referenced from the same time base. The BITS CLK port and the BITS OK LED, which are not functional in Release 2.0, will be used for network synchronization in a future release. (BITS is building-integrated time source, a type of T1 line that supports only clock signals.) This will be useful for constant bit rate applications.
A LightStream node's optional second switch card is used for redundancy rather than loadsharing. The two cards are configured identically. One switch card is active while the other is available as a hot spare. If a failure occurs in the active switch card, cutover to the backup card happens automatically. The active card is always the card in slot A, unless that card is absent, failed, or not powered, or an operator has forced a cutover.
In Release 1 switch cards, cutover--when an active switch card goes out of service and the backup card becomes active--is an unplanned event caused by a problem on the active card. (It may also be caused by an operator's reset or removal of the active card.) Cutover in Release 1 cards causes the system to reboot and involves some loss of data.
In Release 2 switch cards, cutover from one card to the other can happen in the following ways:
If you mix Release 1 and Release 2 switch cards in the same chassis, the Release 2 card will behave like a Release 1 card. (That is, planned cutovers will not be possible. Any cutover involving Release 1 and Release 2 switch cards, whether caused by operator action or initiated by the system itself, will cause the system to reboot.)
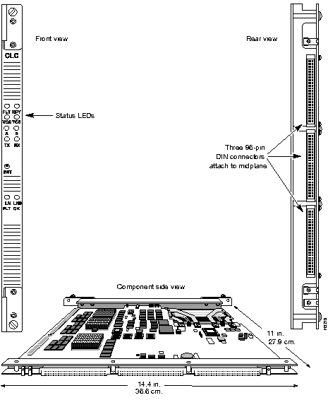
The switch card measures 14.4 in. (36.6 cm.) high by 11 in. (27.9 cm.) deep. (See Figure 2-7.) The switch card weighs 3.4 pounds (1.5 kg.).
The LEDs on the switch card are described in Table 2-4.
There is a recessed reset push-button on the card's front bulkhead. Pushing it causes a full reset of the card.
Release 2 switch cards have a BITS OK LED and a BITS CLK port on the front bulkhead that are not used in Release 2.0.
At the back of the chassis, behind each switch card, is a console/modem assembly consisting of a bulkhead with two connectors mounted on it. The connectors are labeled CNSL and MODEM. The console/modem assembly connects to the midplane via a ribbon cable. Its ports can be used to connect a terminal and modem to the TCS hub on the switch card; from there you can connect to the NP, or to any other function card.
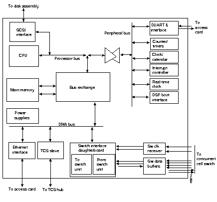
The NP card, an FRU, is the LightStream system's primary computing and storage resource.
In conjunction with the line cards, network management systems, and NPs in other LightStream nodes, the NP performs system-level functions for the LightStream node. These functions include virtual circuit management, network management, maintenance of routing databases, distribution of routing information, and file system management.
Each NP is paired with an NP access card, which resides directly behind the NP in the chassis. The access card provides an Ethernet port that may be connected to carry network management traffic.
Associated with each NP is a 120-Mbyte hard disk drive and a 3.5-inch floppy disk drive. The NP and the disk assembly are connected by a ribbon cable. See "Disk Assembly" section for more information on the disk assembly.
Figure 2-10 shows front, rear, and component side views of the NP.

The Network Processor (NP) is a single-card microcomputer with an interface to the concurrent cell switch. Each NP uses a Motorola 68040 CPU and has 32 Mbytes of DRAM. In addition, the NP has an Ethernet interface to carry network management traffic to and from a network management station or other LightStream nodes, and a SCSI interface for the NP's local hard disk and floppy drive. The NP also has a battery-backed clock/calendar, several counter/timers for performance measurements and event logging, and a TCS slave. Figure 2-11 is a functional block diagram of an NP.
The components in Figure 2-11 are described below.

A LightStream node's optional second NP card serves as a backup. The two cards are configured exactly alike. One NP operates as primary while the other is available as a hot spare. When a failure is detected in the primary NP or in its associated disk assembly, switchover to the backup card happens automatically.
NPs measure 14.4 in. (36.6 cm.) high by 11 in. (27.9 cm.) deep, as shown in Figure 2-10.
Signals are carried from the NP to both the switch card and the NP access card by three 96-pin DIN connectors on the midplane, the NP itself, and the access card.
The LEDs on the NP are described in Table 2-5.
There is a recessed reset push-button on the card's front bulk-head. Pressing it causes a full reset of the card.
Associated with each NP in a LightStream chassis is a disk assembly (see Figure 2-12). The disk assembly is an FRU; it includes a 120-Mbyte hard disk drive, a 3.5-inch floppy disk drive, and a power supply.
The hard disk stores the node's system and application software, hardware diagnostics, and local configuration files.
The lower disk assembly is connected to the NP in slot 1; the upper disk assembly, if present, is connected to the NP in slot 2.

For communicating with other systems, the LightStream 2020 uses four types of line cards:
Each line card is an FRU.
Line cards allow LightStream systems to connect to various other networks and systems, including local area networks (LANs), wide area networks (WANs), metropolitan area networks (MANs), directly connected hosts, and other LightStream systems.
Line cards can be divided into two categories:
In Release 2.0, packet line cards support only edge interfaces. Otherwise, you can configure any line card to be either a trunk or an edge card.
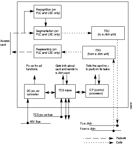
A line card reformats each incoming unit of data as needed, makes the necessary low level routing and congestion avoidance decisions, and forwards the data toward its destination. For each outgoing unit of data, a line card checks for errors, queues the data for transmission through the appropriate interface port, supplies the buffering needed to match the rate between the concurrent cell switch and the interface port, and handles congestion events. Edge cards that handle packets or continuous data streams must also segment incoming data into cells and reassemble outgoing cells into the format required by the external interface.
Since line cards must be capable of handling high data rates and the processing requirements are relatively simple, all routine packet and cell forwarding operations are handled by hardware and firmware. Each line card also includes a line card control processor that handles the more complex tasks that must be executed in a few tens of milliseconds or less. The line card control processor acts as an agent for the NP when an NP needs to query or change the state of a line card. To gather statistics from a line card, for example, an NP sends a message to the line card control processor, and the line card control processor reads the appropriate hardware registers and returns a result to the NP.
Low-speed and packet edge cards accept packets from up to eight lines, chop them into cells, and inject the resulting stream of cells into the switch. In addition, they receive cells from the switch, repackage the data as packets, and send them out of the network. Edge LSCs and edge PLCs also enforce LightStream's backward congestion control scheme by discarding traffic on channels that send faster than their committed and excess rates allow. The cards smooth all datagram traffic that is injected into the switch. Isochronous traffic is injected into the switch on a fixed schedule, to avoid statistical effects that result in unpredictable delays.
Medium-speed edge cards accept ATM cells from up to two T3 or E3 lines, update the cell headers, and forward them to the switch. They send cells received from the switch out of the network. MS cards do not enforce traffic shaping.
Cell edge cards accept ATM cells from up to two OC-3c lines, update the cell headers, and forward them to the switch. They send cells received from the switch out of the network.
Trunk cards of all types accept LightStream cells from one to 15 trunk lines and replace their headers with new values for the next hop. The cells are then injected into the switch. Trunk cards also receive cells from the switch and send them on to the lines with no ATM header field replacement.
A LightStream line card has two major logical portions: a line- specific portion and a generic portion. See Figure 2-13.
The line-specific portion attaches to the external media or system and performs the functions required by that system.

The generic portions of line-card logic perform functions that occur regardless of the line type. These are the functions that pertain to transferring packets through the LightStream network. These functions are summarized below.
Each line card also has a TCS slave, which provides initialization and bootstrap for the line card. It performs local monitoring and power control functions required to support the mission critical features of the LightStream node. The TCS slave communicates with the TCS hub through the midplane.
All line cards measure 14.4 in. (36.6 cm.) high by 11 in. (27.9 cm.) deep. (See Figure 2-14 and Figure 2-15.)
Signals are carried from the line cards to both the switch card and the access cards for the NP by three 96-pin DIN connectors on the midplane, the line card, and the access card. The center connector connects the line card to the switch card and the upper and lower connectors connect the line card to the access card.
Refer to Table 2-6 and Table 2-7 for descriptions of the LEDs on the line cards.
There is a recessed reset push-button on each line card's front bulkhead. Pressing it causes the TCS to reset the line card.
This section describes low-speed line cards. See Figure 2-14 for an illustration.
A low-speed line card configured as an edge card provides eight full-duplex serial lines. The card supports frame forwarding and frame relay interfaces, and a single card can have any mix of frame relay and frame forwarding ports. Physical line interfaces include V.35, X.21 and RS-449. Each port on a low-speed card can operate at speeds up to 3.584 Mbps, although the ports are limited to a maximum aggregate speed of 6 Mbps per line card (regardless of where clock is sourced).
The LS edge card is capable of providing clock in DCE mode. The card can source clock at the following speeds: 56K, 64K, 128K, 192K, 256K, 384K, 448K, 512K, 768K, 896K, 1.344M, 1.536M, 1.792M, 2.688M, 3.584M, 4.000M, and 5.376M.
Each LS edge card requires a low-speed access card. Separate fantails provide V.35, RS-449, or X.21 interfaces.

Access to T1 (DS1) or E1 lines is accomplished through the use of external data service units and channel service units (DSU/CSUs) connected to LightStream fantails over V.35, RS-449 or X.21 serial interfaces. DSU/CSUs are used primarily for long-distance connections with leased lines. A DSU/CSU is not generally necessary for connection to a device in the same building. It is the responsibility of the customer to provide DSU/CSUs; they are not available from LightStream Corp.
Support of fractional T1/E1 services is provided by allowing line speed settings in selected increments of 56 Kbps and 64 Kbps up to a maximum of T1 and E1 rates supported by the external DSU/CSU.
Each line on the LS line card includes a separate interface to control the external DSU/CSU. The interface allows setting loopbacks and carrier channel access configuration in the case of fractional T1. In addition, the interface is used to query traffic and error statistics as well as alarm conditions for local and remote carrier equipment. The control interface is supported by 9-pin male connectors for each port on the V.35 and RS-449 fantails. (X.21 lines do not require DSU/CSU control ports.)
The LSC configured as a trunk card uses the same hardware as the LS edge card, but different software. The number of ports, physical interfaces, line speeds, external DSU/CSU control ports, and access cards are identical to those for the LS edge card. Instead of handling frame relay and frame forwarding traffic, the LS trunk card carries ATM cells embedded in HDLC frames.
This section describes medium-speed line cards. See Figure 2-15 for an illustration.

The MSC configured as a trunk card provides two full duplex lines, each of which can operate at DS3/T3 (45 Mbps) or E3 (34 Mbps) speeds in each direction. ATM cells are carried over these lines.
A single access card for each MS trunk card supports two ports. (No fantails are needed for MS trunk ports.) Three MS access cards are available; one supports DS3/T3 lines and the other two support E3 lines.
The MSC configured as an edge card uses the same hardware as the MS trunk card, described above, but uses different software. The number of ports, physical interfaces, VCCs, line speeds, and access cards are identical to those for the MS trunk card. Instead of handling ATM cell traffic between LightStream nodes, the MS edge card handles ATM UNI traffic between the LightStream network and other ATM devices.
The packet line card (PLC) supports up to 8 full duplex ports with over 100 Mbps of continuous aggregate packet bandwidth. (For future expansion, the card is designed to support up to 15 ports.)
The PLC supports the following access cards:
In Release 2.0, the PLC supports only edge interfaces.
The PLC's control processor is a 25 MHz Motorola 68EC030 microprocessor. Associated with the control processor are 4 Mbytes of DRAM and 1 Mbyte of Flash EPROM that stores bootstrap and POST code.
The PLC supports internetworking functions on the LightStream switch. An important mechanism in this area is the PLC's ability to set up virtual circuits (VCs) on the fly when it encounters streams of traffic not associated with previously known VCs. The PLC's from-line unit (FLU) attempts to recognize incoming traffic as belonging to an established VC. When no match is detected, it buffers the incoming packets of unrecognized traffic and sends the NP the information it needs to set up the VC. Once the setup is complete, the FLU will recognize any subsequent packets for this flow and packet processing proceeds as usual.
The packet line card is shown in Figure 2-16.

The cell line card (CLC) supports up to 2 full duplex ports with over 357K cells per second aggregate bandwidth and can handle bursts up to 893K cells per second. (For future expansion, the card is designed to support up to 15 ports.)
The CLC supports the OC-3c access cards. It supports both trunk and edge interfaces; it can support either one trunk port or two edge ports.
The CLC's control processor is a 25 MHz Motorola 68EC030 microprocessor. Associated with the control processor are 4 Mbytes of DRAM and 1 Mbyte of Flash EPROM that stores bootstrap and POST code.
The cell line card is shown in Figure 2-17.

A LightStream chassis contains one access card per function card. The access cards, which are FRUs, provide the physical interface to which other devices can be connected. Access cards are accessible from the rear of the chassis. Each access card connects to its function card through the midplane.
If you remove or power down an access card, service is disrupted on the associated function card.
Table 2-1 lists the access cards and shows which function card is required for each one.
| Access Card | Function Card |
|---|---|
| LSAC (V.35/RS-449/X.21) | LSC |
| MSAC T3 | MSC |
| MSAC E3 G.804 | MSC |
| MSAC E3 PLCP | MSC |
| Ethernet | PLC |
| FDDI | PLC |
| OC-3c (single mode & multimode versions) | CLC |
| NPAC | NP |
(In addition, console/modem cable assemblies provide connectors for each switch card.)
Each access card measures 14.4 in. (36.6 cm.) high by 7 in. (17.9 cm.) deep.
The V.35/RS-449/X.21 low-speed access card (LSAC) operates in conjunction with the low-speed line card. It can support up to eight I/O ports. To accommodate those ports, the card has two 100-pin connectors. These connectors can be attached to interface-specific fantails (V.35, RS-449, or X.21) that hold the connectors for the I/O ports. (See "Fantails" section for more information on fantails.)
In conjunction with external DSU/CSUs, low-speed access card ports can be connected to DS1 (T1) or E1 lines.
The low-speed access card has a group of user-settable jumpers that allow you to select the card's interface type (V.35 or RS-449/X.21). For instructions on setting the interface jumpers, see "Setting Interface Jumpers on the LS Access Card" section.
Figure 2-18 shows front, rear and component side views of the low-speed access card.
T3 medium-speed access cards (which are labeled MSAC) operate in conjunction with medium-speed line cards. T3 access cards support up to two ports each. Each T3 access card has four 75-ohm BNC coaxial jacks that provide DS3-compliant connections. Each port consists of two connectors: one for the receive channel and one for the transmit channel.
The LEDs on the T3 access card are described on Table 2-10.
Each access card contains internal DSU/CSUs that can connect directly to a leased T3 line. T3 access card ports can also connect LightStream nodes directly at distances up to 900 feet (274 meters).
Figure 2-19 shows front, rear and component side views of the T3 access card.

E3 medium-speed access cards (which are labeled MSAC) operate in conjunction with medium-speed line cards. E3 access cards support up to two ports each. Each E3 access card has four 75-ohm BNC coaxial jacks that provide G.703-compliant connections. Each port consists of two connectors: one for the receive channel and one for the transmit channel. The LEDs on the E3 access card are described in Table 2-10.
Each access card contains internal DSU/CSUs that can connect directly to an E3 line. E3 access card ports can also connect LightStream nodes directly at distances up to 1900 feet (579 meters).
Two versions of the E3 access card are offered to support different methods of framing:
Figure 2-20 shows front, rear and component side views of the E3 access card.

The Ethernet access card (EAC) operates in conjunction with a packet line card. Each Ethernet access card supports up to eight IEEE 802.3 Ethernet ports. The ports are of two types:
Although it supports eight ports, the access card has 10 I/O connectors. Ports 1 through 6 are female RJ-45 connectors that support twisted pair only. Ports 0 and 7 each have two connectors: one female RJ-45 for twisted pair connections and one female DB-15 for AUI (attachment unit interface) connections. Only one of the two connectors for each port may be used at a time.
A line attached to a twisted pair port on the EAC must be connected to a 10Base-T hub or concentrator. As shown in Figure 2-21, a line attached to an AUI port must be connected to a 10Base2 or 10Base5 transceiver, or medium attachment unit (MAU). The EAC's LEDs are described in Table 2-11. Figure 2-22 shows front, rear and component side views of the card.


The FDDI access card (FAC) operates in conjunction with a packet line card. It allows the LightStream 2020 to connect to any network compliant with the ANSI standards for FDDI.
Figure 2-23 shows front, rear and component side views of the FDDI access card. The LEDs on the FDDI access card are described in Table 2-12.
Each FDDI access card supports two multimode FDDI ports. Each port supports a single-MAC station that can function in either dual-attached mode or dual-homed mode. The station management task (SMT) facility adheres to SMT version 7.3 as defined in ANSI X3T9.5.
Each port consists of two media interface connectors (MIC), keyed and labelled as MIC A and MIC B. In addition, one 6-pin DIN connector per port is provided for an optional optical bypass cable. This connector lets you attach an external optical bypass relay to provide additional fault tolerance in the dual ring. The FAC senses the presence of the optical bypass relay and switches it in or out at the appropriate times.
The power loss budget for LightStream FDDI connections is 11 dB. Higher loss, which could result from passing the signal through overly long cables or through too many connectors, may cause signal attenuation and data loss.
We recommend that you attach a protective cover to any FDDI port that will be unconnected for more than a brief period. (Covers are shipped with each FDDI card.) The cover protects the optical media from dust and damage, which can cause signal attenuation and data errors.
The FAC has two CAM (content-addressable memory) chips that filter out incoming packets that are addressed to stations on the same FDDI ring as the LightStream FDDI interface (and hence do not need to be bridged). The CAMs relieve the packet line card of much of the filtering load.

OC-3c access cards operate in conjunction with cell line cards. Four versions of the OC-3c access card are available, with the options shown in Table 2-2. The cards are labelled OC3AC MM (for multimode) or OC3AC SM (for single mode). All versions of the card operate at a wavelength of 1300 nanometers.
| No.of ports | Fiber Type | Connector Type | Transmit Power | Receive Power |
|---|---|---|---|---|
| 2 | Single mode | ST | -15/-8 dBm | -34/-7 dBm |
| 2 | Multimode | Duplex SC | -20/-14 dBm | -30/-14 dBm |
| 1 | Single mode | ST | -15/-8 dBm | -34/-7 dBm |
| 1 | Multimode | Duplex SC | -20/-14 dBm | -30/-14 dBm |
A one-port OC-3c access card can run at full duplex at full line speed. A two-port card handles cells as fast as the switch card can deliver and receive them. The maximum sustained rate is about 1.1 OC-3c's total. Both ports can simultaneously receive bursts at full OC-3c speed, but the TSU cell buffers eventually fill, and TSU flow control forces the card to drop cells at the receive ports.
Figure 2-24 and Figure 2-25 show 2-port multimode and single mode OC-3c access cards, respectively. The LEDs on OC-3c access cards are described on Table 2-13.
The power loss budgets for OC-3c connections are as follows:
Higher loss, which could result from passing the signal through overly long cables or through too many connectors, may cause signal attenuation and data loss.


Each port on the single mode version of the OC-3c access card has a toggle switch and a green LED labelled Safe. The switch enables and disables the port's transmit laser, which can cause eye damage if left enabled when the port is unconnected. See "Turning Off the Transmit Laser on the OC-3c Access Card" section if you need instructions on turning the transmit laser on or off.
![]() | Warning Do not look directly into the connectors on a single mode OC-3c access card whose Safe LED is turned off. The transmit laser can damage your eyes. |
(Multimode ports are not dangerous, and therefore do not have disable switches.)
We recommend that you attach a protective cover to any OC-3c port that will be unconnected for more than a brief period. (Covers are shipped with each OC-3c card.) The cover protects the optical media from dust and damage, which can cause signal attenuation and data errors.
The NP access card supports one Ethernet port and a pair of serial ports. The Ethernet port can be used to connect the NP to an Ethernet for purposes of managing the LightStream system. The two serial ports are used for module testing and debugging.
Figure 2-26 shows front, rear and component side views of the NP access card.

Each low-speed interface module (line card/access card pair) supports up to eight ports. The necessary connectors are provided by fantail devices, shown in Figure 2-27. Fantails, which are FRUs, provide connectors for four to eight ports each. Up to two fantails per low-speed interface module may be required.
Three types of fantail are available:
LightStream fantails measure 1.75 in. (1 rack unit, or 4.5 cm.) high by 19 in. (48.3 cm.) wide, and weigh 2 lb. (0.9 kg.). They are designed to fit standard 19-inch equipment racks.
Special 100-pin cables, supplied by LightStream Corp., are used to connect fantails to low-speed access cards (LSACs). To connect a V.35 or RS-449 fantail to its access card, one cable is required. To connect an X.21 fantail to its LSAC, you can use one or two cables, depending on the number of ports you wish to use. Each of the connectors on the back of the X.21 fantail (see Figure 2-27) serves four ports on the front of the fantail. (The connector on the left serves ports 0 - 3; the connector on the right serves ports 4 - 7.) If you wish to use up to four ports on the X.21 fantail, you can connect it to the LSAC with a single cable. If you wish to use 5 or more ports, you must use two cables.
In addition to the four port connectors, each V.35 and RS-449 fantail has four 9-pin male D-type RS-232 connectors for DSU/CSU control ports (also known as craft ports). (X.21 fantails do not have DSU/CSU connectors.) If a port's DSU/CSU control port is connected to an external DSU/CSU device, you can use the csumon utility to set up and monitor the DSU/CSU from the LightStream 2020. See the LightStream 2020 Operations Guide for more information on csumon.
Using switches on the X.21 fantail, each X.21 port can be set to either DTE or DCE. The connectors on the fantail are female, the standard for DCE. If you set an X.21 port to be a DTE, you must attach a 15-pin male-to-male gender converter to change the connector on the fantail from female to male.
The X.21 cable available from LightStream can be used for both DTE and DCE X.21 ports. See the LightStream 2020 Site Planning and Cabling Guide for information on cables.

Figure 2-28 shows how fantails connect to the LS access card.

There are a number of LEDs on the bulkheads of many cards in a LightStream switch. They serve several purposes:
The switch card, NP and line card LEDs are visible from the front of the LightStream chassis. The LEDs on the access cards are visible from the rear of the chassis.
The fault (FLT) LED on a line card, NP, or switch card may turn on for several reasons, which are described in the Table 2-3 below.
| Cause of Lit FLT LED | Confirming the Cause | What to Do About It |
|---|---|---|
| Card's POST failed | Use show tcs <slot#> command in CLI. If POST field says Failed, see column at right. | See "Hardware Troubleshooting" section for instructions on running diagnostics on the card. (You may want to bring up the rest of the system first.) |
| Card's temperature is out of normal range | Use show tcs <slot#> command in CLI. Current temperature readings and maximums are listed in Slot State section of display, near bottom. If temp reading exceeds warning or shutdown temp, see column at right. | Check blowers (see "Troubleshooting Blowers" section) and make sure air flow into, through and away from chassis is unrestricted. Note that leaving chassis open can cause temp problems. To ensure proper air flow, make sure all components, cards, and bulkhead filler panels are firmly screwed in place. |
| Card's voltage is out of normal range | Use show tcs <slot#> command in CLI. Voltage readings are listed in Slot Voltage section of display, near bottom. If any voltage is outside the listed normal range, see column at right. | Call your support representative for instructions on margining the voltage. |
| Card's application is disabled | Use show tcs <slot#> command in CLI. If Application field says Disabled, see column at right. | Use the CLI command set card <slot#> active to enable the card. |
| Function card and access card in this slot are not compatible | Check cards in slot at front and rear for mismatches. (Mismatched cards also fail to power up.) | Ensure that function card and access card in each slot are compatible. Refer to Table 2-1 for compatibility. |
| Function card's flash EEPROM is being loaded | Wait 7 to 8 minutes. When flash load is complete, FLT LED goes off. |
This section describes the LEDs on all LightStream cards.
| Name | Color | Description |
|---|---|---|
| FLT
(fault) | Yellow | Blinks to indicate that POST is running. Turned on by power-on reset, turned off when POST passes. Shines steadily to signal a problem. |
| RDY
(ready) | Green | Controlled by the TCS hub. Blinks while POST runs. When tests complete and are passed, light stays on continuously. LED is turned off by power-on reset. The READY light indicates that TCS is ready to use either hub as the primary hub, or to take over from the primary in case of failure. This LED remains lit if one port is having a problem, as long as the overall functionality of the board is intact. |
| TCS | Green | Illuminates when TCS hub has power. |
| VCC (power) | Green | Illuminates when the board has power. |
| TCS SEL | Green | Indicates that the TCS hub on this card is primary. Console output is directed to the SWC with this LED lit. |
| BITS OK | Green | To be implemented in a future release. |
| Name | Color | Description |
|---|---|---|
| FLT
(fault) | Yellow | Blinks to indicate that POST is running. Turned on by power-on reset, turned off when POST passes. Shines steadily to signal a problem. |
| RDY
(ready) | Green | Controlled by the TCS slave. Blinks while POST runs. When tests complete and are passed, the light stays on continuously. Turned off by power-on reset. |
| VCC (power) | Green | Illuminates when main 5 volt supply on the card is turned on. |
| TCS | Green | Illuminates when the 5 volt TCS power supply on the card is active. Should be lit whenever the bulk power supply is turned on. |
| A | Green | Illuminates when the active TCS hub is on the switch card in slot A. |
| B | Green | Illuminates when the active TCS hub is on the switch card in slot B. |
| TX | Green | Illuminates when the TSU is sending a non-null cell. |
| RX | Green | Illuminates when the FSU is receiving a non-null cell. |
| Name | Color | Description |
|---|---|---|
| FLT
(fault) | Yellow | Blinks to indicate that POST is running. Turned on by power-on reset, turned off when POST passes. Shines steadily to signal a problem. |
| RDY
(ready) | Green | Blinks while POST runs and illuminates continuously when POST completes and passes. Turned off by power-on reset. |
| VCC
(power) | Green | Illuminates when the card's main 5V supply is within normal levels. |
| TCS | Green | Illuminates when the 5V TCS supply is within normal levels. |
| A | Green | Illuminates when the active TCS hub is on the switch card in slot A. |
| B | Green | Illuminates when the active TCS hub is on the switch card in slot B. |
| TX | Green | Illuminates when the TSU is sending a non-null cell. |
| RX | Green | Illuminates when the FSU is receiving a non-null cell. |
| 0 - 7 | Green | Indicates that the port indicated is active. |
| Name | Color | Description |
|---|---|---|
| FLT
(fault) | Yellow | Blinks to indicate that POST is running. Turned on by power-on reset, turned off when POST passes. Shines steadily to signal a problem. |
| RDY
(ready) | Green | Blinks while POST runs and illuminates continuously when POST completes and passes. Turned off by power-on reset. |
| VCC
(power) | Green | Illuminates when the card's main 5V supply is within normal levels. |
| TCS | Green | Illuminates when the 5V TCS supply is within normal levels. |
| A | Green | Illuminates when the active TCS hub is on the switch card in slot A. |
| B | Green | Illuminates when the active TCS hub is on the switch card in slot B. |
| TX | Green | Illuminates when the TSU is sending a non-null cell. |
| RX | Green | Illuminates when the FSU is receiving a non-null cell. |
| 0, 1 | Green | Indicates that the port indicated is active. |
| Name | Color | Description |
|---|---|---|
| FLT
(fault) | Yellow | Blinks to indicate that POST is running. Turned on by power-on reset, turned off when POST passes. Shines steadily to signal a problem. |
| RDY
(ready) | Green | Blinks while POST runs and illuminates continuously when POST completes and passes. Turned off by power-on reset. |
| VCC
(power) | Green | Illuminates when the card's main 5V supply is within normal levels. |
| TCS | Green | Illuminates when the 5V TCS supply is within normal levels. |
| A | Green | Illuminates when the active TCS hub is on the switch card in slot A. |
| B | Green | Illuminates when the active TCS hub is on the switch card in slot B. |
| TX | Green | Illuminates when the TSU is sending a non-null cell. |
| RX | Green | Illuminates when the FSU is receiving a non-null cell. |
| LN FLT
(line fault) | Yellow | Illuminates when at least one configured port is not functioning properly. If a port's administrative and operational status is up, but no cable is connected, this LED goes on. |
| LNS OK
(lines OK) | Green | Illuminates when at least one configured port is functioning properly. Goes off if all ports' administrative/operational statuses are down, or if all active ports have errors or missing cables. |
| Name | Color | Description |
|---|---|---|
| FLT
(fault) | Yellow | Blinks to indicate that POST is running. Turned on by power-on reset, turned off when POST passes. Shines steadily to signal a problem. |
| RDY
(ready) | Green | Blinks while POST runs and illuminates continuously when POST completes and passes. Turned off by power-on reset. |
| VCC
(power) | Green | Illuminates when the card's main 5V supply is within normal levels. |
| TCS | Green | Illuminates when the 5V TCS supply is within normal levels. |
| A | Green | Illuminates when the active TCS hub is on the switch card in slot A. |
| B | Green | Illuminates when the active TCS hub is on the switch card in slot B. |
| TX | Green | Illuminates when the TSU is sending a non-null cell. |
| RX | Green | Illuminates when the FSU is receiving a non-null cell. |
| LN FLT
(line fault) | Yellow | Illuminates when at least one configured port is not functioning properly. If a port's administrative and operational status is up, but no cable is connected, this LED goes on. |
| LNS OK
(lines OK) | Green | Illuminates when at least one configured port is functioning properly. Goes off if all ports' administrative/operational statuses are down, or if all active ports have errors or missing cables. |
| Name | Color | Description |
|---|---|---|
| RXC
(receive clock) | Green | Illuminates when a DS3 transmitter is present at the other end of the connection. Goes out to indicate that clock is not being received. |
| OOF
(out of frame) | Yellow | Illuminates when the DS3 transmitter at the other end of the connection is not sending framing pulses. |
| FERF
(far end receive failure) | Yellow | Illuminates when the DS3 transmitter at the other end of the connection is not receiving framing pulses from this port. |
| AIS
(alarm indication signal) | Yellow | Illuminates when a device between this port and the remote end of the connection is not receiving framing pulses from the remote end. |
| Name | Color | Description |
|---|---|---|
| 0 - 7
(port LEDs) | Green | Illuminates when the port indicated is receiving or transmitting packets. |
| FLT
(fault) | Yellow | This LED echoes the behavior of the LN FLT (line fault) LED on the PLC in the same slot. |
| VCC
(power) | Green | Illuminates when the card's main 5V supply is within normal levels. |
| Name | Color | Description |
|---|---|---|
| FLT
(fault) | Yellow | This LED echoes the behavior of the LN FLT (line fault) LED on the PLC in the same slot. |
| VCC
(power) | Green | Illuminates when the card's main 5V supply is within normal levels. |
| 0A, 0B, 1A, 1B
(port LEDs) | Green | Illuminates when the port indicated is ready to transmit or receive data. |
| Name | Color | Description |
|---|---|---|
| SD
(signal detect) | Green | Illuminates when an incoming signal is detected on the port indicated. If this LED goes out, it may indicate either a loose cable or a fault in the remote device. |
| OOF
(out of frame) | Yellow | Illuminates when the device at the other end of the connection is not sending framing pulses. |
| FERF
(far end receive failure) | Yellow | Illuminates when the device at the other end of the connection is not receiving framing pulses from this port. |
| AIS
(alarm indication signal) | Yellow | Illuminates when a device between this port and the remote end of the connection is not receiving framing pulses from the remote end. |
| Safe
(Single mode cards only) | Green | Illuminates when the transmit laser on the port is shut off, so there is no danger in looking at the connectors. |
Most communications between components (cards) within a LightStream node involve the passing of messages through the concurrent cell switch. However, there are some LightStream functions that cannot be performed through the switch, including initialization, low-level control, and nondisruptive servicing (diagnostics and maintenance). LightStream has an integrated Test and Control System (TCS) to perform these functions.
The TCS provides diagnostic and control functions that
To meet these needs, the TCS consists of a single-chip microcomputer on every line card, NP, and switch card in the LightStream node. The microcomputer on line cards and NPs is called a TCS slave: the microcomputer on the switch card is called a TCS hub. Each slave is connected to one hub (or in systems with redundant switch cards, two hubs) by a point-to-point serial link. Messages can flow from slave to hub, from hub to slave, or from slave to slave (using the hub as an intermediary).
Each TCS microcomputer (hub or slaves) stores a copy of its card's vital statistics (for example, serial number, card type), and data needed to initialize and run the card. The job of each TCS chip is to manage the low-level functionality of its card. It supervises such functions as power supply sequencing, logic reset, soft logic loading, loading and monitoring of power-on self tests, and application program loading and startup. It also provides on/off control and voltage margining of the on-card DC-DC converters, handles updates to the card's EEPROM memory, and monitors air temperature.
The TCS provides access to each card in the system for diagnostics and maintenance operations via a local or remote console connection. When a card has been newly installed, for example, you can load and run diagnostics on the card without disturbing the rest of the system.
The LightStream chassis takes in cooling air from the front. The air is drawn up through the chassis and is exhausted from the back and the right side by blower units like the one shown in Figure 2-29.
There are two blowers in each LightStream system, located at the top of the chassis. One blower is accessible from the front and the other is accessible from the rear. Each blower is an FRU. During normal operation, both blowers should be running. If one blower fails, the system can continue to operate; however, the failed blower should be replaced as soon as possible.
Each blower has a green LED that illuminates to indicate that the impeller is spinning at a rate of at least 1500 rotations per minute. On the rear blower, the LED is visible through the blower cover. You must remove the blower cover to see the LED on the front blower.
The blowers have two speeds, and normally run at low speed. They run at high speed for 90 seconds after the system is first powered on, and then slow down. The decrease in speed is audible to anyone standing near the chassis.

In addition to the main air flow through the LightStream chassis, each bulk power tray in an AC-powered system contains its own fans.
The cooling system operates properly only when all cards, bulkheads, filler panels, covers, and components are in place. Removing these items disrupts the flow of air through the chassis. As a result, components may be shut down due to overheating.
In a LightStream switch, a bulk power tray unit converts power from an external source to bulk DC voltage before distributing DC power to the individual function and switch cards. The nominal voltage of the bulk power unit is 48 volts.
There can be one or two power trays in each LightStream chassis; each power tray is an FRU. If there are two power trays, both are connected to a 48-volt rail so that either tray can drive the entire system.
LightStream systems are available with two power options:
Power trays are accessible from the rear of the chassis; they are located to the right of the access cards. The power tray slots are designated A (on top) and B (on the bottom).
Each card in a LightStream switch converts bulk power to its point-of-use voltages. The power converters on each card are controlled separately by the associated on-card TCS slaves. Each TCS slave can turn its converter on and off and voltage-margin the converter. This arrangement allows for a non-disruptive hot-swap capability and aids in fault diagnosis.
The TCS is powered independently from the rest of the system so that it can control power and run margining tests without impairing its own operation. TCS power is distributed from the switch card to all other cards in the chassis.
AC power supplies accept input power over a continuous range from 100VAC to 240VAC and from 50 Hz to 60 Hz. No adjustment or configuration is required. An AC power supply is shown in Figure 2-30.
Each power supply has a green LED, visible through the cover from the rear of the chassis, that comes on when the system is powered up.
Each AC-powered LightStream system has a recessed male power inlet that conforms to IEC standard 320 C20; it requires a power cord with an IEC 320 C19 connector. See the LightStream 2020 Site Planning and Cabling Guide for more information on power cords.

DC-powered LightStream systems accept power over a continuous range from -43VDC to -60VDC. No adjustment or configuration is required. Power from an external -48VDC source is brought into the system by the DC power tray. A DC power tray is shown in Figure 2-31.
The green LED on each DC power tray illuminates to indicate the presence of DC power. The LED, which is mounted on the power tray and is visible from the rear of the chassis, is connected after the circuit breaker and before the isolation diodes. This allows the LED to indicate the presence or absence of power individually for each tray, prior to the or-ing of the power feeds.
DC-powered LightStream systems do not use detachable power cords; they must be permanently wired to a DC power source by qualified service personnel. Systems with the optional second power tray can be wired from a dual power feed. (For more information, refer to the procedure Wiring a DC-Powered System on "Wiring a DC-Powered System" section.)

Each DC power tray has a circuit breaker that turns system power on and off; it can be tripped by an electrical event or operated manually.
![]() | Warning To turn off power in a DC system with two power trays, you must set the circuit breakers on both trays to off. |
The DC power tray is equipped with a circuit breaker alarm that can optionally be connected to an external device such as a light panel. When the circuit breaker is tripped, the alarm is triggered, notifying you that the system is no longer receiving power through that power tray.
The COM (common), NO (normally open), and NC (normally closed) contacts on the DC power tray provide the alarm signal by indicating whether the circuit breaker is open (off/tripped) or closed (on). Table 2-14 summarizes the possible positions of the contacts.
| Circuit Breaker Position | NC Contacts | NO Contacts |
|---|---|---|
| Off (tripped) | Closed | Open |
| On | Open | Closed |
Safety Instructions ² Installing the Switch in a Rack ² Wiring a DC-Powered System ² Installing Fantails ² Attaching Data Cables ² Closing the Chassis ² Powering Up ² Basic Configuration ² Installing Management Software on a Sun
This chapter provides procedures for unpacking a LightStream 2020 enterprise ATM switch, installing it in an equipment rack, installing fantails and cables, powering up the system, and performing basic configuration. It also tells you how to install LightStream management software on a Sun workstation.
Before starting the procedures in this chapter, do the following:
![]() | Warning LightStream switches are designed and manufactured to meet accepted safety standards. However, improper use can result in electrical shock, fire hazards, and personal injury. Read all of the following instructions carefully before installation and use. Note and adhere to all Cautions and Warnings. |
Static electricity can damage or degrade electronic components. To avoid damage, observe the following precautions when you touch hardware.
Before you expose circuitry, you, the rack, and the circuit boards must be at the same ground potential to prevent damaging ESD. To connect yourself to ground, use a wrist strap connected to one of the system's grounding jacks, or to the bare metal surface of the system frame.
All spare cards are shipped in reusable antistatic shielding bags. When cards are not installed in the machine, keep them in antistatic bags. Do not remove cards from their bags unless you are grounded. Do not place these bags on exposed electrical contacts, where they can cause short circuits.
If you haven't done so already, unpack the LightStream switch following the steps below.
Step 1 Before moving the shipping container from your loading dock, inspect it for any signs of in-transit damage.
Step 2 Transfer the container to the systems area.
Step 3 Cut the straps and lift the cardboard box off the chassis. Remove the packing material.
Step 4 Inspect all external surfaces for signs of damage. Pay special attention to any areas where you noticed damage to the shipping container.
Step 5 Document any damage noted during the inspections and notify your LightStream vendor.
This section explains how to rack mount a LightStream chassis.
A LightStream chassis takes in cooling air through the bottom of the front panel and exhausts it at the top rear and the right side. (The air vents on the right side can safely be covered by the rack side panels, but should not be otherwise blocked.) To minimize thermal problems, position the chassis such that:
Have the following items on hand before you begin rack installation:
Follow these steps to rack-mount the LightStream chassis:
Step 1 Ensure that the power cord to the system is disconnected (AC-powered systems only).
Step 2 Put on the ESD wrist strap and connect it to a grounding jack. (There are jacks on LightStream's front and rear panels.)
Step 3 To make the chassis lighter, remove the blowers (top front and rear) and power supplies (right rear). Blowers and power supplies are located behind removable covers, shown in Figure 3-1 and Figure 3-2. If your system is fully configured with line cards, you may also want to remove some or all of these cards. Place all removed components in antistatic shielding bags or on antistatic mats.
Step 4 Determine the position in the rack that the LightStream switch will occupy. Then attach the clip nuts from your country kit or rack mounting kit to appropriate places on the rack rails. See Figure 3-1 for screw positions. (If your rack has metric-threaded or nonstandard rails, you may need to provide your own mounting hardware.)

Step 5 Lift the LightStream chassis into the rack.
![]() | Caution Do not use the handles on the disk assemblies to lift the chassis. These handles, shown in Figure 3-1, are not designed to support the system's weight; they will break off under stress. |
Step 6 Using the mounting screws and washers included in your country kit or rack mounting kit, attach the flanges on the front of the chassis to the rack.
Step 7 Replace the blowers, power supplies, boards, and covers that you removed before you lifted the chassis into the rack.

The procedure in this section explains how to wire a DC-powered LightStream switch to a DC power source. This task should be performed by qualified service personnel or a licensed electrician.
This section applies only to systems with the DC power option. If you have a standard AC-powered system, skip to "Installing Fantails" section.
For more information on DC-powered LightStream systems, see "DC-Powered Systems" section and the LightStream 2020 Site Planning and Cabling Guide.
The person who wires the system should have several items on hand:

![]() | Warning This wiring task should be performed only by a licensed electrician or by qualified service personnel. It may expose untrained personnel to hazardous voltages. |
Step 1 Ensure that the circuit breaker/power switch on each DC power tray is set to off.
Step 2 Ensure that power to the circuit you will connect to the LightStream system is off.
Step 3 Connect the power wires, using the slot-tipped screwdriver to adjust the terminals. Do not remove the terminal covers at the base of the terminal block.
Step 4 If you plan to connect the alarm circuit, first remove the plastic terminal block cover (see Figure 3-3) and save it.
Step 5 Connect the alarm wires, using the Phillips screwdriver to adjust the terminals.
Step 6 Replace the terminal block cover you removed in step.
Step 7 If the LightStream system has two power trays, repeat this procedure for the second tray.
Step 8 When you turn on the power, check the green power LED on the front of each power tray. If the LED does not light up, check for misconnected wires or problems in your power circuit.
This section explains how to mount and connect LightStream fantails (Figure 3-4), which provide connectors for data cables on low-speed (V.35, X.21 and RS-449) lines.
If your system has no low-speed line cards, skip this section and proceed to "Attaching Data Cables."

Follow the steps below to install LightStream fantails.
Step 1 Select a spot on the rack to mount the fantail. Attach the four clip nuts provided with the fantail to the appropriate holes in the rack rails.
Step 2 Put on the ESD wrist strap and connect it to the grounding jack on the rear of the chassis.
Step 3 Attach the fantail cable (or cables, if you're installing an X.21 fantail) to the back of the fantail and to the corresponding access card in the chassis. (It's easiest to do this now; if you install the fantail first, you have to reach behind it and attach the cable to a connector you can't see.) The cable is reversible; you can connect either end to the fantail. Don't rest the weight of the fantail on the cable.
Step 4 Using a slot-tip screwdriver and the mounting screws and washers provided, attach the fantail to the equipment rack.
Step 5 Label the fantail with the slot number or name of the interface module it's connected to.
Step 6 If you are mounting an X.21 fantail, set the DTE/DCE switches for each port to the desired mode. (See "Configuring X.21 Ports as DTE or DCE" section for complete instructions on configuring X.21 ports as DTEs or DCEs.) If you select a DTE interface, note that you must install a gender converter on each DTE port to change the female connector to male.
Step 7 Repeat this procedure to install additional fantails.
This section tells you how to attach data cables to your LightStream switch.
Step 1 If you have any FDDI cards, install connector keys provided by the cable vendor onto your FDDI cables. The keys make it impossible to attach a cable to the wrong kind of connector on the card.
Step 2 If you have any OC-3c or FDDI cards, remove and save the protective covers on the ports that will be used. Leave any unused ports covered.
Step 3 Connect any available external data cables. (Refer to the LightStream 2020 Site Planning and Cabling Guide for details on data cables and connectors.) If you have any Ethernet cards, note that although there are 10 physical connectors, each card supports only eight ports.
Before powering up, check the front and back of the system to see that all boards, disks, blowers, bulkheads, filler panels, and covers are in place and firmly screwed to the chassis frame. When all these items are in place, they form an enclosure that serves three important functions:
Use the procedure below to turn on a LightStream switch.
Step 1 If you have a DC-powered system, skip to step. If you have an AC-powered system, plug the power cord into the power inlet at the lower right corner of the rear panel and into a dedicated power socket. The power inlet has a wire clip called a bail latch that you can use to secure the power cord to the chassis.
Step 2 For AC-powered systems: Flip the power switch located on the rear of the system next to the power inlet.
For DC-powered systems: Flip the power switch located on the power tray panel. If your system has two power trays, you must flip the switches on both trays to turn the system on or off.
When the system powers up, the blowers start running, then TCS powers up the cards and starts the power-on self tests (POST). LEDs indicate the status of the cards and other components, as described in the flow chart in Figure 3-5. The power-up sequence including POST takes 1 minute or less.
Step 3 If the green ready (RDY) LED on each card comes on, proceed to the next section, "Install Modems." If a yellow fault (FLT) LED stays lit on any card (indicating a problem), do one of the following:

This section explains how to attach a terminal to a newly-installed LightStream switch and enter basic configuration information in response to prompts from LightStream software. You must perform basic configuration for each NP in your system.
Before you start the procedures, collect the following information:
Details on the required information are presented in the subsections that follow.
You must create a password for each of the four default login accounts on the switch--root, oper, npadmin and fldsup. (See the LightStream 2020 Administration Guide for more information on the default login accounts.)
A password must be at least six characters long. It can be as long as you wish, but only the first eight characters are used. Any combination of characters is acceptable, including spaces.
You must assign a host name to each LightStream network node. Typically, the host name might be chosen to remind you of the node's location, either geographically (e.g. Tokyo2) or within the functional structure of the enterprise (e.g. mfg3 for a manufacturing function).
The name can be made up of any combination of letters and numbers, up to 32 characters long, but it must not begin with a number. Thus, Pensacola23 is a valid host name, but 23Pensacola is not a valid name (it begins with a number) and Pensacola.23 is not a valid name (it contains a character that is neither a letter nor a number).
For each node, you must provide from one to four IP addresses and the associated network masks, as follows:
For more information on management addresses, see the LightStream 2020 Configuration Guide. If you do not understand IP addresses, if you do not understand subnetting, or if you do not know what the class of your LightStream network is, refer to Appendix B.
For each trunk port you configure, you need to know:
If you need more information on trunk port configuration, refer to the LightStream 2020 Configuration Guide.
The procedures in this section use the following commands:
Follow this procedure to connect a terminal to your switch. Go on to the procedure that follows to establish a connection to the network processor (NP).
Step 1 Connect a VT100-compatible terminal to LightStream's console port.
Switch card slots on the front of the chassis are labeled A and B, as are the slots that hold the console and modem ports on the back of the chassis. If the primary TCS hub is on the switch card in slot A, connect to the console port in rear slot A. If the primary hub is on switch card B, connect to console port B.
Step 2 Set up the terminal as described in Table 3-1 below.
Baud Rate | 9600 (transmit and receive) |
|---|---|
| Character Size | 8 bits |
| Parity | none |
| Stop Bits | 1 |
| Xoff | at 64 |
| New Line | No (do not send CR-LF) |
Step 3 If you can connect at 9600 baud, skip the rest of this procedure and go on to Connecting to an NP, below. If you don't have 9600 baud but you do have 1200 baud, 2400 baud, or 19,200 baud, press [Break] three times as soon as you connect. This activates the baud rate selection mechanism.
Step 4 Once baud rate selection is activated, the port's baud rate changes every time you press [Break] again. Press [Break] slowly until you can read "OK" on your screen. (At each new baud rate, the system attempts to display "OK" on your screen. Your display becomes legible when the terminal and port baud rates match.)
Follow this procedure to establish a terminal connection to the network processor (NP) in you LightStream switch. (This procedure assumes that you have already connected a terminal to the switch, as described the previous procedure.)
Step 1 Power up the LightStream node or use the reset <slot#> command at the TCS hub prompt to reset the NP in a running node. (The NPs reside in slots 1 and 2.)
Step 2 Use the connect <slot#> command to connect to the NP that you want to configure. This example assumes that you're connecting to the NP in slot 1:
TCS hub<<A>> connect 1
Step 3 When you connect, part or all of the following countdown appears on your screen. Do not press [Return]; allow the system to boot.
System will boot in 5 seconds: hit <RETURN> to interrupt. System will boot in 4 seconds: hit <RETURN> to interrupt. System will boot in 3 seconds: hit <RETURN> to interrupt. System will boot in 2 seconds: hit <RETURN> to interrupt. System will boot in 1 seconds: hit <RETURN> to interrupt.
The screen displays for the boot sequence are shown in "Entering Configuration Data" section.
In the procedure that follows, Entering Configuration Data, two scripts that prompt you for basic configuration information are automatically invoked. If you make a mistake in entering any of the information for which the scripts prompt you, you can run them again separately. Just type the name of the script you want to run (see below) at the bash# or single-user$ prompt. Note that these scripts are intended for use only during installation.
When you run them from the command line, the scripts behave very much as they do in the procedure. One difference is that setsnmpconfig checks for the presence of configuration files (these files will not be present during a typical installation of a new switch). If the system finds configuration files, it asks if you want to delete them:
Configuration information already exists. If you continue, the configuration information on this network node will be destroyed by overwriting the following files: /usr/app/base/config/configure.netdb /usr/app/base/config/mma.db.dir /usr/app/base/config/mma.db.pag Continue? (y/n) [n]
![]() | Caution If you answer y (yes) to this query, the system overwrites the existing configuration files for this node; their contents are lost. |
If configuration files are present and you choose not to delete them, the setsnmpconfig script cannot continue; it exits and returns you to the command line.
If no configuration files are present, or if they are present and you choose to delete them, the script prompts you for network management information, as shown in the procedure below.
In this procedure, you are prompted to enter basic configuration information such as IP addresses and login passwords. (The information you must enter is listed in "Required Information" section.) This procedure assumes that you have already started booting, as previously described. The boot initiates the scripts that prompt you for configuration information.
Step 1 Observe the system's boot display:
**** LynxOS is down **** ***booting: drive:0, partition:0, kernel:"lynx.os", flags:0x4308 Resetting SCSI bus Kernel linked for 0xea010000 LOAD AT 0x10000 471040+40960+136260[ 61824+50608] TOTAL SIZE: 745080 at 0x1001c START AT 0x10020 NP memory size: 32 MB ILACC: EEPROM enet addr:8:0:8:0:14:25, Silicon Rev:0x5, IB:0xea146620 virtual console: IB: 0xea139d20 NCR 53C710: Chip Revision: 0x2, IB: 0xec13d000 LynxOS/68040-MVME167 Version 2.1.0 Copyright 1992 Lynx Real-Time Systems Inc. All rights reserved. LynxOS release 2.1.0, level 1: NP-LynxOS #57: compiled Oct 05 1993 12:38:19 LynxOS Startup: ma fsck /dev/sd0a (all sizes and block numbers in decimal) (file system creation time is Tue May 4 20:07:12 1993) checking used files recovering orphaned files making free block list making free inode list 43967 free blocks 3343 free inodes fsck /dev/sd0b (all sizes and block numbers in decimal) (file system creation time is Tue May 4 20:07:33 1993) checking used files recovering orphaned files making free block list making free inode list 54194 free blocks 3633 free inodes fsck /dev/sd0c (all sizes and block numbers in decimal) (file system creation time is Tue May 4 20:07:53 1993) checking used files recovering orphaned files making free block list making free inode list 49658 free blocks 3698 free inodes fsck /dev/sd0d (all sizes and block numbers in decimal) (file system creation time is Tue May 4 20:08:11 1993) checking used files recovering orphaned files making free block list making free inode list 69884 free blocks 4434 free inodes mounting all filesystems 30
Step 2 The system prompts you to enter time and date information:
The timezone information for this system has not been configured! Set the daylight savings and time zone information? (y/n) [y]ySet the daylight savings method to one of the following values: 0 (no daylight savings) 1 (USA) 2 (Australia) 3 (East Europe) 4 (Central Europe) 5 (Western Europe) Daylight savings method:1Set the timezone by specifying the number of minutes west of Greenwich Examples: 300 (US Eastern Time) 360 (US Central Time) 420 (US Mountain Time) 480 (US Pacific Time) Minutes west of Greenwich, England:300At the prompt, enter a new date or press <RETURN> to continue. The date is set to Tue May 4 16:04:57 EDT 1993 Enter date (yymmddhhmm[.ss]:9305041607At the prompt, enter a new date or press <RETURN> to continue. The date is set to Tue May 4 16:07:00 EDT 1993 Enter date (yymmddhhmm[.ss]:[Return]
(The second Enter date prompt is for confirmation.)
Step 3 You are prompted to enter passwords for the switch's four default login accounts, as shown below. For each account, enter y, then enter the password twice as prompted.
The following accounts do not have passwords: root fldsup npadmin oper Install a password on the root account? (y/n) [y]yEnter new password: Retype new password: Install a password on the fldsup account? (y/n) [y]yEnter new password: Retype new password: Install a password on the npadmin account? (y/n) [y]yEnter new password: Retype new password: Install a password on the oper account? (y/n) [y]yEnter new password: Retype new password:
Step 4 Next, the system prompts you for network management information. Enter the host name for this switch, the IP address and the subnet mask for the active NP in the chassis, as shown in the example below. Note that the IP address and subnet mask shown here are samples; you must supply actual addresses.
The minimum network management information has not been configured! Create a minimal network management configuration? (y/n) [y] y Specify the host name for this network node. Host name:LightStream1You must allocate a subnetwork address for the internal network that connects all network processors in your network. Configure the IP address of this network processor within that subnet. Chassis Active IP Address [a.b.c.d]:192.1.1.11Configure the IP subnet mask for the internal network that connects all network processors in your network. Chassis Network Mask [a.b.c.d]:255.255.255.0
Step 5 The system asks if this switch has a backup NP:
Is there a backup network processor in the chassis (Y/N)? [N]
If you answer n at this point, go on to the next step. If you answer y, you are prompted to enter an address for your backup NP. Note that the IP address shown here is a sample; you must supply the actual address.
Configure the IP address for the backup network processor within the subnetwork connecting all network processors in your network.
Chassis Secondary IP Address [a.b.c.d]: 192.1.1.12
Step 6 The following questions are about the NP's Ethernet connection and default router. If you answer n to any question shown below, skip from there to the next step. Note that the Ethernet and default router addresses shown here are samples; you must supply actual addresses.
Is the network processor attached to an Ethernet LAN (Y/N)? [N]yConfigure the IP address for the network processor's Ethernet interface. Chassis Ethernet IP Address [a.b.c.d]:192.1.11.13Configure the IP subnet mask for the network processor's Ethernet interface. Chassis Ethernet IP Mask [a.b.c.d]:255.255.255.0Is there an IP router on the attached Ethernet LAN (Y/N)? [N]yConfigure the Default IP router for the network processor's Ethernet interface. Chassis Default IP Router [a.b.c.d]:192.1.11.14
Step 7 The system displays a summary of the information you have just entered. If the information is correct, answer y at the prompt and skip to the next step. If you want to change something, answer n and return to step; you will be prompted to re-enter all the information from that point.
CHASSIS INFORMATION Host Name: Lightstream1 Chassis Active IP Address: 192.1.1.11 Chassis Secondary IP Address: 192.1.11.12 Chassis Network Mask: 255.255.255.0 Chassis Ethernet IP Address: 192.1.11.13 Chassis Ethernet IP Mask: 255.255.255.0 Chassis Default IP Router: 192.1.1.14 Is the chassis information correct? (Y/N) [Y]
Step 8 When you confirm that the chassis information you've entered is correct, the system prompts you to configure a trunk port, as shown in the example below. (The trunk port will be used to load a full configuration over the network.)
Configure trunk port information (Y/N) [N]yTrunk Card Type: 1) Low Speed 2) T3 3) E3 4) OC3 Choose the trunk card type (1-4):1Enter the trunk card slot number (1-10):3Enter the port number (0-7):0DCE/DTE Type: 1) DCE 2) DTE Choose the DCE/DTE type (1-2):1DCE Bit Rate: 1) 128 Kb 5) 448 Kb 9) 1344 Kb 13) 3584 Kb 2) 192 Kb 6) 512 Kb 10) 1536 Kb 14) 4000 Kb 3) 256 Kb 7) 768 Kb 11) 1792 Kb 15) 5376 Kb 4) 384 Kb 8) 896 Kb 12) 2688 Kb Choose the DCE Bit Rate (1-15):10TRUNK INFORMATION Type: Low Speed Trunk Slot: 3 Port: 0 DCE/DTE Type: DCE DCE Bit Rate: 1536 (kbps) Is the port information correct? (Y/N) [Y]
Configure additional trunk port information (Y/N) [N]
Step 9 When you have configured all the trunks you need to load full configurations throughout the network, answer n to the prompt about configuring additional trunks. The system now reports that it is creating a minimum configuration, loading the line cards, starting the switch software, and starting the neighborhood discovery process. Then the login prompt appears.
Step 10 You have completed basic configuration for this NP. If you're installing a new switch with two NPs, go back to "Connecting to an NP" section. Repeat the procedures from that point to configure the second NP.
When you've completed basic configuration for each NP in your system, read How to Proceed, below.
This section lists things you should do or consider doing after you finish installing a new LightStream switch.
To ensure that the newly installed system is in good working order, you may wish to do one of the following:
Keep a maintenance log for each LightStream switch. At a minimum, the log should list the following information:
You may also want to record unusual behavior. The maintenance log is an essential tool in identifying and correcting chronic or hard-to-diagnose problems.
We recommend that you obtain and install a modem for each switch card in the chassis. In the event that a problem isolates a LightStream node from the rest of the network, the modem may be your only means of communicating with the node. The modem connects to the modem port on the console/modem assembly at the back of the LightStream chassis, using the modem cable described in the LightStream 2020 Site Planning and Cabling Guide. Modems attached to LightStream nodes must be Hayes-compatible and capable of operating at 2400 baud. For information on LightStream's default modem settings and how to change them, see the LightStream 2020 Administration Guide.
You must install LightStream's CLI, monitor, configuration and private MIB software on the Sun workstation you will use to manage your LightStream network. The installation procedure is in "Installing Management Software on A Sun" section.
The LightStream 2020 Administration Guide contains procedures and information about options that let you tailor your network environment in various ways. (You can enable the security mechanism that prevents unauthorized network access, change the default SNMP community names, and change the default trap delivery addresses, among other things.) In the LightStream 2020 Administration Guide, read the "Set-Up Procedures" section before you start operating your LightStream network.
Use LightStream's configuration program to create a configuration database for your network and load a configuration onto each node, as described in the LightStream 2020 Configuration Guide.
You can monitor, control and configure your LightStream network from a Sun SPARCstation running StreamView' configuration, CLI, and monitor software, and the LightStream enterprise-specific MIB. The procedures in this section tell you the following:
Two installation procedures are given, as follows:
When you complete the appropriate installation procedure, you will be able to run the StreamView management software on your Sun workstation.
| For information on º | See º |
|---|---|
| Running the configuration program | LightStream 2020 Configuration Guide |
| Running the CLI and the monitor | LightStream 2020 Operations Guide |
| CLI commands, the MIB, and LynxOS commands | LightStream 2020 Command and Attribute Reference Guide |
Follow all the procedures in this subsection if you are installing LightStream management software on a Sun SPARCstation running HP OpenView. In these procedures, we assume that HP OpenView is installed and functioning properly.
This portion of the LightStream software is provided in two pieces called LS-Configure and LS-Monitor. HP OpenView documentation refers to software packages of this kind as "products." Note that the CLI and the LightStream enterprise-specific MIB are packaged with LS-Configure and LS-Monitor.
In this procedure, you use the ovinstall command. The ovinstall programs do the following things:
The configurator and monitor tools will create log files in the /usr/OV/log directory.
Step 1 Log in to the Sun as root.
Step 2 Create a user account called npadmin. The CLI uses the password for this account as the password for its protected mode. (If no npadmin account is present on the workstation, the CLI uses the root password as the CLI protected mode password.)
Step 3 Ensure that /usr/OV/bin is in your path. The installation procedure uses this directory. To display your path, use the command echo $PATH at the SunOS prompt. To set your path in a Bourne shell or a bash shell, use the following command:
% PATH=$PATH:/usr/OV/bin
To set your path in a csh shell, use the following command:
% setenv PATH ${PATH}:/usr/OV/bin
Step 4 To stop any running OpenView processes, enter the following command (where the initial % represents the prompt):
% ovstop
Step 5 Insert the tape of LightStream software into the Sun's quarter-inch tape drive.
Step 6 In any directory, use the HP OpenView ovinstall command to extract the LS-Configure software from the tape. Here, <tape-drive> may be /dev/rst0, /dev/rst1, or /dev/rst2, depending on which port your tape drive uses. The command takes 5 to 15 minutes to run. It installs the configuration utilities and associated files. For example, you might type:
% ovinstall -p LS-CONFIGURE - - -d <tape-drive>
% ovinstall -r -p LS-CONFIGURE - - -d <tape-drive>
Step 7 In any directory, use the HP OpenView ovinstall command to extract the LS-Monitor software from the tape. Here, <tape-drive> may be /dev/rst0, /dev/rst1, or /dev/rst2, depending on which port your tape drive uses. The command takes 5 to 15 minutes to run. It installs the monitor utility and associated files. For example, you might type:
% ovinstall -p LS-MONITOR - - -d <tape-drive>
% ovinstall -r -p LS-MONITOR - - -d <tape-drive>
This procedure tells you how to set up the environment to run the LightStream management tools on a Sun SPARCstation running HP OpenView.
Step 1 Verify that the /etc/services file contains the following entry:
snmp-traps 162/udp
If the entry isn't present, add it.
Step 2 Determine what type of shell each user is using. In an NFS environment using the yellowpages facility, type the following command:
ypmatch <username> passwd
In an environment that does not use the yellowpages facility, type the following command:
egrep <username> /etc/passwd
The last field of the password entry identifies the shell, as in the following example entry:
jjones:o@elQMkzZv7oF:10563:312:Jon Jones:/home/jjones:/bin/bash
Step 3 For each user who will run the LightStream management tools, several environment variables must be defined. In each user's home directory, edit the file that the shell reads on login, as shown in the appropriate subprocedure below.
For Bourne shells and their derivatives:
You must first determine whether a UIDPATH variable is already set in your login environment. To do so, type the following command:
% echo $UIDPATH
If the system displays UIDPATH: unbound variable or no message, skip to next step. If the system displays a path, add the following to the .profile or the .bash_profile:
If the system displays UIDPATH: unbound variable or no message in response to echo $UIDPATH, edit the .profile file or the .bash_profile file. Add the following lines to the file:
You have completed this subprocedure. The main procedure continues with Step 4 below.
For C shells and their derivatives:
You must first determine whether a UIDPATH variable is already set in your login environment. To do so, type the following command:
% echo $UIDPATH
If the system displays the message UIDPATH: Undefined variable, skip to the next step. If the system displays some other message (usually a path), add the following to the .cshrc file:
If the system displays the message UIDPATH: Undefined variable, add this to the .cshrc file:
Step 4 Any user who is logged in during the installation process should exit and log in again. Alternatively, a user can use the command . (dot) or its alias source to activate the new variables in the current execution environment. As an argument, this command requires the name of the file in which you entered the variables. For example, you might type one of the following:
Step 5 To the .Xdefaults file in each user's home directory, append the contents of the file /usr/OV/newconfig/xdefaults. (This step gives the LightStream tools access to the screen fonts they need to display properly.) In each user's home directory, type
mv .Xdefaults Xdef.sav
% cat Xdef.sav /usr/OV/newconfig/xdefaults > .Xdefaults
If you need to revert to the old .Xdefaults file, you'll find the contents in the backup file Xdef.sav.
Step 6 To ensure that the LightStream applications have been installed correctly, type
ovw -verify
This program takes less than a minute to run and prints the names of the objects it verifies. (If the verification fails, you'll see a message on the screen. Call your service representative for assistance.)
Step 7 To start OV daemons, enter the following command:
% ovstart
Step 8 To restart HP OpenView, enter the following command:
% ovw
% ovw&
If you need help, refer to the HP OpenView documentation.
Step 9 To update variables associated with the SNMP community, do only one of the following:
Use the following field values:
| Port (remote) | 161 |
|---|---|
| Timeout | 6.0 |
| Retry | 2 |
You may also consider setting the polling interval to 1 minute. The default is 5 minutes. The polling interval determines how long it will be before the display indicates changes in the network.
By default, LightStream nodes require the use of the "write" community for SNMP set operations. You may choose to use another name for the community that has read/write privileges, or you may choose to allow SNMP sets from any community. You must configure this in the HP OpenView environment using the xnmsnmpconf tool, or change the files at the LightStream nodes to conform to HP OpenView's behavior. (See the LightStream 2020 Administration Guide for information on setting up SNMP communities in a LightStream network.)
Step 10 LightStream utilities are now available. Select the LightStream menu from the Root window.
Follow the procedures in this subsection to install LightStream management software on a Sun workstation that is not running HP OpenView.
Step 1 Log in to the Sun as root.
Step 2 Create a user account called npadmin. The CLI uses the password for this account as the password for its protected mode. (If no npadmin account is present on the workstation, the CLI uses the root password as the CLI protected mode password.)
Step 3 Use the following command to change to the root directory:
% cd /
Step 4 Insert the tape of LightStream software into the Sun's quarter-inch tape drive.
Step 5 Type the following commands in the order shown to extract the files from the tape. The process takes 10 to 20 minutes to complete.
%mt -f<tape-drive>rew%mt -f<tape-drive>fsf 4%tar xvf<tape-drive>
Here, <tape-drive> is, for example, /dev/nrst0, /dev/nrst1, or /dev/nrst2, depending on which port your tape drive uses.
This procedure creates the following directory structure:
/usr/LightStream-2.0 /usr/LightStream-2.0/bin /usr/LightStream-2.0/db /usr/LightStream-2.0/log /usr/LightStream-2.0/mib /usr/LightStream-2.0/templates
This procedure tells you how to set up the environment to run the LightStream management tools on a Sun SPARCstation that is not running HP OpenView.
Step 1 Verify that the /etc/services file contains the following entry:
snmp-traps 162/udp
If the entry isn't present, add it.
Step 2 Determine what type of shell each user is using. In an NFS environment using the yellowpages facility, type the following command:
ypmatch <username> passwd
In an environment that does not use the yellowpages facility, type the following command:
egrep <username> /etc/passwd
The last field of the password entry identifies the shell, as in the following example entry:
jjones:o@elQMkzZv7oF:10563:312:Jon Jones:/home/jjones:/bin/bash
Step 3 For each user who will run the LightStream management tools, several environment variables must be defined. In each user's home directory, edit the file that the shell reads on login, as shown in the appropriate subprocedure below.
For Bourne shells and their derivatives:
You must first determine whether a UIDPATH variable is already set in your login environment. To do so, type the following command:
% echo $UIDPATH
If the system displays UIDPATH: unbound variable or no message, skip to the next step. If the system displays a path, add the following to the .profile or the .bash_profile:
If the system displays UIDPATH: unbound variable or no message in response to echo $UIDPATH, edit the .profile file or the .bash_profile file. Add the following lines to the file:
You have completed this subprocedure. The main procedure continues with Step 4 below.
For C shells and their derivatives:
You must determine whether a UIDPATH variable is already set in your login environment. To do so, type the following command (where the initial % represents the prompt):
% echo $UIDPATH
If the system displays the message UIDPATH: Undefined variable, skip to the next step. If the system displays some other message (usually a path), add this to the .cshrc file:
If the system displays the message UIDPATH: Undefined variable, add this to the .cshrc file:
Step 4 Any user who is logged in during the installation process should exit and log in again. Alternatively, a user can use the command . (dot) or its alias source to activate the new variables in the current execution environment. (In the Bourne shell, only the command . (dot) is available; in the csh, only the command source is available.) As an argument, this command requires the name of the file in which you entered the variables. For example, you might enter any of the following commands:
.profile
.bash_profile or source .bash_profile
source .cshrc
Step 5 To the .Xdefaults file in each user's home directory, append the contents of the file /usr/LightStream-2.0/templates/xdefaults. (This step gives the LightStream tools access to the screen fonts they need to display properly.) In each user's home directory, type
mv .Xdefaults Xdef.sav
% cat Xdef.sav /usr/LightStream-2.0/templates/xdefaults > .Xdefaults
If you need to revert to the old .Xdefaults file, you'll find the contents in the backup file Xdef.sav.
Step 6 To remove a directory that is created when the LightStream applications run, type the following while logged in as root:
rm -r /usr/LightStream-2.0/templates/ovsnmp.conf_db
After you modify your environment, the LightStream applications recreate this directory with new information.
Step 7 By default, LightStream nodes require the use of the "write" community for SNMP set operations. You may choose to use another name for your community with read/write privileges, or you may choose to allow SNMP sets from any community.
To configure this in your Sun environment, edit the file /usr/LightStream-2.0/templates/ovsnmp.conf, or change the files at each LightStream node to conform to your Sun's behavior. (See the LightStream 2020 Administration Guide for information on setting up SNMP communities in a LightStream network.) Use a text editor such as emacs or vi to modify the file ovsnmp.conf. The file contains instructions on how to format each entry.
Configuring X.21 Ports as DTE or DCE ² Setting Interface Jumpers on the LS Access Card ² Turning Off the Transmit Laser on the OC-3c Access Card ² Component Configuration
This chapter shows how to set jumpers and switches in LightStream hardware, and explains how many of each major hardware component--NPs, switch cards, line cards, and power supplies--can coexist in a LightStream 2020 enterprise ATM switch.
![]() | Caution Before removing any components from the chassis, read the safety instructions in "Electrostatic Discharge (ESD) Protection" section. If you handle components without taking proper ESD precautions, you can damage the system. |
The X.21 fantail has eight ports, and each can be set to function either as DTE or as DCE. Next to each connector is a pair of slider switches with settings labelled DTE and DCE (see Figure 4-1). The two switches in each pair are linked, so it's impossible to set them to different modes.
To change a port's DTE/DCE setting, do the following:
Step 1 Slide one of the port's switches to the desired position. The other switch will move at the same time.
Step 2 If you're setting the port to DTE, attach a male-to-male gender converter to change the female connector on the fantail to a male connector.
Step 3 Use the LightStream configurator to change the port's configuration to reflect the new DTE/DCE mode. Refer to the LightStream 2020 Configuration Guide for details.

This section describes the user-settable jumpers on LightStream's low-speed access card (LSAC) and shows how to set them. The jumpers allow you to select one of two interface types:
These jumpers are set for you in the factory based on the configuration specified in your system order, so you should not have to change the jumpers unless you change your configuration.
Figure 4-2 shows the location of the 16 sets of interface jumpers on the card, and illustrates how to set them. For V.35, put jumpers on the left and center pins. For RS-449 and X.21, put jumpers on the right and center pins. (The settings are indicated on the card, as shown.)
Each LSAC serves up to eight I/O ports. If you want all eight ports to use the same interface, set all the jumpers the same way. If you prefer, you can set the LSAC to give you four ports of one type and four of another (four V.35 and four X.21, for example). You'll need one fantail of each type.
The interface jumpers are labelled E1 through E8 and E11 through E18. (E9 and E10 are not interface jumpers and are not located near the interface jumpers on the card.) The interface jumpers can be divided functionally into two groups:
(The two connectors on the rear edge of the card are labelled with the numbers of the ports they serve. Each connector can be attached to a fantail that provides four I/O ports.)

Single-mode ports on the OC-3c access card have transmit lasers whose emissions can be dangerous to the eye. When a single-mode port is not being used, we recommend that you turn off its transmit laser. Turning off the laser turns on the port's green Safe LED. (When the LED is on, you know that it's safe to look at the connector for that port.)
![]() | Warning Do not look directly into the connectors on a single mode OC-3c access card whose Safe LED is turned off. The transmit laser can damage your eyes. |
The toggle switch has two positions:
To turn off the laser, move the toggle switch, shown in Figure 4-3. The green Safe LED comes on to tell you the laser is off.
![]() | Caution If you turn off the transmit laser while the port is passing traffic, the flow of traffic will halt. |

Guidelines in this section help you determine how many of each major component (NPs, switch cards, line cards, power supplies) can be installed in a single LightStream chassis. You'll find this information useful if you're considering adding line cards or redundancy to your system, or if you want to rearrange the cards in a chassis.
The number of NPs, switch cards, and bulk power trays installed in a LightStream chassis depends on whether redundancy is desired. A fully redundant system has two NPs (each with its own disk assembly, including a hard disk and floppy drive), two switch cards, and two power trays.
Some LightStream switches are partially redundant; they have redundancy in some subsystems, and not in others. For example, a partially redundant system might have two power trays and two NPs, but only one switch card.
A nonredundant system has only one NP, one switch card, and one power tray.
The two power trays in a redundant system load-share, and if either one fails, the other can power the entire switch. NPs and switch cards do not load-share; only one card of each type is active at any given time. The second NP and switch card serve as hot spares. If an active NP or switch card fails, its backup takes over automatically.

The list below outlines the types of cards that can be installed in each slot in the front of a LightStream chassis. Figure 4-4 shows the slot numbers.
Filler panels are provided to cover empty slots.
Up to 10 I/O access cards and two console/modem assemblies can be installed in the back of a LightStream chassis. The type and placement of cards in the back of the chassis is determined by the cards installed in the front. Behind each NP and line card, an access card of the correct type must be installed. (See Table 2-1 matching access cards to function cards.) If there is a mismatch between the function card and access card in the same slot, the cards will not power up. A console/modem assembly must be installed behind each switch card.
Every LightStream switch has two blowers. (Blowers are located at the top of the chassis; one is accessible from the front, one from the rear.) If one fails, a single blower can, under normal conditions, cool the entire chassis. However, a failed blower should be replaced as soon as possible.
This section outlines the requirements for installing redundant components (switch cards, NP modules, and power trays) in an existing system.
Step 1 Install the NP, the NP access card, and the disk assembly as described in their respective replacement procedures in "Replacing FRUs" section.
Step 2 Follow the instructions in "Software Installation" section to load software for the new NP.
Step 3 Follow the instructions in "Installing a LightStream Switch" section to perform basic configuration for the new NP.
Step 4 Use the LightStream configurator to add the new NP to the configuration, then load the updated configuration into the node.
Overview ² Installing Software on a LightStream Switch
This chapter explains how to install LightStream software onto the hard disk(s) of a LightStream 2020 enterprise ATM switch.
Each LightStream switch is shipped with all system and application software installed on its hard disk(s). A copy of the software is included on a set of floppy diskettes accompanying the hardware. Installing software from floppies is not part of a routine system installation. It is necessary only when a problem or the installation or replacement of new hardware occurs. For example, you must install software:
Each system is shipped with several sets of software diskettes, each set containing one or more diskettes. In addition, software for the management workstation is provided on a quarter-inch tape. (The procedure for installing management software is outlined in"Installing Management Software on A Sun" section.) The diskette sets are described below.
You may also receive:
Before installing the software, ensure that the write protection switch on each diskette is set to "protect" or "read only."
Follow the procedures in this section to transfer LightStream software from floppy diskettes to the hard disk(s) in your LightStream switch. If your system has two NPs, you must install the software on each NP's hard disk. (It's important for the active and backup NPs in the same node to have the same software.)
During the installation process, the system prompts you for basic configuration information such as the date, IP and Ethernet IP addresses. The information you must enter is listed in "Basic Configuration" section.
The installation takes about 25 minutes per NP.
To ensure a clean installation, this section includes a procedure for reformatting the hard disk. Reformatting destroys all existing files on the disk.
If you are upgrading an operating LightStream system to a new software release, follow the instructions in the release notes you received with the software. Those instructions will preserve site-specific information on your system, such as configuration files. The procedures in this chapter tell you how to clear the hard disk and perform a full software installation; they are not designed for upgrades.
The procedures in this section use the following commands:
Follow this procedure to establish a connection to the NP you want to load, and reboot it in preparation for loading the software.
Step 1 If your prompt says TCS hub<<A>> or TCS hub<<B>>, or if the system is powered down, skip to step. If your prompt says bash# or single-user$, type '. to get to the TCS hub.
Step 2 Power up the system or use the reset <slot#> command at the TCS hub prompt to reset the NP in a running node. (The NPs reside in slots 1 and 2.) This example assumes that you're resetting the NP in slot 1:
Step 3 Quickly use the connect <slot#> command to connect to the NP where you want to install the software. This example assumes that you're connecting to the NP in slot 1:
Step 4 When you connect, the NP may still be running POST. Then the following countdown appears on your screen. Press [Return] immediately.
Step 5 Insert the boot diskette into the disk drive of the active NP. (Hold the disk with the label facing up and insert the edge with the metal slider first.)
Step 6 The following menu appears on the screen:
At the Option> prompt, type 2 and press [Return].
The system takes about 4 minutes to boot, then displays the single-user$ prompt.
![]() | Caution Do not remove the boot diskette from the drive until instructed to do so. The NP is now using the boot diskette as its root file system, and will not function properly if the diskette is removed before rebooting. |
Follow the steps below to reformat the hard disk, run the date and time script, and load the boot diskette.
![]() | Caution This procedure destroys the contents of the hard disk. |
Step 1 To erase the hard disk and start a script that prompts you for the date and time, use the freshdisk command:
freshdisk
Step 2 The system prompts you to enter time and date information:
300
9405041607
[Return]
(The second Enter date prompt is for confirmation.)
Step 3 Next, the system prepares to reformat the hard disk by asking you for confirmation:
Step 2: Formatting and partitioning the target disk drive "/bin/freshdisk" will create new file systems on "/dev/sd0" and then copy to "/dev/sd0" a minimal set of utilities so that a complete system can be loaded from a tar-format source. NOTE that any existing data on "/dev/sd0" will be completely destroyed. Do you want to continue? Y or N (default is No) Y
The system proceeds to reformat the hard disk, divide it into four partitions, build file systems, and copy files from the floppy to the hard disk. The whole process takes about 4 minutes. You'll see this on the screen:
Starting format and partitioning at Tue May 4 16:07:06 EDT 1994 Building a file system on /dev/sd0a Building a file system on /dev/sd0b Building a file system on /dev/sd0c Building a file system on /dev/sd0d Step 3: Making mount points for file systems and mounting them Step 4: Copying files to the target disk Starting file copy at Tue May 4 16:08:51 EDT 1994 Finished file copy at Tue May 4 16:10:45 EDT 1994 Step 5: Unmount the target file systems "/bin/freshdisk" finished at Tue May 4 16:10:55 EDT 1994. To continue installing system and application software, enter "reboot -n" and then run the "swinstall" utility.
Step 4 At the single-user$ prompt, reboot the NP by entering:
single-user$ reboot -n
Step 5 The following menu appears on the screen:
At the Option> prompt, type 5 and press [Return].
Step 6 The system boots from the hard disk in about 10 seconds, then displays the single-user$ prompt.
Step 7 If you're using the boot diskette, press the button on the floppy drive to eject it.
Continue to the next section.
This section tells you how to install software from floppy diskettes to the hard disk, and what to do afterwards.
There are three possible states for an NP whose power is on:
The NP on which you perform the Loading Procedure, below, must be in the inert state. If you have followed the previous procedures in this chapter, which leave the NP in single-user mode, the NP will be inert. (If there is a second NP in the chassis, it can be in any state.)
This procedure loads the software onto the hard disk, starting with the set of System diskettes.
Step 1 Put System Disk 1 into the floppy disk drive and type:
The system responds:
When you press [Return], the swinstall script copies the system distribution files onto the hard disk. The script prompts you to insert the remaining System diskettes and displays progress messages. When the single-user$ prompt reappears, you can remove the last System diskette from the drive.
Step 2 Use the swinstall command to install software from the remaining diskette sets. (You must re-enter the command for each set.) The diskettes in each series are numbered; always insert diskette number 1 first. Install the remaining software in the following order:
Step 3 At the prompt, type the swchgver command, which activates the newly installed software, copies new images to the flash EEPROMs on the function cards if needed and then resets the line cards, and reboots the NP. If there is another NP in this chassis, and it is active (so that the chassis is operational), use the switches -nolinecardreset and -noflashupdate. The switches prevent the execution of swchgver on this inert NP from disrupting the rest of your system.
The commands and their output are shown below.
For the case of a second NP in a system that is operating:
swchgver -nolinecardreset -noflashupdate
For the first of two inert NPs being installed or for a system with a single NP:
swchgver
Step 4 The bootstrap sequence and basic configuration procedure are described in "Installing a LightStream Switch" section. Turn to the section entitled "Entering Configuration Data" and follow the instructions there. When you complete basic configuration, return to step 5 below for instructions on how to proceed.
Find the best description of your situation in the table below and proceed as indicated.
| Number of NPs | What You've Already Done | What to Do Now |
|---|---|---|
| 1 | Installed software and performed basic configuration | Use the LightStream configurator to download a full configuration to this node. Refer to the LightStream 2020 Configuration Guide for instructions on using the configurator. |
| 2,
both need software | Installed software and performed basic configuration on the first NP | Return to the procedure "Connecting to an NP" section. For the second NP, repeat all steps from "Connecting to an NP" section. |
| 2,
both need software | Installed software and performed basic configuration on both NPs | Use the LightStream configurator to load a full configuration into this node. Refer to the LightStream 2020 Configuration Guide for instructions on using the configurator. |
| 2,
only one needs software | Installed software and performed basic configuration | Stop here--your installation is complete. |
| 1
upgrading to 2 | Installed software on the second (new) NP and performed basic configuration | Use the LightStream configurator to add the new NP to the configuration, and then load the updated configuration into this node. Refer to the LightStream 2020 Configuration Guide for instructions on using the configurator. |
Overview ² Troubleshooting ² Using the Diagnostic Software
Read this chapter to learn how to use diagnostics and other methods to isolate faults in LightStream 2020 enterprise ATM switches.
![]() | Caution Before removing any components from the chassis, read the safety instructions in "Electrostatic Discharge (ESD) Protection" section. If you handle components without taking proper ESD precautions, you may damage the system. |
This chapter will help you isolate problems in a LightStream switch to a single field-replaceable unit (FRU), such as a line card, blower, or power supply. Once you've identified the faulty FRU, refer to "Replacing FRUs" section for instructions on removing and replacing it.
This section briefly describes three methods of identifying problems in a LightStream switch:
POST diagnostics are described below, and instructions for general troubleshooting and running hardware diagnostics are provided later in this chapter.
LightStream's power-on self test (POST) diagnostics are the first line of defense for identifying hardware problems. POST runs on each card whenever the system or the slot is powered up or when the card is reset; it takes one minute or less. There are POSTs for the following components:
If a card passes POST, the green RDY LED on its front bulkhead turns on. If a card fails POST, its yellow FLT LED turns on. To display POST results, use one of these commands:
In the resulting display, look at the POST: line and the Application: line. If the Application: line says DISABLED, you may be able to correct the problem by enabling (activating) the card. See the LightStream 2020 Operations Guide for instructions.
Some additional information on POST and the LEDs appears in the section "Powering Up".
If a card fails POST, review the troubleshooting tips for the card in question in the "Troubleshooting" section. In most cases, you should also run the hardware diagnostics to confirm that a problem exists. (Hardware diagnostics are described briefly below; the instructions for running them start on "Using the Diagnostic Software" section.)
LightStream's hardware diagnostics are used to discover the location of hardware faults. You can run diagnostics on a line card or a backup NP while the rest of the system continues to operate. Unless you're testing the single NP in a non-redundant system, only the card under test comes out of service during the diagnostics. To run diagnostics on the active NP in a redundant system, you first force the active and backup cards to switch roles. To run diagnostics on the only NP in a system, you must take the system off line.
Note that certain tests should not be run while the system is operating, and other restrictions may apply as well. See the "Test Notes" section.
You can run diagnostics either remotely over a telnet or modem connection, or locally from a console connected to the console port. (The exceptional case is running diagnostics on the sole NP in a non-redundant system. This task requires a local console.)
The diagnostics reside on each NP's hard disk. Several parts of the system can be tested:
Procedures for running the diagnostics appear in the section "Using the Diagnostic Software".
General troubleshooting tasks can be performed before, after, instead of, or in addition to running the diagnostic software. These tasks provide additional ways of identifying faults in NPs, switch cards, and line cards. They are the only way to identify faults in subsystems that are not covered by POST or diagnostics, such as blowers and power supplies. The section that follows describes general troubleshooting tasks.
Use the information in this section to help isolate faults in a LightStream switch. This section is to be used in conjunction with the diagnostic software. Some of these procedures require you to be in the same room with the faulty system; others can be performed remotely.
If your LightStream switch doesn't operate properly after you've tried the suggestions below, call your customer support representative.
Before resorting to the diagnostics or to complex troubleshooting, check simple things:
If you're bringing up a new LightStream node, a new card, or a new kind of port for the first time, a likely source of problems is configuration. The problem may exist at either the LightStream side or the remote side of the connection; be sure to check both configurations. Refer to the LightStream 2020 Configuration Guide for information on LightStream software configuration.
The symptoms listed below indicate problems that may require replacement of a switch card. Switch card replacement instructions in "Replacing a Switch Card" section.
If the NP fails to power up, check its access card at the back of the chassis. An NP requires an NP access card (NPAC); it can't operate with any other kind of access card.
Replace the NP if any of the following applies. NP replacement instructions begin "Replacing a Network Processor card" section.
This section provides information on how to isolate faults in interface modules. (An interface module consists of a line card and its access card.)
The following will help you distinguish between problems in a line card and problems in an access card.
If you're having trouble bringing up a line card, check the following:
The following conditions may require replacement of either a line card or its access card.
The following conditions indicate failure of a blower. See "Replacing a Blower" section for replacement instructions.
In a system with one power tray, no power will be present if the power tray is faulty. Suspect a problem with the power tray if cycling the system's power has no effect.
A system with two power trays can operate normally when only one is working; if you suspect a problem, use the CLI command show chassis powersupply. The display for a healthy dual-tray system is shown below. (In a system with only one power tray, both lines for the unused slot will read "Empty.")
cli> show chassis powersupply
Power Supply A: Good
Power Supply A Type: 1200W AC Power Supply
Power Supply B: Good
Power Supply B Type: 1200W AC Power Supply
cli>
If a status line for an occupied slot says anything other than Good, check the faulty power tray to see that it's properly connected. (Power tray slot A is on top; slot B is on the bottom.) If the problem persists, replace the power tray as described in "Replacing a Power Tray" section.
Disk assembly problems are indicated by the following symptoms:
If a disk problem is indicated, check the disk assembly connector for bent or broken pins. To do so, remove the disk assembly as described in "Replacing a Disk Assembly" section. Then examine the 64-pin male connector at the back of the slot. If any pins are bent or damaged, they are the likely source of the problem.
If the connector is in good condition, the problem may be in the disk assembly itself, or in the software on the disk. If you suspect a problem with the software, you should be able to correct it by reinstalling the software. If that doesn't solve the problem, or if you believe the problem lies in the hardware, see "Replacing a Disk Assembly" section for instructions on replacing the disk assembly.
Midplane problems are indicated by the following symptoms. Midplane replacement instructions begin in "Replacing The Midplane" section.
cli> show tcs 1 voltage
Slot 1 Voltage:
TCS VCC Voltage: 5.053 (Normal Range: 4.614 / 5.371)
VCC Voltage: 5.029 (Normal Range: 4.370 / 5.615)
SCSI Voltage: 4.833 (Normal Range: 4.614 / 5.371)
VPP Voltage*: 0.000 (Normal Range: 11.067 / 12.858)
*VPP Voltage Is Valid Only During FLASH Initialization
cli>
This section tells you how to run diagnostics on specified cards in a LightStream switch. You can access the diagnostics in three ways:
The rest of this section is arranged into five subsections:
This section tells you how to use the test command in CLI to run field diagnostics on a line card in a specified slot or on a backup NP.
The first subsection below describes the switches you can use with the test command. The second subsection explains how to use the test command to test a line card.
The syntax of the CLI test command is as follows:
test <slot#> [-lpsxrm] [-F<filename>]
where
If you run the test command with no switches, diagnostics are loaded and run on the specified card in the background, and your CLI prompt returns so you can perform other tasks. The diagnostics complete in a minimum of 5 minutes. To display their status, type test <slot#> -r.
This procedure explains how to use the test command in CLI to run diagnostics on a line card. CLI must be running on the system you plan to test.
Step 1 If the card you plan to test is passing traffic, warn anyone who will be affected that you are taking it out of service to run diagnostics.
Step 2 Log in to CLI.
Step 3 Enter protected mode:
*cli> protected
You will be prompted to enter the protected mode password.
Step 4 Use the set command to set the SNMP community to a community with write privileges. (If you don't know the appropriate community name for this system, contact the network administrator.) The example below gives the syntax of the command; replace write-community with a real community name.
*cli> set snmp community <write-community>
Step 5 Issue the test command. (Replace the 4 in the example below with the number of the card you want to test, and add any switches you need.)
*cli> test 4
Step 6 Wait at least 15 minutes for the diagnostics to load and run. If you used the -x switch with test, wait at least 30 minutes. Then use the following command to retrieve test results, replacing the 4 with the slot number of the card you just tested:
*cli> test 4 -r
The result indicate that the tests passed, that they failed, or that they're still running. If the last case, wait a few minutes for the tests to finish and type test 4 -r again.
Step 7 If the tests passed, the card is OK--skip to the next step. If the tests failed, you should replace the card; (In the case of failure, you should also record the list of test numbers and error numbers displayed when you type test -r, and return this list to the repair depot along with the failed card.)
Step 8 To return a card to service after running diagnostics, use following command:
*cli> set card <slot#> active
Step 9 Use the set command to change the SNMP community back to a read-only community. Replace read-community in the example below with the name of a read-only SNMP community.
*cli> set snmp community <read-community>
You must use manufacturing diagnostics to test NPs, CLCs and PLCs. If you wish, you can also use them to test other line cards.
This section contains the following procedures:
The diagnostic programs in each LightStream switch reside on the NP's hard disk in the directory /usr/diag. (Backup copies of the diagnostics are shipped to you on floppy diskettes; if you need to re-install them, refer to "Software Installation" section for instructions on using the swinstall script.) The following files are included:
After loading the diagnostics, see the section "Running Manufacturing Diagnostics" for instructions on what to do next.
This procedure explains how to load the manufacturing diagnostics into an NP. Note that this procedure requires the system under test to stop passing traffic. It also requires you to have a local console connection or a modem connection to the switch whose NP you are testing. You cannot use telnet or rlogin.
The commands used in the procedure are listed below, followed by the procedure itself.
Step 1 Warn anyone who will be affected that you are taking the system off the network temporarily.
Step 2 Establish a local console connection or a modem connection to the system under test. (See "Attaching a Terminal and Connecting to an NP" section for information on terminal settings and how to determine which console port to use.)
Step 3 If the command line prompt you see does not contain the words TCS hub, type '. to get a TCS hub prompt.
Step 4 At the TCS hub prompt, use the connect <slot#> command to connect to the NP. The example below assumes that the NP is in slot 1.
TCS hub<<A>> connect 1
Step 5 When you connect, you'll see a login prompt. Log in as root or fldsup.
Step 6 Type reboot -n to enter the boot sequence. You'll see the following display:
**** LynxOS [rebooted by /bin/reboot] is down **** Network Processor bootstrap (version 1.3: Sep 13 1993) 1-Boot ATM switch application 2-Begin full installation with boot from floppy disk 3-List contents of hard disk root directory 4-List contents of floppy disk root directory 5-Boot system single-user 6-Escape to full set of bootstrap options 7-Extended help Option>
Step 7 Type 6 at the prompt to escape to the bootstrap command line interpreter:
Option> 6
The following is displayed:
Network Processor bootstrap (version 1.3: Sep 13 1993) Enter "help" for documentation on extended bootstrap options Default: (sd0a)lynx.os Boot:
Step 8 At the boot prompt, enter the following command to load the diagnostic software:
Boot: (sd0b)diag/diag_np1.aout
You'll see the following display:
booting: drive:0, partition:1, kernel:"diag/diag_np1.aout", flags:0x4201 Resetting SCSI bus Diagnostic linked for 0x0 LOAD AT 0x0 442980+0+0 START AT 0x5000 RMeg Bit value = 0 Configuring Main Memory for 32 Megabytes ***************************************** * Network Processor Debug Monitor * * RELEASE 1.00 * * Revision 1.371 (Sep 1 1993) * * Type 'help' or '?' for help * ***************************************** NP Mfg Debug Monitor[01]->
Step 9 For instructions on executing tests in NP diagnostics, see the section "Running Manufacturing Diagnostics."
Step 10 When you finish your diagnostic session, you must reset the NP. Type '. to return to the TCS hub. Then use the command reset <slot#> to reset the NP.
If you wish, you can use the manufacturing diagnostics to test medium-speed and low-speed line cards. (The test command in CLI, described earlier, is the easiest way to test MSCs and LSCs.) Use the procedure in this section to load the manufacturing diagnostics, then go on the following section, "Running Manufacturing Diagnostics," for further instructions.
As you follow the procedure below, you'll use these commands:
Step 1 Log in to CLI and enter protected mode on the node to be tested.
Step 2 Use the set command to set the SNMP community to a community with write privileges. (If you don't know the appropriate community name for this system, contact the network administrator.) The example below gives the syntax of the command; replace write-community with a real community name.
*cli> set snmp community <write-community>
Step 3 Use the set command to set the status of the card to be tested to "testing". The example below gives the syntax of the command; replace slot# with a real slot number.
*cli> set card <slot#> testing
Step 4 Use the loadcard command to load the appropriate diagnostic program into the card to be tested. (The syntax is provided above.) Two typical loadcard commands are shown below.
loadcard 1 /usr/diag/diag_np1.aout
Loads the NP diagnostics into the card in slot 1.
loadcard 3 /usr/diag/diag_ls1.aout
Loads the LSC diagnostics into the card in slot 3.
Step 5 Use the connect command to establish a connection to the slot number (card) you want to test. For example:
connect 1 diagnostic
You'll see a banner describing the diagnostic package, followed by a command prompt. You can use the _0 command in any package to select and run a set of tests. The section "Running Manufacturing Diagnostics" provides detailed procedures for running tests.
Refer to the "Command Reference" section for information on commands.
Read this section for information on running manufacturing diagnostics. The first subsection, Running Sets of Tests, applies to all four of the procedures that follow.
In each of the four diagnostics packages, commands are provided to run preselected sets of tests:
Use this procedure to run diagnostics on an NP card. It assumes that you have already loaded the diagnostics onto the card, as described in one of the procedures in Loading Manufacturing Diagnostics in "Loading Manufacturing Diagnostics" section.
Step 1 At the prompt, type run or _0 to run a set of tests. (See the section "Running Sets of Tests," for the differences between run and _0. run is safer.) As the tests run, the system displays the name of each test and a pass or fail indication, as shown below. (Depending on your configuration, some tests may display as "not run." This is not a problem.)



Step 2 To run or rerun a particular test or group of tests, you can use the run command in conjunction with test numbers. For example:
diags> run 5-15
(To display a list of tests and test numbers, use the lst all command.)
Step 3 The status command displays a message giving the status of diagnostic tests. Use status fail to get information only on tests that have failed.
Step 4 For explanations of the error codes used in the status display, use the help command in conjunction with the number of the test in question. For example,
help 10
Step 5 If the card passes the diagnostics, return the card to active mode. First exit from the diagnostics:
exit
Step 6 When the login prompt appears, log into the node, enter CLI's protected mode, and use the set command as shown below to reset the card's status to active. Replace <slot#> with the slot number of the card you were testing.
set card <slot#> active
If any tests fail, replace the card being tested.
If all tests pass but you're still experiencing a problem, test the other cards in the chassis. Replace any cards that fail diagnostics. If the problem persists, investigate causes outside the LightStream hardware, including leased lines and edge devices.
Use this procedure to run diagnostics on a low-speed line card. It assumes that you have already loaded the diagnostics onto the card, as described in one of the procedures in Loading Manufacturing Diagnostics in "Loading Manufacturing Diagnostics" section.
Step 1 At the prompt, type run or _0 to run a set of tests. (See the section "Running Sets of Tests" for the differences between run and _0. run is safer.) As the tests run, the system displays the name of each test and a pass or fail indication, as shown below. (Depending on your configuration, some tests may display as "not run." This is not a problem.)



Step 2 To run or rerun a particular test or group of tests, you can use the run command in conjunction with test numbers. For example:
run 5-15
(To display a list of tests and test numbers, use the lst all command.)
Step 3 The status command displays a message giving the status of diagnostic tests. Use status fail to get information only on tests that have failed.
Step 4 For explanations of the error codes used in the status display, use the help command in conjunction with the number of the test in question. For example,
diags> help 10
Step 5 If the card passes the diagnostics, return the card to active mode. First exit from the diagnostics:
diags> exit
Step 6 When the login prompt appears, log into the node, enter CLI's protected mode, and use the set command as shown below to reset the card's status to active. Replace <slot#> with the slot number of the card you were testing.
*cli> set card <slot#> active
If any tests fail you may need to replace either the line card being tested or its access card. Look at the numbers of the tests that failed to determine which card to replace:
If all tests pass but you're still experiencing a problem, test the other cards in the chassis. Replace any cards that fail diagnostics. If the problem persists, investigate causes outside the LightStream hardware, including leased lines and edge devices.
Use this procedure to run diagnostics on a medium-speed line card. It assumes that you have already loaded the diagnostics onto the card, as described in one of the procedures in "Loading Manufacturing Diagnostics" section.
Step 1 At the prompt, type run or _0 to run a set of tests. (See the section "Running Sets of Tests" for the differences between run and _0. run is safer.) As the tests run, the system displays the name of each test and a pass or fail indication, as shown below. (Depending on your configuration, some tests may display as "not run." This is not a problem.)



Step 2 To run or rerun a particular test or group of tests, you can use the run command in conjunction with test numbers. For example:
diags> run 5-15
(To display a list of tests and test numbers, use the lst all command.)
Step 3 The status command displays a message giving the status of diagnostic tests. Use status fail to get information only on tests that have failed.
Step 4 For explanations of the error codes used in the status display, use the help command in conjunction with the number of the test in question. For example,
diags> help 10
Step 5 If the card passes the diagnostics, return the card to active mode. First exit from the diagnostics:
diags> exit
Step 6 When the login prompt appears, log into the node, enter CLI's protected mode, and use the set command as shown below to reset the card's status to active. Replace <slot#> with the slot number of the card you were testing
*cli> set card <slot#> active
If any tests fail you may need to replace either the line card being tested or its access card. Look at the numbers of the tests that failed to determine which card to replace:
If all tests pass but you're still experiencing a problem, test the other cards in the chassis. Replace any cards that fail diagnostics. If the problem persists, investigate causes outside the LightStream hardware, including leased lines and edge devices.
Use this procedure to run diagnostics on a packet line card. It assumes that you have already loaded the diagnostics onto the card, as described in one of the procedures in "Loading Manufacturing Diagnostics" section.
When they are loaded, the PLC diagnostics determine which type of access card (Ethernet or FDDI) is installed with the line card under test. Tests appropriate for the access card are enabled. You can use the "access" command to display the type of the access card.
Step 1 At the prompt, type run to run a set of tests. (See the section "Running Sets of Tests" for information on run.) As the tests run, the system displays the name of each test and a pass or fail indication, as shown below. (Depending on your configuration, some tests may display as "not run." This is not a problem.)


Step 2 To run or rerun a particular test or group of tests, you can use the run command in conjunction with test numbers. For example:
run 5-15
(To display a list of tests and test numbers, use the lst all command.)
Step 3 The status command displays a message giving the status of diagnostic tests. Use status fail to get information only on tests that have failed.
Step 4 For explanations of the error codes used in the status display, use the help command in conjunction with the number of the test in question. For example,
help 10
Step 5 If the card passes the diagnostics, return the card to active mode. First exit from the diagnostics:
diags> exit
Step 6 When the login prompt appears, log into the node, enter CLI's protected mode, and use the set command as shown below to reset the card's status to active. Replace <slot#> with the slot number of the card you were testing.
*cli> set card <slot#> active
If test 55 (or any of its subtests, 55.01 through 55.15) fails, this indicates a failure in the access card. In this case replace the access card.
If any other tests fail, replace the card being tested.
If all tests pass but you're still experiencing a problem, test the other cards in the chassis. Replace any cards that fail diagnostics. If the problem persists, investigate causes outside the LightStream hardware, including leased lines and edge devices.
Use this procedure to run diagnostics on a cell line card. It assumes that you have already loaded the diagnostics onto the card, as described in one of the procedures in "Loading Manufacturing Diagnostics" section.
Step 1 At the prompt, type run to run a set of tests. (See the section "Running Sets of Tests" for the information on run.) As the tests run, the system displays the name of each test and a pass or fail indication, as shown below. (Depending on your configuration, some tests may display as "not run." This is not a problem.)


Step 2 To run or rerun a particular test or group of tests, you can use the run command in conjunction with test numbers. For example:
run 5-15
(To display a list of tests and test numbers, use the lst all command.)
Step 3 The status command displays a message giving the status of diagnostic tests. Use status fail to get information only on tests that have failed.
Step 4 For explanations of the error codes used in the status display, use the help command in conjunction with the number of the test in question. For example,
diags> help 10
Step 5 If the card passes the diagnostics, return the card to active mode. First exit from the diagnostics:
diags> exit
Step 6 When the login prompt appears, log into the node, enter CLI's protected mode, and use the set command as shown below to reset the card's status to active. Replace <slot#> with the slot number of the card you were testing.
*cli> set card <slot#> active
If test 51 (or any of its subtests) fails, this indicates a failure in the access card. In this case replace the access card.
If any other tests fail, replace the card being tested.
If all tests pass but you're still experiencing a problem, test the other cards in the chassis. Replace any cards that fail diagnostics. If the problem persists, investigate causes outside the LightStream hardware, including leased lines and edge devices.
This section lists special requirements for tests in each diagnostic package.
The NP tests listed below send data through the switch card. Take the LightStream node off line before running these tests, as described in the procedure following the list of tests. Do not run them on a system that's passing traffic. (If the node is running, these tests may fail when they would otherwise pass. In addition, the "bad" data passed to the switch by the tests may cause traps.)
78 --> CMP_SL_Push_Cell_SOB_Test 80 --> Raw_Cell_External_Loopback_Test 82 --> Data_Gram_External_Loopback_Test 83 --> Data_Gram_Metered_Loopback_Test 84 --> Multi_DataGram_Metered_Loopback_Test 85 --> Chained_Data_Gram_Loopback_Test 86 --> Iso_Sngle_Cast_Loopback_Test 87 --> Multi_Cast_Data_Gram_Loopback_Test 88 --> Comp_Data_Gram_Loopback_Test 89 --> Multi_Cast_IsoLoopback_Test 90 --> FSU_RATO_Test 91 --> FSU_fast_dropper_Test 92 --> FSU_VRAM_mem_Test 93 --> FSU_VRAM_refresh_Test
If you wish to run these tests, use the procedure below to disable the system and all the other cards in the chassis. This prevents the other cards from sending packets to the card under test that cause these tests to fail even when no problem exists.
Step 1 Log in as root or fldsup on the system you want to test.
Step 2 At the bash prompt, use the command reboot -n to bring down the NP. (Bring down both if there are two.)
Step 3 Type '. to get a TCS hub prompt.
Step 4 From the TCS hub, type reset <slot#> to reset each slot that has a line card in it. (Don't reset the switch card or NP slots.)
Step 5 Type connect <slot#> to return to the NP, then press [Return] to display a menu of boot options.
Step 6 At the menu's Option prompt, enter 6, as shown below.
Network Processor bootstrap (version 1.3: Sep 13 1993)
1 - Boot ATM switch application
2 - Begin full installation with boot from floppy disk
3 - List contents of hard disk root directory
4 - List contents of floppy disk root directory
5 - Boot system single-user
6 - Escape to full set of bootstrap options
7 - Extended help
Option> 6
Step 7 The system displays the following message and a boot prompt. Enter the string shown below to load the NP diagnostics.
Network Processor bootstrap (version 1.3: Sep 13 1993)
Enter "help" for documentation on extended bootstrap options
Default: (sd0a)lynx.os
Boot: (sd0b)diag/diag_np1.aout
Step 8 When the diagnostics finish loading, you can select and run the desired tests.
The NP tests listed below will fail if they are run on a system that does not have looping plugs installed on the NP Ethernet port and Diag2 port. (In field diagnostics, these tests are invoked when you use the test command's -l switch.) If you do not have looping plugs installed, it's recommended that you avoid running these tests:
13 --> Ethernet_External_Loopback_Test 14 --> Ethernet_External_Chaining 33 --> SCC_ChB_External_Loopback_Tst
The NP memory tests listed below take longer than one minute to run. (Some take many minutes.) Avoiding these tests saves time. (In field diagnostics, these tests are invoked when you use the test command's -x switch.)
08 --> Address_Independence_Memory_Test 09 --> MarchingBit_Memory_Test 93 --> FSU_VRAM_refresh_Test
The NP diagnostics include tests for the battery-backed RAM clock that keeps time for the whole system. If the tests fail, you will be prompted to reset the clock; you must supply the current time and date. If the system under test has two NPs, make certain that their clocks agree to within one minute. (If the clocks don't agree, file consistency problems between the two NPs may result.)
The low-speed line card tests listed below send data through the switch card. (In field diagnostics, these tests are invoked when you use the test command's -s switch.) Take the LightStream node off line before running these tests. Do not run them on a system that's passing traffic. (If the node is running, these tests may fail when they would otherwise pass. In addition, the "bad" data passed to the switch by the tests may cause traps.)
111 --> DataGram_SingleCast__External_Lpbk_Test 112 --> DataGram_MultiCast___External_Lpbk_Test 113 --> DataGram_Metered_____External_Lpbk_Test 114 --> DataGram_MtCast_Metd_External_Lpbk_Test 115 --> Isochronous_SinglCst_External_Lpbk_Test 116 --> Isochronous_MultiCst_External_Lpbk_Test 117 --> FSU_Dropped_Cell_Test_(PIT) 118 --> FSU_RATO_Test_(PIT)
If you wish to run these tests, use the procedure below to disable the system and all the other cards in the chassis, and then to load the diagnostics into the card you wish to test. This procedure prevents the other cards from sending packets to the card under test that cause these tests to fail even when no problem exists.
Step 1 Log in as root or fldsup on the system you want to test.
Step 2 At the bash prompt, enter the command reboot -n to bring down the NP. If your system has two NPs, do the following to reboot the second one:
Type '. to get a TCS hub prompt.
Type connect <slot#> to get to the other NP, replacing <slot#> with the number of the NP's slot in the chassis.
Log in to the NP as root or fldsup.
At the bash prompt, enter the command reboot -n to bring down the NP.
Step 3 Type '. to get a TCS hub prompt.
Step 4 From the TCS hub, type reset <slot#> to reset each slot that has a line card in it. (Don't reset the switch card or NP slots.)
Step 5 Type connect <slot#> to return to the NP, then press [Return] to display a menu of boot options.
Step 6 At the menu's Option prompt, enter 6, as shown below.
Network Processor bootstrap (version 1.3: Sep 13 1993)
1 - Boot ATM switch application
2 - Begin full installation with boot from floppy disk
3 - List contents of hard disk root directory
4 - List contents of floppy disk root directory
5 - Boot system single-user
6 - Escape to full set of bootstrap options
7 - Extended help
Option> 6
Step 7 The system displays the following message and a boot prompt. Enter the string shown below to load the system monitor, which you will use to load the diagnostics.
Network Processor bootstrap (version 1.3: Sep 13 1993)
Enter "help" for documentation on extended bootstrap options
Default: (sd0a)lynx.os
Boot: (sd0b)diag/sys_np1.aout
Step 8 When the system monitor finishes loading, you'll see an identifying message and a prompt, as shown below. To load diagnostics, type the command shown, replacing <slot#> with the number of the card you want to test.
*****************************************
* System Diagnostic Debug Monitor *
* Revision 1.258 (Jun 15 1994) *
* Type 'help' or '?' for help *
******************************************
System Monitor-> load <slot#> (sd0b)diag/diag_ls1.aout
Step 9 Wait about 5 minutes for the diagnostics to load. Then type '. to return to the TCS hub.
Step 10 At the TCS hub prompt, use the command connect <slot#> to connect to the card you just loaded.
Step 11 Run the desired tests.
The LSC tests listed below will fail if they are run on a system that does not have looping plugs installed on the I/O ports. (In field diagnostics, these tests are invoked when you use the test command's -l switch.) If you do not have looping plugs installed, it's recommended that you avoid running these tests:
08 --> mc68340_UART_B_External_Loopback_Tst(L) 43 --> CP_LineChip_External_Loopback_Test (L) 46 --> PaddleCard_Octart_External_Lpbk_Test(L) 50 --> PaddleCard_Extern_Clock_Monitor_Test(L) Long-Running Memory Tests
The low-speed line card memory tests listed below take longer than one minute to run. (Some take many minutes.) Avoiding these tests saves time. (In field diagnostics, these tests are invoked when you use the test command's -x switch.)
09 --> CP_to_DRAM_AddrBus_Indep_Test 15 --> CP_to_DRAM_Marching_1s_Test 17 --> CP_to_SharedMem_AddrBus_Indep_Test 23 --> CP_to_SharedMem_Marching_1s_Test 66 --> PP_to_SharedMem_DataBus_WalkingBit_Test 69 --> PP_to_SharedMem_Marching_1s_Test
The medium-speed line card tests listed below send data through the switch card. (In field diagnostics, these tests are invoked when you use the test command's -s switch.) Take the LightStream node off line before running these tests. Do not run them on a system that's passing traffic. (If the node is running, these tests may fail when they would otherwise pass. In addition, the "bad" data passed to the switch by the tests may cause traps.)
70 --> SCastDgm_SWA_Cntrl__Fifo_External_Lpbk 71 --> MCastDgm_SWA_Cntrl__Fifo_External_Lpbk 72 --> SCastSch_SWA_Cntrl__Fifo_External_Lpbk 73 --> MCastSch_SWA_Cntrl__Fifo_External_Lpbk 74 --> SCastDgm_SWB_Cntrl__Fifo_External_Lpbk 75 --> MCastDgm_SWB_Cntrl__Fifo_External_Lpbk 76 --> SCastSch_SWB_Cntrl__Fifo_External_Lpbk 77 --> MCastSch_SWB_Cntrl__Fifo_External_Lpbk 79 --> FSU_Payload_LRC_Error_Test 78 --> FSU_Header_LRC_Error_Test 80 --> FSU_VRAM_Refresh_Test
If you wish to run these tests, use the procedure below to disable the system and all the other cards in the chassis, and then to load the diagnostics into the card you wish to test. This procedure prevents the other cards from sending packets to the card under test that cause these tests to fail even when no problem exists.
Step 1 Log in as root or fldsup on the system you want to test.
Step 2 At the bash prompt, enter the command reboot -n to bring down the NP. If your system has two NPs, do the following to reboot the second one:
Step 3 Type '. to get a TCS hub prompt.
Step 4 From the TCS hub, type reset <slot#> to reset each slot that has a line card in it. (Don't reset the switch card or NP slots.)
Step 5 Type connect <slot#> to return to the NP, then press [Return] to display a menu of boot options.
Step 6 At the menu's Option prompt, enter 6, as shown below.
Network Processor bootstrap (version 1.3: Sep 13 1993)
1 - Boot ATM switch application
2 - Begin full installation with boot from floppy disk
3 - List contents of hard disk root directory
4 - List contents of floppy disk root directory
5 - Boot system single-user
6 - Escape to full set of bootstrap options
7 - Extended help
Option> 6
Step 7 The system displays the following message and a boot prompt. Enter the string shown below to load the system monitor, which you will use to load the diagnostics.
Network Processor bootstrap (version 1.3: Sep 13 1993)
Enter "help" for documentation on extended bootstrap options
Default: (sd0a)lynx.os
Boot: (sd0b)diag/sys_np1.aout
Step 8 When the system monitor finishes loading, you'll see an identifying message and a prompt, as shown below. To load diagnostics, type the command shown, replacing <slot#> with the number of the card you want to test.
******************************************
* System Diagnostic Debug Monitor *
* Revision 1.258 (Jun 15 1994) *
* Type 'help' or '?' for help *
******************************************
System Monitor-> load <slot#> (sd0b)diag/diag_ms1.aout
Step 9 Wait about 5 minutes for the diagnostics to load. Then type '. to return to the TCS hub.
Step 10 At the TCS hub prompt, use the command connect <slot#> to connect to the card you just loaded.
Step 11 Run the desired tests.
The MSC tests listed below will fail if they are run on a system that does not have looping plugs installed on the I/O ports. (In field diagnostics, these tests are invoked when you use the test command's -l switch.) If you do not have looping plugs installed, it's recommended that you avoid running these tests:
93 --> T3/E3_PLPP_TrunkA_Fifo_External_Lpbk 94 --> T3/E3_PLPP_TrunkB_Fifo_External_Lpbk
The medium-speed line card memory tests listed below take longer than one minute to run. (Some take many minutes.) Avoiding these tests saves time. (In field diagnostics, these tests are invoked when you use the test command's -x switch.)
14 --> CP_to_DRAM_AddrBus_Indep_Test 15 --> CP_to_DRAM_Marching_1s_Test 24 --> CP_to_TSU_CntrlRAM_AddrBus_Indep_Test 25 --> CP_to_TSU_CntrlRAM_Marching_1s_Test 54 --> CTP_Control_Ram_StuckBit_Test 56 --> CTP_Control_Ram_DataBus_WalkingBit_Tst 57 --> CTP_Control_Ram_RamData_Pattern_Test 61 --> CTP_Cell_Buffer_RamData_Pattern_Test 80 --> FSU_VRAM_Rrefresh_Test
The packet line card tests listed below send data through the switch card. (In field diagnostics, these tests are invoked when you use the test command's -s switch.) Take the LightStream node off line before running these tests. Do not run them on a system that's passing traffic. (If the node is running, these tests may fail when they would otherwise pass. In addition, the "bad" data passed to the switch by the tests may cause traps.)
43 TSU_FSU_SWA_External_Lpbk_Test 46 TSU_FSU_SWB_External_Lpbk_Test
If you wish to run these tests, use the procedure below to disable the system and all the other cards in the chassis, and then to load the diagnostics into the card you wish to test. This procedure prevents the other cards from sending packets to the card under test that cause these tests to fail even when no problem exists.
Step 1 Log in as root or fldsup on the system you want to test.
Step 2 At the bash prompt, enter the command reboot -n to bring down the NP. If your system has two NPs, do the following to reboot the second one:
Type '. to get a TCS hub prompt.
Type connect <slot#> to get to the other NP, replacing <slot#> with the number of the NP's slot in the chassis.
Log in to the NP as root or fldsup.
At the bash prompt, enter the command reboot -n to bring down the NP.
Step 3 Type '. to get a TCS hub prompt.
Step 4 From the TCS hub, type reset <slot#> to reset each slot that has a line card in it. (Don't reset the switch card or NP slots.)
Step 5 Type connect <slot#> to return to the NP, then press [Return] to display a menu of boot options.
Step 6 At the menu's Option prompt, enter 6, as shown below.
Network Processor bootstrap (version 1.3: Sep 13 1993)
1 - Boot ATM switch application
2 - Begin full installation with boot from floppy disk
3 - List contents of hard disk root directory
4 - List contents of floppy disk root directory
5 - Boot system single-user
6 - Escape to full set of bootstrap options
7 - Extended help
Option> 6
Step 7 The system displays the following message and a boot prompt. Enter the string shown below to load the system monitor, which you will use to load the diagnostics.
Network Processor bootstrap (version 1.3: Sep 13 1993) Enter "help" for documentation on extended bootstrap options Default: (sd0a)lynx.os Boot: (sd0b)diag/sys_np1.aout
Step 8 When the system monitor finishes loading, you'll see an identifying message and a prompt, as shown below. To load diagnostics, type the command shown, replacing <slot#> with the number of the card you want to test.
******************************************
* System Diagnostic Debug Monitor *
* Revision 1.258 (Jun 15 1994) *
* Type 'help' or '?' for help *
******************************************
System Monitor-> load <slot#> (sd0b)diag/diag_plc1.aout
Step 9 Wait about 5 minutes for the diagnostics to load. Then type '. to return to the TCS hub.
Step 10 At the TCS hub prompt, use the command connect <slot#> to connect to the card you just loaded.
Step 11 Run the desired tests.
The PLC tests listed in this section will fail if they are run on a system that does not have looping cables installed on the I/O ports. (In field diagnostics, these tests are invoked when you use the test command's -l switch.) The individual tests vary depending on whether your PLC is paired with an FDDI access card or an Ethernet access card. If you do not have looping cables installed, it's recommended that you avoid running these tests.
FDDI
55.06 Serial_Clk_Loopback_Test(64) 55.07 Serial_Clk_Loopback_Test(1520) 55.08 Serial_CSU_DSU_Loopback_Test 55.11 FDDI_Loopback_Test
Ethernet
55.06 Serial_Clk_Loopback_Test(64) 55.07 Serial_Clk_Loopback_Test(1520) 55.08 Serial_CSU_DSU_Loopback_Test 55.11 Ethernet_Bus_External_Test 55.14 Ethernet_XC_E_Loopback_Test
If you choose to run these tests, use looping cables to connect the ports on the Ethernet card to each other in the following manner:
The packet line card memory tests listed below take longer than one minute to run. (Some take many minutes.) Avoiding these tests saves time. (In field diagnostics, these tests are invoked when you use the test command's -x switch.)
03.01 CP_to_DRAM_AddrBus_Indep_Test 03.04 CP_to_DRAM_DataBus_WalkingBit_Test 03.07 CP_to_DRAM_Marching_1s_Test 03.08 CP_to_DRAM_Refresh_Test 07.01 CP_to_PDBL_SRAM_AddrBus_Indep_Test 07.04 CP_to_PDBL_SRAM_DataBus_WalkingBit_Test 07.07 CP_to_PDBL_SRAM_Marching_1s_Test 22.12 TSU_NQP_RamTests 22.13 TSU_DQP_RamTests 23.13 FSU_ISMC_RamTests 23.14 FSU_OSMC_RamTests 24.08 TLU_RP_RamTests 24.09 TLU_TLP_RamTests 25.06 FLU_ALF_RamTests 31.01 TSU_CBuf_DRAM_AddrBus_Indep_Test 31.04 TSU_CBuf_DRAM_DataBus_WalkingBit_Test 31.07 TSU_CBuf_DRAM_Marching_1s_Test 32.01 TSU_Ctrl_DRAM_AddrBus_Indep_Test 32.04 TSU_Ctrl_DRAM_DataBus_WalkingBit_Test 32.07 TSU_Ctrl_DRAM_Marching_1s_Test 34.01 FSU_LRIC_SRAM_AddrBus_Indep_Test 34.04 FSU_LRIC_SRAM_DataBus_WalkingBit_Test 34.07 FSU_LRIC_SRAM_Marching_1s_Test 35.01 FSU_CRIC_DRAM_AddrBus_Indep_Test 35.04 FSU_CRIC_DRAM_DataBus_WalkingBit_Test 35.07 FSU_CRIC_DRAM_Marching_1s_Test 36.01 TLU_Ext_DRAM_AddrBus_Indep_Test 36.04 TLU_Ext_DRAM_DataBus_WalkingBit_Test 36.07 TLU_Ext_DRAM_Marching_1s_Test 37.01 FLU_Parse_SRAM_AddrBus_Indep_Test 37.04 FLU_Parse_DRAM_DataBus_WalkingBit_Test 37.07 FLU_Parse_DRAM_Marching_1s_Test 38.01 FLU_Proto_DRAM_AddrBus_Indep_Test 38.04 FLU_Proto_DRAM_DataBus_WalkingBit_Test 38.07 FLU_Proto_DRAM_Marching_1s_Test
The cell line card tests listed below send data through the switch card. (In field diagnostics, these tests are invoked when you use the test command's -s switch.) Take the LightStream node off line before running these tests. Do not run them on a system that's passing traffic. (If the node is running, these tests may fail when they would otherwise pass. In addition, the "bad" data passed to the switch by the tests may cause traps.)
42 Cell_lpbk_Tsu_A_Ext_SWA_Test 43 Cell_lpbk_Tsu_B_Ext_SWA_Test 46 Cell_lpbk_Tsu_A_Ext_SWB_Test 49 RATO_lpbk_Tsu_A_Ext_SWA_Test 50 Metering_lpbk_Tsu_A_Ext_SWA_Test
If you wish to run these tests, use the procedure below to disable the system and all the other cards in the chassis, and then to load the diagnostics into the card you wish to test. This procedure prevents the other cards from sending packets to the card under test that cause these tests to fail even when no problem exists.
Step 1 Log in as root or fldsup on the system you want to test.
Step 2 At the bash prompt, enter the command reboot -n to bring down the NP. If your system has two NPs, do the following to reboot the second one:
Type '. to get a TCS hub prompt.
Type connect <slot#> to get to the other NP, replacing <slot#> with the number of the NP's slot in the chassis.
Log in to the NP as root or fldsup.
At the bash prompt, enter the command reboot -n to bring down the NP.
Step 3 Type '. to get a TCS hub prompt.
Step 4 From the TCS hub, type reset <slot#> to reset each slot that has a line card in it. (Don't reset the switch card or NP slots.)
Step 5 Type connect <slot#> to return to the NP, then press [Return] to display a menu of boot options.
Step 6 At the menu's Option prompt, enter 6, as shown below.
Network Processor bootstrap (version 1.3: Sep 13 1993)
1 - Boot ATM switch application
2 - Begin full installation with boot from floppy disk
3 - List contents of hard disk root directory
4 - List contents of floppy disk root directory
5 - Boot system single-user
6 - Escape to full set of bootstrap options
7 - Extended help
Option> 6
Step 7 The system displays the following message and a boot prompt. Enter the string shown below to load the system monitor, which you will use to load the diagnostics.
Network Processor bootstrap (version 1.3: Sep 13 1993)
Enter "help" for documentation on extended bootstrap options
Default: (sd0a)lynx.os
Boot: (sd0b)diag/sys_np1.aout
Step 8 When the system monitor finishes loading, you'll see an identifying message and a prompt, as shown below. To load diagnostics, type the command shown, replacing <slot#> with the number of the card you want to test.
******************************************
* System Diagnostic Debug Monitor *
* Revision 1.258 (Jun 15 1994) *
* Type 'help' or '?' for help *
******************************************
System Monitor-> load <slot#> (sd0b)diag/diag_clc1.aout
Step 9 Wait about 5 minutes for the diagnostics to load. Then type '. to return to the TCS hub.
Step 10 At the TCS hub prompt, use the command connect <slot#> to connect to the card you just loaded.
Step 11 Run the desired tests.
The CLC tests listed below will fail if they are run on a system that does not have looping plugs installed on the I/O ports. (In field diagnostics, these tests are invoked when you use the test command's -l switch.) If you do not have looping plugs installed, it's recommended that you avoid running these tests:
51.03 OC3_Port_Extrnl_Loopback_Test 51.06 OC3_Port_0_1_X_Cross_Test 51.07 OC3_Port_0_1_X_Cross_Test_2 51.03 T3_Port_Lim_Loopback_Test
The cell line card memory tests listed below take longer than one minute to run. (Some take many minutes.) Avoiding these tests saves time. (In field diagnostics, these tests are invoked when you use the test command's -x switch.)
03 CP_to_DRAM_AddrBus_Indep_Test 06 CP_to_DRAM_DataBus_WalkingBit_Test 09 CP_to_DRAM_Marching_1s_Test 10 CP_to_DRAM_Refresh_Test 26.13 FSU_ISMC_RamTests 26.14 FSU_OSMC_RamTests 27.12 TSU_NQP_RamTests 27.13 TSU_DQP_RamTests 28.12 TSU_B_NQP_RamTests 28.13 TSU_B_DQP_RamTests 29.01 TSU_CBuf_DRAM_AddrBus_Indep_Test 29.04 TSU_CBuf_DRAM_DataBus_WalkingBit_Test 29.07 TSU_CBuf_DRAM_Marching_1s_Test 30.01 TSU_Ctrl_DRAM_AddrBus_Indep_Test 30.04 TSU_Ctrl_DRAM_DataBus_WalkingBit_Test 30.07 TSU_Ctrl_DRAM_Marching_1s_Test 31.01 TSU_CBuf_DRAM_AddrBus_Indep_Test 31.04 TSU_CBuf_DRAM_DataBus_WalkingBit_Test 31.07 TSU_CBuf_DRAM_Marching_1s_Test 32.01 TSU_Ctrl_DRAM_AddrBus_Indep_Test 32.04 TSU_Ctrl_DRAM_DataBus_WalkingBit_Test 32.07 TSU_Ctrl_DRAM_Marching_1s_Test 34.01 FSU_LRIC_SRAM_AddrBus_Indep_Test 34.04 FSU_LRIC_SRAM_DataBus_WalkingBit_Test 34.07 FSU_LRIC_SRAM_Marching_1s_Test 35.01 FSU_CRIC_DRAM_AddrBus_Indep_Test 35.04 FSU_CRIC_DRAM_DataBus_WalkingBit_Test 35.07 FSU_CRIC_DRAM_Marching_1s_Test
This section alphabetically lists and describes selected commands that are available in LightStream's hardware diagnostic packages. Many commands are available in all three packages; others are specific to one or two packages. Each entry lists the packages in which the command is available.
! <command>
Causes the specified command to loop indefinitely. For example, the arun command runs all tests once; !arun cycles through all the tests repeatedly until you stop the loop, or, if stop on fail mode is on, until a test fails.
Availability: all packages
? [<command>]
Without argument: Displays a list of available commands.
With argument: Displays information on the specified command.
Availability: all packages
access [ethernet | fddi | serial]
With no argument, displays the type of access card installed with the PLC line card under test. With an argument, forces activation of the access card tests for the access card type indicated.
Availability: PLC diags
arun
Runs all tests once. Not recommended if you don't have looping plugs or if you are running diagnostics remotely, as this command runs tests that require looping plugs.
Availability: all packages
bb_battery
Checks the status of the battery for the NP's battery-backed RAM. A screen display tells you that the battery is OK, or that it's low.
Availability: NP diags
blink [green | yellow | both] [1hz | 2hz | 4hz] [on | off]
In NP diags: Causes the green RDY LED and/or the yellow FLT LED on the NP bulkhead to blink, turn on, or turn off.
blink [on | off]
In PLC and CLC diags: Causes LNS OK LED on the bulkhead to blink (on) or not blink (off) during long-running tests. Blinking gives an indication that the tests are still running.
chprmpt <string>
Changes the diagnostics command prompt. Maximum prompt length is 30 characters.
Availability: all packages
cnt [<loop count>]
Specifies the count, or number of times the selected tests will be executed when you use the run command. Use cnt with no argument to display the current loop count.
Availability: all packages
dsel {all | <test#> | <test# range>}
Deselects all selected tests, a particular test, or a range of tests.
Availability: all packages
dsp_ver
Displays the firmware revision levels of the switch interface daughterboard's PCP, CMP, and FSU digital signal processors.
Availability: NP diags
env
Displays the current test run environment as selected with the mod command.
Availability: all packages
execute [<test#> | <test# range>] [<-switches>] [argument] [argument] [argument] [argument]
Runs selected tests (with no argument), or specified tests. The switches, which temporarily override the mode settings, are as follows:
execute is the same as run and go.
Availability: all packages
You can also run tests using the execute or go commands, or by typing specific test numbers or ranges of numbers. (For example, type 22 to run test 22.) You can use the switches for the run command with test numbers as well. Thus, for example, these two commands both cause tests 22 through 24 to loop indefinitely:
run 22-24 -l22-24 -l
Availability: all packages
exit
Halts the diagnostics, resets the board, and transfers control to POST. (Same as quit.)
Availability: all packages
fl_format
Formats the diskette in the floppy drive.
Availability: NP diags
fl_inq
Displays information on the floppy disk drive, including firmware revision level and model number.
Availability: NP diags
go [<test#> | <test# range>] [<-switches>] [argument] [argument] [argument] [argument]
Runs the specified test or range of tests. go is the same as execute and run.
Availability: all packages
help [<command> | <test#>]
Provides three kinds of help:
Availability: all packages
history
Displays the last 50 commands entered. This command is useful in conjunction with ^P to yank previous commands from the history buffer.
Availability: all packages
jumpers
Displays the current setting of the jumpers that determine whether the low-speed line card presents V.35 or RS-449 interfaces.
Availability: LSC diags
led [<on | off>] [<channel>]
Turns the channel LEDs on the line card bulkhead on or off. Without an argument, led flashes the LEDs in succession until you press any key to stop the test. led on turns all the LEDs on; led off turns them all off. In conjunction with the on/off argument, the channel argument lets you turn particular LEDs on or off. On medium-speed cards, the channels are 0 and 1; on low-speed cards, the channels are 0 - 7. The following example turns LED 0 on:
led on 0
Availability: LSC and MSC diags
loop [<loopcount>]
Sets the loop counter to the specified number. When you use execute, go or run, the selected tests repeat, or loop, the specified number of times.
Availability: all packages
l[i]st [all] [<test#> | <test# range>]
Lists selected tests (with no argument), all tests, a specific test, or a range of tests. (A range is expressed with a dash. For example, you might type lst 1-6.)
In PLC and CLC diagnostics, tests are numbered hierarchically using both decimal and whole numbers. Similar tests are grouped together under the same number. For example, all the access card tests in PLC diagnostics are subtests of test number 55, and are numbered 55.01 to 55.15. If you type lst or list in PLC or CLC diags, only the top-level tests are listed. Type lst all to list all the tests, including subtests.
Availability: all packages
macro
Lists all installed macros. Refer to the "Macros" section for information on installing and using macros.
Availability: all packages
mod <mode> = <0 | 1> | <on | off> | <number> | <off | hard | soft | detailed | info>
Sets up the test environment, where mode is one of the following:
0 turns the specified mode off; 1 turns it on. For example, mod sof = 1 turns stop on fail mode on. 0 and 1 can be replaced with off and on. Thus, mod sof = on has the same effect as mod sof = 1.
Availability: all packages
quit
Halts the diagnostics, resets the board, and transfers control to POST. (Same as exit.)
Availability: NP diags
rev
Displays information identifying the current revision of the diagnostics. rev is the same as ver.
Availability: all packages
run [<test#> | <test# range>] [<-switches>] [argument] [argument] [argument] [argument]
Runs selected tests (with no argument), or specified tests. The switches, which temporarily override the mode settings, are as follows:
run is the same as execute and go.
You can also run tests using the execute or go commands, or by typing specific test numbers or ranges of numbers. (For example, type 22 to run test 22.) You can use the switches for the run command with test numbers as well. Thus, for example, these two commands both cause tests 22 through 24 to loop indefinitely:
run 22-24 -l22-24 -l
Availability: all packages
scsi_reset
Resets the SCSI bus that communicates with the hard and floppy disk drives.
Availability: NP diags
sel [<test#> | <test# range> | all]
Selects the test or tests to be run. The argument can be a single test number, a range of numbers (6 - 12, for example), or all (select all tests). Use run to execute selected tests. Use dsel to deselect tests.
Availability: all packages
status [all | clr | fail | <test#> | <test# range>]
Displays the status of selected tests (with no argument); all displays status for all tests; clr clears the status of selected tests; and fail displays the status of failed tests only. To display detailed status, use status and help together:
status<test#>;help<test#>
The help display explains the error codes used in the status display.
Availability: all packages
temp
Displays temperature readings for the card under test.
Availability: all packages
ver
Displays information identifying the current version of the diagnostics. ver is the same as rev.
Availability: all packages
voltage
Displays voltage information for the card under test, as measured and reported by the TCS.
Availability: all packages
Any command can be abbreviated to the shortest string that uniquely identifies it in its diagnostic package.
Each diagnostics package lets you configure up to five macros, numbered 0 through 4. (Macros 0 and 1 are preconfigured; see "Running Sets of Tests" section for descriptions of what they do.) A macro can be a command or string of commands. Use the following syntax to install a macro:
_x=<command>
Where x is a macro number (0 - 4), and command is a command or a chain of commands.
In the following example, two macros are installed; the second incorporates the first.
_3=sel14-18; run _4=_3; status
To execute a macro, type its number preceded by an underscore: for example, _1. To list all the installed macros, use the macro command.
Overview ² Replacing a Switch Card ² Replacing a Network Processor Card ² Replacing a Line Card ² Replacing an Access Card ² Replacing a Power Tray ² Replacing a Blower ² Replacing a Disk Assembly ² Replacing a Disk Assembly Connector ² Replacing the Midplane ² Replacing a Console/Modem Assembly ² Replacing a Fantail ² Performing an Orderly Shutdown
Read this chapter for instructions on removing and replacing field-replaceable units (FRUs) in LightStream 2020 enterprise ATM switches.
For instructions on how to isolate hardware problems to the FRU level, see "Hardware Troubleshooting" section.
![]() | Warning Procedures in this chapter can expose you to electrical and mechanical hazards. Carefully read and adhere to all cautions and warnings in the instructions. |
![]() | Caution Do not swap one line card for another unless you're sure that the cards are of the same type. Most line cards can be configured as either edge or trunk cards. You can't determine by looking at a card whether it's an edge or a trunk; check the configuration or use the show card command in CLI. |
![]() | Caution Before removing any components from or adding any components to the chassis, read the safety instructions on "Electrostatic Discharge (ESD) Protection" section. If you handle components without proper ESD precautions, you may damage the system. |
LightStream switches are designed to have a low mean time to repair (MTTR). FRUs are easily accessible and easy to replace. You should be able to complete each of the procedures detailed here within 15 minutes, except where otherwise noted.
Most of the procedures in this chapter can be completed by one person. The exception is the disk assembly connector replacement, which should be done by two people.
LightStream provides power-on servicing, which means that most portions of the system can be serviced while the unit continues to operate. You can perform power-on servicing on the following FRUs:
Before replacing the following FRUs, you must perform an orderly shutdown of the LightStream system and turn off power:
Refer to "Performing an Orderly Shutdown" section for instructions on performing an orderly shutdown of a LightStream switch.
Figure 7-1 and Figure 7-2 show the locations of FRUs from the front and rear of the chassis.
When you remove a faulty component from a LightStream system, you can return it for repair. Here's what to do:
Step 1 Call your LightStream vendor to obtain a return material authorization (RMA) number and an address to which to ship the FRU.
Step 2 Attach a tag to the FRU that lists the RMA number and describes the problem you experienced. Include instructions on how to reproduce the problem and a list of the test numbers of the diagnostics that the FRU failed.
Step 3 Pack the FRU securely and ship as directed.
Step 4 Record the replacement in your system's maintenance log.
The following is a complete list of tools and equipment you must supply and have on hand for LightStream FRU replacement:


This section explains how to remove and replace a switch card. If the LightStream system is passing traffic, note the following:
Step 1 Before you attempt to remove the card from the chassis, refer to the LightStream 2020 Administration Guide and follow the procedures to deactivate the line card and turn off power in the card slot.
Step 2 Unscrew the captive screws at the top and bottom of the card.
Step 3 Using the extractor handles, pull the card out of its slot. (See Figure 7-3.)
![]() | Warning 48-volt current is present on the midplane at high levels. Be very careful when accessing this area; don't touch the midplane unnecessarily, and avoid contact with connectors. |
Step 1 Insert the new switch card into the slot, taking care to seat the card firmly in the midplane.
Step 2 Lock down the extractor handles and tighten the screws that hold the card in place.
Step 3 Refer to the LightStream 2020 Administration Guide for instructions on powering up and reactivating the slot.

This section explains how to remove and replace an NP card. If the LightStream system is passing traffic, note the following:
Step 1 Before you attempt to remove the card from the chassis, refer to the LightStream 2020 Administration Guide and follow the procedures to deactivate the card and turn off power in the card slot.
Step 2 Unscrew the retaining screws at the top and bottom of the card.
Step 3 Using the extractor handles, pull the card out of its slot. (See Figure 7-4.)
Step 1 Insert the new NP card into the slot, taking care to seat the card firmly in the midplane.
Step 2 Lock down the extractor handles and tighten the screws that hold the card in place.
Step 3 Refer to the LightStream 2020 Administration Guide for instructions on powering up and reactivating the slot.

This section explains how to remove and replace a line card.
Step 1 Before you attempt to remove the line card from the chassis, refer to the LightStream 2020 Administration Guide and follow the procedures to deactivate the line card and turn off power in the card slot.
Step 2 Unscrew the retaining screws at the top and bottom of the card.
Step 3 Using the extractor handles, pull the card out of its slot. (See Figure 7-5.)
Step 1 Insert the new line card into the slot, taking care to seat the card firmly in the midplane.
Step 2 Lock down the extractor handles and tighten the screws that hold the card in place.
Step 3 Refer to the LightStream 2020 Administration Guide for instructions on powering up and reactivating the slot.

This section explains how to remove and replace an access card.
Step 1 Before you attempt to remove the access card from the chassis, refer to the LightStream 2020 Administration Guide and follow the procedures to deactivate the card and turn off power in the card slot. (Note that you will also deactivate and power down the NP or line card associated with the access card you intend to replace. When you deactivate or power down a line card or NP, the same thing happens to the associated access card.)
Step 2 Disconnect any cables attached to the access card. Label them so that you will be able to reconnect them to the new access card in exactly the same configuration.
Step 3 Unscrew the retaining screws at the top and bottom of the card.
Step 4 Using the extractor handles, pull the card out of its slot. (See Figure 7-6.)
![]() | Caution Before installing the new access card, ensure that the function card in that slot is turned off. (Check the VCC (power) LED on the card.) Connecting an access card to a powered-on function card can damage the access card. |
Step 1 Insert the new access card into the slot, taking care to seat the card firmly in the midplane.
Step 2 Lock down the extractor handles and tighten the screws that hold the card in place.
Step 3 Reconnect any cables that you disconnected when you removed the old access card.
Step 4 Refer to the LightStream 2020 Administration Guide for instructions on powering up and reactivating the slot.

This section explains how to remove and replace a bulk power tray. Power trays are accessible from the rear of the chassis, as shown in Figure 7-7.
Step 1 If this system has two power trays, skip to step 2. If it has only one and is still operating, shut the system down before proceeding. If you remove the only power tray in an operating system, the system loses power and ceases to operate. See "Performing an Orderly Shutdown" section for instructions on performing an orderly shutdown.
Step 2 Unscrew the two captive screws that hold the power tray's cover in place. Remove the cover.
![]() | Warning When you remove the power tray cover, live power circuits are exposed. Touch only the front lip and the sides of the power tray. Do not insert tools or hands into the power supply tray or into the chassis. |
Step 3 Unscrew the two captive retaining screws that hold the power tray assembly in place. (See Figure 7-7.)
Step 4 Slowly slide the power tray out of the chassis.
Step 1 If this system has two power trays, skip to step 2. If it has only one and is still operating, shut the system down before proceeding. If you remove the only power tray in an operating system, the system loses power and ceases to operate. See "Performing an Orderly Shutdown" section for instructions on performing an orderly shutdown.
Step 2 Disconnect the power wires and the alarm wires (if any) from the front of the power tray.
Step 3 Unscrew the two captive retaining screws that hold the power tray assembly in place. (See Figure 7-7.)
Step 4 Slowly slide the power tray out of the chassis.
Step 1 Slide the new power tray into the housing in the chassis. Make sure that the power tray fits snugly.
Step 2 Tighten the two screws that hold the power tray assembly in place.
Step 3 If you're installing a DC power tray, reconnect the power wires and the alarm wires (if any) to the terminals on the front of the power tray.
Step 4 If you're installing an AC power tray, replace the cover. Secure the cover with the two captive screws that hold it in place.
Step 5 Check the green LED on the power tray to ensure that the power is on. (On a DC power tray, the LED is just below the power switch. On an AC tray, you should be able to see the LED through the cover.)

This section explains how to remove and replace a blower.
The blowers are at the top of the LightStream chassis. One is accessible from the front and the other is accessible from the rear.
Step 1 Unscrew the two captive screws that hold the blower cover in place. Remove the cover.
Step 2 Unscrew the retaining screws (bottom front of the blower, shown in Figure 7-8) and slowly slide the blower out until its power LED goes out. When the impeller inside the blower stops spinning, remove the blower completely from the chassis.
![]() | Warning The impeller inside the blower box may still be turning when you loosen the retaining screws. Keep fingers, screwdrivers and other objects away from the openings in the blower's housing. Do not remove the blower from the chassis until the impeller stops moving. |
Step 1 Slide the new blower into the chassis. Tighten the retaining screws (bottom front).
Step 2 Check the power LED on the front of the blower. It should be on if the system is powered up. (If the LED does not light up, the system may have a connector problem or a power problem.)
Step 3 Replace the cover and tighten the two screws that hold it in place.

This section explains how to remove and replace a disk assembly.
The disk assembly is a single FRU consisting of a hard disk drive, a floppy disk drive and an associated power supply. A LightStream switch can have up to two disk assemblies. Each disk assembly is associated with a network processor card, and is connected to the network processor card by a ribbon cable attached to a male connector at the rear of the disk assembly slot.
Step 1 Unscrew the two screws that hold the disk assembly in place.
Step 2 Slowly slide the disk assembly out of the enclosure.
![]() | Warning When you remove the disk assembly, live power circuits are exposed. Touch only the handle on the front of the disk assembly until you can remove it from the chassis. Do not insert tools or hands into the disk assembly or into the chassis. |
Step 1 Slide the new disk assembly into the enclosure. When the connectors begin to engage, push slowly and gently to avoid damaging the pins.
Step 2 Tighten the two screws that hold the disk assembly in place.
Step 3 Turn to "Software Installation" section and follow the procedures for installing software on the replacement disk.

This section tells you how to replace the 64-pin male DIN connector at the back of each disk assembly slot. You should replace this connector if you notice that any of the pins are bent or broken.
The disk assembly connector is a two-piece "press fit" connector, shown in Figure 7-10. One piece inserts from the rear of the chassis; the other inserts from the front. Have a second person on hand to help you with this procedure.

Step 1 Perform an orderly shutdown of the system, as described in the section "Performing an Orderly Shutdown."
Step 2 Remove the bulk power tray behind the connector that is being replaced. (See the section on "Replacing a Power Tray" if you need instructions on removing the power tray.)
Step 3 Following the instructions in the section, "Replacing a Disk Assembly), remove the disk assembly from the enclosure.
Step 4 From the rear of the chassis, unscrew the two Phillips-head screws that hold the SCSI ribbon cable in place at the rear of the disk assembly connector. Remove the ribbon cable. (Figure 7-11 shows how these pieces fit together.)
Step 5 Remove the two 3/16 lug screws from the rear of the connector. (These lugs held the screws removed in the previous step.)
Step 6 From the front of the chassis, remove the two Phillips-head screws from the front of the connector.
Step 7 Make a note of how the connector is keyed so that you can install the new one in the same manner.
Step 8 Disassemble the connector and remove it.
Step 1 The new connector consists of a back piece with pins and a front piece with holes. Have the person who is helping you hold the front piece in front of the hole in the sheet metal where the connector is being installed.
Step 2 From the rear of the chassis, insert the pins on the back of the connector through the hole in the sheet metal and through the front piece of the connector (which is held in place by your helper). When the two pieces of the connector begin to engage, push slowly and gently to avoid damaging the pins.
Step 3 Have your helper replace the two Phillips-head screws in the front of the connector.
Step 4 While your helper holds the two Phillips-head screws in place from the front, replace the two 3/16 lug screws in the rear of the connector.

Step 5 Replace the SCSI ribbon cable at the rear of the connector and secure it with the two Phillips-head screws that hold it in place.
Step 6 Carefully slide the disk assembly back into the enclosure. When the connectors begin to engage, push slowly and gently to avoid damaging the pins. Tighten the retaining screws that hold the disk assembly in place.
Step 7 Replace the power tray behind the connector that was replaced.
Step 8 Turn on the power and bring the system back up.
This section explains how to remove and replace the midplane. The first procedure tells you how to learn the chassis ID, which is stored in EEPROM on the midplane. You must find and record this number before removing the old midplane so you can store it in the EEPROM on the new midplane. (The EEPROMs are located on the back of the midplane near the middle of the top edge; the positions are labelled u1 and u2.)
Estimated time to complete these procedures: two hours
The chassis ID should be recorded in each node's maintenance log. If the chassis ID isn't in the log, you can use this procedure to learn it, provided the EEPROMs on the midplane are healthy.
Step 1 Log into the LightStream system as root or fldsup.
Step 2 Run the sysver command at the bash prompt:
sysver -mp | more
Step 3 In the resulting display, locate the chassis ID. (If you have two switch cards, the chassis ID should be the same for both.) The chassis ID is displayed in hex and looks something like this example:
Record the pair of digits following each 0x. For the example above, you would record:
If you have changed the modem init string and modem password from the factory defaults, record them as well, as you will need to restore them later.
Step 1 Perform an orderly shutdown of the system, as described in the section "Performing an Orderly Shutdown."
Step 2 Cut off the power to the system by detaching the power cord or turning off the power feed.
Step 3 Remove all the cards from the front of the chassis.
Step 4 From the rear of the chassis, unseat all the access cards and disconnect the console/modem assemblies. (It's not necessary to remove these items from the chassis.)
Step 5 From the rear of the chassis, remove the NP access card(s). Behind each NP access card, at the bottom of the slot, you'll see a ribbon cable attached to the midplane. Disconnect each ribbon cable. (If you have two NPs--and thus two ribbon cables--you should label the cables so you can reconnect them properly later.)
Step 6 From the rear of the chassis, remove the lower power tray. (See "Replacing a Power Tray" section for instructions.)
Step 7 Reach into the lower power tray slot and unplug the two power connectors (J15 and J16) from the midplane power tab, as shown in Figure 7-12.
Step 8 From the front of the chassis, remove four #2 Phillips-head screws from the top and bottom of the frame surrounding the card cage. (See Figure 7-13.) The screws are located behind slots 3 and 7.
Step 9 Reach into the chassis and remove two #2 Phillips-head screws from the top and bottom corners of left side of the midplane. (Figure 7-13 shows the screw positions.) The midplane is now disconnected from the chassis.
Step 10 Pull the card cage (with the midplane still attached at the rear) out of the chassis. As you remove this assembly, rotate it slightly clockwise to allow the power tab to clear the chassis. (See Figure 7-14.)
Step 11 To separate the midplane and card cage, remove all the Phillips-head screws from the back of the midplane.

Step 1 Screw the replacement midplane to the card cage.
Step 2 Slide the midplane-card cage assembly into the chassis, holding the assembly so that the midplane enters with the power tab foremost. When the power tab clears the corner of the disk housing, rotate the assembly counterclockwise until it fits snugly.
Step 3 Replace the two screws at the left corners of the midplane.
Step 4 Replace the four screws in the top and bottom of the frame surrounding the card cage.
Step 5 Reinsert the line cards, NPs and switch cards into the chassis.
Step 6 From the rear of the chassis, reach into the lower power tray slot and reconnect plugs J15 and J16 to the midplane power tab. (The plugs are keyed to their sockets so that they cannot be connected incorrectly.)
Step 7 Replace the lower power tray.
Step 8 Locate the ribbon cable(s) behind the NP access card(s) and reconnect the cable(s) to the midplane. (There is one cable per NP.)
Step 9 Reconnect the console/modem assemblies and reseat the access cards; be sure to tighten all the retaining screws.


This procedure differs depending on whether your system has one switch card or two. If you have two switch cards, you need only type two commands to program the two EEPROMs. If you have just one switch card, you must move the card from one switch slot to the other between commands. This is necessary because each midplane EEPROM is connected to one switch card slot, and you can't program the EEPROM without a switch card in the slot. It is very important to have the same chassis ID on both midplane EEPROMs.
Step 1 Power up the system.
Step 2 Attach a terminal to the console port of the active switch card.
Step 3 The terminal connects to the TCS hub. At the prompt, type the following command, replacing the placeholder at the end with your chassis ID, which you recorded at the beginning of this section:
TCS HUB<<A>> set sa mid nodeaddr <chassisID>
Step 4 To verify that you entered the chassis ID in slot A correctly, type the following command and check the chassis ID in the resulting display. (If you just set the chassis ID for slot B, begin this command with show sb instead of show sa.)
TCS HUB<<A>> show sa mid nodeaddr
Step 5 If this system contains two switch cards, skip to step 8. If this system contains only one switch card, type the following:
TCS HUB<<A>> set sa power off
Step 6 Remove the switch card from the chassis and put it into the other switch card slot.
Step 7 From the rear of the chassis, move the console/modem assembly (keeping the console connection intact) to the other switch card slot. Note that when you return to the console, the TCS hub prompt changes from A to B (or from B to A, if you started with switch slot B). Press [Return] to display the new prompt.
Step 8 At the console, type the following:
set sb mid nodeaddr <chassisID>
Step 9 To verify that you entered the chassis ID in slot B correctly, type the following command and check the chassis ID in the resulting display. (If you just set the chassis ID for slot A, begin this command with show sa instead of show sb.)
show sb mid nodeaddr
Step 10 If the modem initialization string and modem password stored in midplane EEPROMs have not been changed from the factory defaults, skip to the next step. If the modem information has been changed, you must bring the new midplane up to date. Refer to the LightStream 2020 Operations Guide for instructions on programming the modem init string and password into the EEPROMs on the new midplane.
Step 11 To reset the system with the new EEPROM information, use the command shown below. Replace the <slot#> with the slot number of the NP (1 or 2). If your system has two NPs, repeat this command for the second one.
reset <slot#>
Step 12 You can now bring the system up. To connect to the primary NP, use the command shown below. Replace the <slot#> with the slot number of the active NP in the system (1 or 2).
connect <slot#>
This section tells you how to remove and replace a console/modem assembly.
A console/modem assembly is located behind each switch card, at the rear of the chassis. The assembly consists of a bulkhead with console and modem ports mounted on it, with cables to connect to the midplane.
Step 1 Loosen the retaining screws at the top and bottom of the bulkhead.
Step 2 Pull the bulkhead away from the chassis (see Figure 7-15). You'll see a ribbon cable that attaches the bulkhead to the midplane; disconnect it at the midplane end.
Step 1 Connect the new assembly's ribbon cable to the connector on the midplane.
Step 2 Line up the bulkhead against the card cage and tighten the top and bottom retaining screws.

This section tells you how to remove and replace LightStream fantails, which provide connectors for data cables on low-speed (X.21, V.35 and RS-449) lines. Figure 7-16 shows how fantails are connected to access cards.
Step 1 Disconnect any external data cables from the fantail. Label them with the numbers of the ports they were connected to so that you will be able to reattach them to the new fantail in exactly the same configuration.
Step 2 Remove the fantail cable (or cables, in the case of an X.21 fantail) from the back of the fantail, leaving the cable(s) attached to the access card in the chassis.
Step 3 Using a 5/16-inch slotted-tip screwdriver, unscrew the mounting screws and remove the fantail from the equipment rack.
Step 1 If necessary, attach the four clip nuts provided with the new fantail to the holes in the equipment rack rails.
Step 2 Attach the fantail cable(s) to the back of the fantail.
Step 3 Using a 5/16-inch slotted-tip screwdriver and the mounting screws and washers provided, attach the fantail to the equipment rack.
Step 4 Label the fantail with the slot number or names of the line and access cards that it is connected to.
Step 5 Reconnect any data cables that were disconnected to remove the old fantail.

This section explains how to shut down a LightStream switch gracefully, which involves rebooting the NPs. You may need to use this shutdown procedure before performing other procedures in this manual.
Two shut-down procedures are provided: the first is for switches with two NPs, the second for switches with one NP. Following the shut-down procedures are instructions for returning to service.
In a system with two NPs, you must reboot the backup NP before you reboot the active NP. (If you reboot the active NP first, the backup takes over and the system continues to operate.)
Step 1 Warn anyone who will be affected that you're taking the system out of service.
Step 2 Log in to the root account on the switch you want to shut down.
Step 3 To determine which NP is active (primary), start the CLI and use the command show chassis general and look for Slot of Primary NP in the resulting display. This is the NP you'll reboot last.
Step 4 To log into the backup NP (the one whose slot number was not displayed in step 3), do the following:
Type '. to get a TCS hub prompt.
At the TCS hub prompt, use connect <slot#> to connect to the backup NP. The example below assumes that you are connecting to the NP in slot 2.
TCS hub<<A>> connect 2
Log in to the root account.
Step 5 From the bash# prompt, type
bash# reboot -n
Step 6 Type '. to return to the TCS hub.
Step 7 At the TCS hub prompt, use connect <slot#> to connect to the active NP. The example below assumes that you are connecting to the NP in slot 1.
TCS hub<<A>> connect 1
Step 8 If necessary, type quit to exit from CLI and get a bash prompt.
Step 9 From the bash# prompt, type
bash# reboot -n
Step 10 You can now turn off the power.
Use this procedure to shut down a system with one NP, or to shut down one NP in a redundant system where you want the other NP to continue operating.
Step 1 Warn anyone who will be affected that you're taking the system out of service.
Step 2 Log in to the root account on the switch you want to shut down.
Step 3 From the bash# prompt, type
bash# reboot -n
Step 4 You can now turn off the power.
If you turned off the power, you can return the system to service by turning the power on again.
If you did not turn off the power, use the command shown below at the TCS hub to bring the system back to service. Replace slot# with the slot number of the NP card (1 or 2):
TCS hub<<A>> reset <slot#>
Note that you must issue the reset command to both NPs in a redundant system.
This appendix lists:
(An expansion module includes everything needed to add a particular kind of card to an existing system.)
At least one part number is listed for each item. For many items, two part numbers are provided: the LightStream-internal manufacturing number, and the order number.
![]() | Caution Before removing any components from the chassis, read the safety instructions in the "Electrostatic Discharge (ESD) Protection" section. Removing components when you are not grounded can damage the system. |
| Component | Manufacturing Number | Order Number |
|---|---|---|
| Base system1 plus NP | 2321968G02 | 9000-2 |
NP option module:
|
2221994G02 | 9400-2 |
| NP access card | 2121992G01 | |
| Disk assembly for AC system
Disk assembly for DC system | 2221995G01
2221995G02 | |
| Switch card
... with console/modem assembly | 2123864G01 |
9001-2 |
| Low-speed line card, V.35 module: | 9304-1 (4-ft. cables)
9308-1 (8-ft. cables) 9312-1 (12-ft. cables) | |
|
2222250G01 2122007G01 2222718G01 2422865-OX2 | |
| Low-speed line card,
RS-449 module: |
9304-2 (w/ 4-ft. cable) 9308-2 (w/ 8-ft. cable) 9312-2 (w/ 12-ft. cable) | |
|
2222250G01 2122007G01 2223856G01 2422865-0X2 | |
| Low-speed line card,
X.21 module: |
9304-2 (w/ 4-ft. cable) 9308-2 (w/ 8-ft. cable) 9312-2 (w/ 12-ft. cable) | |
|
2222250G01 2122007G01 2223856G01 2422865-0X2 | |
| Medium-speed line card,
T3 module:
|
2122009G01 2122012G01 |
9200-1 |
| Medium-speed line card,
E3 PLCP module:
|
2122009G01 2123258G02 |
9200-2 |
| Medium-speed line card,
E3 G.804 module:
|
2122009G01 2123258G03 |
9200-3 |
Packet line card/Ethernet module:
|
2123086G01 2123988G01 |
9600-2 |
Packet line card/FDDI module:
|
2123086G01 2124055G01 |
9600-3 |
| Cell line card,
2-port multimode OC3 module:
|
2123263G01 2123265G02 |
9700-5 |
| Cell line card,
1-port multimode OC3 module:
|
2123263G01 2123265G04 |
9700-4 |
| Cell line card,
2-port single mode OC3 module:
|
2123263G01 2123265G01 |
9700-3 |
| Cell line card,
1-port single mode OC3 module:
|
2123263G01 2123265G03 |
9700-2 |
| Midplane | 2121973G01
| |
| Bulk power tray assembly, AC | 2221983G01 | 9001-1 |
| Bulk power tray assembly, DC | 2223234G01 | 9001-3 |
| Blower assembly | 7022296-01 | |
| Disk assembly connector:
64-pin DIN connector w/ spacer |
7122828-01 |
IP Addresses ² Address Masks ² Subnetting
This appendix provides some background information for readers who are not familiar with the considerations involved in assigning IP addresses to networks and hosts. For additional information, see:
An IP address is a 32-bit identifier assigned to hosts that use the Internet Protocol. The address is represented by four octets (8-bit fields). In decimal form, an IP address comprises four fields separated by dots, where each field contains a value in the range 0-255. (This is called dotted decimal notation.)
An IP address consists of two parts. The first part of the address, called the network number, identifies a network on the internet; the remainder, called the host ID, identifies an individual host on that network. Historically, there are three types of addresses, class A, class B, and class C, as follows:
Example: 26.4.0.1, for host 4.0.1 on net number 26.
Example: 192.15.28.16, for net number 192.15.28, host 16.
Each host ID must be unique within a given network, and each network number must be unique within a given internet. Host IDs are assigned by the administrator of the network. The network number is assigned by the administrator of the internetwork. For a public network on the Internet, you must obtain a network number assigned by the Network Information Center (NIC).
An address mask determines which portion of an IP address identifies the network and which portion identifies the host. Like the IP address, the mask is represented by four octets. (An octet is an 8-bit binary number equivalent to a decimal number in the range 0-255). If a given bit of the mask is 1, the corresponding bit of the IP address is in the network portion of the address, and if a given bit of the mask is 0 the corresponding bit of the IP address is in the host portion.
The following illustration shows the mask 255.255.255.0 in both decimal and binary form, aligned with the class C address 192.15.28.16, also in both decimal and binary:
| Network | Host | |||
|---|---|---|---|---|
| Mask | 255 | .255
| .255 | 0 |
| 11111111 | 11111111 | 11111111 | 00000000 | |
| Address 192 | .15 | .28 | 16 | |
| 11000000 | 00001111 | 00011100 | 00010000 |
If a field of the network address is entirely used for the network number, then the corresponding field of the mask has the decimal value 255 (binary 11111111), and if an address field is entirely used for the host ID, then the corresponding field of the mask has the decimal value 0, as follows:
| Decimal Value in Field of Mask | Binary Value in Field of Mask | Used to Identify: |
|---|---|---|
| 255 | 11111111 | Network # |
| 0 | 00000000 | Host ID |
Accordingly, the address masks for the three classes of networks described above are as follows:
| Address Class | Address Mask |
|---|---|
| A | 255.0.0.0 |
| B | 255.255.0.0 |
| C | 255.255.255.0 |
The boundary between the network portion and the host portion of IP addresses can be shifted by replacing the first zero in the host portion with a different number. By this means, more than one physically distinct network can be managed under a single class A, class B, or class C network number.
When a modified address mask is used to partition a network into subnets, it is called a subnet mask. The simplest subnet masks for the three classes of networks are as follows, where n is a number other than zero:
| Address Class | Address Mask |
|---|---|
| A | 255.n.0.0 |
| B | 255.255.n.0 |
| C | 255.255.255.n |
(The other zeros in the mask for a class A or class B address can also be replaced by a different number, but for simplicity we will ignore that possibility here.)
A simple example of subnetting partitions a class B network by setting the third octet of the mask to 255, that is, by using the address mask of a class C network. The following illustration shows the mask 255.255.255.0 in both decimal and binary form, aligned with the class B address 128.89.2.26, also in both decimal and binary:
| Network | Host | |||
|---|---|---|---|---|
| Mask | 255 | .255
| .255 | 0 |
| 11111111 | 11111111 | 11111111 | 00000000 | |
| Address | 128 | ..89 | .2 | .26 |
| 10000000 | 01011001 | 00000010 | 00011010 |
Outside the network, packets are routed to net 128.89. It is only when packets reach a router that is directly connected to the network that routing software takes account of the subnet mask. The mask partitions net 128.89 into 254 subnets (numbers 0 and 255 are reserved), each supporting up to 254 hosts.
Other values than 255 may be used, however, and obviously 255 cannot be used in the host field of a class C network. The mask value n that is substituted for 0 must be one of the decimal values shown in the first column of the following table:
| Decimal Value | Binary Value | Subnets | Hosts |
|---|---|---|---|
| 192 | 11000000 | 2 | 62 |
| 224 | 11100000 | 6 | 30 |
| 240 | 11110000 | 14 | 14 |
| 248 | 11111000 | 30 | 6 |
| 252 | 11111100 | 62 | 2 |
Decimal value 254 (binary 11111110) is omitted from the above table because it allows 0 hosts. Decimal value 0 (binary 00000000) and decimal value 128 (binary 10000000) are omitted because they allow 0 subnets.
The reserved network numbers and host IDs that were subtracted from 2n in columns 3 and 4 are as follows:
For example, the address 192.15.28.0 refers to class C network 192.15.28.
You know how to partition a network with a subnet mask, but you may not be able to determine which IP addresses fall in each of the subnets. An example will clarify this.
Suppose you want to partition class C network 192.15.28 into five physical networks. Look in the "Subnets" column of the table in the section "Subnet Masks." The closest approximation is to configure six subnets. To do this, enter 224 in the last field of the subnet mask. Thus, 255.255.255.224 is the subnet mask that you must specify to partition a class C network into six subnets.
The following illustration shows the mask 255.255.255.224 in both decimal and binary form, aligned with the class C address 192.15.28.16, also in both decimal and binary:
| Network | Host | ||||
|---|---|---|---|---|---|
| Mask | 255 | .255
| .255 | .244 | |
| 11111111 | 11111111 | 11111111 | 00000000 | ||
| Address 192 | .15 | .28 | .16 | ||
| 11000000 | 00001111 | 00011100 | 000 | 00010000 |
By putting 224 in the last field of the mask, you tell the software to use the leftmost three bits of the last octet (the high-order bits) to differentiate subnets. In an 8-bit field, in binary notation, the high-order 3 bits naturally partition the range of numbers (and the range of possible IP addresses) into eight equal parts, corresponding to the eight binary numbers 000 through 111.
If you are not familiar with manipulating binary numbers and this is not clear to you, please refer to the following table:
| Decimal Range | Binary Range | High Bits |
|---|---|---|
| 0 - 31
32 - 63 64 - 95 96 - 127 128 - 159 160 - 191 192 - 223 224 - 255 | 00000000 - 00011111
00100000 - 00111111 01000000 - 01011111 01100000 - 01111111 10000000 - 10011111 10100000 - 10111111 11000000 - 11011111 11100000 - 11111111 | 000
001 010 011 100 101 110 111 |
The high-order three bits of the IP address field thus partition the full range of 256 possible 8-bit numbers that can appear in the last octet of an IP address into eight groups of 32 addresses (256/8 = 32), as shown in the following table:
| IP Addresses | Subnet | High 3 Bits |
|---|---|---|
| 192.15.28.0 --
192.15.28.31 | 0 | 000 |
| 192.15.28.32 --
192.15.28.63 | 1 | 001 |
| 192.15.28.64 --
192.15.28.95 | 2 | 010 |
| 192.15.28.96 --
192.15.28.127 | 3 | 011 |
| 192.15.28.128 --
192.15.28.159 | 4 | 100 |
| 192.15.28.160 --
192.15.28.191 | 5 | 101 |
| 192.15.28.192 --
192.15.28.223 | 6 | 110 |
| 192.15.28.224 --
192.15.28.255 | 7 | 111 |
However, addresses reserved for broadcast and for "this net" must be excluded. These are as follows:
Suppose we want to subnet class B network 128.89 into six subnets. Referring to the "Decimal Value" column of the table in the section "Subnet Masks" we see that the number to substitute for n is 224 if we want six subnets. The mask is 255.255.224.0 with six subnets. Recall that the mask is 255.255.0.0 with no subnetting. These two masks have the following binary representations:
255.255.0.0 = 11111111.11111111.00000000.00000000 255.255.224.0 = 11111111.11111111.11100000.00000000
With the subnet mask 255.255.224.0, the first three bits of the third octet are included in the network identifier. As we saw at the end of the previous section, we must divide 256 by the number of subnets to get the ranges of addresses for each subnet. The mask divides the range of numbers 0-255 that can appear in the third field of an IP address into eight ranges of 32 numbers: 0-31, 32-64, and so on.
Because there are 11 bits in all for the host ID (8 in the last field plus 3 in the third field), the mask 255.255.128.0 provides for 2046 (211 -2) hosts in each of the eight subnets. The ranges of addresses for each subnet are as follows:
| IP Addresses | Subnet | First 3 Bits |
|---|---|---|
| 128.89.0.1 --
128.89.31.254 | 0 | 000 |
| 128.89.32.1 --
128.89.63.254 | 1 | 001 |
| 128.89.64.1 --
128.89.95.254 | 2 | 010 |
| 128.89.96.1 --
128.89.127.254 | 3 | 011 |
| 128.89.128.1 --
128.89.159.254 | 4 | 100 |
| 128.89.160.1 --
128.89.191.254 | 5 | 101 |
| 128.89.192.1 --
128.89.223.254 | 6 | 110 |
| 128.89.224.1 --
128.89.255.254 | 7 | 111 |
Subnet 0 is reserved because the addresses 128.89.0.1 - 128.89.31.254 have 000 as the high-order bits. Subnet 7 is reserved because the addresses 128.89.224.1 - 128.89.255.254 have 111 as the high-order bits.
The first address in each subnet address range is reserved to refer to the subnet as a whole because the last five bits of the address field are zeros, and the last address in each subnet address range is reserved as a broadcast address for the subnet because the last five bits of the address field are ones. For example, in subnet 3, 128.89.96.0 is the subnetwork address and 128.89.127.255 is the broadcast address.
|
|