Banner
HomeTOCPrevNextGlossSearchHelp

PDF

Table of Contents

Preparing for Installation

Preparing for Installation

Preparing for Installation

This chapter describes the equipment and site requirements for router installation. It includes the power and cabling requirements that must be in place at the installation site, descriptions of additional equipment you will need to complete the installation, and the environmental conditions your site must meet to maintain normal operation. This chapter includes the following preinstallation requirements:


Safety Recommendations

The following guidelines will help to ensure your safety and protect the equipment. This list is not inclusive of all potentially hazardous situations, so be alert.

Warning Ultimate disposal of this product should be handled according to all national laws and regulations.

fig_1.gif

Warning Do not use a ramp inclined at more than 10 degrees.

fig_7.gif


Safely Lifting the Router

Two people are required to lift the chassis (See Figure 2-1). Grasp the chassis underneath the lower edge and lift with both hands. To prevent injury, keep your back straight and lift with your legs, not your back. To prevent damage to the chassis and components, never attempt to lift the chassis with the handles on the power supplies or on the interface processors, or by the plastic panels on the front of the chassis. These handles were not designed to support the weight of the chassis.

Figure 2-1 : Lifting Safely

h2336.gif


Safety with Electricity

The interface processors and redundant power supplies are designed to be removed and replaced while the system is operating without presenting an electrical hazard or damage to the system. (However, you must shut down the system before removing or replacing the RSP2 or any of the replaceable components inside the front panel: the blower or LED board.) You can also remove or install a redundant (second) power supply while the system is operating. Before removing a redundant power supply, ensure that the first supply is powered on. Never install equipment that appears damaged.

The power supplies (AC-input and DC-input) have two safety interlock features as shown in Figure 2-2. A locking device on each power supply prevents the power supply from being removed from the chassis when the power supply switch is on. When the switch is in the on (|) position, a metal locking device extends into a slot in the chassis. When the switch is in the off (O) position, the locking device is raised and clears the slot. Also, a retention clip prevents the AC-input power supply power cable from being accidentally pulled out of the power supply socket. For additional information, refer to the section "Power Supplies" in the chapter "Product Overview."

Figure 2-2 : Power Supply Safety Interlocks (AC-Input Power Supply Shown)

h1315.gif

Follow these basic guidelines when working with any electrical equipment:

In addition, use the guidelines that follow when working with any equipment that is disconnected from a power source, but still connected to telephone wiring or other network cabling.


Preventing Electrostatic Discharge Damage

Electrostatic discharge (ESD) damage, which occurs when electronic cards or components are improperly handled, can result in complete or intermittent failures. The RSP2 and interface processors each comprise a printed circuit board that is fixed in a metal carrier. Electromagnetic interference (EMI) shielding, connectors, and a handle are integral components of the carrier. Although the metal carrier helps to protect the boards from ESD, use a preventive antistatic strap whenever handling the RSP2 or interface processors. Handle the carriers by the handles and the carrier edges only; never touch the boards or connector pins.

fig_16.gif Caution Always tighten the captive installation screws on RSP2 and interface processors. (See Figure 1-21.) These screws prevent accidental removal, provide proper grounding for the system, and help to ensure that the bus connectors are properly seated in the backplane.

Following are guidelines for preventing ESD damage:

Caution Periodically check the resistance value of the antistatic strap. The measurement should be within the range of 1 and 10 megohms.


Site Requirements

The environmental monitor in the router protects the system and components from potential damage from overvoltage and overtemperature conditions. To assure normal operation and avoid unnecessary maintenance, plan your site configuration and prepare your site before installation. After installation, make sure the site maintains an ambient temperature of 32°F through 104°F (0°C through 40°C), and keep the area around the chassis as free from dust as is practical.

The following sections address the site environment requirements for the router chassis.


AC and DC Power

The 700W, AC-input power supply uses a power factor corrector (PFC) that allows it to operate on input voltage and current within the ranges of 100 through 240 VAC and 47 through 63 Hz. The 700W, DC-input power supply allows the Cisco 7507 to operate between --40 and --72 VDC (--48 VDC nominal).

A second, identical power supply is also present in chassis configured with the redundant power option. Redundant power assures that power to the chassis continues uninterrupted in the event that one power supply fails. It also provides uninterrupted power in the event the input power line fails only if the power supplies are connected to separate input lines. If only one input line is available, and you must connect both power supplies to the same source, the redundant power supply will provide continuous power in the event the first power supply fails. It cannot, however, provide power backup in the event that the input power fails. Table 1-1 lists system power specifications including input voltage and operating frequency ranges.

Warning This unit might have more than one power cord. To reduce the risk of electric shock, disconnect the two power supply cords before servicing the unit.

fig_9.gif


Plant Wiring

Following are guidelines for setting up the plant wiring and cabling at your site. When planning the location of the new system, consider the distance limitations for signaling, electromagnetic interference, and connector compatibility, as described following.


Note The installation must comply with all applicable codes and is approved for use with copper conductors only. The ground bond fastening hardware should be of compatible material and preclude loosening, deterioration, and electro-chemical corrosion of hardware and joined material. Attachment of the chassis ground to the central office or other interior ground system should be made with a Number 6 AWG copper ground conductor as a minimum. The Cisco 7507 chassis employs one threaded M4 x .7 chassis ground receptacle, which is intended to be bonded directly to the central offices or other interior ground system. This receptacle is located on the right side of the rear of the chassis. The chassis ground requires M4 x .7 bolts and locking hardware, which are not included.


Interference Considerations

When wires are run for any significant distance in an electromagnetic field, interference can occur between the field and the signals on the wires. This fact has two implications for the construction of plant wiring:


Note To predict and remedy strong electromagnetic interference, you may need to consult experts in radio frequency interference (RFI).

If you use twisted-pair cable in your plant wiring with a good distribution of grounding conductors, the plant wiring is unlikely to emit radio interference. When exceeding the recommended distances, use a high-quality twisted-pair cable with one ground conductor for each data signal.

If wires exceed recommended distances, or if wires pass between buildings, give special consideration to the effect of a lightning strike in your vicinity. The electromagnetic pulse (EMP) caused by lightning or other high-energy phenomena can easily couple enough energy into unshielded conductors to destroy electronic devices. If you have had problems of this sort in the past, you may want to consult experts in electrical surge suppression and shielding.

Most data centers cannot resolve the infrequent but potentially catastrophic problems just described without pulse meters and other special equipment. These problems can cost a great deal of time to identify and resolve, so take precautions by providing a properly grounded and shielded environment, with special attention to issues of electrical surge suppression.


Distance Limitations

The length of your networks and the distances between connections depend on the type of signal, the signal speed, and the transmission media (the type of cabling used to transmit the signals). For example, standard coax cable has a greater channel capacity than twisted-pair cabling. The distance and rate limits in these descriptions are the IEEE-recommended maximum speeds and distances for signaling; however, you can usually get good results at speeds and distances far greater than these. For example, the recommended maximum rate for V.35 is 2 Mbps, but it is commonly used at 4 Mbps without any problems. If you understand the electrical problems that might arise and can compensate for them, you should get good results with rates and distances greater than those shown here. However, do so at your own risk. We do not recommend exceeding published maximum data rates and transmission distances.

The following distance limits are provided as guidelines for planning your network connections before installation.


Ethernet Connections

The maximum distances for Ethernet network segments and connections depend on the type of transmission cable used: 0.4-inch diameter coaxial (10BASE-5), 0.25-inch diameter coax (10Base2), or unshielded twisted-pair (10BASE-T). The term 10BASE-N is an abbreviation for 10 Mbps transmission, Baseband medium, and N is the maximum cable length in hundreds of meters.

Network connections to the coaxial cables are tapped into a network segment and must be spaced at specific intervals. Table 2-1 lists the maximum number of connections (taps) per segment and the intervals at which they must be placed. A maximum of four repeaters can be used to link segments in a single network.

Table 2-1 : Ethernet Coaxial Connection Limits for 10-Mbps Transmission

Parameter 10BASE-5 10BASE-2
Cable diameter 0.4 in. (1 cm) 0.25 in. (0.6 cm)
Max. segment length 1640 ft. (500 m) 656 ft. (200 m)
Max. network length (with 4 repeaters) 8200 ft. (2500 m) 3280 ft. (1000 m)
Max. connections (taps) per segment 100 30
Min. connection (tap) spacing 8.2 ft. (2.5 m) 1.64 ft. (0.5 m)

The unshielded twisted-pair (UTP) cabling used with 10BASE-T is suitable for voice transmission, but may incur problems at 10-Mbps transmission rates. UTP wiring does not require the fixed spacing between connections that is necessary with the coax-type connections. IEEE recommends a maximum distance of 328 feet (100 meters) between station (connection) and hub for 10BASE-T connections.


Fast Ethernet Connections

Fast Ethernet complies with the IEEE 802.3u specification. IEEE 802.3u specifies the following different physical layers for 100BASE-T

  • 100BASE-TX---100BASE-T, half and full duplex over Category 5 unshielded twisted-pair (UTP), Electronics Industry Association/Telecommunications Industry Association [EIA/TIA]--568-compliant cable

  • 100BASE-FX---100BASE-T, half and full duplex over optical fiber

  • 100BASE-T4---100BASE-T, half and full duplex over Category 3, 4, or 5 UTP or shielded twisted pair (STP) cabling with four pairs; also called 4T+ or T2, which is 2-pair UTP over Category 3 cable.

Table 2-2 lists the cabling specifications for 100-Mbps transmission over 100BASE-T, Category 5 unshielded twisted pair (UTP) and Media Independent Interface (MII) connections.

Table 2-2 : Connection Limits for 100-Mbps Transmission

Parameter RJ-45 MII
Cable specification Category 51 UTP2, 22 to 24 AWG3 Category 3, 4 or 5, 150-ohm UTP or STP or multimode optical fiber
Maximum cable length -- 0.5 m (1.64 ft.) (MII-to-MII cable4)
Maximum segment length 100 m (328 ft.) for 100BASE-TX 1 m (3.28 ft.)5 or 400 m (1,312 ft.) for 100BASE-FX
Maximum network length 200 m (656 ft.)5. (with 1 repeater) --

1 EIA/TIA-568 or EIA/TIA-568 TSB-36 compliant.
2 Cisco Systems does not supply Category 5 UTP RJ-45 or 150-ohm STP MII cables. Both are commercially available.
3 AWG = American Wire Gauge. This gauge is specified by the EIA/TIA-568 standard.
4 This is the cable between the MII port on the FEIP port adapter and the appropriate transceiver.
5 This refers specifically to any two stations on a repeated segment.

Table 2-3 summarizes the characteristics of 100BASE-T with respect to IEEE 802.3u physical characteristics.

Table 2-3 : IEEE 802.3u Physical Characteristics

100BASE-T
Data rate (Mbps) 100
Signalling method Baseband
Maximum segment length (meters) 100
Media UTP1
Topology Star

1 UTP = unshielded twisted pair.


MultiChannel Connections

Following are the MIP E1 specifications:

  • Transmission bit rate: 2.048 kbps ± 50 parts per million (ppm)

  • Output port specifications: see G.703 / Section 6.2 (ITU-T specification)

  • Input port specifications: see G.703 / Section 6.3 (ITU-T specification)

  • Jitter attenuation starting at 6 hertz (Hz), which meets or exceeds G.823 for E1

Following are the MIP T1 specifications:

  • Transmission bit rate: 1.544 kilobits per second (kbps) ± 50 ppm

  • Output pulse amplitude: 3.0 volts (V) ± 0.6V measured at DSX

  • Output pulse width: 324 nanoseconds (ns) ± 54 ns

  • Complies with all AT&T Accunet TR 62411 specifications


Channel Attachment Connections

Referring to the CIP, the maximum transmission distance for ESCON (with LED) is 1.9 miles (3.1 km) point-to-point or 5.7 miles (9.2 km) with two ESCON Directors. The maximum transmission distance for bus and tag is 400 feet (122 m). The IBM 3044 C/D (host side/remote side) copper-to-fiber repeater can be used to extend the bus and tag distance up to 1.2 miles (2 km).


E1-G.703/G.704 Connections

Unbalanced G.703 interfaces allow for a longer maximum cable length than those specified for balanced circuits. Table 2-4 lists the maximum cable lengths for each FSIP E1-G.703/G.704 cable type by the connector used at the network (non-FSIP) end.

Table 2-4 : E1-G.703/G.704 Maximum Cable Lengths

Connection Type BNC Twinax
Balanced -- 300 meters (m)
Unbalanced 600m --


Token Ring Connections

Currently, there is no maximum transmission distance defined for IEEE 802.5 (Token Ring) networks. Shielded twisted-pair cabling is most commonly used for rates of 16 Mbps, and either shielded or unshielded twisted-pair cabling is used for rates of 1 and 4 Mbps. When planning your connections, remember that twisted-pair cabling is more susceptible to interference than other types of cabling, so plan the total network length and repeater spacing accordingly.


Fiber (FDDI) Connections

The FDDI standard sets the maximum distances between stations to the fiber lengths shown in Table 2-5. The maximum circumference of the FDDI network is only half the specified distance because of signal wrapping or loopback during fault correction. The standard allows a maximum of 500 stations. Both single-mode and multimode transceiver types provide 11 dB of optical power.

Table 2-5 : FDDI Maximum Transmission Distances

Transceiver Type Max. Distance Between Stations
Single mode 6.2 miles (up to 10 km)
Multimode 1.2 miles (up to 2 km)


Serial Connections

As with all signaling systems, serial signals can travel a limited distance at any given bit rate; generally, the slower the baud rate, the greater the distance. Table 2-6 shows the standard relationship between baud rate and distance for EIA/TIA-232 signals.

Table 2-6 : IEEE Standard EIA/TIA-232C Transmission Speed Versus Distance

Rate (bps) Distance (Feet) Distance (Meters)
2400 200 60
4800 100 30
9600 50 15
19200 25 7.6
38400 12 3.7
56000 8.6 2.6

Balanced drivers allow EIA/TIA-449 signals to travel greater distances than EIA/TIA-232. Table 2-7 shows the standard relationship between bit rate and distance for EIA/TIA-449 signals.

Table 2-7 : IEEE Standard EIA/TIA-449 Transmission Speed Versus Distance

Rate (bps) Distance (Feet) Distance (Meters)
2400 4100 1250
4800 2050 625
9600 1025 312
19200 513 156
38400 256 78
56000 102 31
1544000 (T1) 50 15


Note The recommended distance limits for EIA/TIA-449 shown in Table 2-7 are also valid for V.35, X.21, and EIA-530. While you can get good results at distances and rates far greater than these, do so at your own risk. In common practice, EIA/TIA-449 and EIA-530 support 2-Mbps rates, and V.35 supports 4-Mbps rates without any problems, but we do not recommend exceeding published data rates and transmission distances.


Synchronous Optical NETwork(SONET) Connections

The SONET specification for fiber-optic transmission defines two types of fiber: single mode and multimode. Modes can be thought of as bundles of light rays entering the fiber at a particular angle. Single-mode fiber allows only one mode of light to propagate through the fiber, while multimode fiber allows multiple modes of light to propagate through the fiber. Because multiple modes of light propagating through the fiber travel different distances depending on the entry angles, causing them to arrive at the destination at different times (a phenomenon called modal dispersion), singlemode fiber is capable of higher bandwidth and greater cable-run distances than multimode fiber. The maximum distances for single-mode and multimode transmissions, as defined by SONET, are in Table 2-8. If the distance between two connected stations is greater than these maximum distances, significant signal loss can result, making transmission unreliable.

Table 2-8 : SONET Maximum Fiber-Optic Transmission Distances

Transceiver Type Maximum Distance between Stations1
Single-mode Up to 9 miles (14.8 kilometers)
Multimode Up to 1.5 miles (2.4 kilometers)

1 This table lists typical results. You should use the power budget calculations in the following section to determine the actual distances.


Power Budget

To design an efficient optical data link, evaluate the power budget. The power budget is the amount of light available to overcome attenuation in the optical link and to exceed the minimum power that the receiver requires to operate within its specifications. Proper operation of an optical data link depends on modulated light reaching the receiver with enough power to be correctly demodulated.

Attenuation, caused by the passive media components (cables, cable splices, and connectors), is common to both multimode and single-mode transmission.

The following variables reduce the power of the signal (light) transmitted to the receiver in multimode transmission:

  • Chromatic dispersion (spreading of the signal in time because of the different speeds of light wavelengths)

  • Modal dispersion (spreading of the signal in time because of the different propagation modes in the fiber)

Attenuation is significantly lower for optical fiber than for other media. For multimode transmission, chromatic and modal dispersion reduce the available power of the system by the combined dispersion penalty (in decibels [dB]). The power lost over the data link is the sum of the component, dispersion, and modal losses. Table 2-9 lists the factors of attenuation and dispersion limit for typical fiber-optic cable.

Table 2-9 : Typical Fiber-Optic Link Attenuation and Dispersion Limits

Single-Mode Multimode
Attenuation 0.5 dB 1.0 dB/km
Dispersion Limit No limit 500 MHzkm1

1 The product of bandwidth and distance must be less than 500 MHzkm.


Approximating the AIP Power Margin

The LED used for a multimode transmission light source creates multiple propagation paths of light, each with a different path length and time requirement to cross the optical fiber, causing signal dispersion (smear). Higher order mode loss (HOL) results from light from the LED entering the fiber and being radiated into the fiber cladding. A worst-case estimate of power margin (PM) for multimode transmissions assumes minimum transmitter power (PT), maximum link loss (LL), and minimum receiver sensitivity (PR). The worst-case analysis provides a margin of error, although not all of the parts of an actual system will operate at the worst-case levels.

The power budget (PB) is the maximum possible amount of power transmitted. The following equation lists the calculation of the power budget:

PB = PT -- PR

PB = --18.5 dBm -- (--30 dBm)

PB = 11.5 dB

The power margin calculation is derived from the power budget and subtracts the link loss, as follows:

PM = PB -- LL

If the power margin is positive, as a rule, the link will work.

Table 2-10 lists the factors that contribute to link loss and the estimate of the link loss value attributable to those factors.

Table 2-10 : Estimating Link Loss

Link Loss Factor Estimate of Link Loss Value
Higher order mode losses 0.5 dB
Clock recovery module 1 dB
Modal and chromatic dispersion Dependent on fiber and wavelength used
Connector 0.5 dB
Splice 0.5 dB
Fiber attenuation 1 dB/km

After calculating the power budget minus the data link loss, the result should be greater than zero. Results less than zero may have insufficient power to operate the receiver.

For SONET versions of the AIP module, the signal must meet the worst-case parameters listed in Table 2-11.

Table 2-11 : AIP SONET Signal Requirements

Single-Mode Multimode
PT --18.5 --15
PR --30 --28
PB --11.5 --13


Multimode Power Budget Example with Sufficient Power for Transmission

The following is an example of a multimode power budget calculation based on the following variables:

  • Length of multimode link = 3 kilometers (km)

  • 4 connectors

  • 3 splices

  • Higher order loss (HOL)

  • Clock recovery module (CRM)

Estimate the power budget as follows:

PB = 11.5 dB -- 3 km (1.0 dB/km) -- 4 (0.5 dB) -- 3 (0.5 dB) -- 0.5 dB (HOL) -- 1 dB (CRM)

PB = 11.5 dB -- 3 dB -- 2 dB -- 1.5 dB -- 0.5 dB -- 1 dB

PB = 2.5 dB

The value of 2.5 dB indicates that this link would have sufficient power for transmission.


Multimode Power Budget Example of Dispersion Limit

Following is an example with the same parameters as the previous example, but with a multimode link distance of 4 km:

PB = 11.5 dB -- 4 km (1.0 dB/km) -- 4 (0.5 dB) -- 3 (0.5 dB) -- 0.5 dB (HOL) -- 1 dB (CRM)

PB = 11.5 dB -- 4 dB -- 2 dB -- 1.5 dB -- 0.5 dB -- 1 dB

PB = 1.5 dB

The value of 1.5 dB indicates that this link would have sufficient power for transmission. However, due to the dispersion limit on the link (4 km x 155.52 MHz > 500 MHzkm), this link would not work with multimode fiber. In this case, single-mode fiber would be the better choice.


Single-Mode Transmission

The singlemode signal source is an injection laser diode. Single-mode transmission is useful for longer distances because there is a single transmission path within the fiber and smear does not occur. In addition, chromatic dispersion is also reduced because laser light is essentially monochromatic.

The maximum overload specification on the single-mode receiver is --14 dBm. The single-mode receiver can be overloaded when using short lengths of fiber because the transmitter can transmit up to --8 dB, while the receiver could be overloaded at --14 dB, but no damage to the receiver will result. To prevent overloading the receiver connecting short fiber links, insert a 5 to 10 dB attenuator on the link between any singlemode SONET transmitter and the receiver.


SONET Single-Mode Power Budget Example

The following single-mode power budget is based on an example where there are two buildings, 11 kilometers apart, connected through a patch panel in an intervening building with a total of 12 connectors.

Length of single-mode link = 11 km

12 connectors

Estimate the power budget as follows:

PB = 11.5 dB -- 11 km (0.5 dB/km) -- 12 (0.5 dB)

PB = 11.5 dB -- 5.5 dB -- 6 dB

PB = 2.5 dB

The value of 2.5 dB indicates that this link would have sufficient power for transmission and is not in excess of the maximum receiver input power.


Using Statistics to Estimate the Power Budget

Statistical models more accurately determine the power budget than the worst-case method. Determining the link loss with statistical methods requires accurate knowledge of variations in the data link components. Statistical power budget analysis is beyond the scope of this document. For further information, refer to UNI Forum specifications, ITU-T standards, and your equipment specifications.


For Further Reference

The following publications contain information on determining attenuation and power budget:

  • T1E1.2/92-020R2 ANSI, the Draft American National Standard for Telecommunications entitled "Broadband ISDN Customer Installation Interfaces: Physical Layer Specification."

  • Power Margin Analysis, AT&T Technical Note, TN89-004LWP, May 1989.


HSSI Connections

The HSSI standard (EIA/TIA 612/613) specifies a maximum cable length of 50 feet (15 meters) for 52 Mbps HSSI connections. The typical (nominal) cable length between the HIP and the DSU is 6 feet (2 meters). The HSSI interface cable comprises 25 twisted pairs and a 50-pin plug at each end. Both DTE and DCE ports on the HIP and the DSU are 50-pin receptacles. The HSSI interface cable is similar to a SCSI-II-type (small computer systems interface) cable; however, the HSSI cable specification is more stringent than that for a SCSI-II. Substituting a SCSI-type cable to connect the HSSI interface may prevent proper operation of the interface.


Equipment Racks

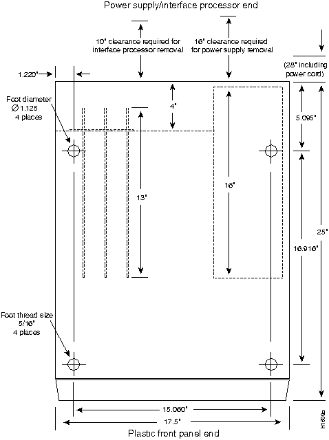
An optional rack-mounting kit is available for mounting the router in a standard 19-inch equipment rack. The mounting kit is not suitable for use with Telco-type equipment racks, or those with obstructions (such as a power strip) that could impair access to the interface processors and power supplies. In Telco environments or at installation sites that use nonstandard racks, the router can be mounted on an equipment shelf, provided that the rack dimensions allow safe installation and access to the power supplies and interface processors. Figure 2-3 show the chassis footprint and outer dimensions.

To use the optional rack-mount kit, your equipment rack must meet the following requirements:

  • The width of the rack, between the two front mounting strips or rails, must be 17 and 3/4 inches.

  • The depth of the rack, between the front and rear mounting strips, must be at least 19 and 1/4 inches but not more than 32 inches.

  • The height of the chassis is approximately 20 inches (19 and 1/4 inches when the chassis feet are removed). The rack must have sufficient vertical clearance to insert the chassis and, if required after installation, to remove the chassis feet.

  • If the rack has a vertical power strip or other potential obstacle, ensure that it will allow sufficient clearance to install and remove both interface processors (11 inches deep) and power supplies (16 inches deep), both of which must be pulled straight out of the chassis. (See Figure 2-3.)

When planning your rack installation, consider the following guidelines:

  • Allow at least three to four feet of clearance behind the rack for maintenance. If the rack is mobile, you can push it back within one foot of a wall or cabinet for normal operation and pull it out when necessary for maintenance (installing or replacing interface processors or power supplies, or connecting network cables or interface units).

  • The ports for cooling air are located on the front and rear of the chassis, so multiple routers can be rack-mounted with little or no vertical clearance. However, avoid placing the router in an overly congested rack.

  • Consider the equipment and cabling that is already installed in the rack. Ensure that cables from other equipment will not obstruct the airflow through the chassis or impair access to the power supplies or interface processors. Route cables away from field-replaceable components to avoid having to disconnect cables unnecessarily to perform equipment maintenance or upgrades.

  • Install heavier equipment in the lower half of the rack to maintain a low center of gravity.

  • If you plan to use an equipment shelf, ensure that the shelf is constructed to support the weight and dimensions of the chassis. Figure 2-3 shows the chassis footprint, which you will need if you are designing a customized shelf.

  • Install the router in an open rack whenever possible. If installation in an enclosed rack is unavoidable, ensure that the rack has adequate ventilation or an exhaust fan.

In addition to the preceding guidelines, review the precautions for avoiding overtemperature conditions in the section "Equipment-Rack Ventilation" in this chapter.

Figure 2-3 : Chassis Footprint and Outer Dimensions

h1608.gif

fig_17.gif Caution To prevent overheating, never install the router in an enclosed rack that is not properly ventilated or air conditioned.


Site Environment

The router operates as a standalone system placed on a table or as a rack-mounted system in a data processing or lab environment. Because the noise level of the chassis blower is approximately 60 dBa, it is best suited for unattended or computer room use. The router requires a dry, clean, well-ventilated, and air-conditioned environment. An internal blower pulls cooling air through the chassis from the front (intake) to the rear (exhaust). The flow of ambient air must be maintained to ensure normal operation. If the airflow is blocked or restricted, or if the intake air is too warm, an overtemperature condition can occur. Under extreme conditions, the environmental monitor will shut down the system to protect the system components. To assure normal operation and avoid unnecessary maintenance, plan your site configuration and prepare your site before installation. After installation, make sure the site maintains an ambient temperature of 0--40°C (32--104°F), and keep the area around the chassis as free from dust as is practical. For a description of the environmental monitor and status levels, refer to the section "Environmental Monitoring and Reporting Functions" in the chapter "Product Overview." If the temperature of the room air drawn into the chassis is higher than desirable, the air temperature inside the chassis may also be too high. This condition can occur when the wiring closet or rack in which the chassis is mounted is not ventilated properly, when the exhaust of one device is placed so it enters the air intake vent of the chassis, or when the chassis is the top unit in an unventilated rack. Any of these conditions can inhibit air flow and create an overtemperature condition. Multiple routers can be rack-mounted with little or no clearance above and below the chassis. However, when mounting a router in a rack with other equipment, or when placing it on the floor with other equipment located close by, ensure that the exhaust from other equipment does not blow into the intake vent (lower front panel) of the chassis. Table 2-12 lists the operating and nonoperating environmental site requirements. To maintain normal operation and ensure high system availability, maintain an ambient temperature and clean power at your site. The following ranges are those within which the router will continue to operate; however, a measurement that is approaching the minimum or maximum of a range indicates a potential problem. You can maintain normal operation by anticipating and correcting environmental anomalies before they exceed the maximum operating range.

  • Operating temperature range: 32 to 104°F (0 to 40°C).

  • Operating humidity range: 10 to 90%, noncondensing.

  • Air flow: Cooling air is drawn in through the bottom front panel of the chassis. Keep the front panel clear of obstructions, including dust, and away from the exhaust ports of other equipment. Keep the air filter clean.

Table 2-12 : Specifications for Operating and Nonoperating Environments

Parameter Minimum Maximum
Temperature, ambient operating 32°F (0°C) 104°F (40°C)
Temperature, ambient nonoperating and storage -4°F (-20°C) 149°F (65°C)
Humidity, ambient (noncondensing) operating 10% 90%
Humidity, ambient (noncondensing) nonoperating and storage 5% 95%
Altitude, operating and nonoperating Sea level 10,000' (3050 m)
Vibration, operating 5--200 Hz, 0.5 g (1 oct./min.)
Vibration, nonoperating 5--200 Hz, 1 g (1 oct./min.)
200--500 Hz, 2 g (1 oct./min.)

fig_3.gif Caution Keep the air filter clean to maintain normal airflow through the system.


Preventive Site Configuration: Maintaining Normal Operation

Planning a proper location for the router and the layout of your equipment rack or wiring closet are essential for successful system operation. Equipment placed too close together or inadequately ventilated can cause system overtemperature conditions. In addition, chassis panels made inaccessible by poor equipment placement can make system maintenance difficult. Following are precautions that can help avoid problems during installation and ongoing operation.


General Precautions

Follow these general precautions when planning your equipment locations and connections:

  • The environmental monitor continuously checks the interior chassis environment and provides warnings for high temperature and maximum and minimum voltage, and reports on occurrences. If warning messages are displayed, take immediate action to identify the cause and correct the problem. Use the show environment command regularly to check the internal system status. (Refer to the section "Environmental Monitoring and Reporting Functions" in the chapter "Product Overview.")

  • Keep the front of the chassis free from obstructions and away from the exhaust air of other equipment. Remember that electrical equipment generates heat, and ambient room temperature alone may not be adequate to cool equipment to acceptable operating temperatures.

  • Keep the air filter clean. Do not place the router directly on the floor or in any area that tends to collect dust.

  • Follow ESD prevention procedures to avoid damage to equipment. Damage from static discharge can cause immediate or intermittent equipment failure.

  • Ensure that the chassis panels, interface processors, and any interface processor slot fillers are in place and secure. The blower directs cooling air across the interface processors and forces it out between the interface processor faceplates; a loose panel allows too much air to escape and can redirect the air flow away from active interface processors.


Equipment-Rack Ventilation

If you plan to install the router in an equipment rack, follow these precautions for avoiding overtemperature conditions in addition to the guidelines that are provided in the section "Equipment Racks" in this chapter.

For a functional description of the environmental monitor and the status levels, refer to the section "Environmental Monitoring and Reporting Functions" in the chapter "Product Overview."


Power

Follow these precautions when planning power connections to the router.


Note The installation must comply with all applicable codes and is approved for use with copper conductors only. The ground bond fastening hardware should be of compatible material and preclude loosening, deterioration, and electro-chemical corrosion of hardware and joined material. Attachment of the chassis ground to the central office or other interior ground system should be made with a Number 6 AWG copper ground conductor as a minimum. The Cisco 7507 chassis employs one threaded M4 x .7 chassis ground receptacle, which is intended to be bonded directly to the central offices or other interior ground system. This receptacle is located on the right side of the rear of the chassis. The chassis ground requires M4 x .7 bolts and locking hardware, which are not included.

  • Connect redundant power supplies to separate input power lines whenever possible. Install a second source for redundant power if a separate line is not already in place.

  • For AC-input installations, install an uninterruptible power source where possible.

  • Install proper grounding to avoid damage from lightning and power surges.

  • For both AC-input and DC-input installations, observe the power specifications listed in Table 1-1.


Preparing Network Connections

When preparing your site for network connections to the router, you must consider a number of factors related to each type of interface, such as the type of cabling required for each type (fiber, thick or thin coaxial, or twisted-pair cabling), distance limitations for each signal type, the specific cables you need to connect each interface, and any additional interface equipment you need, such as transceivers, modems, channel service units (CSUs), or data service units (DSUs). Before installing the router, have all additional external equipment and cables on hand. If you intend to build your own cables, refer to the cable pinouts in the appendix "Cabling Specifications." For ordering information, contact a customer service representative.


Additional and Optional Connection Equipment

You may need some of the following data communications equipment to complete your installation.

  • To install and configure the router, you need a terminal with an EIA/TIA-232 DTE port and an EIA/TIA-232 DCE console cable with DB-25 plugs at both ends. You can detach the terminal (and cable) after the installation and configuration procedures are complete.


Note The console and auxiliary serial ports are asynchronous, and the FSIP serial ports are synchronous. When connecting serial devices such as modems or DSUs, connect only asynchronous devices to the console and auxiliary ports, and synchronous devices to the FSIP serial ports.

  • To use an IEEE 802.3 or Ethernet interface (thick-wire, thin-wire, or unshielded twisted-pair) at your installation, you need an 802.3 media attachment unit (MAU) and an attachment unit interface (AUI), or an Ethernet transceiver and transceiver cable. The AUI or transceiver cable will need an AUI 15-pin plug to connect to the 15-pin AUI receptacle on the EIP. Some interface equipment may use cables with screw-type locks rather than the slide-type locks that are standard on the EIP. A kit for replacing the slide-type locks with screw-type locks is shipped with the EIP.

  • To connect a 4- or 16-Mbps Token Ring interface, you need an 802.5 MAU and a Token Ring adapter cable.

  • To use the optical bypass feature available with multimode/multimode FDDI interfaces, you need an optical bypass switch. A DIN-to-mini-DIN control cable (CAB-FMDD) for connecting the switch is included with the multimode/multimode and single-mode/single-mode FIPs.

  • To use a low-speed synchronous serial interface, you need a synchronous modem or a (CSU/DSU to connect to the network. Most modems require an EIA/TIA-232 DTE connection.

  • To connect serial adapter cables to remote devices that use metric hardware, replace the factory installed 4-40 thumbscrews on the cable's network-end connector with the M3 metric thumbscrews that are included with all serial port adapter cables.

  • To connect a serial port to a T1 network, you need a T1 CSU/DSU that converts the High-Level Data Link Control (HDLC) synchronous serial data stream into a T1 data stream with the correct framing and ones density. (The term ones density refers to the fact that some telephone systems require a minimum number of 1 bits per time unit in a data stream). Several T1 CSU/DSU devices are available as additional equipment and most provide either a V.35, EIA/TIA-449, or EIA-530 electrical interface to the system.

T1 is the term for a digital carrier facility used for transmitting data over a telephone network at 1.554 Mbps. E1 is the European equivalent of T1 and has a line rate of 2.048 Mbps.

  • To connect a HSSI port, you need a DSU that can process data at speeds appropriate for the service to which you will connect: T3 (45 Mbps), E3 (34 Mbps), or SONET STS-1 (51.84 Mbps) and a HSSI interface cable (CAB-HSI1) to connect the DSU with the HIP.

T3, also known as DS3 or digital signal level 3, is the U.S. standard for a digital carrier facility used for transmitting data over a telephone network at 44.736 Mbps. T3 is equivalent to 28 T1 (1.544 Mbps) interfaces. E3 is the European equivalent of T3 that operates at 34 Mbps.

SONET is an international standard (ANSI/CCITT) for standardizing the use of optical communications systems. STS-1 (Synchronous Transport Signal level 1) is the basic building block signal of SONET; level 1 is 51.84 Mbps. Faster SONET rates are defined as STS-n, where n is a multiple of 51.84 Mbps. For example, the rate for SONET STS-3 is 155.52 Mbps, 3 times 51.84 Mbps.

  • To connect two routers directly back to back between HSSI ports, you need a null modem cable (CAB-HNUL). The two routers must be in the same location and can be two Cisco 7507s, two Cisco 7505s, or one of each, and both must have an HSSI port available.


AIP Connection Equipment

All AIP ATM interfaces are full duplex. You must use the appropriate ATM interface cable to connect the AIP with an external ATM network.

The AIP provides an interface to ATM switching fabrics for transmitting and receiving data at rates of up to 155 Mbps bidirectionally; the actual rate is determined by the physical layer interface module (PLIM). The AIP can support PLIMs that connect to the following physical layers:

  • TAXI 4B/5B 100 Mbps multimode fiber optic

  • SONET/SDH 155 Mbps multimode fiber optic---STS-3C or STM-1

  • SONET/SDH 155 Mbps single-mode fiber optic---STS-3C or STM-1

  • E3 34 Mbps coaxial cable

  • DS3 45 Mbps coaxial cable

    fig_6.gif

Caution To comply with EMI requirements, the E3 and DS3 PLIMs both require cable CAB-ATM-DS3/E3. The E3 PLIM connection requires an EMI filter clip (CLIP-E3-EMI) on the receive port (RCVR).

For wide-area networking, ATM is currently being standardized for use in Broadband Integrated Services Digital Networks (BISDNs) by the International Telecommunications Union Telecommunication Standardization Sector (ITU-T) and the American National Standards Institute (ANSI). (The ITU-T carries out the functions of the former Consultative Committee for International Telegraph and Telephone [CCITT]).

BISDN supports rates from E3 (34 Mbps) to multiple gigabits per second (Gbps). The DS3 interface performs physical layer translation from the AIP to a DS3 line interface in accordance with ATM Forum UNI Specification Version 3.1, ACCUNET T45 service specifications, and ANSI T1.107.

The ATM User-to-Network (UNI) specification defines the required Management Information Base (MIB) functionality for ATM interfaces. Refer to the ATM UNI specification for additional details.

ATM UNI information is arranged in a MIB fashion. MIB attributes are readable and writable across the Interim Local Management Interface (ILMI) using a Simple Network Management Protocol (SNMP). The ILMI uses SNMP, without User Datagram Protocol (UDP), and IP addressing along with the ATM MIB. The AIP supports RFC 1213 interface MIBs as specified in the ATM MIB V2 specification. The ATM interface cable is used to connect your router to an ATM network, or to connect two routers back to back.

Cables can be obtained from the following vendors:

  • AT&T

  • Siemens

  • Red-Hawk

  • Anixter

  • AMP

For TAXI 4B/5B traffic over multimode fiber, use the multimode MIC interface cable to connect the AIP with the external ATM switch. (See Figure 2-4.)

Figure 2-4 : Multimode Network Interface Connector (MIC Type)

h1349a.gif

For SONET/SDH multimode connections, use one multimode duplex SC connector (see Figure 2-5) or two single SC connectors. (See Figure 2-6.)

Figure 2-5 : Duplex SC Connector

h2214.gif

Figure 2-6 : Simplex SC Connector

h2399.gif

For SONET/SDH single-mode connections, use the single-mode (ST2) connector (bayonet-style twist-lock). (See Figure 2-7.)

Figure 2-7 : ST2 Connector

h2209.gif

Warning Invisible laser radiation may be emitted from the aperture ports of the single-mode FDDI card when no cable is connected. Avoid exposure and do not stare into open apertures. Following is an example of the warning label that appears on the product:

fig_8.gif

h3567.gif

For E3 and DS3 connections, use the 75 ohm, RG-59, coaxial cable CAB-ATM-DS3/E3, which has bayonet-style, twist-lock (BNC) connectors and ferrite beads. (See Figure 2-8.) The E3 and DS3 PLIMs both require cable CAB-ATM-DS3/E3.

Figure 2-8 : CAB-ATM-DS3/E3 Cable (RG-59 Coaxial Cable with BNC Connectors)

h2898.gif

fig_14.gif Caution To ensure compliance with EMI standards, the E3 PLIM connection requires an EMI filter clip (CLIP-E3-EMI) on the receive port (RCVR); the DS3 PLIM connection does not require this clip.

For multimode connections, connect the multimode interface cable to the media interface cable (MIC) connector. (See Figure 2-9.)

Figure 2-9 : MIC Connector on a 4B/5B PLIM

h2213.gif

For multimode SONET connections, connect the multimode cable to the SC connector on the PLIM. (See Figure 2-10.)

Figure 2-10 : SONET Multimode SC Duplex PLIM

h2210.gif

The SONET multimode SC-duplex connector is shipped with a dust plug. (See Figure 2-11.) Remove the plug by pulling on the plug as you squeeze the sides of the connector.

Figure 2-11 : SONET ATM Multimode Fiber Optic Transceiver and Dust Plug

h1983.gif

For single-mode SONET connections, connect the single-mode cable to the ST connector on the SONET PLIM. (See Figure 2-12.)

Figure 2-12 : SONET Single-Mode PLIM

h2212.gif

For E3 and DS3 connections, connect the coaxial cable to the BNC connector on the E3 or DS3 PLIM. (See Figure 2-13.) The E3 and DS3 PLIMs require cable CAB-ATM-DS3/E3. Ensure that the transmit and receive portions of the cable are connected to the appropriate PLIM connector. The E3 PLIM connection requires an EMI filter clip (CLIP-E3-EMI) on the receive port (RCVR). Refer to the chapter "Installing the Router."

Figure 2-13 : E3 and DS3 PLIM

h2363.gif

fig_15.gif Caution To ensure compliance with EMI standards, the E3 PLIM connection requires an EMI filter clip (CLIP-E3-EMI) on the receive port (RCVR); the DS3 PLIM connection does not require this clip.


Channel Attachment Connection Equipment

The ESCON Channel Adapter (ECA) and bus and tag, Parallel Channel Adapter (PCA) for the CIP are available as FRUs; however, they are field replacable by Cisco-certified field service personnel only. For more information on the ECA, PCA, and CIP cables and installation, refer to the configuration note Channel Interface Processor (CIP) Installation and Configuration (document number 78-1342-xx), which accompanies every CIP that ships.


Ethernet Connection Equipment

You will need an 802.3 MAU and an AUI, or an Ethernet transceiver and transceiver cable between each EIP port and the Ethernet network. The Ethernet connectors on the EIP are standard 15-pin AUI receptacles that require an AUI or transceiver interface cable with a 15-pin AUI plug. (See Figure 2-14.)

Figure 2-14 : Ethernet Interface Cable Connectors

h1347.gif

Transceivers are available from a variety of sources for thick-wire (10BASE-5), thin-wire (10BASE-2), or unshielded twisted-pair cabling (10BASE-T at 10 Mbps); Figure 2-15 shows examples of EIP-related transceivers and connection equipment. You can connect either Ethernet Version 1 or Version 2/IEEE 802.3 interfaces; the EIP automatically supports both types.

Some 10BASE-T transceivers can connect directly to the AUI port on the EIP. When planning your connections, consider the types and locations of connectors on adjacent interface processors to avoid having the transceiver overlap and impair access to other connections.

Figure 2-15 : Ethernet Transceivers

h1292.gif

Typically, Ethernet connectors have either slide-type or jackscrew-type locks. (See Figure 2-16.) The most common are those which use a slide-type lock, which is the type used on the EIP ports. The connector on the left in Figure 2-16 shows a slide-type lock. When the cable is connected to the 15-pin port, you snap a metal bracket up over two posts on the cable connector to secure it in the port and provide strain relief.

The jackscrew-type lock, shown on the right in Figure 2-16, uses two thumbscrews or jackscrews, which are usually attached to the cable connector instead of the posts and sliding bracket. When the cable is connected to the 15-pin port, you secure it by screwing the thumbscrews into the jackscrews adjacent to the connector.

The slide-type locks are standard on the EIP ports; however, conversion kits are included with each EIP to replace the slide-type locks on ports you will connect to interface equipment that uses the screw-type locks. For specific replacement instructions, refer to the installation document that accompanies the jackscrew kit.

Figure 2-16 : Ethernet Connector Locks (Slide-Type and Jackscrew-Type)

h1887.gif


Fast Ethernet Connection Equipment

The two connectors on the FEIP are a single MII, 40-pin, D-shell type, and a single RJ-45. Only one connector can be used at one time. Each connection supports IEEE 802.3u interfaces compliant with the 100BASE-X and 100BASE-T standards. The RJ-45 connection does not require an external transceiver; however, the MII connection does.

The RJ-45 modular connector (shown in Figure 2-17) has strain-relief functionality incorporated into the design of its standard plastic connector.

Figure 2-17 : RJ-45 Connections (Connector and Plug)

h2936.gif

Depending on the type of media you use between the MII connection on the port adapter and your switch or hub, the network side of your 100BASE-T transceiver should be appropriately equipped: with ST-type connectors (for optical fiber), BNC connectors, and so forth.

Figure 2-18 shows the pin orientation of the female MII connector on the port adapter.

The MII receptacle uses 2-56 screw-type locks, called jackscrews, to secure the cable or transceiver to the MII port. MII cables and transceivers have knurled thumbscrews that you fasten to the jackscrews on the FEIP MII connector, and you can tighten with your fingers. Use the jackscrews to secure your MII cable.

Figure 2-18 : MII Connection (Female)

h2943.gif


FDDI Connection Equipment

Fiber-optic transceivers on the FIP provide a direct interface between the router and the FDDI ring. The FIP supports both single-mode and multimode transceivers and is available with any combination of the two types. Both transceiver types provide a Class A dual attachment interface that can be connected to a Class A or a Class B station. Class A is a dual attachment station (DAS) with primary and secondary rings; Class B is a single attachment station (SAS) with only a primary ring. A detailed description of Class A and B and of DASs and SASs follows the descriptions of FDDI connection equipment.


FDDI Media

FDDI networks use two types of fiber-optic cable: single-mode (also called monomode) and multimode. Mode refers to the angle at which light rays (signals) are reflected and propagated through the optical fiber core, which acts as a waveguide for the light signals. Multimode fiber has a relatively thick core (62.5/125-micron) that reflects light rays at many angles. Single-mode fiber has a narrow core (8.7 to 10/125-micron) that allows the light to enter only at a single angle. Although multimode fiber allows more light signals to enter at a greater variety of angles (modes), the different angles create multiple propagation paths that cause the signals to spread out in time and limits the rate at which data can be accurately received. This distortion does not occur on the single path of the single-mode signal; therefore, single-mode fiber is capable of higher bandwidth and greater cable run distances that multimode fiber. In addition, multimode transmitters usually use LEDs as a light source, and single-mode transmitters use a laser diode, which is capable of sustaining faster data rates. Both types use a photodiode detector at the receiver to translate the light signal into electrical signals.


FDDI Transceivers and Cable Connectors

The FIP single-mode interface uses simplex FC-type connectors for the Transmit and Receive ports. (See Figure 2-19.) The connector accepts standard 8.7 to 10/125-micron single-mode fiber-optic cable. The single-mode interface supports connections at distances up to 6 miles (10 kilometers).

Figure 2-19 : Single-Mode FDDI Network Interface Connectors (FC Type)

h1348a.gif

The multimode transceiver supports distances of up to 1.2 miles (1.9 kilometers). The multimode connector is an FDDI-standard physical sublayer (PHY) connector that encodes and decodes the data into a format acceptable for fiber transmission. The multimode connector accepts standard 62.5/125-micron multimode fiber-optic cable using the media interface cable (MIC) and, with proper cable terminators, can accept 50/125 micron fiber-optic cable. Multimode uses the integrated MIC connector shown in Figure 2-20 at both the FIP and network ends.

Figure 2-20 : Multimode FDDI Network Interface Connector (MIC Type)

fig_2.gif

The multimode/multimode FIP (Cx-FIP-MM) provides a control port for an optical bypass switch, which allows the light signal to pass directly through the bypass switch and completely bypass the FIP transceivers when the interface has failed or is shut down. Most optical bypass switches provide the necessary interface cables for connection to the multimode MIC connectors on the FIP; however, not all manufacturers use the same type of DIN connector for the control port. Some manufacturers use a DIN, and some use a smaller version, a mini-DIN. The optical bypass control port on the FIP requires a mini-DIN connector. A DIN-to-mini-DIN adapter cable (CAB-FMDD) is included with the multimode/multimode and single-mode/single-mode FIPs to ensure that you can connect to either type.

The FIP supports both Class A and Class B station connections and provides an interface for both single-mode and multimode fiber-optic cable. The two physical ports (PHY A and PHY B) are available with either single-mode (FC) or multimode (MIC) port connectors, or with a combination of one of each for matching multimode and single-mode fiber in the same FDDI network.


FDDI Station Descriptions

Fiber Distributed Data Interface (FDDI), which specifies a 100-Mbps, token-passing dual-ring network using fiber-optic transmission media, is defined by the ANSI X3.1 standard and by ISO 9314, the international version of the ANSI standard. An FDDI network comprises two token-passing fiber-optic rings: a primary ring and a secondary ring. An FDDI ring consists of two or more point-to-point connections between adjacent stations.

An FDDI ring consists of two or more point-to-point connections between adjacent stations. On most networks, the primary ring is used for data communication, and the secondary ring is used as a backup. Class B, or single attachment stations (SAS), attach to one ring and are typically attached through a concentrator; Class A, or dual attachment stations (DAS), attach to both rings. Figure 2-21 shows a typical FDDI configuration with both DASs and SASs.

Figure 2-21 : Typical FDDI Configuration with DAS, Concentrator, and SAS

h1553.gif

SASs (Class B) typically attach to the primary ring through a concentrator, which provides connections for multiple SASs. The concentrator ensures that a failure or power down of any SAS does not interrupt the ring. SASs use one transmit port and one receive port to attach to the single ring. DASs (Class A) have two physical ports, designated PHY A and PHY B, each of which connects the station to both the primary and secondary rings. Each port is a receiver for one ring and a transmitter for the other. For example, PHY A receives traffic from the primary ring, and PHY B transmits to the primary ring.

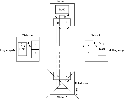
The dual rings in an FDDI network provide fault tolerance. If a station on a dual ring shuts down or fails, such as Station 3 in Figure 2-22, the ring automatically wraps (doubles back on itself) to form a single contiguous ring. This removes the failed station from the ring, but allows the other stations to continue operation. In Figure 2-22, the ring wraps to eliminate Station 3 and forms a smaller ring that includes only Stations 1, 2, and 4.

Figure 2-22 : DAS Station Failure and Ring Recovery Example

h1589.gif

A second failure could cause the ring to wrap in both directions from the point of failure, which would segment the ring into two separate rings that could not communicate with each other. For example, if Station 1 in Figure 2-22 fails after Station 3 fails, Stations 2 and 4 will each be isolated because no path for communication exists between them. Subsequent failures cause additional segmentation.


Note Each station in a ring refers to its neighbor stations as upstream or downstream neighbors. The stream is based on the signal flow on the primary ring. A station receives the primary signal from its upstream neighbor, and transmits the primary signal to its downstream neighbor. For example, Figure 2-22 shows the primary signal flow being transmitted from PHY B on Station 2 to PHY A on Station 1 and from PHY B on Station 1 to PHY A on Station 4. Using station 1 as a reference, station 2 is the upstream neighbor of Station 1, and station 4 is the downstream neighbor of station 1.

Optical bypass switches avoid segmentation by eliminating failed stations from the ring. During normal operation, an optical bypass switch allows the light signal to pass directly through itself uninterrupted. When a station with a bypass switch fails, the bypass switch reroutes the signal back onto the ring before it reaches the failed station, so the ring does not have to wrap back on itself.

Figure 2-23 shows an optical bypass switch installed at Station 1. In the normal configuration shown on the left, Station 1 is functioning normally, so the optical bypass switch appears transparent. The switch essentially allows the signals to pass through it without interruption. However, if Station 1 fails, the optical bypass switch enables the bypassed configuration shown on the right in Figure 2-23.

Figure 2-23 : Optical Bypass Operation on a DAS

h1863.gif

The bypass switch reroutes the light signal by intercepting it before it reaches the failed Station 1 and sends it back out to the ring. This allows the signal to maintain its existing path and direction without wrapping back on itself. However, stations that are operating normally repeat the signal when sending it back out to the ring. Optical bypass switches do not repeat or drive the signal (they just allow the signal to pass through them), so significant signal loss can occur when the downstream neighbor (the next station on the ring) is far away.

Another technique for fault tolerance is dual homing, whereby critical devices are attached to two concentrators. Only the designated primary concentrator is active unless it (or its link) fails. If the primary does fail, the backup (passive) concentrator is activated automatically and sustains the ring.


MultiChannel (MIP) Connection Equipment

The MIP T1 interface cable has two 15-pin DB connectors at each end to connect the MIP with the external T1 CSU. Figure 2-24 shows the MIP interface cable, connectors, and pin-outs.

Figure 2-24 : MIP Interface Cable Connector

h2385.gif

For E1, four serial cables are available from Cisco Systems for use with the MIP. All three have DB-15 connectors on the MIP end and either BNC, DB-15, Twinax, or RJ-45 connectors on the network end. Figure 2-25, Figure 2-26, Figure 2-27, and Figure 2-28 show the E1 interface cables.

Figure 2-25 : E1 Interface Cable for 75-Ohm, Unbalanced Connections (with BNC Connectors)

fig_10.gif

Figure 2-26 : E1 Interface Cable for 120-Ohm, Balanced Connections (with DB-15 Connectors)

fig_11.gif

Figure 2-27 : E1 Interface Cable for 120-Ohm, Balanced Connections (with Twinax Connectors)

fig_12.gif

Figure 2-28 : E1 Interface Cable for 120-Ohm, Balanced Connections (with RJ-45 Connector)

h2422.gif

Following are the available MIP cables:

  • E1 interface cables to connect the MIP and CSU:

    • BNC cable---CAB-E1-BNC(=) or equivalent

    • DB-15 cable---CAB-E1-DB15(=) or equivalent

    • Twinax cable---CAB-E1-TWINAX(=) or equivalent

    • RJ-45 cable---CAB-E1-RJ45(=) or equivalent

  • T1 interface cables to connect the MIP and CSU:

    • Null-Modem cable---CAB-7KCT1NULL(=) or equivalent

    • Straight-through cable---CAB-7KCT1DB15(=) or equivalent


Serial Connection Equipment

The FSIP supports synchronous serial connections at speeds of up to 8 Mbps (16 Mbps aggregate on an eight-port FSIP); the speed depends on the type of electrical interface used. Use EIA/TIA-232 for speeds of 64 kbps and below, and use X.21, EIA/TIA-449, V.35, or EIA-530 for higher speeds. All FSIP ports use an identical 60-pin, D-shell receptacle.


Universal Serial Cables

Each serial port requires a serial port adapter cable that provides the network connection and defines the electrical interface type and mode of that port. All adapter cables use a 60-pin D-shell plug at the router (FSIP) end. The network end of each cable provides the standard connector used with each interface type. (See Figure 2-29.) Cables are available for all interfaces except EIA-530 in DTE mode with a plug at the network end, or in DCE mode with a receptacle at the network end. The mode, DCE or DTE, is labeled on the connectors at both ends of the cables. Metric (M3) thumbscrews are included with each port adapter cable to allow connection to devices that use metric hardware.

Following are the available interface cable options for the mode and network-end connectors for each:

  • EIA/TIA-232: DTE mode with DB-25 plug; DCE mode with DB-25 receptacle

  • EIA/TIA-449: DTE mode with 37-pin D-shell plug; DCE mode with 37-pin D-shell receptacle

  • V.35: DTE mode or DCE mode with 34-pin Winchester-type V.35 plug; DTE mode or DCE mode with 34-pin Winchester-type V.35 receptacle

  • X.21: DTE mode with DB-15 plug; DCE mode with DB-15 receptacle

  • EIA-530: DTE mode with DB-25 plug

Figure 2-29 : Serial Port Adapter Cables

h1727.gif


E1-G.703/G.704 Cables

Figure 2-30, Figure 2-31, and Figure 2-32 show the unbalanced and balanced cables used for connection between the E1-G.703/G.704 port adapter and your network. The port-adapter end of each cable has a DB-15 connector.

Figure 2-30 : E1-G.703/G.704 Interface Cable for 75-Ohm, Unbalanced Connections (with BNC Connectors and Coaxial Cables)

h2421.gif

Figure 2-31 : E1-G.703/G.704 Interface Cable for 120-Ohm, Balanced Connections (with DB-15 Connectors on Both Ends)

h2476.gif

Figure 2-32 : E1-G.703/G.704 Interface Cable for 120-Ohm, Balanced Connections (with Twinax Connectors and Cables)

h2424.gif

fig_13.gif Caution It is a requirement of the statutory approval of the E1-G.703/G.704 interface that the jackscrews on the DB-15 connector backshell are securely screwed down while the FSIP is operating.

Following are the E1-GG.703/G.704 interface cables to connect the FSIP and CSU:

  • BNC cable---CAB-E1-BNC(=) or equivalent

  • DB-15 cable---CAB-E1-DB15(=) or equivalent

  • Twinax cable---CAB-E1-TWINAX(=) or equivalent


NRZ and NRZI Formats

All interfaces support both nonreturn to zero (NRZ) and nonreturn to zero inverted (NRZI) formats. Both formats use two different voltage levels for transmission. NRZ signals maintain constant voltage levels with no signal transitions (no return to a zero voltage level) during a bit interval and are decoded using absolute values (0 and 1). NRZI uses the same constant signal levels but interprets the presence of data at the beginning of a bit interval as a signal transition and the absence of data as no transition. NRZI uses differential encoding to decode signals rather than determining absolute values. NRZ, the factory default on all interface types, is most common. All interface types also support NRZI format, which is commonly used with EIA/TIA-232 connections in IBM environments. (See the section "Configuring NRZI Format" in the chapter "Maintaining the Router" for configuration instructions.)


Cyclic Redundancy Checks (CRCs)

All interfaces (except the E1-G.703/G.704) use a 16-bit cyclic redundancy check (CRC) by default but also support a 32-bit CRC. (The E1-G.703/G.704 interface uses a 4-bit CRC.)


Note To determine if your HIP will support a 32-bit CRC, use the show diag command. If the resulting display indicates Part Number 81-0050-01, Hardware Version 1.0, you cannot use the CRC-32 feature. If the display indicates Part Number 81-0050-02, Hardware Version 1.1, you can use the CRC-32 feature. If you are using HIP Microcode Version 1.2 and Maintenance Release 9.17(7) or earlier, the system will default to a 32-bit CRC. If you are using HIP Microcode Version 1.2 and Maintenance Release 9.17(8) or later, the system will default to a 16-bit CRC. If you are using HIP Microcode Version 1.3, any software release will cause the system to default to a 16-bit CRC.

CRC is an error checking technique that uses a calculated numeric value to detect errors in transmitted data. The sender of a data frame divides the bits in the frame message by a predetermined number to calculate a remainder or frame check sequence. Before it sends the frame, the sender appends the FCS value to the message so that the frame contents are exactly divisible by the predetermined number. The receiver divides the frame contents by the same predetermined number that the sender used to calculate the FCS. If the result is not 0, the receiver assumes that a transmission error occurred and sends a request to the sender to resend the frame.

The designators 16 and 32 indicate the number of check digits per frame that are used to calculate the FCS. CRC-16, which transmits streams of 8-bit characters, generates a 16-bit FCS. CRC-32, which transmits streams of 16-bit characters, generates a 32-bit FCS. CRC-32 transmits longer streams at faster rates, and therefore provides better ongoing error correction with less retransmits. Both the sender and the receiver must use the same setting. (See the section "Configuring 32-Bit Cyclic Redundancy Check (CRC)" in the chapter "Maintaining the Router" for configuration instructions.)


Signal Modes and Timing

DCE is the default mode for all serial ports. You normally use DCE when connecting the router to a DTE device such as a PC, host, or another router. DCE mode requires an internal clock signal. To set up a port as a DCE interface, you must use a DCE adapter cable and use the clockrate configuration command to set the internal clock speed.


Note DCE is the default mode because it allows you to perform loopback tests without a cable attached. When using DCE mode interfaces you must still specify the internal clock rate.

DTE is the most commonly used mode. You normally use DTE when connecting the router to a DCE device such as a modem or CSU/DSU. Most DTE interfaces require an external clock signal, which the remote DCE device provides. Although DCE is the default mode, you do not need to specify the mode of the port when configuring DTE interfaces. When the port recognizes the DTE interface cable, it automatically uses the clock signal from the remote DCE device.

Occasionally, systems with long cables may experience high error rates when operating at the higher transmission speeds. Slight variances in cable construction, temperature, and other factors can cause the clock and data signals to shift out of phase. Inverting the clock can often correct this shift. If an FSIP port is reporting a high number of error packets, suspect a phase shift and invert the clock with the invert-transmit-clock command.

For brief descriptions of the clockrate and invert-transmit-clock commands, refer to the section "Configuring Timing (Clock) Signals" in the chapter "Maintaining the Router." For complete command descriptions and instructions, refer to the related software configuration and command reference documentation.

All serial signals are subject to distance limits, beyond which a signal degrades significantly or is completely lost. For specific cabling distance limitations refer to the section "Distance Limitations" in this chapter. The distance and rate limits in these descriptions are the IEEE-recommended maximum speeds and distances for signaling; however, you can usually get good results at speeds and distances far greater than these. For instance, the recommended maximum rate for V.35 is 2 Mbps, but 4 Mbps is commonly used without any problems. If you understand the electrical problems that might arise and can compensate for them, you should get good results with rates and distances greater than those shown here. However, do so at your own risk. We do not recommend that you exceed published data rates and transmission distances.


EIA/TIA-232 Connections

By far the most common interface standard in the U.S., EIA/TIA-232, supports unbalanced circuits at signal speeds up to 64 kbps. The router (FSIP) end of all EIA/TIA-232 adapter cables is a high-density 60-pin plug. The opposite (network) end of the adapter cable is a standard 25-pin D-shell connector (known as a DB-25) that is commonly used for EIA/TIA-232 connections. Figure 2-33 shows the connectors at the network end of the adapter cable. The system console and auxiliary ports on the RSP2 also use EIA/TIA-232 connections; however, the FSIP ports support synchronous connections, and the console and auxiliary ports support only asynchronous connections. For further information on the RSP2 ports, refer to the section "Console and Auxiliary Port Connection Equipment" later in this chapter.

Figure 2-33 : EIA/TIA-232 Adapter Cable Connectors (Network End)

h1343.gif


EIA/TIA-449 Connections

EIA/TIA-449, which supports balanced (RS-422) and unbalanced (RS-423) transmissions, is a faster (up to 2 Mbps) version of EIA/TIA-232 that provides more functions and supports transmissions over greater distances. The EIA/TIA-449 standard was intended to replace EIA/TIA-232, but it was not widely adopted. Industry's resistance to convert to EIA/TIA-449 was due primarily to the large installed base of DB-25 hardware and to the larger size of the 37-pin EIA/TIA-449 connectors, which limited the number of connections possible (fewer than possible with the smaller, 25-pin EIA/TIA-232 connector). The FSIP end of all EIA/TIA-449 adapter cables is a high-density 60-pin plug. The network end of the adapter cable provides a standard 37-pin D-shell connector commonly used for EIA/TIA-449 connections. Figure 2-34 shows the connectors at the network end of the adapter cable. EIA/TIA-449 cables are available as either DTE (DB-37 plug) or DCE (DB-37 receptacle).

Figure 2-34 : EIA/TIA-449 Adapter Cable Connectors (Network End)

h1344.gif


V.35 Connections

The V.35 interface is most commonly used in the United States and throughout Europe, and is recommended for speeds up to 48 kbps (although in practice it is used successfully at 4 Mbps).

The router (FSIP) end of all V.35 adapter cables is a high-density 60-pin plug. The opposite (network) end of the adapter cable provides a standard 34-pin Winchester-type connector commonly used for V.35 connections.

Figure 2-35 shows the connectors at the network end of the V.35 adapter cable. V.35 cables are available with a standard V.35 plug for DTE mode (CAB-V35MT=) or a V.35 receptacle for DCE mode (CAB-V35FC=).

Figure 2-35 : V.35 Adapter Cable Connectors (Network End)

h1616.gif


Note Also available, but not shown in Figure 2-35, are CAB-V35MC=, a V.35 cable with a plug on the network end for DCE mode, and CAB-V35FT=, a V.35 cable with a receptacle on the network end for DTE mode. These cables are used for connecting V.35-equipped systems back to back.


X.21 Connections

The X.21 interface uses a 15-pin connection for balanced circuits and is commonly used in the United Kingdom to connect public data networks. X.21 relocates some of the logic functions to the DTE and DCE interfaces and, as a result, requires fewer circuits and a smaller connector than EIA/TIA-232.

The router (FSIP) end of all X.21 adapter cables is a high-density 60-pin plug. The opposite (network) end of the adapter cable is a standard DB-15 connector. Figure 2-36 shows the connectors at the network end of the X.21 adapter cable. X.21 cables are available as either DTE (DB-15 plug) or DCE (DB-15 receptacle).

Figure 2-36 : X.21 Adapter Cable Connectors (Network End)

h1346.gif


EIA-530 Connections

EIA-530, which supports balanced transmission, provides the increased functionality, speed, and distance of EIA/TIA-449 on the smaller, DB-25 connector used for EIA/TIA-232. The EIA-530 standard was created to support the more sophisticated circuitry of EIA/TIA-449 on the masses of existing EIA/TIA-232 (DB-25) hardware instead of the larger, 37-pin connectors used for EIA/TIA-449.

Like EIA/TIA-449, EIA-530 refers to the electrical specifications of RS-422 and RS-423. Although the specification recommends a maximum speed of 2 Mbps, EIA-530 is used successfully at 4 Mbps and at even faster speeds over short distances. EIA-530 is used primarily in the United States.

The EIA-530 adapter cable is available in DTE mode only. The router (FSIP) end of the EIA-530 adapter cable is a high-density 60-pin plug. The opposite (network) end of the adapter cable is a standard DB-25 plug commonly used for EIA/TIA-232 connections. Figure 2-37 shows the DB-25 connector at the network end of the adapter cable.

Figure 2-37 : EIA-530 Adapter Cable Connector (Network End---Available in DTE Only)

h1615.gif


HSSI Connection Equipment

You will need a T3, E3, or SONET STS-1 DSU and HSSI interface cable to connect the HIP with the external network. The HIP HSSI interface port is a 50-pin SCSI-II-type receptacle. The HSSI interface cable comprises 25 twisted pairs and a 50-pin plug at each end: Figure 2-38 shows the connector that is at both ends of the cable. Although the HSSI cable is similar to a SCSI-II cable, it is not identical; you cannot substitute a SCSI-II cable for a HSSI interface cable. (See the following Caution.)

Figure 2-38 : HSSI Interface Cable Connector

h1204a.gif

fig_5.gif Caution Although the HIP connector and the HSSI interface cable are similar to SCSI-II format, the HSSI cable specification is more stringent than that for a SCSI-II. We cannot guarantee proper operation if a SCSI-II cable is used instead of an HSSI interface cable.

A null modem cable (CAB-HNUL) allows you to connect two routers directly back to back between an available HSSI port on each. This setup allows you to verify the operation of the HSSI port or to directly link the routers in order to build a larger node. The two routers must be in the same location, and can be two Cisco 7507s, two Cisco 7000s, or one of each. Also, you must enable the internal clock on both routers with a software command. The null modem cable uses the same 50-pin connectors as the HSSI interface cable, but the signals are wired differently. For instructions for connecting a null modem cable, refer to the section "HSSI Connections" in the chapter "Installing the Router." The appendix "Cabling Specifications" lists the cable pinouts.


Token Ring Connection Equipment

You will need an 802.5 MAU and Token Ring adapter cable between each TRIP port and the network ring. The Token Ring connectors on the TRIP are DB-9 (PC type) receptacles that require an interface cable with a 9-pin DB-9 plug at the TRIP end and a MAU connector at the network end. Both connectors are shown in Figure 2-39.

Figure 2-39 : Token Ring Network Interface Connectors (DB-9 and MAU Types)

h1350.gif


Console and Auxiliary Port Connection Equipment

The route processor contains two EIA/TIA-232 ports: a DCE-mode Console port (DB-25 receptacle) and a DTE-mode auxiliary port (DB-25 plug). These are asynchronous ports (unlike the synchronous FSIP serial ports), so be sure that any devices you connect to these ports are asynchronous. Synchronous transmission uses precise timing to synchronize transmissions between the transmitter and receiver, and maintains separate clock and data signals. Asynchronous transmission uses control bits to indicate the beginning and end of characters instead of a precise clock signal.

You will need a terminal to configure the interfaces and bring up the system. You also need an EIA/TIA-232 DCE console cable to connect the terminal to the console port on the RSP2. After you establish normal operation, you can disconnect the terminal. Both ends of the console cable should be EIA/TIA-232 plugs to enable you to connect to the RSP2 DCE console port DB-25 receptacle and to the DB-25 receptacles used on the DTE ports on most terminals.

Before you connect a terminal to the console port, configure the terminal to match the router console port as follows: 9600 baud, 8 data bits, no parity, 2 stop bits (9600 8N2).

The auxiliary port is a DTE DB-25 plug that you can use to connect an asynchronous modem, another router, a CSU/DSU, or other DCE equipment. You also must supply your own interface cable between the auxiliary port and the equipment you are connecting. For console and auxiliary port pinouts, refer to the appendix "Cabling Specifications."


Tools for Installation

Following are the tools and equipment you will need to install the chassis and the optional rack-mount kit:

  • Number 1 and number 2 Phillips screwdrivers to tighten the captive installation screws on most systems

  • 1/4-inch flat-blade screwdriver for the captive installation screw on some power supplies and for the chassis feet (you can also use a 7/16 open-end wrench for the chassis foot)

  • 3/16-inch flat-blade screwdriver for the captive installation screws on the RSP2 and interface processors in some systems

  • Antistatic mat or antistatic foam in case you need to remove interface processors to troubleshoot the installation

  • Your own ESD grounding strap or the disposable ESD strap included with the system

  • If you are installing the chassis in a rack, you will also need the following:

    • Rack-mount kit (the kit is shipped with the chassis in the same shipping container)

    • Phillips screwdrivers: number 1 and number 2

    • Flat-blade screwdrivers: 3/16-inch and 1/4-inch

    • 10-mm nut driver

    • 7/16-inch open-end wrench or an adjustable wrench

    • Tape measure and level


Installation Checklist

Use the installation checklist in Table 2-13 to assist you with your installation and to provide a historical record of what was done, by whom, and when. Make a copy of this checklist and indicate when each procedure or verification is completed. When the checklist is completed, place it in your site log (described at the end of this chapter) along with the other records for your new router.


Checking the Contents

Following is the procedure for checking the contents of the shipping container. Use the Installation Checklist in Table 2-13, the Router Component List in Table 2-14, and the record of your order to ensure that you received all the components you ordered.

Step 1 Verify that one of the accessories boxes contains a power supply. If you ordered a second power supply it will be shipped separately.

Step 2 Check the contents of the second accessories box against the Installation Checklist and the packing slip and verify that you received all listed equipment, which should include the following:

  • One modular power supply cord for each power supply ordered

  • Router hardware and software documentation, if ordered

  • Serial port adapter cables if your system has serial ports

  • Optional equipment that you ordered, such as network interface cables, transceivers, or special connectors.


Note Do not discard the shipping container. Flatten the shipping cartons and store them with the pallet. You will need these containers if you need to move or ship the router in the future.

Step 3 Check the interface processors in each slot. Ensure that the configuration matches the packing list and that all of the interfaces are included.

Step 4 Complete the Port Configuration worksheet shown in Figure 2-40. Check the interface processors in the rear of the chassis, and record the interface type for each populated interface address. You may need to refer to this worksheet during installation.

Step 5 Proceed to the section "Site Log," then to the chapter "Installing the Router" to begin installation.


System Components

Table 2-14 lists all of the standard components that are included with the router and the optional equipment available. Check each item on the Component List as you unpack, and verify it. Insert the completed checklist into the site log (which is described in the following sections).


Site Log

A site log provides a historical record of all actions relevant to the router operation and maintenance. Keep your site log in a common place near the chassis where anyone who performs tasks has access to it. Site log entries might include the following:

  • Installation progress---Make a copy of the Installation Checklist and insert it into the site log. Make entries on the Installation Checklist as each procedure is completed.

  • Upgrades and removal/replacement procedures---Use the site log as a record of system maintenance and expansion history. Each time a procedure is performed on the system, update the site log to reflect the following:

    • Additional interface processors installed

    • Additional power supply installed for redundant power

    • Interface processors removed or replaced

    • Power supply removed or replaced

    • Configuration changed (moving interface processors or moving network interface cables between ports)

    • Software or microcode (firmware) upgraded. Insert any documentation that accompanies upgrades, spares, or new components, such as installation procedures, in the site log when you complete the procedure.

    • Maintenance schedules and requirements

    • Corrective maintenance procedures performed

    • Intermittent problems

    • Related comments

Table 2-15 shows a sample site log page. Make copies of the sample or design your own site log to meet the needs of your site and equipment.

Table 2-13 : Installation Checklist

Task Verified by Date
Date router received
Router and all components unpacked
Chassis components verified
"Safety Recommendations" reviewed
Installation Checklist copied
Site log established and background information entered
Site power voltages verified
Site environmental specifications verified
IP addresses (if needed) assigned1
Required tools available
Network connection equipment available
Router mounted in rack (optional)
First power supply installed in lower bay
Second (optional) power supply installed in upper bay
AC power supplies connected to AC sources (separate lines if possible)
DC power supplies connected to DC sources (separate lines if possible)
Power-cord retention clips secured (AC power only)
All ejector levers checked and secure
Captive installation screws on RSP2, interface processors, and power supplies checked
Network interface cables and devices connected
ASCII terminal attached to console port
Console port set for 9600 baud, 8 data bits, 2 stop bits, no parity
All power supplies turned on (power LED lights on each supply)
Upper/lower power LEDs light for all power supplies
System boot complete (normal LEDs lights)
RSP2(s) and all interface processors operational (enabled LED lights on all interface processors)

1 Refer to the related software documentation for first-time software configuration requirements.

Table 2-14 : Router Component List

Component Description Rec'd
Chassis Router chassis
Accessories Box 1 Power supply (optional second power supply shipped separately)
Accessories Box 2 Cables and documentation as follows:
Power cables One power cable for each power supply received
FSIP Interface cables Verify that you receive 1 of the following adapter cables for each FSIP port:
EIA/TIA-232 DTE or DCE serial port adapter cable, 1 per port required
EIA/TIA-449 DTE or DCE serial port adapter cable, 1 per port required
V.35 DTE or DCE serial port adapter cable, 1 per port required
X.21 DTE or DCE serial port adapter cable, 1 per port required
EIA-530 DTE serial port adapter cable, 1 per port required
Optional interface cables AUI or Ethernet transceiver cable, 1 per EIP port required
Token Ring interface cable, 1 per TRIP port required
FDDI interface cables, 1 or 2 multimode, 2 or 4 single mode for each FIP
HSSI interface cable, 1 per port required
Null modem cable for back-to-back HSSI connections
(see "Other optional equipment" below for additional optional equipment)
Other optional equipment
(may be shipped separately)
Optional second power supply for redundant power feature
Ethernet transceiver
MAU, CSU/DSU for network connections
Documentation1 Unpacking instructions (on outside of shipping container)
Cisco 7507 Hardware Installation and Maintenance (this publication)
Software license agreement
System components:
RSP2 Installed in the RSP2 slot 2
RSP2 Installed in the RSP2 slot 3
AIP Enter slot locations and port addresses on configuration worksheet
CIP Enter slot locations and port addresses on configuration worksheet
EIP Enter slot locations and port addresses on configuration worksheet
FEIP Enter slot locations and port addresses on configuration worksheet
FIP Enter slot locations and port addresses on configuration worksheet
FSIP Enter slot locations and port addresses on configuration worksheet
HIP Enter slot locations and port addresses on configuration worksheet
MIP Enter slot locations and port addresses on configuration worksheet
TRIP Enter slot locations and port addresses on configuration worksheet
Other equipment:

1 Titles and quantities of other documents will vary. Software documentation no longer ships by default. You must specify the type and quantity of documentation sets when you order the hardware

Figure 2-40 : Port Configuration Worksheet

h3889.gif

Table 2-15 : Sample Site Log

Date Description of Action Performed or Symptom Observed Initials

HomeTOCPrevNextGlossSearchHelp
-

Copyright 1988-1996 © Cisco Systems Inc.