Banner
HomeTOCPrevNextGlossSearchHelp

PDF

Table of Contents

Installing the RS-232, RS-232 NRZI (SDLC), and RS-449 Synchronous Serial Appliques


Installing the RS-232, RS-232 NRZI (SDLC), and RS-449 Synchronous Serial Appliques

Installing the RS-232, RS-232 NRZI (SDLC), and RS-449 Synchronous Serial Appliques

Product Numbers: APP-SE2NZ2=, APP-SR2NZ2=, APP-IR1=, APP-JR1=, APP-LR2=, APP-LR4=, APP-LR6=, APP-LR8=, APP-SR2=, APP-SR4=, APP-INZ1=, APP-JNZ1=, APP-LNZ2=, APP-LNZ4=, APP-LNZ6=, APP-LNZ8=, APP-SNZ2=, APP-LF1=, APP-LF2=, APP-LF4=, APP-LG1=, APP-LG2=, APPLG4=, APP-SF1=, APP-SF2=, APP-SG1=, APP-SG2=, and APP-LNZ3=


Description of Part

The term applique is used for any hardware unit that provides the external interface connections from your router to the network. This publication contains instructions for installing four types of synchronous serial appliques: the RS-232 nonreturn to zero (NRZ) data communications equipment (DCE) and data terminal equipment (DTE) appliques, the newer RS-232 nonreturn to zero inverted (NRZI) DCE or DTE applique (called the Synchronous Data Link Control [SDLC] applique), and the RS-449 DCE and DTE appliques. The current RS-232 (NRZ only) appliques are available as DCE and DTE interfaces. The newer SDLC (NRZI and NRZ) applique can be configured as DCE or DTE through a jumper change, and the NRZI function allows the SDLC applique to provide clocking within the data stream.

The SDLC applique can be used for DCE (NRZ or NRZI) and DTE (NRZ or NRZI); however, using the SDLC applique for DTE requires a special cable. (See Table 6 on page 7 for a pinout of the SDLC applique.) The SDLC applique was referred to as the NRZI applique in earlier publications.

Each RS-449 applique can be ordered as either a DTE or DCE interface. All four serial appliques must be used with a serial communications interface card (SCI) or the multiport communications interface card (MCI) installed in the system card cage inside the router.


Note The APP-LNZ3= three-port applique requires the three-port CSC-SCI card running Microcode Version 5.0 (MC-SCI-V5.0A=) or later. This three-port serial card requires that the system is running System Software Release 9.1(7) or later. For installation and upgrade information, refer to the following publications: Serial-Port Communications Interface (SCI) (Document Number 78-0687-02) and Upgrading the Serial-Port Interface (SCI) Card to Microcode Version 5.0 (Document Number 78-1201-01).


Applique Overview

An applique includes mounting plate hardware, a connector port, and a printed circuit card that translates communications signals from and into the specified electrical attachment.

Applique assemblies are attached to the rear panel of the chassis. Depending on the applique type and your chassis model, one to eight appliques can be mounted on a large applique mounting plate. Three plate sizes are available: large, small, and individual. A ribbon cable connects the applique internally to a serial network interface card. Figure 1 shows an individual and large size mounting plate as they would be installed in an A-type chassis. The small mounting plate, which is used in the M or C chassis, is not shown. The number of possible connections is determined by the applique type (for example, the RS-449 is larger than the RS-232 and will not fit on an individual plate), the available space in the chassis mounting plate areas, and the available ports on the network interface cards (SCI or MCI). The options for each applique are listed by product number in Table 1.

fig_2.gif

Figure 1 Applique Placement on the A-Type Chassis Rear Panel

Table 1 RS-232, SDLC, and RS-449 Appliques by Product Number

Product No. Type Mode Plate Size Chassis No. of Interfaces(1)
APP-IR1= RS-232 DTE Individual M, C 1
APP-JR1= RS-232 DTE Individual A+, A 1
APP-SR2= RS-232 DTE Small M, C 2
APP-LR2= RS-232 DTE Large A+, A 2
APP-SR4= RS-232 DTE Small M, C 4
APP-LR4= RS-232 DTE Large A+, A 4
APP-LR6= RS-232 DTE Large A+, A 6
APP-LR8= RS-232 DTE Large A+, A 8
APP-IS1= RS-232 DCE Individual M, C 1
APP-JS1= RS-232 DCE Individual A+, A 1
APP-SS2= RS-232 DCE Small M, C 2
APP-LS2= RS-232 DCE Large A+, A 2
APP-SS4= RS-232 DCE Small M, C 4
APP-LS4= RS-232 DCE Large A+, A 4
APP-LS6= RS-232 DCE Large A+, A 6
APP-LS8= RS-232 DCE Large A+, A 8
APP-INZ1=(2) RS-232 Both Individual M, C 1
APP-JNZ1= RS-232 Both Individual A+, A 1
APP-SNZ2= RS-232 Both Small M, C 2
APP-SE2NZ2=(3) RS-232 and Ethernet Both Small M 2 SDLC, 2 Ethernet
APP-SR2NZ2=(4) RS-232 and Token Ring Both Small M 2 SDLC, 2 Token Ring
APP-LNZ2= RS-232 Both Large A+, A 2
APP-LNZ3=(5) RS-232 SDLC (only) Both Large A+ 3
APP-LNZ4= RS-232 Both Large A+, A 4
APP-LNZ6= RS-232 Both Large A+, A 6
APP-LNZ8= RS-232 Both Large A+, A 8
APP-SF1= RS-449 DTE Small M, C 1
APP-LF1= RS-449 DTE Large A+, A 1
APP-SF2= RS-449 DTE Small M, C 2
APP-LF2= RS-449 DTE Large A+, A 2
APP-LF4= RS-449 DTE Large A+, A 4
APP-SG1= RS-449 DCE Small M, C 1
APP-LG1= RS-449 DCE Large A+, A 1
APP-SG2= RS-449 DCE Small M, C 2
APP-LG2= RS-449 DCE Large A+, A 2
APP-LG4= RS-449 DCE Large A+, A 4

(1)
Limitations for certain chassis types still apply; for example, the ASM-CS can have only one network interface.
(2)
The designator NZ refers to the NRZI (or SDLC) applique.
(3)
The designator E refers to Ethernet. The APP-2ESNZ2 applique requires two Ethernet interfaces (one CSC-MCI card).
(4)
The designator R refers to Token Ring. The APP-2RSNZ2 applique requires two Token Ring interfaces (two CSC-1R cards, two CSC-R16M cards, or one CSC-2R card).
(5)
The APP-LNZ3= three-port applique requires the three-port CSC-SCI card running Microcode Version 5.0 (MC-SCI-V5.0A=) or later. This three-port serial card requires that the system is running System Software Release 9.1(7) or later.


LED Indicators

On the RS-232, RS-232 SDLC, and RS-449 appliques, the LED indicators are located beneath the connectors. These synchronous serial appliques have the lamp pattern shown in Table 2, except the RS-232 SDLC applique which has two additional LEDs. Use the green LEDs toward the end of the row for orientation. LEDs in Table 2 are listed as viewed left to right on the applique. The signal mnemonics and directions are listed in Table 3.

Table 2 RS-232 SDLC Dual-Mode, RS-232 DTE and DCE, and RS-449 DTE and DCE Applique LED Indicators

LEDNumber Color RS-232 SDLC---DTE (DCE) RS-232 DTE RS-232 DCE RS-449 DTE RS-449 DCE
1 Red TxD (RxD) RxD RxD RxD RxD
2 Red RxC RxC RxC RxC SCT/SCR
3 Red RxD TxD RxD TxD RxD
4 Red TxC TxC TxC TxC RxC
5 Red DCD DTR DCD DTR DCD
6 Red CTS RTS CTS RTS CTS
7 Red RTS (CTS) CTS CTS CTS CTS
8 Red DTR (DCD) DCD DCD DCD RLSD
9 Red LT LT LT LTST LT
10 Green +5V OK +5V OK +5V OK +5V OK +5V OK
11 Green +12V OK +12V OK +12V OK +12V OK +12V OK
12 Green --12V OK --12V OK --12V OK --12V OK --12V OK
13 Green Applique OK Applique OK Applique OK Applique OK Applique OK
14 Red NRZI/NRZ (on for NRZI) -- -- -- --
15(1) Red DCE/DTE (on for DTE) -- -- -- --

(1)
LEDs 14 and 15 refer to the RS-232 SDLC dual-mode applique only. Numbers are not listed on the applique, but are used here for convenience.

Table 3 Signal Mnemonics and Directions

Mnemonic Description Direction
CTS Clear To Send DCE to DTE
DCD Data Carrier Detect DCE to DTE
DTR Data Terminal Ready DTE to DCE
LT (LTST) Loopback Test DTE to DCE
RTS Request To Send DTE to DCE
RxC Receive Clock DCE to DTE
RxD Receive Data DCE to DTE
SCT/SCR Source Clock Transmit/Source Clock Receive DCE to DTE
TxC Transmit Clock DCE to DTE
TxD Transmit Data DTE to DCE


RS-232 DCE and DTE Applique Jumper Descriptions and Pinouts

The RS-232 DCE and DTE appliques have either a female (for DCE) or male (for DTE) 25pin D-type connector. Jumper W1 connects signal ground to chassis ground. The mode is fixed for each and printed on the applique. (See the DTE applique in Figure 2.) The internal ribbon cable attaches to the 26-pin connector. Table 4 lists the pinouts for the RS-232 DCE and DTE appliques.

h1067a.gif

Figure 2 RS-232 DTE Applique---Component-Side View

Table 4 RS-232 DCE and DTE Applique Pinouts

Pins DirectionDCE DTE Mnemonic Function
3 ---> RxD Receive Data
17 ---> RxC (SCR) Receive Clock
2 <--- TxD Transmit Data
15 ---> TxC (SCT) Transmit Clock
20 <--- DTR Data Terminal Ready
4 <--- RTS Ready To Send
5 ---> CTS Clear To Send
8 ---> CD Carrier Detect
9 <--- LL Local Loopback
6 ---> DSR Data Set Ready
24 <--- TT (SCTE) Serial Clock Transmit External
1 -- Chassis GND Ground
7 -- Signal GND Ground


Older RS-232 Appliques

Very early MCI cards were shipped with an RS-232 DTE applique assembly designed by a third-party vendor. These older appliques, marked SCO-232, do not have any LEDs. If you are using this RS-232 DTE applique assembly on the other side of a link, the applique has Carrier Detect (CD) on pin 6, which is contrary to current RS-232 specifications. When using this applique with an RS-232 DCE applique assembly, you must use a cable adapter or breakout box to change the cable as shown in Figure 3. All other signals on the 25-pin cable should be straight through.

h2068.gif

Figure 3 Cable Change Required When Using Older RS-232 Applique


RS-232 SDLC Dual-Mode Applique Jumper Description and Pinout

The Synchronous Data Link Control (SDLC) nonreturn to zero inverted (NRZI) applique has a female 25pin D-type connector. An internal ribbon cable attaches to the 26-pin connector (see Figure 4). Jumpers J1 and J2 set the mode (DCE or DTE); J3 sets the nonreturn to zero function; and J4 has no user function (default position on pin 1 and 2). (See Table 5.) Table 6 lists the pinout for the SDLC DCE applique and the crossover cable required when the SDLC applique is used in DTE mode.

fig_4.gif


Warning To avoid permanent damage to the SDLC applique, do not connect the internal ribbon cable from the interface card to the applique, while power is on to the chassis. Turn off the power to the chassis before connecting this ribbon cable.

h1068a.gif

Figure 4 SDLC Applique---Component-Side View

Table 5 RS-232 SDLC Applique Jumpers


Jumper Pin Numbers
Jumper 1 2 3 Function
J1 Jumpered Out DTE(1)
J2 Jumpered Out
J1 Out Jumpered DCE
J2 Out Jumpered
J3 Jumpered Out NRZI
J3 Out Jumpered NRZ
J4 Jumpered Out Default(2)

(1)
Using the SDLC applique for DTE requires a crossover cable that grounds pin 11 of the applique for DTE selection. (See Table6.)
(2)
Leave J4 in the default position.

Table 6 Pinout for the SDLC DCE Applique and the Crossover Cable

SDLC DCE Applique and Router End of the Crossover Cable (DTE) Network End of the Crossover Cable (DCE)
DB-25 Male DB-25 Female
Mnemonic Pin Mnemonic Pin
Shield 1 Shield 1
TxD 2 RxD 3
RxD 3 TxD 2
RTS 4 CTS 5
CTS 5 RTS 4
DSR 6 LTST (LL) 18
Ground 7 Ground 7
DCD 8 DTR 20
NC(1) 11 -- --
TxC 15 TxC 15
RxC 17 SCTE 24
LTST (LL) 18 DSR 6
DTR 20 DCD 8
SCTE 24 RxC 17
TM 25 TM 25

(1)
NC = No connection; however, using the SDLC applique for DTE mode requires the CAB-R32NZ crossover cable that ties pin 11 to ground for DTE selection. The part number for this crossover cable is 72-0757-01.


RS-449 DCE and DTE Applique Jumper Descriptions and Pinouts

The RS-449 DTE applique contains a male 37-pin connector, while the RS-449 DCE applique contains a female 37-pin connector. The internal ribbon cable connects to the 26-pin connector. The mode is labeled on the circuit card (either RS-449 DTE or RS-449 DCE).

Jumper W1 connects signal ground to chassis ground. In addition to jumper W1, the RS-449 DCE applique has a second jumper (W2) to select the transmit data clock source. Pins one and two of jumper W2 are jumpered together causing the applique to see the transmit clock of the serial clock transmit external (SCTE/TT) line of the interface cable. This is a factory default and it is the recommended setting for reliable operation at high data rates. The RS-449 DTE applique does not have jumper W2. The RS-449 DCE applique is shown in Figure 5, and the RS-449 DTE is shown in Figure 6.

h1069a.gif

Figure 5 RS-449 DCE Applique---Component-Side View

The RS-449 DCE applique requires that the clock be supplied from the MCI card or the SCI card. The DCE applique contains an additional jumper field (W2) which selects the transmit data clock source. Pins 1 and 2 of W2 are jumpered together causing the applique to expect to see the transmit clock on the serial clock transmit external (SCTE/TT) lines of the interface cable.

It is important that the DTE attached to this interface returns SCTE/TT along with its data to avoid cable-induced clock problems. This is the factory default, and it is the recommended setting for reliable operation at high data rates. If the DTE device does not return a clock on SCTE/TT, connecting pins 2 and 3 of W2 together causes the DCE applique to use the outgoing clock serial clock transmit (SCT/ST) instead of SCTE/TT.

The RS-449 DTE applique (see Figure 6) returns transmit clock on SCTE/TT. This is designed to compensate for clock phase shifting on long cables. It is important that the DCE device connected to the DCE applique modem be configured to accept SCTE/TT.

On both the DTE and DCE RS-449 appliques, pin 10 carries the local loopback (LL) signal. Use the software configuration subcommand loopback to invoke loopback to check out your installation or to verify that the applique is functioning correctly. The loopback command will assert pin 10 (LL) in DTE mode and will loop the Send Data (SDA and SDB) signals to the Receive Data (RDA and RD) signals. If the DCE applique ever gets the loopback pin (pin 11) asserted by the DTE device, it will loop SDA and SDB to RDA and RDB.

Following is sample output of the loopback command for serial 0:

Router# configure terminal        
Enter configuration commands, one per line.
Edit with DELETE, CRTL/W, and CRTL/U;end with CTRL/Z
interface serial 0
loopback
^z
Router# write memory
[ok]
Router#

The no loopback command returns the interface to normal function.

h1070a.gif

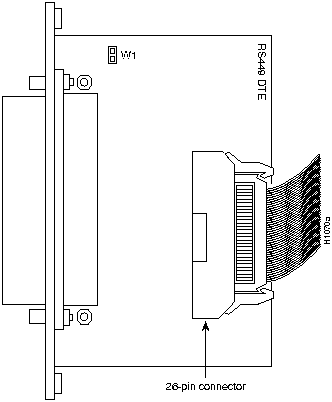
Figure 6 RS-449 DTE Applique---Component-Side View

Table 7 lists the pinouts of the RS-449 DCE and DTE appliques.

Table 7 RS-449 DCE and DTE Applique Pinouts

Pin DirectionDCE DTE Mnemonics Function
1 -- Chassis ground --
4 <--- SDA (TxD+) Transmit Data+
22 <--- SDB (TxD--) Transmit Data--
5 ---> STA (SCT+) Serial Clock Transmit Internal+
23 ---> STB (SCT--) Serial Clock Transmit Internal--
6 ---> RDA (RxD+) Receive Data+
24 ---> RDB (RxD--) Receive Data--
7 <--- RSA (RTS+) Request To Send+
25 <--- RSB (RTS--) Request To Send--
8 ---> RTA (SCR+) Serial Clock Receive+
26 ---> RTB (SCR--) Serial Clock Receive--
9 ---> CSA (CTS+) Clear To Send+
27 ---> CSB (CTS--) Clear To Send--
11 ---> DMA (DSR+) Data Set Ready+
29 ---> DMB (DSR--) Data Set Ready--
12 <--- TRA (DTR+) Data Terminal Ready+
30 <--- TRB (DTR--) Data Terminal Ready--
13 ---> RRA (RLSD+, CD+) Carrier Detect+
31 ---> RRB (RLSD--, CD--) Carrier Detect--
17 <--- TTA (SCTE+) Serial Clock Transmit External+
35 <--- TTB (SCTE--) Serial Clock Transmit External--
10 <--- LL Local Loopback
19, 20, 37 -- Signal Ground --


Installation Procedures

The following sections describe the procedures for installing a serial applique in your chassis. The applique should already be attached on a mounting plate, which you will install in the rear of the chassis.


Installation Prerequisites

Before installing the applique, ensure that your system meets the following prerequisites. If your current system configuration does not meet all of the above requirements, contact your service representative for information on hardware upgrades.


Required Parts and Tools

Following are the parts and tools required for these procedures:


Preventing Electrostatic Discharge Damage

Electrostatic discharge (ESD) is a discharge of stored static electricity that can damage equipment and impair electrical circuitry. It occurs when electronic components are improperly handled and can result in complete or intermittent failures.

Following are guidelines for preventing ESD damage:


Caution For safety, periodically check the resistance value of the antistatic strap. The measurement should be within the range of 1 and 10 Mohms.


Accessing the Chassis Interior

Following are the procedures for accessing the chassis interior and the connector plates in each of the three types of chassis: A-type, M, and C. Refer to the section that applies to your chassis type.

fig_1.gif

Warning Before accessing the chassis interior, turn off power to the chassis and unplug the power cord because hazardous voltages may exist in or near the power supply. Use extreme caution when working near the power supply.


A-Type Chassis Access Procedure

Following is the procedure for accessing the A-type chassis interior.

Step 1 Turn OFF power to the chassis and unplug it from AC power.

Step 2 If the chassis is rack mounted, disconnect all external cables from the chassis rear panel. Note where these cables were connected, for reinstallation.

Step 3 Remove the chassis from the rack and transfer it to a desktop or work table.

Step 4 If you will need to handle any electronic components (cards, and so forth), attach appropriate ESD protection and attach the AC power cord, but to prevent a shock hazard, make certain the chassis power is OFF.

Step 5 To access cards in the card cage, loosen the two thumbscrews and remove the front panel from the chassis. (See Figure 7.) If you wish to access cards in the card cage only, skip the next step.

Step 6 To access other system components, locate and remove the seven No. 1 Phillips screws securing the top cover. (See Figure 7.) Set the top cover and screws aside.

h1096a.gif

Figure 7 Chassis Front and Top Panels


Note To reassemble the chassis, reverse all steps.

Proceed to the section "Installing the Applique."


MGS Chassis Access Procedure

Following is the procedure for accessing the MGS chassis interior.

Step 1 Turn OFF power to the chassis and unplug it from AC power.

Step 2 If the chassis is rack mounted, disconnect all external cables from the chassis rear panel. Note where these cables were connected, for reinstallation.

Step 3 Remove the chassis from the rack and transfer it to a desktop or work table.

Step 4 If you need to handle any electronic components (cards, and so forth) attach appropriate ESD protection and attach the AC power cord, but to prevent a shock hazard, make certain the chassis power is OFF.

Step 5 To access the cards in the card cage, locate the three flat-blade screws that secure the card cage access panel. (See Figure 8.) These screws are located on the top of the MGS chassis access panel.

Step 6 Using the flat-blade screwdriver, turn each of these screws 1/4 to 1/2 turn counterclockwise until the screw pops up.

Step 7 Using the No. 2 Phillips screwdriver, loosen the three screws at the bottom edge of the card cage cover. (Do not remove these screws completely.) Carefully remove the card cage cover and set it aside.

Step 8 To access the other chassis components, use the No. 1 Phillips screwdriver to remove the 14 screws that secure the top cover of the MGS chassis. (See Figure 8.) Set the top cover aside.

h1091a.gif

Figure 8 Screw Locations on the MGS Chassis Exterior---Side View


Note To reassemble the chassis, reverse all steps.

Proceed to the section "Installing the Applique."


C Chassis Access Procedure

Following is the procedure for accessing the C chassis interior.

Step 1 Turn OFF power to the chassis and unplug it from AC power.

Step 2 If you need to handle any electronic components (cards, and so forth) attach appropriate ESD protection and attach the AC power cord, but to prevent a shock hazard, make certain the chassis power is OFF.

Step 3 Use the No. 2 Phillips screwdriver to remove the ten screws that secure the cover of the
C chassis. There are two screws on each side and six screws on the bottom of the chassis. (See Figure 9.)

h1092a.gif

Figure 9 Screw Locations on the C Chassis Exterior---Side View

Step 4 Position the chassis so that the back (the side with the ports) is on your left; the front of the chassis (with the LED) is on your right; and the chassis top is facing up. (This is completely opposite of the chassis position shown in Figure 9.)

Step 5 Pull the front of the cover to the right (while securing the back of the chassis with your left hand) until the power supply and card cage are completely exposed. Because the fit is snug, pull slowly and carefully, and do not remove the cover.

fig_3.gif Caution Several cables are located close to the interior of the C chassis cover. Avoid damage to these cables by ensuring that they do not impede the cover as you remove it.


Note To reassemble the chassis, reverse all steps.

Proceed to the section "Installing the Applique."


Installing the Applique

This procedure describes how to install an applique. You will install the applique in the rear of the chassis and route the attached ribbon cable to the appropriate port on a CSC-SCI, CSC-MCI, CSC-1R, CSC-R16M, or CSC-2R card in the system card cage.

Following is the procedure for installing appliques:

Step 1 Turn OFF power to the chassis and unplug the power cord.

Step 2 Ensure that the jumpers on the SCI or MCI card are set for the correct mode (DTE or DCE).

Step 3 If you are installing an RS-449 DCE applique, ensure that jumper W2 is set correctly (for SCTE or SCT).

Step 4 On the rear of the chassis (see Figure 10), remove the blank plate from the connector area. Large connector plates are secured with six screws, small plates with four screws, and individual plates with two. Set the screws aside.

Step 5 Place the new mounting plate (with the attached applique) on the inside of the rear chassis panel against the opening. Position the applique with the LEDs facing out and below the connector. Secure the applique with the screws you removed from the blank plate.

h1175.gif

Figure 10 Typical Applique Installation---A-Type Chassis

Step 6 Connect an internal ribbon cable between the connector on the applique and an available port on the appropriate interface card in the chassis card cage. Route the cable under the card cage and up to the card in the front of the chassis. Be careful not to stress the cable or connectors at either end.

fig_5.gif Warning To avoid permanent damage to the SDLC applique, do not connect the internal ribbon cable to the applique from the interface card while power to the chassis is on. Turn OFF the power before connecting this ribbon cable.

fig_6.gif Caution If installing more than one serial applique, use the 26-pin ribbon cable connector with the color coded edge as serial 0 (N) and the second connector as serial 1 (N+1).

Step 7 Attach one end of the external network interface cable to the connector on the applique and the other end to your network segment.


Configuring the APP-2ESNZ2 and APP-2RSNZ2 Interfaces

The APP-SE2NZ2 and APP-SR2NZ2 appliques require that two Ethernet and two serial interfaces or two Token Ring and two serial interfaces are available. These are provided in the form of one CSC-MCI card (2E1S, 2E2S, 2E1T, or 2E2T) for APP-SE2NZ2, or one of the following three combinations of cards for APP-SR2NZ2:


Note Because the C chassis has only one slot available for an interface card, and because APP-SR2NZ2 requires more than one interface card, APP-SR2NZ2 cannot be used with the
C chassis; however, APP-SR2NZ2 and APP-SE2NZ2 can both be used in the MGS chassis.

For APP-SE2NZ2, the Ethernet and serial connectors are oriented left to right with E0 and S0 at the top and E1 and S1 at the bottom. For APP-SR2NZ2, the Token Ring and serial connectors are oriented left to right with TR0 and S0 at the top and TR1 and S1 at the bottom.

The CSC-MCI card has up to two Ethernet interface ports (E0 and E1) and up to two serial ports (S0 and S1). The CSC-1R and CSC-R16M Token Ring cards each have only one interface, so card number 0 will have interface TR0 and card number 1 will have interface TR1.

Figure 11 shows the interface port designations for the CSC-MCI Ethernet and serial interfaces and the CSC-2R Token Ring interfaces. These interface ports connect to the appliques by way of ribbon cables.

h1306.gif

Figure 11 CSC-MCI and CSC-2R Interface Port Designations


Configuring the Serial Interface Card

Following are the procedures for configuring the serial applique and serial interface.


CSC-MCI and CSC-SCI Mode and Clocking Options in DCE Mode

On the MCI card, jumpers W51 and W41 control the serial ports 0 and 1 in DCE mode. On the SCI card, jumpers N22, N26, N12, and N16 control the serial ports 0 through 3 in DCE mode. In addition to changing these jumpers for DCE operation, you must configure the clock rate on each serial interface using the clockrate speed subcommand (where speed is the bit rate of the interface in bits per second [bps]). The applique must be DCE (or configured as DCE) to generate the clock signals.

Following is sample output of the clockrate speed command:

Router# configure terminal        
Enter configuration commands, one per line.
Edit with DELETE, CRTL/W, and CRTL/U;end with CTRL/Z
interface serial 0
clockrate 64000
^Z
Router# write memory
[ok]
Router#

The no clockrate command removes the clock rate if data terminal equipment (DTE) mode is desired. Refer to the appropriate configuration and reference publication for more information on these commands. Following are the acceptable clockrate speed settings, appearing as they are entered with the clockrate speed command:

1200, 2400, 4800, 9600, 19200, 38400, 56000, 6400, 7200, 12500, 148000, 500000, 800000, 1000000, 1300000, 2000000, and 4000000

The fastest speeds might not work if your cable is too long. Speeds faster than 148 kbps are not recommended for RS-232 or RS-232 SDLC signaling. It is recommended that you use the RS-232 and SDLC appliques only at speeds up to 64 kbps; for speeds above this, use RS-449, X.21, or HD V.35. (The X.21 and HD V.35 appliques are not discussed in this publication.)


Setting the Serial Port Mode

Jumper settings on the interface card (SCI or MCI) determine the mode (DTE or DCE) of the serial port connected to your applique. The interface cards are shipped with the jumpers in DTE mode as a default. (See Figure 12.) On the SCI card, assign a serial port as DCE by changing a jumper as described in Table 8.

Table 8 SCI Jumper Settings for DCE Serial Ports

Move Jumper(1) For Serial Port
N24 to N22 serial 0 as DCE
N28 to N26 serial 1 as DCE
N14 to N12 serial 2 as DCE
N18 to N16 serial 3 as DCE

(1)
The jumper positions relative to the port positions on the card appear crossed.

Figure 12 shows the default jumper positions on the CSC-SCI card.

h1532a.gif

Figure 12 SCI Card Serial Port Jumpers


Note Attaching a serial applique to a modem or channel service unit/data service unit (CSU/DSU) almost always requires the DTE format. Most CSU/DSU devices have DCE as the electrical connection.

On the MCI card (see Figure 13), assign a serial port as DCE by changing a jumper as described in Table 9.

Table 9 MCI Jumper Settings for DCE Serial Ports

Move Jumper(1) For Serial Port
W53 to W51 serial 0 as DCE
W43 to W41 serial 1 as DCE

(1)
The jumper positions relative to the port positions on the card appear crossed.

Figure 13 shows the default jumper positions on the CSC-MCI card.

h1531a.gif

Figure 13 MCI Card Serial Port Jumpers


Note Attaching a serial applique to a modem or channel service unit/data service unit (CSU/DSU) almost always requires the DTE format. Most CSU/DSU devices have DCE as the electrical connection.


Testing the Installation

Following is the procedure for testing the RS-232 or RS-449 applique installation:

Step 1 Connect the power cable and turn ON the power to the chassis.

Step 2 For serial DCE only---Set the clockrate (after system boot) for the new interface using the configure terminal command and set the desired clockrate using the clockrate command. (See the section "CSC-MCI and CSC-SCI Mode and Clocking Options in DCE Mode.")

Step 3 After the system boots up, enter the enabled mode and verify the presence of the newly installed interfaces by using the show interface type unit command.

Following is sample output of the show interface type unit command, where type refers to the interface type (serial, Token Ring, and so forth), and unit refers to the unit address of the interface.

In the following examples, serial 0, ethernet 0, and token 0 and 1 are used. You may need to show interfaces beyond interface 0. To do so, substitute the unit address of the desired interface (1, 2, and so forth) with that shown following:

Router# show interface serial 0        
Serial 0 is up, line protocol is up
  Hardware is MCI Serial
Router# show interface ethernet 0
Ethernet 0 is up, line protocol is up
  Hardware is MCI Ethernet

Sample output for the show interface command for the CSC-R16M follows:

Router# show interface token 0         
TokenRing 0 is up, line protocol is up  
Hardware is 16/4 Token Ring, address is 0000.3080.cb34

(bia 0000.3080.cb34)

Sample output for the show interface command for the CSC-1R(2R) follows:

Router# show interface token 0         
TokenRing 0 is up, line protocol is up  
Hardware is 16/4 Token Ring, address is 0000.3080.6fd4

(bia 0000.3080.6fd4)
Router# show interface token 1 
TokenRing 1 is up, line protocol is up  
Hardware is 16/4 Token Ring, address is 0000.3080.7fe4

(bia 0000.3080.7fe4)

Note Much more information (than what is shown in these examples) will be printed to the screen, but this information has been excluded for clarity. The most important information is in the first line, which indicates the state of the interface (up or down).


Error Conditions

An error condition exists if no LED indicators are on at power-up (or after initialization) or if the newly installed interface is not seen by the system or does not come up after system boot. If this happens, check that all cards and cables are firmly seated.

If a second power-up attempt fails, contact your customer service representative.

Following are examples of possible error conditions and their symptoms:

When the installation check is successful, all LEDs on the applique should be on except for the loopback LED (unless loopback has been selected through software) and the DCE LED if DTE is selected. Following is what to do after the installation tests successfully:

Step 1 Turn OFF the power and unplug the chassis.

Step 2 Replace and secure the chassis top cover.

Step 3 Affix the new interface labels (serial 0 and so forth) below the appropriate connector on the rear of the chassis and to the internal ribbon cables attached to each new interface. The system is ready to be installed in the network.

Step 4 Replace the front access panel.

If it becomes necessary to reconfigure a single applique after it is installed, attach ESD protection, remove the chassis cover, and use a 3/16-inch nut driver to remove the cable nuts that secure the individual applique to the mounting plate. With these nuts removed, the applique can be pulled out of the mounting plate, reconfigured, and reattached without having to remove the rear plate assembly or any interior cables.


Customer Information Online

Cisco Systems' Customer Information Online (CCO) system provides online information and electronic services to Cisco direct customers and business partners. Basic CCO services include general Cisco information, product announcements, descriptions of service offerings, and download access to public and authorized files, including release notes and software. Maintenance customers receive a much broader offering, including technical notes, the bug database, and electronic mail access to the TAC. (Maintenance customers must have authorization from their Cisco contract administrators to receive these privileges.)

For dialup or Internet users, CCO supports Zmodem, Kermit, Xmodem, FTP PUT, Internet e-mail, Telnet, rlogin, and fax download options. Internet users also can retrieve files from CCO using FTP.

Registration for CCO is handled on line. To reach CCO via the Internet, use Telnet or FTP to cio.cisco.com (131.108.89.33). To reach CCO by dialup, use 415 9038070 (Mountain View, California) or 33 1 6446 4082 (Paris, France).

fig_7.gif

fig_8.gif

 

HomeTOCPrevNextGlossSearchHelp
-

Copyright 1988-1995 © Cisco Systems Inc.