Banner
HomeTOCPrevNextGlossSearchHelp

PDF

Table of Contents

Installing the CSC-FCI and CSC-C2FCI FDDI Cards and Appliques

Installing the CSC-FCI and CSC-C2FCI FDDI Cards and Appliques

Installing the CSC-FCI and CSC-C2FCI FDDI Cards and Appliques

Product Numbers:
CSC-FCI=
CSC-C2FCI=
APP-LMM=
APP-LMS=
APP-LSM=
APP-LSS=

This publication provides instructions for installing the Fiber Distributed Data Interface (FDDI) modules in an AGS+ router. These modules include the CSC-FCI or CSC-C2FCI ciscoBus interface cards and the four fiber-optic transceiver appliques, which provide single-mode and/or multimode network interfaces. The CSC-FCI operates with the CSC-CCTL ciscoBus controller card, and the CSC-C2FCI requires the second-generation CSC-CCTL2 ciscoBus controller card. The difference between the FCI and C2FCI cards is the presence of Microcode Version10.0 (or later) on the C2FCI and CCTL2 cards. Software Release 9.1 (or later) is required in order to use the C2FCI and CCTL2 cards. For specific compatibility information on upgrading the CSC-FCI card to Microcode Version10.0 or later, refer to the latest version of the publication Upgrading FDDI Cards to Microcode Version 2.1 or 10.1, Document Number 78-0857-xx (where xx is the latest version of the publication). Unless otherwise indicated, the name CSC-FCI will be used when configurations apply to both the CSC-FCI and CSC-C2FCI cards.

The following sections are included in this publication:


Note The procedures in the section "Testing the Installation" assume that your system has been operating correctly up until the time you performed this installation or upgrade, and that any problems are a result of this procedure.

If you encounter a new problem and determine that it is not the result of this installation or upgrade, refer to the AGS+ Hardware Installation and Maintenance publication for initial system startup troubleshooting procedures, or to the Troubleshooting Internetworking Systems publication for additional suggestions for resolving the problem.


FDDI Module Overview

Following is an overview of the FDDI components.


CSC-FCI Interface Card and Appliques

The CSC-FCI FDDI ciscoBus card is the interface for both single-mode and multimode FDDI network interfaces. It is connected to the ciscoBus and Multibus backplanes in the AGS+ router. Figure 1 shows the CSC-FCI card viewed from the component side.

Figure 1 : FDDI Network Interface Card (CSC-FCI)---Component-Side View

h1541a.gif


Note The CSC-FCI and CSC-C2FCI cards differ by microcode version only. The CSC-FCI card requires Microcode Version 2.0 or later, and the CSC-C2FCI card requires Microcode Version 10.0 or later.


FDDI Connections

The distance limitations for single-mode and multimode FDDI stations are listed in Table 1. Both FDDI modes provide 11 decibels (dB) of optical power.

Table 1 : FDDI Maximum Transmission Distances

Transceiver Type Maximum Distance Between Stations
Single-mode Up to 6.2 mi (10 km)
Multimode Up to 1.2 mi (2 km)


FDDI Appliques

The fiber-optic transceivers reside on circuit cards called appliques that provide the interface between external network connections and the internal CSC-FCI card. The four applique configurations are shown in Figures 2 through 5; each provides a unique combination of single-mode and/or multimode FDDI interfaces.

Following are the four FDDI applique mode combinations:

Both the single-mode and multimode transceivers provide a Class A dual attachment interface that can be connected to either a Class A or Class B station. Class A is a dual attachment station with primary and secondary rings; Class B is a single attachment station with only a primary ring.

The single-mode transceiver provides connectivity to single-mode FDDI fiber for distances up to 6.2 miles (10 kilometers). The connector is a simplex FC-type interface that accepts standard
8.2 to 10/125 micron (± 0.5) single-mode fiber-optic cable.

The multimode connectors are FDDI-standard physical (PMD) connectors. The connectors accept FDDI standard 62.5/125 micron multimode fiber-optic cable using the media interface cable (MIC). The MIC connector can also accept alternate cable sizes, such as 50, 85, or 100micron multimode fiber. Use care when using alternate fiber sizes, to avoid violating optical power budget restrictions.

The multimode/multimode applique also provides a DIN port for connecting an optional optical bypass switch, which allows the light signal to pass directly from the receive port to the transmit port. When this optical bypass is used, the signal is not repeated, and significant signal loss may occur when transmitting to stations at maximum distances.

Figure 2 : Multimode/Multimode Applique---APP-LMM

h1182a.gif

Figure 3 : Multimode/Single-Mode Applique---APP-LMS

h1183a.gif

Figure 4 : Single-Mode/Multimode Applique---APP-LSM

h1184a.gif

Figure 5 : Single-Mode/Single-Mode Applique---APP-LSS

h1185a.gif


FDDI Connectors

Following are the connectors typically used with single-mode and multimode FDDI applications.


Single Mode

Figure 6 shows the fiber-optic network interface cable FC-type connector typically used for single-mode FDDI applications with the APP-LSS, APP-LSM, and APP-LMS FDDI appliques.

Figure 6 : Single-Mode FDDI Network and Chassis Connectors

h1348a.gif

fig_1.gif Warning Invisible laser radiation may be emitted from the aperture ports of the single-mode appliques when no fiber cable is connected. Avoid exposure and do not stare into open apertures. This product meets the Class 1 Laser Emission Requirement from CDRH FDDI.


Multimode

Figure 7 shows the fiber-optic MIC used for network and chassis connections with the APP-LMM, APP-LMS, and APP-LSM appliques.

Figure 7 : Multimode MIC Connector for Network and Chassis Connections

h1349a.gif


Installation Prerequisites

Before installing any FDDI modules, ensure that your system meets the following prerequisites:

Use the show version command to verify the internal processor and software release you are running. If your current system configuration does not meet all of the above requirements, contact your customer service representative for information on hardware and software upgrades.


Safety

Follow these guidelines when working with any electrical equipment:

In addition, use the guidelines that follow when working with any equipment that is connected to telephone wiring or other network cabling.

Warning Invisible laser radiation may be emitted from the aperture ports of the single-mode appliques when no fiber cable is connected. Avoid exposure and do not stare into open apertures. This product meets the Class 1 Laser Emission Requirement from CDRH FDDI.


Verifying the Microcode and Hardware Versions

The CSC-FCI card operates with the CSC-CCTL ciscoBus controller, and the CSC-C2FCI operates with the CSC-CCTL2 ciscoBus controller. To convert a CSC-FCI card to a CSC-C2FCI card, Microcode Version 10.0 (or later) must be installed on the card. For the CSC-C2FCI to operate with the CSC-CCTL2, Microcode Version 10.0 or later must be installed on the CSC-CCTL2 card. Use the show controller fddi command to see the current version of microcode on the CSC-FCI card. Following is partial sample output of the show controller fddi command. The microcode version is given in the first line of the output; the remaining information is not important to this verification.

router> show controller fddi

FDDI 0, controller type 1.1, microcode version 2.1 ((or 10.1 for the CSC-C2FCI card)
(Additional information displayed is not required for this example.)


List of Required Parts and Tools

Before beginning installation, verify that you received all of the parts for the interface(s) you will install. In general, each applique requires one interface card, and every two appliques require one applique card cage. If any parts are missing, contact a customer service representative.

The following parts are necessary for each interface:

  • One FDDI applique (APP-LMM, APP-LMS, APP-LSM, or APP-LSS).

  • One FDDI interface card (CSC-FCI or CSC-C2FCI).

  • Applique card cage (MAS-CCG). One card cage is required for every two appliques. This may already be installed in the chassis.

  • One ground strap (a short ground strap if the applique will be mounted next to a blank connector plate, or a long ground strap if the applique will be mounted next to another applique that requires a ground strap).

  • External FDDI network interface cables (optional): single mode or multimode.

  • One port label for each applique (FDDI 0, FDDI 1, and so forth). This may be attached to the applique when you receive it.

  • Disposable grounding wrist strap.

A disposable ESD-prevention wrist strap is included with the applique; use it to prevent damage to equipment from electrostatic discharge.

  • Number 1 Phillips screwdriver.


Preventing Electrostatic Discharge Damage

Electrostatic discharge (ESD) is a discharge of stored static electricity that can damage equipment and impair electrical circuitry. It occurs when electronic components are improperly handled and can result in complete or intermittent failures.

Following are guidelines for preventing ESD damage:

  • Before you open a chassis, ensure that power to the unit is turned off, but that the power cord is connected to the wall receptacle. Having the power cord connected will ensure a ground path for any ESD voltages.

  • Always use an ESD wrist strap or ankle strap and ensure that it makes good skin contact. Do not remove the wrist strap until the installation is complete.

  • Connect the equipment end of the strap to an unpainted surface of the chassis frame or another proper grounding point or surface. We recommend that you attach it to the inside bottom of the chassis, or to the rear panel (inside or outside), without making contact with any connectors or appliques.

  • Avoid contact between equipment and clothing. The wrist strap only protects the equipment from ESD voltages on the body; ESD voltages on clothing can still cause damage.

  • Handle printed circuit cards and appliques by the edges only; avoid touching the components, traces, or any connector pins.

  • Place a removed card component-side-up on an antistatic surface or in a static shielding bag. If the component will be returned to the factory, immediately place it in a static shielding bag.

    fig_3.gif

Caution For safety, periodically check the resistance value of the antistatic strap. The measurement should be between 1 and 10 megohms.


Slot Priority

The AGS+ card cage, shown in Figure 8, has nine slots, five of which are designated ciscoBus slots. The center ciscoBus slot is reserved for the ciscoBus controller card, leaving four ciscoBus slots available for ciscoBus interface cards.

The system uses a slot priority scheme that assigns a priority to each ciscoBus card according to the ciscoBus slot in which the card resides. The card in ciscoBus slot 0 receives the highest ciscoBus priority, while the card in ciscoBus slot 3 receives the lowest ciscoBus priority.

Figure 8 : AGS+ System Card Cage

h2675.gif

Slot priorities are set to accommodate the amount of traffic generated by each interface card and the amount of card buffering required. Each ciscoBus interface card is placed in a specific slot with regard to other ciscoBus interface cards, if any. The order of priority is the same for both first- and second-generation ciscoBus controllers, except that the cards with the fiber-optic network interface cable FC-type connector typically used for single-mode FDDI applications with the APP-LSS, APP-LSM, and APP-LMS FDDI appliques. designation C2 can only be used with the CSC-CCTL2.

Following is a list of ciscoBus interface cards in order of priority, from highest to lowest:

  1. CSC-MEC and C2MEC (10 Mbps)

  2. CSC-C2CTR (16 Mbps)

  3. CSC-HSCI and C2HSCI with an APP-LHS applique (High-Speed Serial Interface) (45 through 52 Mbps)

  4. CSC-FCI and C2FCI (100 Mbps)

  5. CSC-C2FCIT (100 Mbps)

  6. CSC-HSCI and C2HSCI with an APP-ULA applique (UltraNet interface) (125 Mbps)

Install CSC-MEC or C2MEC cards in the lowest-numbered slots, beginning with slot 0 (which has the highest priority), followed by CSC-C2CTR cards. After all CSC-MEC and CSC-C2CTR cards are installed, install CSC-HSCI and C2HSCI cards with the APP-LHS applique in the lowest-numbered available slots. Follow with the CSC-FCI and C2FCI cards. Next, install CSC-C2FCIT cards. Last, install the CSC-HSCI and C2HSCI cards with the APP-ULA (UltraNet) applique. Always install cards in the lowest-numbered slot available. For example, if you are using only CSC-C2HSCI cards (with APP-ULA), place the first in slot 0, the second in slot 1, and so forth.


Note With Microcode Version 10.0 or later on the CSC-C2FCI FDDI card, and Microcode Version 2.0 or later on the CSC-FCI FDDI card, four FDDI cards can be installed in the AGS+ chassis. This feature requires that two programmable array logic (PAL) devices be upgraded on the FDDI card. For specific upgrade information, refer to the latest version of the Microcode Version 2.1 or 10.1 upgrade document; Document Number 78-0857-xx.

Table 2 lists the maximum port and card configurations for all of the ciscoBus cards currently available. Use this table as a guide when installing new ciscoBus cards and reconfiguring your AGS+.

Table 2 : Maximum Port and Card Configurations for ciscoBus Interface Cards

(C2)FCI/C2FCIT1

Ports (Cards)
(C2)MEC

Ports (Cards)
(C2)HSSI

Ports (Cards)
C2CTR

Ports (Cards)
0 (0) 24 (4) 0 (0) 0 (0)
1 (1) 18 (3) 0 (0) 0 (0)
0 (0) 18 (3) 1 (1) 0 (0)
0 (0) 18 (3) 0 (0) 4 (1)
2 (2) 12 (2) 0 (0) 0 (0)
1 (1) 12 (2) 1 (1) 0 (0)
1 (1) 12 (2) 0 (0) 4 (1)
0 (0) 12 (2) 2 (2) 0 (0)
0 (0) 12 (2) 1 (1) 4 (1)
0 (0) 12 (2) 0 (0) 8 (2)
1 (1) 6 (1) 0 (0) 6 (2)
0 (0) 6 (1) 1 (1) 6 (2)
3 (3) 6 (1) 0 (0) 0 (0)
0 (0) 6 (1) 3 (3) 0 (0)
2 (2) 6 (1) 1 (1) 0 (0)
2 (2) 6 (1) 0 (0) 4 (1)
0 (0) 6 (1) 2 (2) 4 (1)
1 (1) 6 (1) 1 (1) 4 (1)
1 (1) 6 (1) 2 (2) 0 (0)
3 (3) 0 (0) 0 (0) 2 (1)
2 (2) 0 (0) 1 (1) 2 (1)
1 (1) 0 (0) 2 (2) 2 (1)
0 (0) 0 (0) 3 (3) 2 (1)
4 (4) 0 (0) 0 (0) 0 (0)
3 (3) 0 (0) 1 (1) 0 (0)
2 (2) 0 (0) 2 (2) 0 (0)
1 (1) 0 (0) 3 (3) 0 (0)
0 (0) 0 (0) 4 (4) 0 (0)

1 C2 in parentheses indicates that the card has Microcode Version 10.0 or later installed. C2 not in parentheses indicates that the card ships with Microcode Version 10.0 or later by default.


Calculating the Chassis Power Budget

In an AGS+ shipped on or after October 1, 1991, the total power drawn by all installed cards must not exceed 300 watts (W) per chassis. In AGS+ chassis shipped before this date, the total power cannot exceed 260W. (The earlier chassis contained a 5 amp [A] circuit breaker, rather than the 7.5A circuit breaker used in the later chassis configuration.) Table 3 lists the power requirements for each card available for the AGS+.

Table 3 : Interface Card Power Requirements

Card Power (Watts)
CSC/3 31
CSC/4 35
CSC-ENVM 10
CSC-MC+ 3
CSC-MCI 281
CSC-SCI 20
CSC-R16M 34
CSC-1R or CSC-2R 30
CSC-CCTL 29
CSC-CCTL2 34
CSC-(C2)FCI 50
CSC-FCIT 36
CSC-(C2)MEC(2, 4, or 6) 221
CSC-(C2)HSCI 48
CSC-C2CTR with 1 applique (2 ports) 30
CSC-C2CTR with 2 appliques (4 ports) 42

1 Add 4W for each external Ethernet transceiver

Before installing new cards, check the power requirements of the existing system and the new card(s) to avoid exceeding the power budget. Calculate the power requirements of an existing system by adding the values for each card in the chassis; the sum is the power requirement. Determine the available power budget, subtract that sum from 300W (260W for chassis shipped before 10/1/91); the result is the power budget available for new cards.

The following example shows how to determine if you can add two new CSC-FCI cards to
an AGS+ (all values are in watts):

One CSC-ENVM card 1 x 10 = 10
One CSC/4 processor card 1 x 35 = 35
One ciscoBus controller card 1 x 29 = 29
Two CSC-(C2)MEC6 cards 2 x 22 = 44
14 Ethernet transceivers 14 x 4 = 56
Power requirement of present system 174 (179 if the CSC-CCTL2 is used)
Available power budget 300 -- 174 = 126 (121 if the CSC-CCLT2 is used)
Two CSC-FCI cards are within power budget 100 < 126


Chassis Access Procedure

Following is the procedure for accessing the chassis interior:

fig_5.gif Warning Before accessing the chassis interior, turn off power to the chassis because hazardous voltages may exist in or near the power supply. Use extreme caution when working near the power supply.

Step 1 Turn OFF power to the chassis and unplug it from AC power.

Step 2 If the chassis is rack-mounted, disconnect all external cables from the rear panel. Note where these cables were connected so you can easily reinstall them.

Step 3 Remove the chassis from the rack and transfer it to a desktop or work table.

Step 4 If you will need to handle any electronic components (cards, and so forth), attach appropriate ESD protection and attach the AC power cord but, to prevent a shock hazard, make certain the chassis power is OFF.

Step 5 To access cards in the card cage, loosen the two thumbscrews and remove the front panel from the chassis. (See Figure 9.) If you wish to access cards in the card cage only, skip the next step.

Step 6 To access other system components, locate and remove the seven number 1 Phillips screws securing the top cover. (See Figure 9.) Set the top cover and screws aside.

Figure 9 : Chassis Front and Top Panels

h1096a.gif


Note To reassemble the chassis, reverse all steps.


Installing the CSC-FCI Card

Following is the procedure for installing a CSC-FCI card in the AGS+ card cage. Before proceeding, ensure that your system and equipment meet the requirements listed in the section "Installation Prerequisites" on page 6.

Step 1 Slip on an ESD wrist strap and connect it to the chassis as previously described.

Step 2 Grasp the card ejector levers and position the card with the component side up and the bus edge away from you. Handle the card as little as possible, and when you do handle it, try to make contact with only the ejector levers and card edges.

Step 3 Place the bus edge of the card into the predetermined ciscoBus slot in the system card cage.


Note You will have to use a moderate amount of force to push the card into the slot properly; ensure that the chassis is firmly mounted on a stable surface before pushing the card into the card-cage slot.

Step 4 Place your thumbs on the ejector levers, and push the card in firmly until it snaps into place and is firmly seated in the card-cage slot. The ejectors close automatically when the card is properly seated.

Step 5 If you will immediately install FDDI appliques, leave the front access panel off; and proceed to the next section, "Installing the FDDI Applique."

If FDDI appliques are already in place, proceed to the section "Connecting Internal and External FDDI Cables" on page 18.


Installing the FDDI Applique

The FDDI applique is installed in an applique card cage in the rear of the chassis; access to the rear of the chassis requires removing the front panel and top cover of the chassis.

The following procedure is only required if an FDDI applique is not already installed.

fig_6.gif Caution Before proceeding, follow the ESD prevention procedures described in the previous section to avoid possible equipment failure.

fig_7.gif Warning Invisible laser radiation may be emitted from the aperture ports of the single-mode appliques when no fiber cable is connected. Avoid exposure and do not stare into open apertures. This product meets Class 1 Laser Emission Requirement from CDRH FDDI.


Installing the FDDI Applique in the Applique Card Cage

Following is the procedure for installing the FDDI applique in the applique card cage.


Note Before the FDDI applique is installed in the applique card cage, remove the applique card cage from the chassis to make the installation easier. If you have a card cage assembly that is not installed in the chassis, skip to step 4.

Step 1 If the applique card cage is installed in the chassis, disconnect any external connections to the applique it contains.

Step 2 Remove the card cage from the chassis by removing the six screws that secure it to the back plate. Carefully lift the card cage up and out of the chassis, using care not to strain any internal ribbon cables that still may be attached to interface cards in the system card cage.

Step 3 Remove the top cover of the applique card cage by loosening the four cover fasteners that secure it. (See Figure 10.)

Figure 10 : FDDI Applique and Applique Card Cage---Exploded View

h1180a.gif

Step 4 If the card cage is empty, remove both filler plates from the rear. (See Figure 10.) If an applique is currently installed, remove only the filler plate.

Step 5 If you are installing only one applique in an empty card cage, install the FDDI applique, with its attached faceplate, into the right side of the card cage. (Orient the card cage as in Figure 10 for the following steps.)

Step 6 Position the applique so the status LEDs are on the bottom. Ensure that the tab on the bottom of the applique faceplate is inserted into the slot in the bottom of the applique card cage and that the applique is seated in the card guide. (See Figure 10.)

Step 7 For one applique only---If you are installing only one FDDI applique, insert the blank faceplate on the left side of the card cage, sliding it down so that the front edge aligns with the faceplate on the right side of the card cage.

For two appliques only---If you are installing a second FDDI applique in the card cage, install it in the left side of the card cage by sliding it down so that the faceplate aligns with the faceplate of the applique on the right side of the card cage. Insert the applique into the card cage with the status LEDs on the bottom. Ensure that the tab on the bottom of the applique faceplate is inserted into the slot in the bottom of the applique card cage and that the applique is seated in the card guide. (See Figure 10.)

Step 8 Replace the top cover of the applique card cage. Ensure correct alignment of the cover with the two guide pins on the bottom of the cover. The guide pins should pass through the alignment holes in the tabs on the top of each applique and faceplate assembly. Secure the top cover to the card cage with the four cover fasteners. (See Figure 10.)


Installing the Applique Card Cage in the Chassis

The applique card cage can only be installed in one of the two large plate areas on the right side of the rear panel of the chassis. (For the remainder of this procedure, orient the card cage and chassis as shown in Figure 11.)

Figure 11 : Installing the FDDI Applique and Card Cage in the AGS+ Chassis

h1186a.gif


Note If you removed the card cage to install the applique, proceed to step 2. (The connector plate has already been removed.)

Step 1 Remove a blank connector plate from one of the two right side connector areas by removing the six screws that secure it. (See Figure 11.)

Step 2 Place the applique card cage inside the rear of the chassis, in the empty large plate area. (See Figure 11.) Align the screw holes in the chassis rear panel with those in the applique card cage.

Step 3 Secure the card cage with the connector plate screws you removed earlier, leaving appropriate holes empty for the ground straps. See Figure 12 and Figure 13 for ground strap configurations.

Step 4 Attach the appropriate label (FDDI 0, FDDI 1, and so forth) to the lower part of the applique faceplate; the label will be clearly visible in this position.

Step 5 Decide if your installation requires a short or long ground strap. Use a short ground strap when you install the applique next to a blank connector plate (see Figure 12) or next to an applique that does not contain a hole for the long ground strap screw. Use a long ground strap when you install the applique next to an applique that contains a hole for the long ground strap, for example, another FDDI applique (see Figure 13).


Installing a Short Ground Strap

The ground strap, which is included with all appliques, grounds the applique to the chassis to prevent EMI noise on your network interface. The applique card cage containing the FDDI appliques should already be installed in the chassis and secured with five screws. Refer to Figure 12 while you install the short ground straps.

Figure 12 : Short Ground Strap Installation

h2686.gif

Step 1 Remove the Phillips screw from the top center of the applique.

Step 2 Position the ground strap so that it straddles the applique and rear panel of the chassis. Align the holes in the ground strap with those on the rear panel and the applique.

Step 3 Secure the ground strap with the two Phillips screws.

Step 4 Connect ground straps to other appliques as necessary, and proceed to the section "Connecting Internal and External FDDI Cables" on page 18.


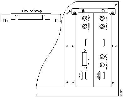
Installing Long Ground Straps

Ground straps, which are included with all appliques, ground the applique to the chassis to prevent EMI noise on your network interface. The applique card cage containing the FDDI appliques should already be installed in the chassis and secured with four screws. Refer to Figure 13 while you install the long ground straps.

Figure 13 : Long Ground Strap Installation

h2687.gif

Step 1 Remove the Phillips screw from the top center of each applique.

Step 2 Position the ground strap so that it straddles both appliques and the rear panel of the chassis. Align the holes in the ground strap with those on the rear panel and the appliques.

Step 3 Secure the ground strap with the four Phillips screws.

Step 4 Connect ground straps to other appliques as necessary, and proceed to the next section, "Connecting Internal and External FDDI Cables."


Connecting Internal and External FDDI Cables

The four internal ribbon cables (permanently attached to the FDDI applique) attach to the four connectors on the front edge of the CSC-FCI card. The FDDI network interface cables attach to the FDDI applique and provide the external connections to your network. Before beginning these procedures, orient the chassis with the open card cage facing you.


Connecting the Internal FDDI Ribbon Cables

The four internal ribbon cables are fixed to the applique and must be routed and attached to ports on the FCI card. The ribbon cables are labeled alphabetically depending on the number of appliques you will install. The FCI card connectors are shown in Figure 14, and the ribbon cable connectors are listed in Table 4. The ribbon cable orientation and labeling for the FDDI applique is shown in Figure 15. The ribbon cables from your FDDI applique are labeled as follows:

  • FDDI A through D for the first applique

  • FDDI E through H for the second applique

  • FDDI I through L for the third applique

  • FDDI M through P for the fourth applique

Connect the four applique ribbon cables to the C2FCIT card as follows.

fig_8.gif Caution To prevent twisting the ribbon cables and causing a possible short circuit, individually route each cable (from the FDDI applique) under the main card cage through the space provided and then up to the corresponding FCI card connector.

Step 1 Connect the applique ribbon cable P3 A, E, I or M (the second cable from the left in
Figure 15) to the 26-pin connector labeled FDDI A, E, I, or M on the far-left front edge of the FCI card shown in Figure 14.

Step 2 Connect the applique ribbon cable P2 B, F, J, or N (the second cable from the right in
Figure 15) to the 26-pin connector labeled FDDI B, F, J, or N in Figure 14.

Step 3 Connect the applique ribbon cable P1 C, G, K, or O (the far-right cable in Figure 15) to the 26-pin connector labeled FDDI C, G, K, or O in Figure 14.

Step 4 Connect the applique ribbon cable P4 D, H, L, or P (the far-left cable in Figure 15) to the far-right (16-pin) connector labeled FDDI D, H, L, or P in Figure 14.

Table 4 : FDDI Applique Ribbon Cable and CSC-FCI Connector Designations

FDDI Ribbon Cable From Connector To CSC-C2FCI Connector
FDDI A, E, I, or M P3 FDDI A, E, I, or M
FDDI B, F, J, or N P2 FDDI B, F, J, or N
FDDI C, G, K, or O P1 FDDI C, G, K, or O
FDDI D, H, L, or P P4 FDDI D, H, L, or P

Figure 14 : Orientation of the FDDI Connectors on the FCI Card

h1540a.gif

Figure 15 : Orientation of the Ribbon Cables on the FDDI Applique

h1551a.gif


Connecting the External Fiber-Optic Cables

Following is the procedure for connecting the external FDDI cables. Refer to Figure 6 for an illustration of the single-mode FDDI connector and to Figure 7 for illustrations of the single-mode and multimode FDDI connectors.

fig_9.gif Warning Invisible laser radiation may be emitted from the aperture ports of the single-mode appliques when no fiber cable is connected. Avoid exposure and do not stare into open apertures. This product meets the Class 1 Laser Emission Requirement from CDRH FDDI.

Step 1 If you are not installing an optical bypass switch, skip to step 3.

Plug the male DIN connector (from the optical bypass switch) into the female DIN connector on the APP-LMM applique, then plug the fiber-optic MIC cables from the bypass switch into the PHY-A and PHY-B connectors on the FDDI applique.

Connect the FDDI cables from the network into the PHY-A and PHY-B connectors on the optical bypass switch. Up to 100 milliamperes of current can be supplied to the optical bypass switch. A pinout of the DIN connector on the optical bypass switch is listed in Table 5.

Table 5 : Optical Bypass Switch Pinout

Pin No. Description
1 +5V to secondary switch
2 +5V to primary switch
3 Ground to enable primary switch
4 Ground to enable secondary switch
5 Sense circuit---1 kohm to +5V
6 Ground---sense circuit return

Step 2 Multimode connections---Attach the fiber-optic MIC cables from the FDDI network to the PHY-A and PHY-B connectors on the applique. (See Figures 2 through 5.)

Single-mode connections---Attach the single-mode cables from the network to the appropriate transmit (XMT) A or B and receive (RCV) A or B connections on the FDDI applique.

fig_10.gif

Caution Maintain the correct A to B and B to A relationship with the FDDI connectors. Failure to maintain this relationship will prevent the FDDI interface from initializing. For the optical bypass switch, PHY-A from the network goes to PHY-B on the switch, and PHY-B from the network goes to PHY-A on the switch. Some signal degradation will occur with the optical bypass switch installed in the FDDI ring.

Step 3 Attach all other external cables to the appropriate applique connectors on the rear panel, and loosely place the top cover on the chassis. Leave the front panel off until you finish testing the installation.


Testing the Installation

After you have installed your card and applique, verify the installation by doing the following:

fig_11.gif Caution With the front access panel removed, the chassis is susceptible to overheating. Apply power to the chassis only long enough to go through the configuration dialog routine, check LEDs, and verify proper system operation. Replace the front access panel if it is necessary to leave on the power to the chassis for some time.

Step 1 Turn ON the power and allow the system to boot up.

Step 2 Go through the configuration dialog routine (or use the setup command) to assign an address and subnet mask to each new FDDI interface you have installed.

Step 3 Observe the LED indicators on the applique and the ciscoBus controller card, then use EXEC show commands to verify that your interfaces are recognized by the system and have been assigned port (unit) addresses by the system.


Reading the LED Indicators

Two separate sets of LEDs provide status about the installation: those on the CCTL2 card and those on the FDDI applique. The LEDs on the CCTL or CCTL2 card will verify the presence (and correct installation) of the C2FCIT cards in the ciscoBus backplane, while the LEDs on the applique report. First verify the CSC-CCTL indicators, then the applique indicators. The following sections discuss the LED indicators on the CSC-CCTL and CSC-CCTL2 cards.


CSC-CCTL Card LED Indicators

The CSC-FCI card contains no LEDs or indicators. The LEDs on the ciscoBus controller (CSC-CCTL) card indicate when an interface is present in a ciscoBus slot. The CCTL contains a bank of 16 LEDs: four sets of four lights, and one set for each interface slot in the ciscoBus. (See Figure 16.)

On power-up, all LEDs are on, indicating that the CCTL card is active. Once the system is booted, and the ciscoBus card microcode has completed its discovery phase, the only LEDs that are on will be those that indicate the presence of a card in any ciscoBus slot. One LED from each set of four will light an interface card is detected. (The FDDI appliques also contain status LEDs whose descriptions follow.)

The numbers above each CCTL LED indicate the ciscoBus slot number. Verify that the LED for the ciscoBus slot in which your CSC-FCI card is installed comes on and remains on. If it does not, check the CSC-FCI to ensure that it is firmly seated in the ciscoBus backplane; the ejector levers snap into place when it is installed correctly. Figure 16 illustrates which LED will light to indicate the presence of a card in the ciscoBus.

Figure 16 : CSC-CCTL Card LED Indicators---Front-Edge View

h1102a.gif


CSC-CCTL2 Card LED Indicators

The CSC-C2FCI card contains no LEDs or indicators. The LEDs on the CCTL2 card indicate when a ciscoBus interface is present in a ciscoBus slot. The front edge of the CCTL2 card contains a bank of five LEDs as shown in Figure 17, one red LED for each interface slot in the ciscoBus, and a green (boot) LED to indicate a successful boot procedure.

One red LED will be on for each correctly connected ciscoBus card using the correct version of microcode. It will not be on if the card is incorrectly connected or if the microcode version is wrong.

On power-up, all five LEDs are on indicating that the CCTL2 card is active. Once the system is booted, and the ciscoBus controller card microcode has completed its discovery phase, the only red LEDs on will be those that indicate the presence of a card in a ciscoBus slot. The green LED is also on to indicate a successful boot operation. Figure 17 illustrates which LED will be on to indicate the presence of a card in the ciscoBus slot. The numbers above each LED (3, 2, 1, and 0 from left to right) indicate the ciscoBus slot number assigned to that LED.


Note Verify that the red LED for the ciscoBus slot in which your CSC-FCI card is installed comes on and remains on. If it does not, check the CSC-FCI card to ensure that it is firmly seated in the ciscoBus and Multibus backplanes. When the card is installed correctly, the ejector levers are firmly in place.

Figure 17 : CSC-CCTL2 Card LED Indicators---Front Edge View

h1205a.gif


FDDI Applique LED Indicators

There are a series of nine LEDs located on each FDDI applique. These LEDs indicate the current line state of each of the two ports on the card. The applique LEDs are shown in Figure 18, and the line states they reflect are listed in Table 6.

Table 6 : Line State Indications for PHY-A or PHY-B LEDs

0 1 2 State
On On On Line State Unknown (LSU)
On On Off Halt Line State (HLS)
On Off On Master Line State (MLS)
On Off Off Active Line State (ALS)
Off On On Noise Line State (NLS)
Off On Off Quiet Line State (QLS)
Off Off On Idle Line State (ILS)
Off Off Off Elasticity Buffer Overflow/Underflow (OVUF)

When the ring is operational (when the line protocol is up), the LEDs will oscillate between ILS, ALS, and MLS. ILS will predominate, so LED 2 will glow most brightly; LED 0 will be slightly dimmer; and LED 1 will be almost completely dark. The X3T9.5 FDDI specification explains the meaning of these line states in detail.

Figure 18 : Fiber-Optic Transceiver Applique LEDs---APP-LSS Shown

h1107a.gif


Using the EXEC Show Commands

When the status LEDs show that the applique is installed correctly, use EXEC commands to verify that the new FDDI interface is properly recognized by the system. When the system is started, the interface cards query the appliques for interface information.


Note If an FDDI applique is not connected to its interface card when the system initializes, it will be not be recognized until it is properly connected to the interface card and the system is restarted.

The EXEC command show controller fddi displays the current internal status of the CSC-FCI card(s), including the interfaces and how the card has identified them. The display lists the interfaces connected to each CSC-FCI card, and indicates that the system has identified your new interface. The display does not indicate the state of the line or protocol.

Following is a partial sample display:

router# show controller fddi

FDDI 0, controller type 1.1, microcode version 2.1 (or 10.1 for the CSC-C2FCI card)
 128 Kbytes of main memory, 4 Kbytes cache memory
22 system TX buffers, largest buffer size 1520
 Restarts: 0 line down, 0 hung output, 0 controller error
 Interface 0 is Ethernet0, station address aa00.0400.0134
  15 total RX buffers, 11 buffer TX queue limit, buffer size 1520
    Transmitter delay is 0 microseconds

To obtain more information about the interfaces, such as the state of the lines and protocol types, use the EXEC command show interface fddi to display statistics about each of the FDDI interfaces in the chassis. The first line of the show interface display names the interface and its unit address
(FDDI 0, 1, and so forth), and indicates whether the hardware and the line protocol are up or down. If the line protocol is down, the hardware is not functioning properly; ensure that the network interface is properly connected and terminated.

Following is a partial sample display:

router# show interface fddi

Fddi 0 is up, line protocol is up

  Hardware type is cBus Fddi, hardware address is aa00.0400.0134

  Internet address is 131.108.1.1, subnet mask is 255.255.255.0

MTU 4470 bytes, BW 100000 Kbit, DLY 100 usec, rely 255/255, load 1/255

Encapsulation is SNAP, loopback is not set, keepalive is not set

ARP type: SNAP

Phy-A state is active, neighbor is B, cmt signal bits 08/20C, status ILS

Brk 1, Con 1, Tra 0, Nxt 11, Sig 10, Join 1, Vfy 1, Act 1
Phy-B state is active, neighbor is A, cmt signal bits 20C/08, status ALS

Brk 1, Con 1, Tra 0, Nxt 11, Sig 10, Join 1, Vfy 1, Act 1
CFM is wrap A, token rotation 5000 usec, ring operational 0:01:42

You can also use the show interface command (without variables) to display all network interfaces installed in the AGS+. Each new FDDI interface should be appended to the list of existing interfaces, with the next sequential number assigned to it. For more specific information on the available show commands, refer to the refer to the Router Products Configuration Guide and Router Products Command Reference publications.


Restarting the System

After the FDDI module installation tests successfully, take the following steps:

Step 1 Turn OFF the system power and unplug the power cable.

Step 2 Replace and secure the top cover and front panel of chassis.

Step 3 Install the system in the network.

This completes the installation of the FDDI card and the FDDI applique.


Cisco Information Online

Cisco Information Online (CIO) is Cisco Systems' primary, real-time support channel. You can use your product serial number to activate CIO for a single user during your warranty period. Maintenance customers and partners can self-register on CIO to obtain additional content and services.

Available 24 hours a day, 7 days a week, CIO provides a wealth of standard and value-added services to Cisco's customers and business partners. CIO services include product information, software updates, release notes, technical tips, the Bug Navigator, configuration notes, brochures, descriptions of service offerings, and download access to public and authorized files.

CIO serves a wide variety of users through two interfaces that are updated and enhanced simultaneously---a character-based version and a multimedia version that resides on the World Wide Web (WWW). The character-based CIO (called "CIO Classic") supports Zmodem, Kermit, Xmodem, FTP, Internet e-mail, and fax download options, and is excellent for quick access to information over lower bandwidths. The WWW version of CIO provides richly formatted documents with photographs, figures, graphics, and video, as well as hyperlinks to related information.

You can access CIO in the following ways:

  • WWW: http://www.cisco.com .

  • Telnet: cio.cisco.com (198.92.32.130).

  • Modem: From North America, 408 526-8070; from Europe, 33 1 64 46 40 82. Use the following terminal settings: VT100 emulation; data bits: 8; parity: none; stop bits: 1; and baud rates up to 14.4 kbps.

For a copy of CIO's Frequently Asked Questions (FAQ), contact ciohelp@cisco.com . For additional information, contact cioteam@cisco.com .


Note If you are a network administrator and need personal technical assistance with a Cisco product that is under warranty or covered by a maintenance contract, contact Cisco's Technical Assistance Center (TAC) at 800 553-2447, 408 526-7209, or tac@cisco.com . To obtain general information about Cisco Systems, Cisco products, or upgrades, contact 800 553-6387, 408 526-7208, or csrep@cisco.com .

fig_4.gif

HomeTOCPrevNextGlossSearchHelp
-

Copyright 1988-1996 © Cisco Systems Inc.