Banner
HomeTOCPrevNextGlossSearchHelp

PDF

Table of Contents

STS-10x Description

STS-10x Description

STS-10x Description

This chapter provides a physical description of the STS-10x terminal server. It includes power specifications, dimensions, and descriptions of ports, indicators, and the major internal components. Before proceeding, read this chapter to become familiar with your STS-10x terminal server.

Terminal servers are communications processors that connect asynchronous devices, such as terminals, modems, and printers, to a local or wide area network. The STS-10x is a fixed-configuration terminal server intended for use in an office environment where only a few lines are required. It features a single Ethernet connection and supports ten asynchronous serial lines with modem control. The STS-10x supports TCP/IP, TELNET, RLOGIN, Xremote, LAT, SNMP, and SLIP protocols. In this guide, the name STS-10x and the term terminal server are used interchangeably.


Physical Description

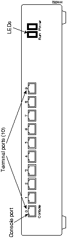
The ten RS-232 asynchronous serial lines are provided through ten RJ-45 10-pin jacks on the front panel of the STS-10x, as shown in Figure 1-1. Two LEDs, run and power, are also located on the front panel. When lit, POWER indicates power to the system is on; and RUN indicates the system has successfully completed its internal hardware diagnostic, which is performed at startup.

h1682.gif

Figure 1-1 : STS-10x Front Panel

The STS-10x back panel is shown in Figure 1-2. Two Ethernet connectors are provided: a 15-pin AUI connector for standard Ethernet, and a BNC connector for thin-wire Ethernet. Both connectors support the same Ethernet network connection; you select either the 15-pin or BNC connector with the slide switch located between the two. The system power switch and fuse are also located on the back panel.

h1683.gif

Figure 1-2 : STS-10x Back Panel

The only customer-serviceable parts inside the unit are the EPROMs. For details about EPROM replacement, refer to Chapter 4, "Replacing EPROMs."


Power and Cooling

The standard input power for the STS-10x is 85 to 130 Vac. As an option, your system may be configured to operate on input power of 190 to 260 Vac. Table 1-1 lists the power and cooling specifications for the STS-10x.

Table 1-1 : STS-10x Specifications

Maximum Power Specification
Consumption: 25 watts (85.25 BTU/hour)
Input: 90/130 Vac (standard); 190/260 Vac (optional)
Current rating: A for 110 Vac; 0.5A for 220 Vac
Cooling: One fan


Component Descriptions

The STS-10x is a single-card unit. The card contains the CPU, operating RAM, system software ROM, and system configuration EPROM. The CPU is an MC68010 running at 10 MHz. Table 1-2 lists the major components of the STS-10x.

Table 1-2 : STS-10x Component Descriptions

Component Description
Interfaces: Ethernet interface with external transceiver connector (15-pin AUI), and internal BNC transceiver.
Ten RS-232 asynchronous serial lines terminating in RJ-45 10-pin jacks.
External Indicators: Two LEDs: RUN and POWER.
Data rates (in bps): Typical: 50, 75, 110, 134, 150, 600, 1800, 2000, 2400, 4800, 9600, 19,200, and 38,400.
Programmable: Any user-defined rate between 75 and 57,600.
Processor: MC68010 processor.
System memory: 512 kilobytes of RAM, 256 kilobytes of ROM, 8 kilobytes of NVRAM.
External connectors: One 15-pin AUI port for standard Ethernet. One BNC connector for thin-wire Ethernet. Ten RJ-45 terminal ports. The terminal server software uses the center six contacts of the RJ-45 connectors so that either 8- or 10-wire cables/plugs can be used; however, 6-pin connectors can ruin the jacks and may result in intermittent connections.
Documentation: Terminal Server Configuration and Reference, and STS-10x Hardware Installation and Reference publications.


Signal Descriptions

This section provides descriptions of the RS-232 and Ethernet ports on the STS-10x, including pin signals. Additional information about interfaces and connectors you are likely to use with these ports is provided in Chapter 2, "Preinstallation."


RS-232 Signals

A variety of similar signaling schemes use the name RS-232. The scheme used with STS-10x provides a subset of the full signaling set, which is sufficient to control devices requiring both hardware and software flow control schemes, such as high-speed modems. This scheme provides six signals per line, two of them outputs:

The line drivers are supplied with bipolar 12-volt power; an open output signal will be near +12 or -12 volts. The Receive Data input has a 10-kilo ohm resistor to the -12-volt supply that helps prevent open lines from "ringing" and causing spurious input to the server. An open Receive Data line will be near -7 volts, but can vary from -6 to -10 volts depending on temperature and component variation.

The ten RS-232 ports are located on the front of the STS-10x, as shown in Figure 1-1. Table 1-3 lists the RS-232 signals and corresponding pin assignments for three common modular connectors. The ports on the STS-10x are RJ-45 jacks, which are 10-pin interfaces.


Note: Use of 6-pin connectors can ruin the jacks and may result in intermittent connections.

Table 1-3 : STS-10x RS-232 Signals

10 Pin 8 Pin 6 Pin Signal Name Direction
1 --- --- --- Not used --- ---
2 1 --- Frame Ground ---
3 2 1 Received Data Input
4 3 2 Data Terminal Ready Output
5 4 3 Clear To Send Input
6 5 4 Ring Input
7 6 5 Ground ---
8 7 6 Transmitted Data Output
9 8 --- --- Not used --- ---
10 --- --- --- Not used --- ---


Ethernet Interface

The BNC connector for thin-wire Ethernet provides an internal Ethernet transceiver; no additional external transceiver is required to connect to your Ethernet network. When using the 15-pin AUI Ethernet connector, you must install an Ethernet transceiver to the STS-10x Ethernet interface port. This connects to the server with an Ethernet transceiver cable, or Attachment Unit Interface (AUI). Transceivers are available from a variety of sources for thick LAN, thin LAN, twisted-pair Ethernet, and other media. Table 1-4 provides the pin signals for the Ethernet interface at the STS-10x and the transceiver.

Table 1-4 : Ethernet (AUI) Pin Signals

Pin Circuit Description
3 DO-A Data Out Circuit A
10 DO-B Data Out Circuit B
11 DO-S Data Out Circuit Shield (n/a)
5 DI-A Data In Circuit A
12 DI-B Data In Circuit B
4 DI-S Data In Circuit Shield
7 CO-A Control Out Circuit A (n/a)
15 CO-B Control Out Circuit B (n/a)
8 CO-S Control Out Circuit Shield (n/a)
2 CI-A Control In Circuit A
9 CI-B Control In Circuit B
1 CI-S Control In Circuit Shield
6 VC Voltage Common
13 VP Voltage Plus
14 VS Voltage Shield (n/a)
Shell PG Protective Ground

 

HomeTOCPrevNextGlossSearchHelp
-

Copyright 1988-1996 © Cisco Systems Inc.