Banner
HomeTOCPrevNextGlossSearchHelp

Table of Contents

About This Book

Hardware Description

Installing a LightStream Switch

Hardware Configuration

Software Installation

Hardware Troubleshooting

Replacing FRUs

IP Addresses Appendix

About This Book

About This Book

Audience · Organization · Related Documentation · Text Conventions

This document describes Light-Stream 2020 hardware, tells you how to install LightStream 2020 enterprise ATM switches, and covers the following troubleshooting tasks:


Audience

The audience for this book includes Light-Stream customers and employees of LightStream and partner companies who need information on installing LightStream systems, configuring the hardware, and resolving hardware problems.

fig_6.gif Warning This book is intended for use only by qualified service personnel. Tasks described here can expose unqualified personnel to mechanical and electrical hazards.


Organization

This manual is organized as follows:


Related Documentation

The following is a list of LightStream manuals and other material relevant to LightStream users.

The system overview describes what a LightStream switch is and how it works. It outlines ATM technology and describes LightStream hardware and software.

The site planning and cabling guide (SPCG) describes how to prepare your site to receive LightStream hardware. It includes space, environmental and electrical requirements, rack selection guidelines, requirements for the management workstation, and information on cables and connectors.

The configuration guide provides the information you need to configure LightStream switches. It describes the configuration tools and how to use them. It describes the configuration database and defines all configurable attributes and their settings. The guide also provides step-by-step configuration procedures.

The operations guide is a task-oriented book that tells you how to operate a network of LightStream switches. The guide presents an overview of network operations tasks, describes the command line interface (CLI), and presents procedures for performing monitor and control tasks such as displaying the status of nodes, cards and ports, viewing statistics, and creating collections of traffic data.

The administration guide describes LightStream network management functions such as setting up a new network, troubleshooting, and optimizing the load across trunks. The guide describes network management tools, then presents step-by-step procedures for performing the functions.

This manual presents an overview of LightStream traps (error and event messages) and a list of operational, SNMP, and informational traps generated by the LightStream switch.

The reference guide provides detailed descriptions of the syntax and functions of all CLI commands. It also indicates CLI equivalents of configuration procedures, describes the LightStream private MIB, and gives UNIX-style manual pages for LynxOS commands.

The reference card compactly summarizes the syntax and arguments of all CLI commands.

The release notes provide a software upgrade procedure and describe new features and special considerations, including information on known software bugs.


Note The release notes contain important information that does not appear in other documents.

LightStream provides online help for its command line interface and its configuration program.

Before attempting to install, configure, operate, or troubleshoot a network of LightStream switches, read the LightStream 2020 System Overview. This overview provides important background information about the LightStream product and the ATM technology on which the product is based. After reading the LightStream 2020 System Overview, refer to Table 1-1 to determine which manuals you should read next.

Table 1-1 : LightStream Reading Path

If you want to: Read the following manuals in the order listed below:
Install LightStream switches LightStream 2020 Release Notes1
LightStream 2020 Site Planning and Cabling Guide
LightStream 2020 Installation and Troubleshooting Manual
Configure LightStream switches LightStream 2020 Release Notes1
LightStream 2020 Configuration Guide
LightStream 2020 Online Help Screens
Set up or expand a
LightStream network
LightStream 2020 Release Notes1
LightStream 2020 Administration Guide
LightStream 2020 Online Help Screens
Operate a LightStream network LightStream 2020 Release Notes1
LightStream 2020 Operations Guide
LightStream 2020 Command and Attribute Reference Guide
LightStream 2020 Command Line Interface (CLI) Reference Card
LightStream 2020 Traps Reference Manual
LightStream 2020 Online Help Screens
Manage or troubleshoot a LightStream network LightStream 2020 Release Notes1
LightStream 2020 Operations Guide
LightStream 2020 Administration Guide
LightStream 2020 Command and Attribute Reference Guide
LightStream 2020 Command Line Interface (CLI) Reference Card
LightStream 2020 Traps Reference Manual
LightStream 2020 Online Help Screens
Troubleshoot LightStream hardware LightStream 2020 Release Notes1
LightStream 2020 Installation and Troubleshooting Manual
LightStream 2020 Site Planning and Cabling Guide

1 We recommend that you review the release notes before attempting to install, configure, operate, or troubleshoot a LightStream switch. The release notes contain important information that does not appear in other documents.


Text Conventions

In this document, several conventions distinguish different types of graphics.

Convention Purpose Example
Bold screen
literal type
Screen
literal type
Boldface type




Italic type

Angle brackets <>



Square brackets
[ ]



Caret symbol
^
Curly braces
{ }
Represents user input.

Represents system output

Denotes names of commands, command arguments, and switches. Command names are case sensitive; enter them exactly as they appear in the text.
Used for titles of documents and for emphasis.
Indicate user-specified parameters or classes of user responses. When you see this notation in a syntax statement, make the substitution but do not type the angle brackets.
Indicate keys on the keyboard, or optional arguments or parameters for commands. You can omit optional arguments and parameters in any command.
When the caret symbol precedes a character, it refers to the control key.
Indicate a choice of arguments or parameters for commands. Arguments or parameters are separated by a vertical line {|}, and you must select one.
$ date

Wed May 6 17:01:03 EDT 1994

Issue the clear command.




LightStream 2020 Configuration Guide
File names are case sensitive.
If you see:
set port <c.p> <state>

you might type:
set port 4.3 active
Press [Return].

cli> help [<topic>]


^X is the same as [Control] X

cli> set cli traplevel { off | info | oper | trace | debug }
Hardware Description

Hardware Description

Chassis · Midplane · Switch Card · Network Processor Card · Disk Assembly · Line Cards · Access Cards · Fantails· Card LEDs · Test and Control System · Cooling · Power Options

The hardware elements of a LightStream 2020 enterprise ATM switch are outlined in Figure 2-1. This chapter describes each component of a LightStream node, starting with the chassis and midplane.

Figure 2-1 : Hardware elements of a LightStream switch.

h3203.gif


Chassis

The chassis serves as a skeleton and container for the LightStream system. It provides access to components from both the front and back. The chassis measures 18.9 inches (48 cm) wide by 26 inches (66 cm) high by 24.7 inches (63 cm) deep. It contains all the hardware elements shown in Figure 2-1. Figure 2-2 shows the front view of a fully loaded, redundantly configured LightStream chassis and Figure 2-3 shows the rear view.

Figure 2-2 : Front view of a LightStream switch.

Figure 2-3 : Rear view of an AC-powered LightStream switch.

From the front of the LightStream chassis, you have access to network processor cards, line cards, switch cards, disk drive units, and one of the two blowers. Power supplies, access cards, fantails (if any), external cabling, connectors for consoles and modems, and the other blower are accessible from the rear of the chassis.

The LightStream chassis can be mounted in a standard 19 inch wide rack. Guidelines for selecting racks are provided in the LightStream 2020 Site Planning and Cabling Guide; rack mounting instructions appear in "Installing a LightStream Switch" section of this manual.


Midplane

Each LightStream node has a midplane that contains most of the internal wiring for the node. The midplane, which is a field-replaceable unit (FRU), connects the NPs and line cards to switch cards and also connects the function cards (NPs and line cards) to their I/O access cards. The midplane simplifies system assembly, increases reliability, and improves mean time to repair. The midplane carries 48-volt power to all the cards in the system and interconnects the Test and Control System hub and slave processors.

Figure 2-4 shows a conceptual view of a midplane with several cards connected to it.

NPs, line cards and switch cards plug into the front of the midplane, and I/O access cards associated with each function card plug into the rear of the midplane. The connections between function cards and their I/O access cards pass through the midplane on connector pins, but do not make electrical connection with the midplane. The midplane contains all the internal wiring to connect the function cards to the switch cards.

Figure 2-4 : Midplane in a LightStream switch. This view is from top, looking down into a LightStream box. It only shows the connections made between the first five function cards and the two switch cards. Connections of the same types exist between the function cards in slots 6 - 10 and the two switch cards.

h3206.gif

The midplane provides connections for up to:

Up to 12 cards (10 function cards and 2 switch cards) can be connected to the front of the LightStream midplane. The twelve slots in the chassis are divided into function card slots, numbered 1 through 10, and switch card slots, designated A and B. Switch card slots A and B are located in the center of the chassis, between function card slots 5 and 6. (See Figure 2-4.)

The function cards connect to the switch card via the center 96-pin DIN connector in each slot. The upper and lower 96-pin DIN connectors are used to connect the function card to the access card on the other side of the midplane.

fig_26.gif Caution Although function cards and switch cards are the same size, their midplane connectors are completely different. Do not attempt to place a function card in a switch card slot or vice versa. Attempts to do so may result in damage to the connectors on the midplane or the cards.

Figure 2-5 shows the connectors on the front of the midplane.

Figure 2-5 : Connectors on the front of the midplane

.

h3207.gif

Up to 10 I/O access cards, two console/modem assemblies, and two power supplies can be connected to the back of the LightStream midplane.

Figure 2-6 shows the connectors on the back of the midplane.

Figure 2-6 : Connectors on the rear of the midplane.

h3208.gif

The 96-pin DIN connectors in each slot connect the access card to the function card on the other side of the midplane.

Each bulk power tray connects to one connector on the rear of the midplane. The console and modem ports for each switch card share one shrouded pin-header connector located on the rear of the midplane behind the switch card.


Midplane EEPROMs

On the midplane are two EEPROM chips whose contents, which are written in the factory, include:

(A modem port is associated with each switch card.)

If you replace the midplane, you may need to program some of the information listed above into the EEPROMs on the new midplane. Refer to the midplane replacement procedure in "Replacing FRUs" section of this manual and to the EEPROM programming procedures in the LightStream 2020 Operations Guide.

The chassis IDs in the two midplane EEPROMs in a LightStream switch must be identical, and they must be otherwise unique in your network. For this reason, LightStream Corp. assigns a unique chassis ID number to every LightStream 2020. To ensure that the correct chassis ID is restored in the even of an EEPROM failure, you should keep a record of the chassis ID for every system in your network.

You may wish to change the modem initialization string and modem password on your system. If you change these values for one switch card slot, be sure to change the values for other slot to match. If modem information is not consistent across slots, you could have modem access problems if you move a switch card from one slot to another or if, in a redundant configuration, your backup switch card becomes active.


Grounding

The midplane acts as the main logic ground point in the LightStream chassis.


Bulk Power Distribution

The midplane distributes high current bulk power to the function and switch cards. Bulk power arrives on the midplane through connectors mounted on the power tab, a projection on the left side of the midplane.


Physical Characteristics

The midplane is 16 in. (40.6 cm.) high by 12 in. (30.5 cm.) wide. Bulk power connectors are mounted on the power tab, a 2.3 in. (5.8 cm.) by 2.2 in. (5.6 cm.) projection on the left side of the midplane. (See Figure 2-5.) Connectors on the front and back of the midplane carry signals between each line card, NP and switch card in the front of the chassis and the corresponding access card in the back of the chassis.


Switch Card


General Description

The LightStream switch card, an FRU, provides the interconnection through which line cards and network processors (NPs) in the same LightStream chassis communicate with one another. Communications between NPs and line cards can take place over high-speed switch paths that carry payload traffic between LightStream nodes. In addition, low-speed Test and Control System (TCS) data paths carry control and diagnostic information between the TCS hub on the switch card and the TCS slaves on the NP and line cards.

Two versions of the switch card exist: the Release 1 version and the Release 2 version. Differences between the two are noted as they come up throughout this section. Except as noted, functionality is identical on the two cards.

Switch cards can be inserted in one or both of the dedicated switch card slots on the front of the midplane, slots A and B. A redundant system has two switch cards; a nonredundant system has one. In a redundant system, one switch card is active and the other serves as a hot spare, ready to take over if the active card fails.

Figure 2-7 shows a Release 1 switch card; Figure 2-8 shows a Release 2 switch card.

Figure 2-7 : Release 1 switch card.

h3209.gif

Figure 2-8 : Release 2 switch card.

h3210.gif


Major Functions of the Switch Card

The switch card has four key functional areas:

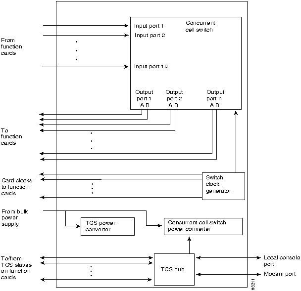
Figure 2-9 shows a high-level functional block diagram of the switch card. Each of the functional areas shown in Figure 2-9 is described in the sections that follow.

Figure 2-9 : High level block diagram of the switch card.

h3211.gif


Concurrent Cell Switch

The concurrent cell switch provides the connection through which NPs and line cards communicate, allowing them to transport cells of data between function cards within a LightStream chassis. The concurrent cell switch has 10 ports, one per function card slot.

The concurrent cell switch on each switch card takes the place of a bus in a conventional computer system. It eliminates the need for high-power drivers for high-speed, high-fanout buses. It provides physical isolation between function card data paths for power-on, nondisruptive servicing, and it provides a very high aggregate bandwidth in the chassis without requiring each function card to accept data at the aggregate rate.

The switch carries cells in fixed length time slots, which are common to all the traffic. All function cards transmit their cells into the switch simultaneously and receive cells from the switch simultaneously.

The decision of which transmitting function card gets a connection to its requested receiving function card is made in the time-slot preceding the actual data transfer. The switch therefore has nearly an entire time slot to make its decision. The switch sends an acknowledgment back to those transmitters whose destination card requests will be fulfilled in the next time slot. The acknowledgment arrives before the end of the requesting time slot, so that the transmitter can begin the data flow as the next time slot begins.

The function cards are connected to the switch by private links. There are three paths between each function card and the switch. One is used to transmit cells from the function card to the switch, and two are used to deliver cells from the switch to the function card. Each of these data paths is eight bits wide and is clocked at 25 MHz, for a raw path bandwidth of 200 Mbps.

The data passing on these links is divided into cells. Each link is unidirectional, but the three data paths between the function card and the switch can all pass cells simultaneously. The double data paths flowing from the switch to the function cards reduce blocking probability so the switch delivers better performance than ordinary "nonblocking" switches. Under typical traffic loads, the concurrent cell switch delivers an average of 160 Mbps of cell payload throughput. This is more than enough to handle the 149.8 Mbps OC-3c SONET payload bandwidth, and sufficient to handle wire-speed FDDI traffic with enough margin to accommodate inefficiencies due to packet fragmentation.


TCS Hub

The TCS hub is located on the switch card. It controls the switch card and acts as a communications hub for the system-wide Test and Control System. It provides communication among the TCS slaves, itself, the console, the TCS hub on the redundant switch card if one is present, and the modem.

The switch card provides power for the entire TCS system. The TCS hub can monitor the "DC OK" signal on the bulk power supply.

In a system with two switch cards, the TCS hub on one card is primary and the TCS hub on the other is secondary. The primary TCS hub is not necessarily located on the active switch card. To determine which switch card in a redundant system has the primary hub, look at the TCS SEL LEDs. This LED is lit on the card with the primary TCS hub.

Via the local console and modem ports, both TCS hubs can provide some access to function cards. For example, you can display the status of a function card from either hub. However, if you need to establish a console connection to a card---to use CLI, for example, or to run diagnostics---you must connect to the card via the console or modem port of the switch card with the primary TCS hub.

If the primary hub fails to poll the secondary hub within a specified time period, the secondary hub takes over and becomes primary. In addition, you can force the secondary hub to become primary, as described in the LightStream 2020 Administration Guide. Forcing the hubs to switch roles may be necessary, for example, if you need to remove a switch card from the chassis.

More information on the TCS can be found in the "Test and Control System" section.


Power

On the Release 1 switch card, there are two power supplies. One supplies TCS power for the entire LightStream unit, and the other supplies power to the concurrent cell switch and clock circuitry. On the Release 2 switch card, a single power supply serves both purposes.

The switch card converts internally distributed bulk power to the voltages it needs to operate its switch circuitry and generates power for the TCS system on all the function cards.


Clock Generation

The switch card generates a 25 MHz clock signal for the system and distributes it to all the function cards.

The Release 2 switch card has network synchronization logic that allows all LightStream nodes in a network to be referenced from the same time base. The BITS CLK port and the BITS OK LED, which are not functional in Release 2.0, will be used for network synchronization in a future release. (BITS is building-integrated time source, a type of T1 line that supports only clock signals.) This will be useful for constant bit rate applications.


Redundancy

A LightStream node's optional second switch card is used for redundancy rather than loadsharing. The two cards are configured identically. One switch card is active while the other is available as a hot spare. If a failure occurs in the active switch card, cutover to the backup card happens automatically. The active card is always the card in slot A, unless that card is absent, failed, or not powered, or an operator has forced a cutover.

In Release 1 switch cards, cutover---when an active switch card goes out of service and the backup card becomes active---is an unplanned event caused by a problem on the active card. (It may also be caused by an operator's reset or removal of the active card.) Cutover in Release 1 cards causes the system to reboot and involves some loss of data.

In Release 2 switch cards, cutover from one card to the other can happen in the following ways:

A planned cutover is initiated by you, and involves no loss of data. See the LightStream 2020 Operations Guide for instructions on how to perform a planned switch card cutover.

An unplanned cutover occurs when a hardware problem renders the active switch card inoperable. Because the system is not able to prepare for it, an unplanned cutover involves some data loss. It also causes any low-speed and medium-speed line cards in the chassis to reboot. In certain circumstances, an unplanned cutover can cause the system to reboot.

If you mix Release 1 and Release 2 switch cards in the same chassis, the Release 2 card will behave like a Release 1 card. (That is, planned cutovers will not be possible. Any cutover involving Release 1 and Release 2 switch cards, whether caused by operator action or initiated by the system itself, will cause the system to reboot.)


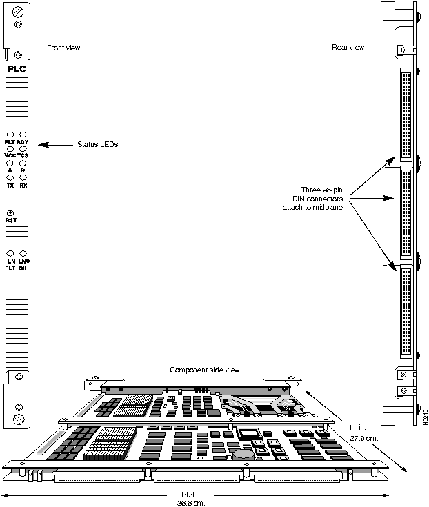
Physical Description

The switch card measures 14.4 in. (36.6 cm.) high by 11 in. (27.9 cm.) deep. (See Figure 2-7.) The switch card weighs 3.4 pounds (1.5 kg.).

The LEDs on the switch card are described in Table 2-4.

There is a recessed reset push-button on the card's front bulkhead. Pushing it causes a full reset of the card.

Release 2 switch cards have a BITS OK LED and a BITS CLK port on the front bulkhead that are not used in Release 2.0.


Console/Modem Assembly

At the back of the chassis, behind each switch card, is a console/modem assembly consisting of a bulkhead with two connectors mounted on it. The connectors are labeled CNSL and MODEM. The console/modem assembly connects to the midplane via a ribbon cable. Its ports can be used to connect a terminal and modem to the TCS hub on the switch card; from there you can connect to the NP, or to any other function card.


Network Processor Card


General Description

The NP card, an FRU, is the LightStream system's primary computing and storage resource.

In conjunction with the line cards, network management systems, and NPs in other LightStream nodes, the NP performs system-level functions for the LightStream node. These functions include virtual circuit management, network management, maintenance of routing databases, distribution of routing information, and file system management.

Each NP is paired with an NP access card, which resides directly behind the NP in the chassis. The access card provides an Ethernet port that may be connected to carry network management traffic.

Associated with each NP is a 120-Mbyte hard disk drive and a 3.5-inch floppy disk drive. The NP and the disk assembly are connected by a ribbon cable. See "Disk Assembly" section for more information on the disk assembly.

Figure 2-10 shows front, rear, and component side views of the NP.

Figure 2-10 : NP card.

h3213.gif


Major Functions of the NP

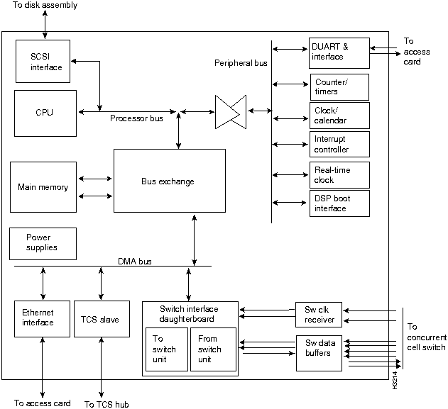
The Network Processor (NP) is a single-card microcomputer with an interface to the concurrent cell switch. Each NP uses a Motorola 68040 CPU and has 32 Mbytes of DRAM. In addition, the NP has an Ethernet interface to carry network management traffic to and from a network management station or other LightStream nodes, and a SCSI interface for the NP's local hard disk and floppy drive. The NP also has a battery-backed clock/calendar, several counter/timers for performance measurements and event logging, and a TCS slave. Figure 2-11 is a functional block diagram of an NP.

The components in Figure 2-11 are described below.


Note In Release 1, NPs had 16 Mbytes of memory. 16-Mbyte NPs are not capable of running Release 2 software. If you have Release 1 NPs in your network, you must upgrade them before installing Release 2.0.

Figure 2-11 : High-level block diagram of the NP.

h3214.gif


Redundancy

A LightStream node's optional second NP card serves as a backup. The two cards are configured exactly alike. One NP operates as primary while the other is available as a hot spare. When a failure is detected in the primary NP or in its associated disk assembly, switchover to the backup card happens automatically.


Physical Description

NPs measure 14.4 in. (36.6 cm.) high by 11 in. (27.9 cm.) deep, as shown in Figure 2-10.

Signals are carried from the NP to both the switch card and the NP access card by three 96-pin DIN connectors on the midplane, the NP itself, and the access card.

The LEDs on the NP are described in Table 2-5.

There is a recessed reset push-button on the card's front bulk-head. Pressing it causes a full reset of the card.


Note The reset button does not bring the NP down gracefully. Particularly in a system that's operating in an active network, you should reboot the NP to bring it down gracefully, as described in "Performing an Orderly Shutdown" section of this manual.


Disk Assembly

Associated with each NP in a LightStream chassis is a disk assembly (see Figure 2-12). The disk assembly is an FRU; it includes a 120-Mbyte hard disk drive, a 3.5-inch floppy disk drive, and a power supply.

The hard disk stores the node's system and application software, hardware diagnostics, and local configuration files.

The lower disk assembly is connected to the NP in slot 1; the upper disk assembly, if present, is connected to the NP in slot 2.

Figure 2-12 : Front and rear views of a disk assembly.

h3215.gif


Line Cards

For communicating with other systems, the LightStream 2020 uses four types of line cards:

  • The low-speed line card (LSC), which

    • runs at speeds from 56 Kbps to 3.584 Mbps (6 Mbps aggregate)

    • supports up to 8 ports, in conjunction with the low-speed access card and interface-specific fantail devices

    • can be used for both edge and trunk interfaces

    • supports V.35, RS-449 and X.21 physical interfaces

  • The medium-speed line card (MSC), which

    • runs at T3/E3 speeds

    • supports up to 2 ports in conjunction with a T3 or E3 access card

    • can be used for both edge and trunk interfaces

  • The packet line card (PLC), which

    • runs at over 100 Mbps (aggregate)

    • supports up to 8 ports in conjunction with an Ethernet access card, or 2 ports in conjunction with an FDDI access card

    • can be used for edge interfaces

  • The cell line card (CLC), which

    • runs at over 357K cells per second (aggregate)

    • supports up to 2 ports in conjunction with an OC-3c access card

    • can be used for both edge and trunk interfaces

Each line card is an FRU.


General Description

Line cards allow LightStream systems to connect to various other networks and systems, including local area networks (LANs), wide area networks (WANs), metropolitan area networks (MANs), directly connected hosts, and other LightStream systems.

Line cards can be divided into two categories:

  • Trunk cards, which handle trunk lines. A trunk line connects two LightStream nodes and carries only cells. LSCs support trunk speeds up to 2 Mbps. MSCs support trunk speeds up to T3/E3 (45 Mbps/34 Mbps). CLCs support trunk speeds up to OC-3c (155.52 Mbps).

  • Edge cards, which act as gateways to the world outside the LightStream network and handle packet traffic from another network or host to a LightStream network. Low-speed edge cards support frame relay and frame forwarding connections; medium-speed and cell edge cards support ATM UNI connections; and packet cards support Ethernet and FDDI connections.

In Release 2.0, packet line cards support only edge interfaces. Otherwise, you can configure any line card to be either a trunk or an edge card.


Line Card Tasks

A line card reformats each incoming unit of data as needed, makes the necessary low level routing and congestion avoidance decisions, and forwards the data toward its destination. For each outgoing unit of data, a line card checks for errors, queues the data for transmission through the appropriate interface port, supplies the buffering needed to match the rate between the concurrent cell switch and the interface port, and handles congestion events. Edge cards that handle packets or continuous data streams must also segment incoming data into cells and reassemble outgoing cells into the format required by the external interface.

Since line cards must be capable of handling high data rates and the processing requirements are relatively simple, all routine packet and cell forwarding operations are handled by hardware and firmware. Each line card also includes a line card control processor that handles the more complex tasks that must be executed in a few tens of milliseconds or less. The line card control processor acts as an agent for the NP when an NP needs to query or change the state of a line card. To gather statistics from a line card, for example, an NP sends a message to the line card control processor, and the line card control processor reads the appropriate hardware registers and returns a result to the NP.

Low-speed and packet edge cards accept packets from up to eight lines, chop them into cells, and inject the resulting stream of cells into the switch. In addition, they receive cells from the switch, repackage the data as packets, and send them out of the network. Edge LSCs and edge PLCs also enforce LightStream's backward congestion control scheme by discarding traffic on channels that send faster than their committed and excess rates allow. The cards smooth all datagram traffic that is injected into the switch. Isochronous traffic is injected into the switch on a fixed schedule, to avoid statistical effects that result in unpredictable delays.

Medium-speed edge cards accept ATM cells from up to two T3 or E3 lines, update the cell headers, and forward them to the switch. They send cells received from the switch out of the network. MS cards do not enforce traffic shaping.

Cell edge cards accept ATM cells from up to two OC-3c lines, update the cell headers, and forward them to the switch. They send cells received from the switch out of the network.

Trunk cards of all types accept LightStream cells from one to 15 trunk lines and replace their headers with new values for the next hop. The cells are then injected into the switch. Trunk cards also receive cells from the switch and send them on to the lines with no ATM header field replacement.


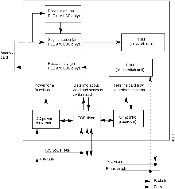
Major Functions of the Line Card

A LightStream line card has two major logical portions: a line- specific portion and a generic portion. See Figure 2-13.

The line-specific portion attaches to the external media or system and performs the functions required by that system.

Figure 2-13 : High-level block diagram of a line card.

h3216.gif

The generic portions of line-card logic perform functions that occur regardless of the line type. These are the functions that pertain to transferring packets through the LightStream network. These functions are summarized below.

  • Recognition: Scans the header portion of each incoming packet and uses the results to determine the virtual circuit on which the packet is to be sent.

  • Segmentation: Converts a stream of incoming packets or frames into a stream of cells, using ATM Adaptation Layer 5. The segmenter also performs low-level rate enforcement operations and various packet header processing operations when required.

  • To Switch Unit (TSU): Accepts cells from the segmenter, appends switch routing information, and sends them to the switch.

  • From Switch Unit (FSU): Accepts cells from the switch, verifies the switch checksums, and passes them on to the reassembler for further processing. The FSU also handles the buffering needs for reassembly on packet-oriented line cards and selectively drops cells when congestion occurs.

  • Reassembler: Accepts cells from the FSU, reassembles them into packets, and forwards the packets to the line-specific section of the card. The reassembler handles various packet header processing operations when needed.

  • Control Processor: Includes a single-chip microprocessor that handles non-time-critical operations, such as maintaining the tables used by the recognizer.

  • DC/DC Converter: Connects to the 48-volt bulk power supply rail and generates the voltages needed locally on the board.


Note Because MSCs and CLCs deal only with ATM cells, they do not contain the Segmentation and Reassembly blocks. MSCs also lack Recognition blocks, while CLCs have simple Recognition logic for parsing cell headers.

Each line card also has a TCS slave, which provides initialization and bootstrap for the line card. It performs local monitoring and power control functions required to support the mission critical features of the LightStream node. The TCS slave communicates with the TCS hub through the midplane.


Physical Description

All line cards measure 14.4 in. (36.6 cm.) high by 11 in. (27.9 cm.) deep. (See Figure 2-14 and Figure 2-15.)

Signals are carried from the line cards to both the switch card and the access cards for the NP by three 96-pin DIN connectors on the midplane, the line card, and the access card. The center connector connects the line card to the switch card and the upper and lower connectors connect the line card to the access card.

Refer to Table 2-6 and Table 2-7 for descriptions of the LEDs on the line cards.

There is a recessed reset push-button on each line card's front bulkhead. Pressing it causes the TCS to reset the line card.


Low-Speed Line Card

This section describes low-speed line cards. See Figure 2-14 for an illustration.


LS Edge Card

A low-speed line card configured as an edge card provides eight full-duplex serial lines. The card supports frame forwarding and frame relay interfaces, and a single card can have any mix of frame relay and frame forwarding ports. Physical line interfaces include V.35, X.21 and RS-449. Each port on a low-speed card can operate at speeds up to 3.584 Mbps, although the ports are limited to a maximum aggregate speed of 6 Mbps per line card (regardless of where clock is sourced).

The LS edge card is capable of providing clock in DCE mode. The card can source clock at the following speeds: 56K, 64K, 128K, 192K, 256K, 384K, 448K, 512K, 768K, 896K, 1.344M, 1.536M, 1.792M, 2.688M, 3.584M, 4.000M, and 5.376M.

Each LS edge card requires a low-speed access card. Separate fantails provide V.35, RS-449, or X.21 interfaces.

Figure 2-14 : Low-speed line card.

h3217.gif


External DSU/CSU for the LS Line Card

Access to T1 (DS1) or E1 lines is accomplished through the use of external data service units and channel service units (DSU/CSUs) connected to LightStream fantails over V.35, RS-449 or X.21 serial interfaces. DSU/CSUs are used primarily for long-distance connections with leased lines. A DSU/CSU is not generally necessary for connection to a device in the same building. It is the responsibility of the customer to provide DSU/CSUs; they are not available from LightStream Corp.

Support of fractional T1/E1 services is provided by allowing line speed settings in selected increments of 56 Kbps and 64 Kbps up to a maximum of T1 and E1 rates supported by the external DSU/CSU.

Each line on the LS line card includes a separate interface to control the external DSU/CSU. The interface allows setting loopbacks and carrier channel access configuration in the case of fractional T1. In addition, the interface is used to query traffic and error statistics as well as alarm conditions for local and remote carrier equipment. The control interface is supported by 9-pin male connectors for each port on the V.35 and RS-449 fantails. (X.21 lines do not require DSU/CSU control ports.)


LS Trunk Card

The LSC configured as a trunk card uses the same hardware as the LS edge card, but different software. The number of ports, physical interfaces, line speeds, external DSU/CSU control ports, and access cards are identical to those for the LS edge card. Instead of handling frame relay and frame forwarding traffic, the LS trunk card carries ATM cells embedded in HDLC frames.


Medium-Speed Line Card

This section describes medium-speed line cards. See Figure 2-15 for an illustration.

Figure 2-15 : Medium-speed line card.

h3573.gif


MS Trunk Card

The MSC configured as a trunk card provides two full duplex lines, each of which can operate at DS3/T3 (45 Mbps) or E3 (34 Mbps) speeds in each direction. ATM cells are carried over these lines.

A single access card for each MS trunk card supports two ports. (No fantails are needed for MS trunk ports.) Three MS access cards are available; one supports DS3/T3 lines and the other two support E3 lines.


MS Edge Card

The MSC configured as an edge card uses the same hardware as the MS trunk card, described above, but uses different software. The number of ports, physical interfaces, VCCs, line speeds, and access cards are identical to those for the MS trunk card. Instead of handling ATM cell traffic between LightStream nodes, the MS edge card handles ATM UNI traffic between the LightStream network and other ATM devices.


Packet Line Card

The packet line card (PLC) supports up to 8 full duplex ports with over 100 Mbps of continuous aggregate packet bandwidth. (For future expansion, the card is designed to support up to 15 ports.)

The PLC supports the following access cards:

  • Ethernet access card (EAC)---up to 8 ports

  • FDDI access card (FAC)---up to 2 ports

In Release 2.0, the PLC supports only edge interfaces.

The PLC's control processor is a 25 MHz Motorola 68EC030 microprocessor. Associated with the control processor are 4 Mbytes of DRAM and 1 Mbyte of Flash EPROM that stores bootstrap and POST code.

The PLC supports internetworking functions on the LightStream switch. An important mechanism in this area is the PLC's ability to set up virtual circuits (VCs) on the fly when it encounters streams of traffic not associated with previously known VCs. The PLC's from-line unit (FLU) attempts to recognize incoming traffic as belonging to an established VC. When no match is detected, it buffers the incoming packets of unrecognized traffic and sends the NP the information it needs to set up the VC. Once the setup is complete, the FLU will recognize any subsequent packets for this flow and packet processing proceeds as usual.

The packet line card is shown in Figure 2-16.

Figure 2-16 : Packet line card.

h3218.gif


Cell Line Card

The cell line card (CLC) supports up to 2 full duplex ports with over 357K cells per second aggregate bandwidth and can handle bursts up to 893K cells per second. (For future expansion, the card is designed to support up to 15 ports.)

The CLC supports the OC-3c access cards. It supports both trunk and edge interfaces; it can support either one trunk port or two edge ports.

The CLC's control processor is a 25 MHz Motorola 68EC030 microprocessor. Associated with the control processor are 4 Mbytes of DRAM and 1 Mbyte of Flash EPROM that stores bootstrap and POST code.

The cell line card is shown in Figure 2-17.

Figure 2-17 : Cell line card.

h3219.gif


Access Cards

A LightStream chassis contains one access card per function card. The access cards, which are FRUs, provide the physical interface to which other devices can be connected. Access cards are accessible from the rear of the chassis. Each access card connects to its function card through the midplane.

If you remove or power down an access card, service is disrupted on the associated function card.

Table 2-1 lists the access cards and shows which function card is required for each one.

Table 2-1 : Access Cards and Corresponding Function Cards

Access Card Function Card
LSAC (V.35/RS-449/X.21) LSC
MSAC T3 MSC
MSAC E3 G.804 MSC
MSAC E3 PLCP MSC
Ethernet PLC
FDDI PLC
OC-3c (single mode & multimode versions) CLC
NPAC NP

(In addition, console/modem cable assemblies provide connectors for each switch card.)

Each access card measures 14.4 in. (36.6 cm.) high by 7 in. (17.9 cm.) deep.


Low-Speed Access Card

The V.35/RS-449/X.21 low-speed access card (LSAC) operates in conjunction with the low-speed line card. It can support up to eight I/O ports. To accommodate those ports, the card has two 100-pin connectors. These connectors can be attached to interface-specific fantails (V.35, RS-449, or X.21) that hold the connectors for the I/O ports. (See "Fantails" section for more information on fantails.)

In conjunction with external DSU/CSUs, low-speed access card ports can be connected to DS1 (T1) or E1 lines.

The low-speed access card has a group of user-settable jumpers that allow you to select the card's interface type (V.35 or RS-449/X.21). For instructions on setting the interface jumpers, see "Setting Interface Jumpers on the LS Access Card" section.

Figure 2-18 shows front, rear and component side views of the low-speed access card.

Figure 2-18 : LS access card.

h3221.gif


T3 Access Card

T3 medium-speed access cards (which are labeled MSAC) operate in conjunction with medium-speed line cards. T3 access cards support up to two ports each. Each T3 access card has four 75-ohm BNC coaxial jacks that provide DS3-compliant connections. Each port consists of two connectors: one for the receive channel and one for the transmit channel.

The LEDs on the T3 access card are described on Table 2-10.

Each access card contains internal DSU/CSUs that can connect directly to a leased T3 line. T3 access card ports can also connect LightStream nodes directly at distances up to 900 feet (274 meters).

Figure 2-19 shows front, rear and component side views of the T3 access card.

Figure 2-19 : MS T3 access card.

h3223.gif


E3 Access Cards

E3 medium-speed access cards (which are labeled MSAC) operate in conjunction with medium-speed line cards. E3 access cards support up to two ports each. Each E3 access card has four 75-ohm BNC coaxial jacks that provide G.703-compliant connections. Each port consists of two connectors: one for the receive channel and one for the transmit channel. The LEDs on the E3 access card are described in Table 2-10.

Each access card contains internal DSU/CSUs that can connect directly to an E3 line. E3 access card ports can also connect LightStream nodes directly at distances up to 1900 feet (579 meters).

Two versions of the E3 access card are offered to support different methods of framing:

  • G.804

  • PLCP

Figure 2-20 shows front, rear and component side views of the E3 access card.

Figure 2-20 : MS E3 access card.


Ethernet Access Card

The Ethernet access card (EAC) operates in conjunction with a packet line card. Each Ethernet access card supports up to eight IEEE 802.3 Ethernet ports. The ports are of two types:

  • Six ports support 10Base-T twisted pair Ethernet.

  • Two ports support any of the following:

    • 10Base-T twisted pair Ethernet (via RJ-45 sockets)

    • 10Base5 (thick wire) Ethernet (via DB-15 AUI ports)

    • 10Base2 (thin wire) Ethernet (via DB-15 AUI ports)

Although it supports eight ports, the access card has 10 I/O connectors. Ports 1 through 6 are female RJ-45 connectors that support twisted pair only. Ports 0 and 7 each have two connectors: one female RJ-45 for twisted pair connections and one female DB-15 for AUI (attachment unit interface) connections. Only one of the two connectors for each port may be used at a time.

A line attached to a twisted pair port on the EAC must be connected to a 10Base-T hub or concentrator. As shown in Figure 2-21, a line attached to an AUI port must be connected to a 10Base2 or 10Base5 transceiver, or medium attachment unit (MAU). The EAC's LEDs are described in Table 2-11. Figure 2-22 shows front, rear and component side views of the card.

Figure 2-21 : 10Base-T cables connect directly to the EAC, while 10Base5 and 10Base2 connect via transceivers.

h3226.gif

Figure 2-22 : Ethernet access card.

h3227.gif


FDDI Access Card

The FDDI access card (FAC) operates in conjunction with a packet line card. It allows the LightStream 2020 to connect to any network compliant with the ANSI standards for FDDI.

Figure 2-23 shows front, rear and component side views of the FDDI access card. The LEDs on the FDDI access card are described in Table 2-12.


Ports

Each FDDI access card supports two multimode FDDI ports. Each port supports a single-MAC station that can function in either dual-attached mode or dual-homed mode. The station management task (SMT) facility adheres to SMT version 7.3 as defined in ANSI X3T9.5.

Each port consists of two media interface connectors (MIC), keyed and labelled as MIC A and MIC B. In addition, one 6-pin DIN connector per port is provided for an optional optical bypass cable. This connector lets you attach an external optical bypass relay to provide additional fault tolerance in the dual ring. The FAC senses the presence of the optical bypass relay and switches it in or out at the appropriate times.


Signal Attenuation

The power loss budget for LightStream FDDI connections is 11 dB. Higher loss, which could result from passing the signal through overly long cables or through too many connectors, may cause signal attenuation and data loss.


Port Covers

We recommend that you attach a protective cover to any FDDI port that will be unconnected for more than a brief period. (Covers are shipped with each FDDI card.) The cover protects the optical media from dust and damage, which can cause signal attenuation and data errors.


Content-Addressable Memory

The FAC has two CAM (content-addressable memory) chips that filter out incoming packets that are addressed to stations on the same FDDI ring as the LightStream FDDI interface (and hence do not need to be bridged). The CAMs relieve the packet line card of much of the filtering load.

Figure 2-23 : FDDI access card.

h3230.gif


OC-3c Access Cards

OC-3c access cards operate in conjunction with cell line cards. Four versions of the OC-3c access card are available, with the options shown in Table 2-2. The cards are labelled OC3AC MM (for multimode) or OC3AC SM (for single mode). All versions of the card operate at a wavelength of 1300 nanometers.

Table 2-2 : OC-3c Access Card Options

No.of ports Fiber Type Connector Type Transmit Power Receive Power
2 Single mode ST -15/-8 dBm -34/-7 dBm
2 Multimode Duplex SC -20/-14 dBm -30/-14 dBm
1 Single mode ST -15/-8 dBm -34/-7 dBm
1 Multimode Duplex SC -20/-14 dBm -30/-14 dBm

A one-port OC-3c access card can run at full duplex at full line speed. A two-port card handles cells as fast as the switch card can deliver and receive them. The maximum sustained rate is about 1.1 OC-3c's total. Both ports can simultaneously receive bursts at full OC-3c speed, but the TSU cell buffers eventually fill, and TSU flow control forces the card to drop cells at the receive ports.

Figure 2-24 and Figure 2-25 show 2-port multimode and single mode OC-3c access cards, respectively. The LEDs on OC-3c access cards are described on Table 2-13.


Signal Attenuation

The power loss budgets for OC-3c connections are as follows:

  • Single mode: 0 - 12 dB, with a margin of 7 dB

  • Multimode: 0 - 9 dB, with a margin of 1 dB

Higher loss, which could result from passing the signal through overly long cables or through too many connectors, may cause signal attenuation and data loss.

Figure 2-24 : OC-3c multimode access card.

h3233.gif

Figure 2-25 : OC-3c single mode access card front bulkhead.

h3574.gif


Single-Mode Transmit Lasers

Each port on the single mode version of the OC-3c access card has a toggle switch and a green LED labelled Safe. The switch enables and disables the port's transmit laser, which can cause eye damage if left enabled when the port is unconnected. See "Turning Off the Transmit Laser on the OC-3c Access Card" section if you need instructions on turning the transmit laser on or off.

fig_7.gif Warning Do not look directly into the connectors on a single mode OC-3c access card whose Safe LED is turned off. The transmit laser can damage your eyes.

(Multimode ports are not dangerous, and therefore do not have disable switches.)


Port Covers

We recommend that you attach a protective cover to any OC-3c port that will be unconnected for more than a brief period. (Covers are shipped with each OC-3c card.) The cover protects the optical media from dust and damage, which can cause signal attenuation and data errors.


NP Access Card

The NP access card supports one Ethernet port and a pair of serial ports. The Ethernet port can be used to connect the NP to an Ethernet for purposes of managing the LightStream system. The two serial ports are used for module testing and debugging.

Figure 2-26 shows front, rear and component side views of the NP access card.

Figure 2-26 : NP access card.

h3234.gif


Fantails

Each low-speed interface module (line card/access card pair) supports up to eight ports. The necessary connectors are provided by fantail devices, shown in Figure 2-27. Fantails, which are FRUs, provide connectors for four to eight ports each. Up to two fantails per low-speed interface module may be required.

Three types of fantail are available:

  • The V.35 fantail has four V.35 DTE ports.

  • The RS-449 fantail has four RS-449 DTE ports.

  • The X.21 fantail has eight X.21 ports. Switches on the fantail can set each port to either DTE or DCE.

LightStream fantails measure 1.75 in. (1 rack unit, or 4.5 cm.) high by 19 in. (48.3 cm.) wide, and weigh 2 lb. (0.9 kg.). They are designed to fit standard 19-inch equipment racks.


Fantail Cables

Special 100-pin cables, supplied by LightStream Corp., are used to connect fantails to low-speed access cards (LSACs). To connect a V.35 or RS-449 fantail to its access card, one cable is required. To connect an X.21 fantail to its LSAC, you can use one or two cables, depending on the number of ports you wish to use. Each of the connectors on the back of the X.21 fantail (see Figure 2-27) serves four ports on the front of the fantail. (The connector on the left serves ports 0 - 3; the connector on the right serves ports 4 - 7.) If you wish to use up to four ports on the X.21 fantail, you can connect it to the LSAC with a single cable. If you wish to use 5 or more ports, you must use two cables.


DSU/CSU Control Ports

In addition to the four port connectors, each V.35 and RS-449 fantail has four 9-pin male D-type RS-232 connectors for DSU/CSU control ports (also known as craft ports). (X.21 fantails do not have DSU/CSU connectors.) If a port's DSU/CSU control port is connected to an external DSU/CSU device, you can use the csumon utility to set up and monitor the DSU/CSU from the LightStream 2020. See the LightStream 2020 Operations Guide for more information on csumon.


X.21 Ports

Using switches on the X.21 fantail, each X.21 port can be set to either DTE or DCE. The connectors on the fantail are female, the standard for DCE. If you set an X.21 port to be a DTE, you must attach a 15-pin male-to-male gender converter to change the connector on the fantail from female to male.

The X.21 cable available from LightStream can be used for both DTE and DCE X.21 ports. See the LightStream 2020 Site Planning and Cabling Guide for information on cables.

Figure 2-27 : LightStream fantails.

h3237.gif

Figure 2-28 shows how fantails connect to the LS access card.

Figure 2-28 : Connections from the LS access card to a V.35 fantail and an RS-449 fantail. For X.21 (not shown), two cables connect a single 8-port fantail to the LSAC.

fig_24.gif


Card LEDs

There are a number of LEDs on the bulkheads of many cards in a LightStream switch. They serve several purposes:

  • LEDs indicate that basic power is available to the card.

  • LEDs guide you to a broken card, or to one that has failed its diagnostics.

  • LEDs give an informal indication that some traffic is flowing through the node.

  • LEDs indicate the status of parts of the TCS that cannot be obtained via the TCS itself. For example, LEDs indicate which TCS hub is primary. (Problems with TCS hub switchover cannot be diagnosed from the TCS itself.)

The switch card, NP and line card LEDs are visible from the front of the LightStream chassis. The LEDs on the access cards are visible from the rear of the chassis.


Fault LEDs

The fault (FLT) LED on a line card, NP, or switch card may turn on for several reasons, which are described in the Table 2-3 below.

Table 2-3 : Causes of Lit Fault LEDs

Cause of Lit FLT LED Confirming the Cause What to Do About It
Card's POST failed Use show tcs <slot#> command in CLI. If POST field says Failed, see column at right. See "Hardware Troubleshooting" section for instructions on running diagnostics on the card. (You may want to bring up the rest of the system first.)
Card's temperature is out of normal range Use show tcs <slot#> command in CLI. Current temperature readings and maximums are listed in Slot State section of display, near bottom. If temp reading exceeds warning or shutdown temp, see column at right. Check blowers (see "Troubleshooting Blowers" section) and make sure air flow into, through and away from chassis is unrestricted. Note that leaving chassis open can cause temp problems. To ensure proper air flow, make sure all components, cards, and bulkhead filler panels are firmly screwed in place.
Card's voltage is out of normal range Use show tcs <slot#> command in CLI. Voltage readings are listed in Slot Voltage section of display, near bottom. If any voltage is outside the listed normal range, see column at right. Call your support representative for instructions on margining the voltage.
Card's application is disabled Use show tcs <slot#> command in CLI. If Application field says Disabled, see column at right. Use the CLI command set card <slot#> active to enable the card.
Function card and access card in this slot are not compatible Check cards in slot at front and rear for mismatches. (Mismatched cards also fail to power up.) Ensure that function card and access card in each slot are compatible. Refer to Table 2-1 for compatibility.
Function card's flash EEPROM is being loaded Wait 7 to 8 minutes. When flash load is complete, FLT LED goes off.


LED Descriptions

This section describes the LEDs on all LightStream cards.

Table 2-4 : LEDs on the Switch Card

Name Color Description
FLT
(fault)
Yellow Blinks to indicate that POST is running. Turned on by power-on reset, turned off when POST passes. Shines steadily to signal a problem.
RDY
(ready)
Green Controlled by the TCS hub. Blinks while POST runs. When tests complete and are passed, light stays on continuously. LED is turned off by power-on reset. The READY light indicates that TCS is ready to use either hub as the primary hub, or to take over from the primary in case of failure. This LED remains lit if one port is having a problem, as long as the overall functionality of the board is intact.
TCS Green Illuminates when TCS hub has power.
VCC (power) Green Illuminates when the board has power.
TCS SEL Green Indicates that the TCS hub on this card is primary. Console output is directed to the SWC with this LED lit.
BITS OK Green To be implemented in a future release.

Table 2-5 : LEDs on the NP

Name Color Description
FLT
(fault)
Yellow Blinks to indicate that POST is running. Turned on by power-on reset, turned off when POST passes. Shines steadily to signal a problem.
RDY
(ready)
Green Controlled by the TCS slave. Blinks while POST runs. When tests complete and are passed, the light stays on continuously. Turned off by power-on reset.
VCC (power) Green Illuminates when main 5 volt supply on the card is turned on.
TCS Green Illuminates when the 5 volt TCS power supply on the card is active. Should be lit whenever the bulk power supply is turned on.
A Green Illuminates when the active TCS hub is on the switch card in slot A.
B Green Illuminates when the active TCS hub is on the switch card in slot B.
TX Green Illuminates when the TSU is sending a non-null cell.
RX Green Illuminates when the FSU is receiving a non-null cell.

Table 2-6 : LEDs on the Low-Speed Line Card

Name Color Description
FLT
(fault)
Yellow Blinks to indicate that POST is running. Turned on by power-on reset, turned off when POST passes. Shines steadily to signal a problem.
RDY
(ready)
Green Blinks while POST runs and illuminates continuously when POST completes and passes. Turned off by power-on reset.
VCC
(power)
Green Illuminates when the card's main 5V supply is within normal levels.
TCS Green Illuminates when the 5V TCS supply is within normal levels.
A Green Illuminates when the active TCS hub is on the switch card in slot A.
B Green Illuminates when the active TCS hub is on the switch card in slot B.
TX Green Illuminates when the TSU is sending a non-null cell.
RX Green Illuminates when the FSU is receiving a non-null cell.
0 - 7 Green Indicates that the port indicated is active.

Table 2-7 : LEDs on the Medium-Speed Line Card

Name Color Description
FLT
(fault)
Yellow Blinks to indicate that POST is running. Turned on by power-on reset, turned off when POST passes. Shines steadily to signal a problem.
RDY
(ready)
Green Blinks while POST runs and illuminates continuously when POST completes and passes. Turned off by power-on reset.
VCC
(power)
Green Illuminates when the card's main 5V supply is within normal levels.
TCS Green Illuminates when the 5V TCS supply is within normal levels.
A Green Illuminates when the active TCS hub is on the switch card in slot A.
B Green Illuminates when the active TCS hub is on the switch card in slot B.
TX Green Illuminates when the TSU is sending a non-null cell.
RX Green Illuminates when the FSU is receiving a non-null cell.
0, 1 Green Indicates that the port indicated is active.

Table 2-8 : LEDs on the Packet Line Card

Name Color Description
FLT
(fault)
Yellow Blinks to indicate that POST is running. Turned on by power-on reset, turned off when POST passes. Shines steadily to signal a problem.
RDY
(ready)
Green Blinks while POST runs and illuminates continuously when POST completes and passes. Turned off by power-on reset.
VCC
(power)
Green Illuminates when the card's main 5V supply is within normal levels.
TCS Green Illuminates when the 5V TCS supply is within normal levels.
A Green Illuminates when the active TCS hub is on the switch card in slot A.
B Green Illuminates when the active TCS hub is on the switch card in slot B.
TX Green Illuminates when the TSU is sending a non-null cell.
RX Green Illuminates when the FSU is receiving a non-null cell.
LN FLT
(line fault)
Yellow Illuminates when at least one configured port is not functioning properly. If a port's administrative and operational status is up, but no cable is connected, this LED goes on.
LNS OK
(lines OK)
Green Illuminates when at least one configured port is functioning properly. Goes off if all ports' administrative/operational statuses are down, or if all active ports have errors or missing cables.

Table 2-9 : LEDs on the Cell Line Card

Name Color Description
FLT
(fault)
Yellow Blinks to indicate that POST is running. Turned on by power-on reset, turned off when POST passes. Shines steadily to signal a problem.
RDY
(ready)
Green Blinks while POST runs and illuminates continuously when POST completes and passes. Turned off by power-on reset.
VCC
(power)
Green Illuminates when the card's main 5V supply is within normal levels.
TCS Green Illuminates when the 5V TCS supply is within normal levels.
A Green Illuminates when the active TCS hub is on the switch card in slot A.
B Green Illuminates when the active TCS hub is on the switch card in slot B.
TX Green Illuminates when the TSU is sending a non-null cell.
RX Green Illuminates when the FSU is receiving a non-null cell.
LN FLT
(line fault)
Yellow Illuminates when at least one configured port is not functioning properly. If a port's administrative and operational status is up, but no cable is connected, this LED goes on.
LNS OK
(lines OK)
Green Illuminates when at least one configured port is functioning properly. Goes off if all ports' administrative/operational statuses are down, or if all active ports have errors or missing cables.

Table 2-10 : LEDs on the Medium-Speed Access Cards (T3 and E3)

Name Color Description
RXC
(receive clock)
Green Illuminates when a DS3 transmitter is present at the other end of the connection. Goes out to indicate that clock is not being received.
OOF
(out of frame)
Yellow Illuminates when the DS3 transmitter at the other end of the connection is not sending framing pulses.
FERF
(far end receive failure)
Yellow Illuminates when the DS3 transmitter at the other end of the connection is not receiving framing pulses from this port.
AIS
(alarm indication signal)
Yellow Illuminates when a device between this port and the remote end of the connection is not receiving framing pulses from the remote end.

Table 2-11 : LEDs on the Ethernet Access Card

Name Color Description
0 - 7
(port LEDs)
Green Illuminates when the port indicated is receiving or transmitting packets.
FLT
(fault)
Yellow This LED echoes the behavior of the LN FLT (line fault) LED on the PLC in the same slot.
VCC
(power)
Green Illuminates when the card's main 5V supply is within normal levels.

Table 2-12 : LEDs on the FDDI Access Card

Name Color Description
FLT
(fault)
Yellow This LED echoes the behavior of the LN FLT (line fault) LED on the PLC in the same slot.
VCC
(power)
Green Illuminates when the card's main 5V supply is within normal levels.
0A, 0B, 1A, 1B
(port LEDs)
Green Illuminates when the port indicated is ready to transmit or receive data.

Table 2-13 : LEDs on the OC-3C Access Cards (SM and MM)

Name Color Description
SD
(signal detect)
Green Illuminates when an incoming signal is detected on the port indicated. If this LED goes out, it may indicate either a loose cable or a fault in the remote device.
OOF
(out of frame)
Yellow Illuminates when the device at the other end of the connection is not sending framing pulses.
FERF
(far end receive failure)
Yellow Illuminates when the device at the other end of the connection is not receiving framing pulses from this port.
AIS
(alarm indication signal)
Yellow Illuminates when a device between this port and the remote end of the connection is not receiving framing pulses from the remote end.
Safe
(Single mode cards only)
Green Illuminates when the transmit laser on the port is shut off, so there is no danger in looking at the connectors.


Test and Control System

Most communications between components (cards) within a LightStream node involve the passing of messages through the concurrent cell switch. However, there are some LightStream functions that cannot be performed through the switch, including initialization, low-level control, and nondisruptive servicing (diagnostics and maintenance). LightStream has an integrated Test and Control System (TCS) to perform these functions.

The TCS provides diagnostic and control functions that

  • Are resilient to system and network failures

  • Are non-disruptive to system operation

  • Can be available even if other parts of the LightStream node are down

To meet these needs, the TCS consists of a single-chip microcomputer on every line card, NP, and switch card in the LightStream node. The microcomputer on line cards and NPs is called a TCS slave: the microcomputer on the switch card is called a TCS hub. Each slave is connected to one hub (or in systems with redundant switch cards, two hubs) by a point-to-point serial link. Messages can flow from slave to hub, from hub to slave, or from slave to slave (using the hub as an intermediary).

Each TCS microcomputer (hub or slaves) stores a copy of its card's vital statistics (for example, serial number, card type), and data needed to initialize and run the card. The job of each TCS chip is to manage the low-level functionality of its card. It supervises such functions as power supply sequencing, logic reset, soft logic loading, loading and monitoring of power-on self tests, and application program loading and startup. It also provides on/off control and voltage margining of the on-card DC-DC converters, handles updates to the card's EEPROM memory, and monitors air temperature.

The TCS provides access to each card in the system for diagnostics and maintenance operations via a local or remote console connection. When a card has been newly installed, for example, you can load and run diagnostics on the card without disturbing the rest of the system.


Cooling

The LightStream chassis takes in cooling air from the front. The air is drawn up through the chassis and is exhausted from the back and the right side by blower units like the one shown in Figure 2-29.

There are two blowers in each LightStream system, located at the top of the chassis. One blower is accessible from the front and the other is accessible from the rear. Each blower is an FRU. During normal operation, both blowers should be running. If one blower fails, the system can continue to operate; however, the failed blower should be replaced as soon as possible.

Each blower has a green LED that illuminates to indicate that the impeller is spinning at a rate of at least 1500 rotations per minute. On the rear blower, the LED is visible through the blower cover. You must remove the blower cover to see the LED on the front blower.

The blowers have two speeds, and normally run at low speed. They run at high speed for 90 seconds after the system is first powered on, and then slow down. The decrease in speed is audible to anyone standing near the chassis.

Figure 2-29 : Front and rear views of a LightStream blower.

h3239.gif

In addition to the main air flow through the LightStream chassis, each bulk power tray in an AC-powered system contains its own fans.

The cooling system operates properly only when all cards, bulkheads, filler panels, covers, and components are in place. Removing these items disrupts the flow of air through the chassis. As a result, components may be shut down due to overheating.


Power Options

In a LightStream switch, a bulk power tray unit converts power from an external source to bulk DC voltage before distributing DC power to the individual function and switch cards. The nominal voltage of the bulk power unit is 48 volts.

There can be one or two power trays in each LightStream chassis; each power tray is an FRU. If there are two power trays, both are connected to a 48-volt rail so that either tray can drive the entire system.

LightStream systems are available with two power options:

  • AC-powered systems for sites with alternating current (100 to 240 VAC, 50/60 Hz)

  • DC-powered systems for sites with direct current (-48 VDC)

Power trays are accessible from the rear of the chassis; they are located to the right of the access cards. The power tray slots are designated A (on top) and B (on the bottom).

Each card in a LightStream switch converts bulk power to its point-of-use voltages. The power converters on each card are controlled separately by the associated on-card TCS slaves. Each TCS slave can turn its converter on and off and voltage-margin the converter. This arrangement allows for a non-disruptive hot-swap capability and aids in fault diagnosis.

The TCS is powered independently from the rest of the system so that it can control power and run margining tests without impairing its own operation. TCS power is distributed from the switch card to all other cards in the chassis.


AC-Powered Systems

AC power supplies accept input power over a continuous range from 100VAC to 240VAC and from 50 Hz to 60 Hz. No adjustment or configuration is required. An AC power supply is shown in Figure 2-30.

Each power supply has a green LED, visible through the cover from the rear of the chassis, that comes on when the system is powered up.

Each AC-powered LightStream system has a recessed male power inlet that conforms to IEC standard 320 C20; it requires a power cord with an IEC 320 C19 connector. See the LightStream 2020 Site Planning and Cabling Guide for more information on power cords.

Figure 2-30 : Power supply tray for AC-powered systems.

h3240.gif


DC-Powered Systems

DC-powered LightStream systems accept power over a continuous range from -43VDC to -60VDC. No adjustment or configuration is required. Power from an external -48VDC source is brought into the system by the DC power tray. A DC power tray is shown in Figure 2-31.

The green LED on each DC power tray illuminates to indicate the presence of DC power. The LED, which is mounted on the power tray and is visible from the rear of the chassis, is connected after the circuit breaker and before the isolation diodes. This allows the LED to indicate the presence or absence of power individually for each tray, prior to the or-ing of the power feeds.

DC-powered LightStream systems do not use detachable power cords; they must be permanently wired to a DC power source by qualified service personnel. Systems with the optional second power tray can be wired from a dual power feed. (For more information, refer to the procedure Wiring a DC-Powered System on "Wiring a DC-Powered System" section.)

Figure 2-31 : Power input tray for DC-powered systems.

h3241.gif


The Circuit Breaker and Circuit Breaker Alarm

Each DC power tray has a circuit breaker that turns system power on and off; it can be tripped by an electrical event or operated manually.

fig_25.gif Warning To turn off power in a DC system with two power trays, you must set the circuit breakers on both trays to off.

The DC power tray is equipped with a circuit breaker alarm that can optionally be connected to an external device such as a light panel. When the circuit breaker is tripped, the alarm is triggered, notifying you that the system is no longer receiving power through that power tray.

The COM (common), NO (normally open), and NC (normally closed) contacts on the DC power tray provide the alarm signal by indicating whether the circuit breaker is open (off/tripped) or closed (on). Table 2-14 summarizes the possible positions of the contacts.

Table 2-14 : Circuit Breaker Alarm Conditions

Circuit Breaker Position NC Contacts NO Contacts
Off (tripped) Closed Open
On Open Closed
Installing a LightStream Switch

Installing a LightStream Switch

Safety Instructions · Installing the Switch in a Rack · Wiring a DC-Powered System · Installing Fantails · Attaching Data Cables · Closing the Chassis · Powering Up · Basic Configuration · Installing Management Software on a Sun

This chapter provides procedures for unpacking a LightStream 2020 enterprise ATM switch, installing it in an equipment rack, installing fantails and cables, powering up the system, and performing basic configuration. It also tells you how to install LightStream management software on a Sun workstation.

Before starting the procedures in this chapter, do the following:

  • Prepare the system area according to the instructions provided in the LightStream 2020 Site Planning and Cabling Guide.

  • Read the LightStream 2020 Release Notes, which contain important information on installation and operational considerations.


Note For information on installing redundant components in an existing system, see "Installing Redundant Components" section.


Safety Instructions

fig_8.gif Warning LightStream switches are designed and manufactured to meet accepted safety standards. However, improper use can result in electrical shock, fire hazards, and personal injury. Read all of the following instructions carefully before installation and use. Note and adhere to all Cautions and Warnings.


Electrostatic Discharge (ESD) Protection

Static electricity can damage or degrade electronic components. To avoid damage, observe the following precautions when you touch hardware.


Grounding Procedure

Before you expose circuitry, you, the rack, and the circuit boards must be at the same ground potential to prevent damaging ESD. To connect yourself to ground, use a wrist strap connected to one of the system's grounding jacks, or to the bare metal surface of the system frame.


Card Protection

All spare cards are shipped in reusable antistatic shielding bags. When cards are not installed in the machine, keep them in antistatic bags. Do not remove cards from their bags unless you are grounded. Do not place these bags on exposed electrical contacts, where they can cause short circuits.


Unpacking and Inspecting the Hardware

If you haven't done so already, unpack the LightStream switch following the steps below.

Step 1 Before moving the shipping container from your loading dock, inspect it for any signs of in-transit damage.

Step 2 Transfer the container to the systems area.

Step 3 Cut the straps and lift the cardboard box off the chassis. Remove the packing material.

Step 4 Inspect all external surfaces for signs of damage. Pay special attention to any areas where you noticed damage to the shipping container.

Step 5 Document any damage noted during the inspections and notify your LightStream vendor.


Installing the Switch in a Rack

This section explains how to rack mount a LightStream chassis.


Note For physical stability, when a LightStream chassis is installed in a rack, the combination should comply with UL Standard 1950, Par. 4.1.1, and IEC 950, 4.1.1.


Cooling Air and Hardware Placement

A LightStream chassis takes in cooling air through the bottom of the front panel and exhausts it at the top rear and the right side. (The air vents on the right side can safely be covered by the rack side panels, but should not be otherwise blocked.) To minimize thermal problems, position the chassis such that:

  • The LightStream unit's air intake panel is not near other equipment's exhaust.

  • The LightStream unit's exhaust is not near other equipment's air intake.


Required Tools

Have the following items on hand before you begin rack installation:

  • A no. 2 Phillips screwdriver for mounting the chassis in the rack

  • A 5/16-inch slotted-tip screwdriver for removing blowers, power supplies, and boards from the chassis

  • An ESD wrist strap for grounding yourself to the system

  • Antistatic shielding bags or antistatic mats for protecting components removed from the chassis

  • Appropriate material-handling equipment for lifting the LightStream switch into the rack

  • For AC-powered systems: A LightStream Country Power Kit, including a power cord and mounting hardware for the chassis

  • For DC-powered systems: A DC Mounting Kit containing mounting hardware for the chassis, plus equipment needed by the electrician who wires the system (see "Wiring a DC-Powered System" section.)


Rack Installation Procedure

Follow these steps to rack-mount the LightStream chassis:

Step 1 Ensure that the power cord to the system is disconnected (AC-powered systems only).

Step 2 Put on the ESD wrist strap and connect it to a grounding jack. (There are jacks on LightStream's front and rear panels.)

Step 3 To make the chassis lighter, remove the blowers (top front and rear) and power supplies (right rear). Blowers and power supplies are located behind removable covers, shown in Figure 3-1 and Figure 3-2. If your system is fully configured with line cards, you may also want to remove some or all of these cards. Place all removed components in antistatic shielding bags or on antistatic mats.


Note Do not remove disk assemblies to lighten the chassis.

Step 4 Determine the position in the rack that the LightStream switch will occupy. Then attach the clip nuts from your country kit or rack mounting kit to appropriate places on the rack rails. See Figure 3-1 for screw positions. (If your rack has metric-threaded or nonstandard rails, you may need to provide your own mounting hardware.)

Figure 3-1 : Front view of LightStream chassis.

h3700.gif

Step 5 Lift the LightStream chassis into the rack.

fig_9.gif Warning A LightStream system is quite heavy, particularly if it's fully loaded with function cards. (System weights range from 94 to 147 pounds, depending on configuration.) Do not attempt to move the system by yourself. Be careful to avoid harming yourself or the hardware by using unsafe lifting techniques.

fig_27.gif Caution Do not use the handles on the disk assemblies to lift the chassis. These handles, shown in Figure 3-1, are not designed to support the system's weight; they will break off under stress.

Step 6 Using the mounting screws and washers included in your country kit or rack mounting kit, attach the flanges on the front of the chassis to the rack.

Step 7 Replace the blowers, power supplies, boards, and covers that you removed before you lifted the chassis into the rack.

Figure 3-2 : Rear view of an AC-powered LightStream chassis.

h3256.gif


Wiring a DC-Powered System

The procedure in this section explains how to wire a DC-powered LightStream switch to a DC power source. This task should be performed by qualified service personnel or a licensed electrician.

This section applies only to systems with the DC power option. If you have a standard AC-powered system, skip to "Installing Fantails" section.

For more information on DC-powered LightStream systems, see "DC-Powered Systems" section and the LightStream 2020 Site Planning and Cabling Guide.


Preparation

The person who wires the system should have several items on hand:

  • The power connection on the DC power tray is provided by a three-position terminal block, shown in Figure 3-3. The -48, -48RTN, and CHS GND connections that provide -48VDC power to the system require a minimum of #10AWG wire for the 24A-rated load. The terminal block is rated to accept up to #8AWG solid wire. LightStream Corp. recommends the use of ferrules to terminate these wires.

  • The circuit breaker alarm's connection to the DC power tray is provided by a smaller three-position terminal block, also shown in Figure 3-3. The COM, NO, and NC connections that provide the circuit breaker alarm indication should be wired with #22AWG or larger wire. LightStream Corp. recommends the use of #6 spade or ring lug terminals for these connections.

  • In addition to the wires, you need a slot-tip screwdriver for the power terminals and a Phillips screwdriver for the alarm terminals.

Figure 3-3 : Connecting wires to a DC-powered system.

h3702.gif


Wiring Procedure

fig_10.gif Warning This wiring task should be performed only by a licensed electrician or by qualified service personnel. It may expose untrained personnel to hazardous voltages.

Step 1 Ensure that the circuit breaker/power switch on each DC power tray is set to off.

Step 2 Ensure that power to the circuit you will connect to the LightStream system is off.

Step 3 Connect the power wires, using the slot-tipped screwdriver to adjust the terminals. Do not remove the terminal covers at the base of the terminal block.

Step 4 If you plan to connect the alarm circuit, first remove the plastic terminal block cover (see Figure 3-3) and save it.

Step 5 Connect the alarm wires, using the Phillips screwdriver to adjust the terminals.

Step 6 Replace the terminal block cover you removed in step.

Step 7 If the LightStream system has two power trays, repeat this procedure for the second tray.

Step 8 When you turn on the power, check the green power LED on the front of each power tray. If the LED does not light up, check for misconnected wires or problems in your power circuit.


Installing Fantails

This section explains how to mount and connect LightStream fantails (Figure 3-4), which provide connectors for data cables on low-speed (V.35, X.21 and RS-449) lines.

If your system has no low-speed line cards, skip this section and proceed to "Attaching Data Cables."


Required Tools and Equipment

  • Fantails to be installed (provided by LightStream Corp.)

  • If you're installing X.21 fantails and plan to configure the ports as DTEs, you must obtain and install a 15-pin male-to-male gender converter on each port to change the female connector to male. (Gender converters are not required for X.21 ports configured as DCEs.)

  • Fantail cables (provided by LightStream Corp.)

  • Fantail mounting screws, clip nuts, and washers (These are provided by LightStream Corp. with the fantails. However, if your rack has metric-threaded rails, you must provide your own metric screws.)

  • A 5/16-inch slotted-tip screwdriver (provided by you)

  • Adhesive labels for each fantail (provided by you)

  • A grounding wrist strap for ESD protection (provided by you)

Figure 3-4 : Fantails provide external V.35, RS-449 or X.21 interfaces for low-speed lines. A fantail cable connects a low-speed access card in the chassis to the connector on the rear of the fantail.

h3238.gif


Fantail Installation Procedure

Follow the steps below to install LightStream fantails.


Note Before installing fantails, check the interface jumpers on the low-speed access cards. The jumpers on each card must be set to the interface displayed on the fantail(s) for that card. For instructions on setting interface jumpers, see "Setting Interface Jumpers on the LS Access Card" section.

Step 1 Select a spot on the rack to mount the fantail. Attach the four clip nuts provided with the fantail to the appropriate holes in the rack rails.

Step 2 Put on the ESD wrist strap and connect it to the grounding jack on the rear of the chassis.

Step 3 Attach the fantail cable (or cables, if you're installing an X.21 fantail) to the back of the fantail and to the corresponding access card in the chassis. (It's easiest to do this now; if you install the fantail first, you have to reach behind it and attach the cable to a connector you can't see.) The cable is reversible; you can connect either end to the fantail. Don't rest the weight of the fantail on the cable.

Step 4 Using a slot-tip screwdriver and the mounting screws and washers provided, attach the fantail to the equipment rack.

Step 5 Label the fantail with the slot number or name of the interface module it's connected to.

Step 6 If you are mounting an X.21 fantail, set the DTE/DCE switches for each port to the desired mode. (See "Configuring X.21 Ports as DTE or DCE" section for complete instructions on configuring X.21 ports as DTEs or DCEs.) If you select a DTE interface, note that you must install a gender converter on each DTE port to change the female connector to male.

Step 7 Repeat this procedure to install additional fantails.


Attaching Data Cables

This section tells you how to attach data cables to your LightStream switch.

Step 1 If you have any FDDI cards, install connector keys provided by the cable vendor onto your FDDI cables. The keys make it impossible to attach a cable to the wrong kind of connector on the card.

Step 2 If you have any OC-3c or FDDI cards, remove and save the protective covers on the ports that will be used. Leave any unused ports covered.

Step 3 Connect any available external data cables. (Refer to the LightStream 2020 Site Planning and Cabling Guide for details on data cables and connectors.) If you have any Ethernet cards, note that although there are 10 physical connectors, each card supports only eight ports.


Note For ease of maintenance, arrange your data cables so that only those cables connected to a given access card must be disconnected in order to remove the access card. (In other words, route cables at the back of the chassis in a way that will enable you later to remove any access card without disconnecting cables attached to other access cards or fantails.)


Closing the Chassis

Before powering up, check the front and back of the system to see that all boards, disks, blowers, bulkheads, filler panels, and covers are in place and firmly screwed to the chassis frame. When all these items are in place, they form an enclosure that serves three important functions:

  • It limits access to hazardous voltages and currents inside the chassis.

  • It contains electro-magnetic interference (EMI) within the chassis, which is a requirement for meeting EMI standards. Emissions from a LightStream switch that isn't fully enclosed may interfere with other equipment.

  • It helps maintain the flow of cooling air through the chassis. Air flow disturbances can result in thermal problems such as component failures.


Powering Up

Use the procedure below to turn on a LightStream switch.

Step 1 If you have a DC-powered system, skip to step. If you have an AC-powered system, plug the power cord into the power inlet at the lower right corner of the rear panel and into a dedicated power socket. The power inlet has a wire clip called a bail latch that you can use to secure the power cord to the chassis.

Step 2 For AC-powered systems: Flip the power switch located on the rear of the system next to the power inlet.

For DC-powered systems: Flip the power switch located on the power tray panel. If your system has two power trays, you must flip the switches on both trays to turn the system on or off.

When the system powers up, the blowers start running, then TCS powers up the cards and starts the power-on self tests (POST). LEDs indicate the status of the cards and other components, as described in the flow chart in Figure 3-5. The power-up sequence including POST takes 1 minute or less.

Step 3 If the green ready (RDY) LED on each card comes on, proceed to the next section, "Install Modems." If a yellow fault (FLT) LED stays lit on any card (indicating a problem), do one of the following:

  • Refer to the Table 2-3 for information that will help you determine why the FLT LED is on and how to fix the problem.

  • Temporarily remove the faulty card from the configuration and bring up the rest of the system.

Figure 3-5 : Power-up sequence.

h3705.gif


Basic Configuration

This section explains how to attach a terminal to a newly-installed LightStream switch and enter basic configuration information in response to prompts from LightStream software. You must perform basic configuration for each NP in your system.


Note If you have a problem such as a hung system while you're performing basic configuration, you may need to shut the system down and start over. Refer to "Performing an Orderly Shutdown" section for instructions on performing an orderly shutdown.


Required Information

Before you start the procedures, collect the following information:

  • Passwords for the four default login accounts on the switch--- root, oper, npadmin and fldsup.

  • A host name for this LightStream network node

  • The IP address and subnet mask for the primary NP, and for the secondary NP if there is one

  • The IP address and subnet mask for the NP's Ethernet interface, if it has one

  • The IP address of the default router for the Ethernet interface, if a router is present (If you don't supply a default router address, outgoing Ethernet traffic is forwarded to the node's switch card.)

  • Information needed to configure one or more trunk ports on this node. For nodes that are not directly connected to the management system, the trunk port will be used to load a full configuration from the management system, which runs the configurator.

Details on the required information are presented in the subsections that follow.


Passwords

You must create a password for each of the four default login accounts on the switch---root, oper, npadmin and fldsup. (See the LightStream 2020 Administration Guide for more information on the default login accounts.)

A password must be at least six characters long. It can be as long as you wish, but only the first eight characters are used. Any combination of characters is acceptable, including spaces.


Host Name

You must assign a host name to each LightStream network node. Typically, the host name might be chosen to remind you of the node's location, either geographically (e.g. Tokyo2) or within the functional structure of the enterprise (e.g. mfg3 for a manufacturing function).

The name can be made up of any combination of letters and numbers, up to 32 characters long, but it must not begin with a number. Thus, Pensacola23 is a valid host name, but 23Pensacola is not a valid name (it begins with a number) and Pensacola.23 is not a valid name (it contains a character that is neither a letter nor a number).


IP Addresses and Masks

For each node, you must provide from one to four IP addresses and the associated network masks, as follows:

  • Primary NP address and mask (every LightStream node)

Nodes in a LightStream network use their primary NP addresses to communicate network management traffic to one another.


Note All NP addresses within the same LightStream network must have the same network number, and each must have a unique host ID.

  • Subnet mask for the primary NP address

The subnet mask specifies which portion of the IP address is the network number and which portion is the host ID. This mask is the same for all nodes on a given LightStream network.

  • Secondary NP address (only if there is a redundant NP)

If a node has a backup NP, then it uses its primary and secondary NP addresses to pass network management traffic between the two NPs within the node. The primary NP address is used by whichever NP is active. All NP addresses within the same LightStream network must have the same network number, and each must have a unique host ID.

  • NP's Ethernet address and mask (only if an Ethernet LAN is connected to the NP(s))

An Ethernet LAN may be attached to the NP for communicating management traffic between the node and a network management system (NMS). If an Ethernet LAN is connected to the NP, then the NP's Ethernet IP address must be configured. If there is a backup NP, then both NPs must be attached to the same Ethernet segment. The NP's Ethernet IP address is used by whichever NP is primary.


Note This IP address has the network number for the attached Ethernet LAN (which must be different from the network number of the LightStream network) plus a host number that is assigned by the network administrator of the Ethernet LAN.

  • Subnet mask for the NP's Ethernet address

The subnet mask for the NP's Ethernet address specifies which portion of the IP address is the network number and which portion is the host ID. This mask is the same for all nodes on the Ethernet that is attached to the primary NP. You obtain it from the administrator of that Ethernet LAN.

  • Default router (only if needed to reach the NMS)

If an Ethernet LAN is attached to the primary NP, but the NMS is not directly connected to that LAN, a router on the Ethernet LAN may be configured as the default router. The default router on a LightStream node provides a route from the node to the network management system (NMS). This IP address has the network number for the attached Ethernet LAN (which must be different from the network number of the LightStream network) plus a host number that is assigned by the network administrator of the Ethernet LAN.

If you plan to handle just one physical LightStream network under your network ID number, and the LightStream network is a class C network, then record 255.255.255.0 as the subnet mask. (The mask is 255.255.0.0 for a class B network with no subnetting, and 255.0.0.0 for a class A network with no subnetting.)


Note Network management can also be done via an Ethernet LAN that is connected to an ordinary Ethernet data port on the LightStream node (that is, an Ethernet access card port). The NMS must be directly attached to that Ethernet LAN. In this case, do not configure the NP's Ethernet address or default router address.

For more information on management addresses, see the LightStream 2020 Configuration Guide. If you do not understand IP addresses, if you do not understand subnetting, or if you do not know what the class of your LightStream network is, refer to Appendix B.


Trunk Port Information

For each trunk port you configure, you need to know:

  • Trunk card type: low speed (T1/E1 rate), T3, E3, or OC-3c

  • The number of the slot in the chassis where the trunk card is located

  • The port number (except on OC-3c cards, which have only 1 trunk port)

  • Beyond this point, the information you need varies depending on the type of port you choose to configure:

    • For a low-speed trunk port you need to specify the DTE/DCE type and DTE or DCE bit rates

    • For a T3 trunk port you need to specify line type (C-bit parity or clear channel), cable length (0 - 450 feet or 450 - 900 feet), and PLCP scrambling mode (enabled or disabled)

    • For an E3 trunk port you need to specify cable length (0 - 400 feet, 300 - 1000 feet, 800 - 1300 feet, or 1100 - 1900 feet) and PLCP scrambling mode (enabled or disabled)

    • For an OC-3c trunk port you need to specify the clocking mode (internal or external) and the cell scrambling mode (enabled or disabled)

If you need more information on trunk port configuration, refer to the LightStream 2020 Configuration Guide.


Command Glossary

The procedures in this section use the following commands:

  • reset <slot#> TCS command that resets the card in the specified slot.

  • connect <slot#> TCS command that establishes a connection to the card in the specified slot.


Attaching a Terminal and Connecting to an NP


Required Tools

  • VT100 terminal or equivalent

  • Terminal cable


Connecting a Terminal

Follow this procedure to connect a terminal to your switch. Go on to the procedure that follows to establish a connection to the network processor (NP).

Step 1 Connect a VT100-compatible terminal to LightStream's console port.


Note If your system has two switch cards, you must connect to the console port of the one that holds the primary TCS hub. To determine which card has the primary hub, look for a green LED labelled TCS SEL on the front bulkhead of each switch card. The TCS SEL LED is lit on the switch card with the primary hub.

Switch card slots on the front of the chassis are labeled A and B, as are the slots that hold the console and modem ports on the back of the chassis. If the primary TCS hub is on the switch card in slot A, connect to the console port in rear slot A. If the primary hub is on switch card B, connect to console port B.

Step 2 Set up the terminal as described in Table 3-1 below.

Table 3-1 : Terminal Settings

Baud Rate 9600 (transmit and receive)
Character Size 8 bits
Parity none
Stop Bits 1
Xoff at 64
New Line No (do not send CR-LF)

Step 3 If you can connect at 9600 baud, skip the rest of this procedure and go on to Connecting to an NP, below. If you don't have 9600 baud but you do have 1200 baud, 2400 baud, or 19,200 baud, press [Break] three times as soon as you connect. This activates the baud rate selection mechanism.

Step 4 Once baud rate selection is activated, the port's baud rate changes every time you press [Break] again. Press [Break] slowly until you can read "OK" on your screen. (At each new baud rate, the system attempts to display "OK" on your screen. Your display becomes legible when the terminal and port baud rates match.)


Connecting to an NP

Follow this procedure to establish a terminal connection to the network processor (NP) in you LightStream switch. (This procedure assumes that you have already connected a terminal to the switch, as described the previous procedure.)

Step 1 Power up the LightStream node or use the reset <slot#> command at the TCS hub prompt to reset the NP in a running node. (The NPs reside in slots 1 and 2.)

Step 2 Use the connect <slot#> command to connect to the NP that you want to configure. This example assumes that you're connecting to the NP in slot 1:

TCS hub<<A>> connect 1

Step 3 When you connect, part or all of the following countdown appears on your screen. Do not press [Return]; allow the system to boot.

System will boot in 5 seconds: hit <RETURN> to interrupt.

System will boot in 4 seconds: hit <RETURN> to interrupt.

System will boot in 3 seconds: hit <RETURN> to interrupt.

System will boot in 2 seconds: hit <RETURN> to interrupt.

System will boot in 1 seconds: hit <RETURN> to interrupt.

The screen displays for the boot sequence are shown in "Entering Configuration Data" section.


Aside: Running Scripts Separately

In the procedure that follows, Entering Configuration Data, two scripts that prompt you for basic configuration information are automatically invoked. If you make a mistake in entering any of the information for which the scripts prompt you, you can run them again separately. Just type the name of the script you want to run (see below) at the bash# or single-user$ prompt. Note that these scripts are intended for use only during installation.

  • /bin/settimezoneinfo---Sets time, date, daylight savings method and time zone.

  • /usr/app/base/bin/setsnmpconfig---Sets host name; IP, Ethernet, and default router addresses; and sets up trunk ports so that the full configuration can be downloaded from the management system.

When you run them from the command line, the scripts behave very much as they do in the procedure. One difference is that setsnmpconfig checks for the presence of configuration files (these files will not be present during a typical installation of a new switch). If the system finds configuration files, it asks if you want to delete them:

Configuration information already exists. If you continue, the configuration information 
on this network node will be destroyed by overwriting the following files: 
  /usr/app/base/config/configure.netdb
  /usr/app/base/config/mma.db.dir
  /usr/app/base/config/mma.db.pag
Continue? (y/n) [n]

fig_28.gif Caution If you answer y (yes) to this query, the system overwrites the existing configuration files for this node; their contents are lost.

If configuration files are present and you choose not to delete them, the setsnmpconfig script cannot continue; it exits and returns you to the command line.

If no configuration files are present, or if they are present and you choose to delete them, the script prompts you for network management information, as shown in the procedure below.


Entering Configuration Data

In this procedure, you are prompted to enter basic configuration information such as IP addresses and login passwords. (The information you must enter is listed in "Required Information" section.) This procedure assumes that you have already started booting, as previously described. The boot initiates the scripts that prompt you for configuration information.


Note If there's a problem with your system's hard disk or with the software loaded on it, you'll see an error message instead of the display shown below in step.

Step 1 Observe the system's boot display:

**** LynxOS is down **** 
***booting: drive:0, partition:0, kernel:"lynx.os", flags:0x4308 
Resetting SCSI bus 
Kernel linked for 0xea010000 
LOAD AT 0x10000 
471040+40960+136260[ 61824+50608] 
TOTAL SIZE: 745080 at 0x1001c 
START AT 0x10020 
NP memory size: 32 MB 
ILACC: EEPROM enet addr:8:0:8:0:14:25, Silicon Rev:0x5, IB:0xea146620 
virtual console: IB: 0xea139d20 
NCR 53C710: Chip Revision: 0x2, IB: 0xec13d000 

LynxOS/68040-MVME167 Version 2.1.0 
Copyright 1992 Lynx Real-Time Systems Inc. 
All rights reserved. 

LynxOS release 2.1.0, level 1: NP-LynxOS #57: compiled Oct 05 1993 12:38:19 


LynxOS Startup: ma 

fsck /dev/sd0a 
(all sizes and block numbers in decimal) 
(file system creation time is Tue May  4 20:07:12 1993) 
checking used files 
recovering orphaned files 
making free block list 
making free inode list 
43967 free blocks 3343 free inodes 

fsck /dev/sd0b 
(all sizes and block numbers in decimal) 
(file system creation time is Tue May  4 20:07:33 1993) 
checking used files 
recovering orphaned files 
making free block list 
making free inode list 
54194 free blocks 3633 free inodes 

fsck /dev/sd0c 
(all sizes and block numbers in decimal) 
(file system creation time is Tue May  4 20:07:53 1993) 
checking used files 
recovering orphaned files 
making free block list 
making free inode list 
49658 free blocks 3698 free inodes 

fsck /dev/sd0d 
(all sizes and block numbers in decimal) 
(file system creation time is Tue May  4 20:08:11 1993) 
checking used files 
recovering orphaned files 
making free block list 
making free inode list 
69884 free blocks 4434 free inodes 

mounting all filesystems 
30

Step 2 The system prompts you to enter time and date information:

The timezone information for this system has not been configured! 
Set the daylight savings and time zone information? (y/n) [y] y 

Set the daylight savings method to one of the following values: 
0 (no daylight savings) 
1 (USA) 
2 (Australia) 
3 (East Europe) 
4 (Central Europe) 
5 (Western Europe) 
Daylight savings method: 1  
Set the timezone by specifying the number of minutes west of Greenwich

  Examples: 
300 (US Eastern Time) 
360 (US Central Time) 
420 (US Mountain Time) 
480 (US Pacific Time) 
Minutes west of Greenwich, England: 300 

At the prompt, enter a new date or press <RETURN> to continue. 


The date is set to Tue May 4 16:04:57 EDT 1993 
Enter date (yymmddhhmm[.ss]: 9305041607 

At the prompt, enter a new date or press <RETURN> to continue. 
The date is set to Tue May 4 16:07:00 EDT 1993 
Enter date (yymmddhhmm[.ss]: [Return] 

(The second Enter date prompt is for confirmation.)


Note If your switch contains two NPs, ensure that their clocks agree to within one minute. You can do this by using a single reliable source (e.g. a wristwatch) to set the time for both NPs. (If the clocks differ by more than a minute, the software that synchronizes files between the two NPs may have problems.)

Step 3 You are prompted to enter passwords for the switch's four default login accounts, as shown below. For each account, enter y, then enter the password twice as prompted.

The following accounts do not have passwords: 
root fldsup npadmin oper 

Install a password on the root account? (y/n) [y] y 
Enter new password: 
Retype new password: 

Install a password on the fldsup account? (y/n) [y] y 
Enter new password: 
Retype new password: 

Install a password on the npadmin account? (y/n) [y] y 
Enter new password: 
Retype new password: 

Install a password on the oper account? (y/n) [y] y 
Enter new password: 
Retype new password:

Step 4 Next, the system prompts you for network management information. Enter the host name for this switch, the IP address and the subnet mask for the active NP in the chassis, as shown in the example below. Note that the IP address and subnet mask shown here are samples; you must supply actual addresses.


Note In a redundant system, you will perform this procedure twice---once for each NP. Make sure you enter exactly the same information for both NPs. Do not reverse the active and secondary IP addresses on the second NP. These addresses are assigned to the entire chassis, and not to individual NPs. If you do not enter the same addresses on both NPs, your system will not function.

The minimum network management information has not been configured! 
Create a minimal network management configuration? (y/n) [y] y 

Specify the host name for this network node. 
Host name: LightStream1 

You must allocate a subnetwork address for the internal network that connects all network 
processors in your network. Configure the IP address of this network processor within 
that subnet.

Chassis Active IP Address [a.b.c.d]: 192.1.1.11 

Configure the IP subnet mask for the internal network that connects all network processors 
in your network. 
Chassis Network Mask [a.b.c.d]: 255.255.255.0

Step 5 The system asks if this switch has a backup NP:

Is there a backup network processor in the chassis (Y/N)? [N] 

If you answer n at this point, go on to the next step. If you answer y, you are prompted to enter an address for your backup NP. Note that the IP address shown here is a sample; you must supply the actual address.

Configure the IP address for the backup network processor within the subnetwork connecting 
all network processors in your network. 
Chassis Secondary IP Address [a.b.c.d]: 192.1.1.12

Step 6 The following questions are about the NP's Ethernet connection and default router. If you answer n to any question shown below, skip from there to the next step. Note that the Ethernet and default router addresses shown here are samples; you must supply actual addresses.

Is the network processor attached to an Ethernet LAN (Y/N)? [N] y 

Configure the IP address for the network processor's Ethernet interface. 
Chassis Ethernet IP Address [a.b.c.d]: 192.1.11.13 

Configure the IP subnet mask for the network processor's Ethernet interface. 
Chassis Ethernet IP Mask [a.b.c.d]: 255.255.255.0 

Is there an IP router on the attached Ethernet LAN (Y/N)? [N] y 

Configure the Default IP router for the network processor's Ethernet interface. 
Chassis Default IP Router [a.b.c.d]: 192.1.11.14

Step 7 The system displays a summary of the information you have just entered. If the information is correct, answer y at the prompt and skip to the next step. If you want to change something, answer n and return to step; you will be prompted to re-enter all the information from that point.

CHASSIS INFORMATION 
Host Name:                    Lightstream1 
Chassis Active IP Address:    192.1.1.11 
Chassis Secondary IP Address: 192.1.11.12 
Chassis Network Mask:         255.255.255.0 
Chassis Ethernet IP Address:  192.1.11.13 
Chassis Ethernet IP Mask:     255.255.255.0 
Chassis Default IP Router:    192.1.1.14 

Is the chassis information correct? (Y/N) [Y] 

Step 8 When you confirm that the chassis information you've entered is correct, the system prompts you to configure a trunk port, as shown in the example below. (The trunk port will be used to load a full configuration over the network.)

Configure trunk port information (Y/N) [N] y 

Trunk Card Type: 
1)  Low Speed 
2)  T3 
3)  E3 
4)  OC3 
Choose the trunk card type (1-4): 1 


Enter the trunk card slot number (1-10): 3 

Enter the port number (0-7): 0 

DCE/DTE Type: 
1) DCE 
2) DTE 
Choose the DCE/DTE type (1-2): 1 

DCE Bit Rate: 
1) 128 Kb    5) 448 Kb     9) 1344 Kb    13) 3584 Kb 
2) 192 Kb    6) 512 Kb    10) 1536 Kb    14) 4000 Kb 
3) 256 Kb    7) 768 Kb    11) 1792 Kb    15) 5376 Kb 
4) 384 Kb    8) 896 Kb    12) 2688 Kb 

Choose the DCE Bit Rate (1-15): 10 

TRUNK INFORMATION 
Type: Low Speed Trunk    Slot: 3   Port: 0 
DCE/DTE Type:            DCE 
DCE Bit Rate:            1536 (kbps) 

Is the port information correct? (Y/N) [Y] 

As with the chassis information, if you answer n to the confirmation prompt, you will be prompted to enter all the trunk information over again. If you answer y, you will be prompted to configure another trunk:
Configure additional trunk port information (Y/N) [N]

Step 9 When you have configured all the trunks you need to load full configurations throughout the network, answer n to the prompt about configuring additional trunks. The system now reports that it is creating a minimum configuration, loading the line cards, starting the switch software, and starting the neighborhood discovery process. Then the login prompt appears.

Step 10 You have completed basic configuration for this NP. If you're installing a new switch with two NPs, go back to "Connecting to an NP" section. Repeat the procedures from that point to configure the second NP.

When you've completed basic configuration for each NP in your system, read How to Proceed, below.


How to Proceed

This section lists things you should do or consider doing after you finish installing a new LightStream switch.


Run Diagnostics or test_node

To ensure that the newly installed system is in good working order, you may wish to do one of the following:

  • Use the test_node utility to perform an acceptance test. The test_node command is described in the LightStream 2020 Command and Attribute Reference Guide. test_node does not test packet line cards and their associated access cards (Ethernet or FDDI). If your configuration includes PLCs, you may wish to test them using the diagnostics.

  • Run the hardware diagnostics as described in "Hardware Troubleshooting" section.


Start a Maintenance Log

Keep a maintenance log for each LightStream switch. At a minimum, the log should list the following information:

  • the node's name and IP address(es)

  • the date and description of every maintenance or repair procedure performed on the system (for example, replacement of a faulty line card, power tray, etc.)

  • the chassis ID, modem init string, and modem password, which are stored in EEPROMs on the midplane. If the EEPROMs or the midplane ever need replacing, you'll need to enter the chassis ID and modem information into the EEPROMs on the new midplane. See "Finding the Chassis ID" section for instructions on finding the chassis ID and modem information.

You may also want to record unusual behavior. The maintenance log is an essential tool in identifying and correcting chronic or hard-to-diagnose problems.


Install Modems

We recommend that you obtain and install a modem for each switch card in the chassis. In the event that a problem isolates a LightStream node from the rest of the network, the modem may be your only means of communicating with the node. The modem connects to the modem port on the console/modem assembly at the back of the LightStream chassis, using the modem cable described in the LightStream 2020 Site Planning and Cabling Guide. Modems attached to LightStream nodes must be Hayes-compatible and capable of operating at 2400 baud. For information on LightStream's default modem settings and how to change them, see the LightStream 2020 Administration Guide.


Install LightStream Management Software

You must install LightStream's CLI, monitor, configuration and private MIB software on the Sun workstation you will use to manage your LightStream network. The installation procedure is in "Installing Management Software on A Sun" section.


Set Up the Network Environment

The LightStream 2020 Administration Guide contains procedures and information about options that let you tailor your network environment in various ways. (You can enable the security mechanism that prevents unauthorized network access, change the default SNMP community names, and change the default trap delivery addresses, among other things.) In the LightStream 2020 Administration Guide, read the "Set-Up Procedures" section before you start operating your LightStream network.


Configure the Network

Use LightStream's configuration program to create a configuration database for your network and load a configuration onto each node, as described in the LightStream 2020 Configuration Guide.


Installing Management Software on A Sun

You can monitor, control and configure your LightStream network from a Sun SPARCstation running StreamView` configuration, CLI, and monitor software, and the LightStream enterprise-specific MIB. The procedures in this section tell you the following:

  • How to load the software onto your workstation from the quarter-inch tape provided by LightStream.

  • How to set up the LightStream environment on your workstation.

Two installation procedures are given, as follows:

  • Installing Management Software Under HP OpenView

  • Installing Management Software Without HP OpenView

When you complete the appropriate installation procedure, you will be able to run the StreamView management software on your Sun workstation.

For information on º See º
Running the configuration program LightStream 2020 Configuration Guide
Running the CLI and the monitor LightStream 2020 Operations Guide
CLI commands, the MIB, and LynxOS commands LightStream 2020 Command and Attribute Reference Guide


Note Refer to the LightStream 2020 Site Planning and Cabling Guide for a list of hardware and software requirements the network management workstation must meet.


Installing Management Software Under HP OpenView

Follow all the procedures in this subsection if you are installing LightStream management software on a Sun SPARCstation running HP OpenView. In these procedures, we assume that HP OpenView is installed and functioning properly.


Note The LightStream management software requires the following HP software versions:

  • HP OpenView version 3.3

  • HP OVIC version 1.4 or higher


Loading the Software

This portion of the LightStream software is provided in two pieces called LS-Configure and LS-Monitor. HP OpenView documentation refers to software packages of this kind as "products." Note that the CLI and the LightStream enterprise-specific MIB are packaged with LS-Configure and LS-Monitor.

In this procedure, you use the ovinstall command. The ovinstall programs do the following things:

  • Create the directory /usr/OV/bin/ls_bin

  • Update several HP OpenView directories with LightStream registration and bit map files

  • Load the LightStream enterprise-specific MIB into the directory /usr/OV/snmp_mibs, and install it under HP OpenView

  • Create /usr/OV/databases/ls, the directory for the configuration database

The configurator and monitor tools will create log files in the /usr/OV/log directory.


Note This directory and the log files in it must be writeable by everyone who will use the LightStream software on the management station.

Step 1 Log in to the Sun as root.

Step 2 Create a user account called npadmin. The CLI uses the password for this account as the password for its protected mode. (If no npadmin account is present on the workstation, the CLI uses the root password as the CLI protected mode password.)

Step 3 Ensure that /usr/OV/bin is in your path. The installation procedure uses this directory. To display your path, use the command echo $PATH at the SunOS prompt. To set your path in a Bourne shell or a bash shell, use the following command:

% PATH=$PATH:/usr/OV/bin

To set your path in a csh shell, use the following command:

% setenv PATH ${PATH}:/usr/OV/bin

Step 4 To stop any running OpenView processes, enter the following command (where the initial % represents the prompt):

% ovstop 

Step 5 Insert the tape of LightStream software into the Sun's quarter-inch tape drive.

Step 6 In any directory, use the HP OpenView ovinstall command to extract the LS-Configure software from the tape. Here, <tape-drive> may be /dev/rst0, /dev/rst1, or /dev/rst2, depending on which port your tape drive uses. The command takes 5 to 15 minutes to run. It installs the configuration utilities and associated files. For example, you might type:

% ovinstall -p LS-CONFIGURE -- -d <tape-drive>


Note Note: The command above is for a first-time installation of LightStream software. If you are re-installing the software, use this command instead:

% ovinstall -r -p LS-CONFIGURE -- -d <tape-drive>

Step 7 In any directory, use the HP OpenView ovinstall command to extract the LS-Monitor software from the tape. Here, <tape-drive> may be /dev/rst0, /dev/rst1, or /dev/rst2, depending on which port your tape drive uses. The command takes 5 to 15 minutes to run. It installs the monitor utility and associated files. For example, you might type:

% ovinstall -p LS-MONITOR -- -d <tape-drive>


Note Note: The command above is for a first-time installation of LightStream software. If you are re-installing the software, use this command instead:

% ovinstall -r -p LS-MONITOR -- -d <tape-drive>


Setting Up Your Environment


Note Before starting this procedure, you or someone at your site must load the configurator, the monitor, and the CLI, as described in the procedure in "Installing Management Software Under HP OpenView" section.

This procedure tells you how to set up the environment to run the LightStream management tools on a Sun SPARCstation running HP OpenView.


Note Steps 2 through 5 in this procedure must be completed for each user who will run the LightStream management tools with HP OpenView.

Step 1 Verify that the /etc/services file contains the following entry:

snmp-traps  162/udp

If the entry isn't present, add it.

Step 2 Determine what type of shell each user is using. In an NFS environment using the yellowpages facility, type the following command:

ypmatch <username> passwd

In an environment that does not use the yellowpages facility, type the following command:

egrep <username> /etc/passwd

The last field of the password entry identifies the shell, as in the following example entry:

jjones:o@elQMkzZv7oF:10563:312:Jon Jones:/home/jjones:/bin/bash


Note Note: Steps are given here for the Bourne shell (sh) and the GNU Bourne-Again shell (bash), and for the C shell (csh). Other shells may differ in their details; consult the documentation for the shell.

Step 3 For each user who will run the LightStream management tools, several environment variables must be defined. In each user's home directory, edit the file that the shell reads on login, as shown in the appropriate subprocedure below.


Note Note: To determine the value <pathname> for the XKEYSYMDB variable shown in the following Bourne shell and C shell subprocedures, consult your local Sun system administrator. The file XKeysymDB should be in the subdirectory lib or lib/X11 under the directory containing your X Windows executables. You can use the command find / -name XKeysymDB -print to search for it, but this could take a long time, and could disclose multiple copies. The distinction between upper- and lower-case letters is critical.

For Bourne shells and their derivatives:

You must first determine whether a UIDPATH variable is already set in your login environment. To do so, type the following command:

% echo $UIDPATH

If the system displays UIDPATH: unbound variable or no message, skip to next step. If the system displays a path, add the following to the .profile or the .bash_profile:


PATH=$PATH:/usr/OV/bin/ls_bin
UIDPATH=$UIDPATH:/usr/OV/bin/ls_bin/%U
LSC_DATABASE=/usr/OV/databases/ls/configure.netdb
LSC_CFGLOGPATH=/usr/OV/log
LSC_CFGTCPPORT=6789
XKEYSYMDB= <pathname>
export UIDPATH LSC_DATABASE LSC_CFGLOGPATH
export LSC_CFGTCPPORT XKEYSYMDB

If the system displays UIDPATH: unbound variable or no message in response to echo $UIDPATH, edit the .profile file or the .bash_profile file. Add the following lines to the file:


PATH=$PATH:/usr/OV/bin/ls_bin
UIDPATH=/usr/OV/bin/ls_bin/%U
LSC_DATABASE=/usr/OV/databases/ls/configure.netdb
LSC_CFGLOGPATH=/usr/OV/log
LSC_CFGTCPPORT=6789
XKEYSYMDB=
<pathname>
export UIDPATH LSC_DATABASE LSC_CFGLOGPATH
export LSC_CFGTCPPORT XKEYSYMDB

You have completed this subprocedure. The main procedure continues with Step 4 below.

For C shells and their derivatives:

You must first determine whether a UIDPATH variable is already set in your login environment. To do so, type the following command:

% echo $UIDPATH

If the system displays the message UIDPATH: Undefined variable, skip to the next step. If the system displays some other message (usually a path), add the following to the .cshrc file:


setenv PATH ${PATH}:/usr/OV/bin/ls_bin
setenv UIDPATH ${UIDPATH}:/usr/OV/bin/ls_bin/%U
setenv LSC_DATABASE /usr/OV/databases/ls/configure.netdb
setenv LSC_CFGLOGPATH /usr/OV/log
setenv LSC_CFGTCPPORT 6789
setenv XKEYSYMDB <pathname>

If the system displays the message UIDPATH: Undefined variable, add this to the .cshrc file:


setenv PATH ${PATH}:/usr/OV/bin/ls_bin
setenv UIDPATH /usr/OV/bin/ls_bin/%U
setenv LSC_DATABASE /usr/OV/databases/ls/configure.netdb
setenv LSC_CFGLOGPATH /usr/OV/log
setenv LSC_CFGTCPPORT 6789
setenv XKEYSYMDB <pathname>

Step 4 Any user who is logged in during the installation process should exit and log in again. Alternatively, a user can use the command . (dot) or its alias source to activate the new variables in the current execution environment. As an argument, this command requires the name of the file in which you entered the variables. For example, you might type one of the following:


sh: . .profile
bash: . .bash_profile or source .bash_profile
csh: source .cshrc


Note Note: In the Bourne shell, only the command . (dot) is available; in the csh, only the command source is available.

Step 5 To the .Xdefaults file in each user's home directory, append the contents of the file /usr/OV/newconfig/xdefaults. (This step gives the LightStream tools access to the screen fonts they need to display properly.) In each user's home directory, type


% mv .Xdefaults Xdef.sav
% cat Xdef.sav /usr/OV/newconfig/xdefaults > .Xdefaults

If you need to revert to the old .Xdefaults file, you'll find the contents in the backup file Xdef.sav.

Step 6 To ensure that the LightStream applications have been installed correctly, type


% ovw -verify

This program takes less than a minute to run and prints the names of the objects it verifies. (If the verification fails, you'll see a message on the screen. Call your service representative for assistance.)

Step 7 To start OV daemons, enter the following command:

% ovstart

Step 8 To restart HP OpenView, enter the following command:

% ovw


Note Note: If you wish to put the OpenView process in the background and keep using the window you're currently in, you can instead type:

% ovw&

If you need help, refer to the HP OpenView documentation.


Note Note: LightStream applications inherit the privileges of the user account from which HP OpenView is started. For example, the access permissions for the database file created by the LightStream configurator correspond to the access rights of the user who started HP OpenView with the ovw command.

Step 9 To update variables associated with the SNMP community, do only one of the following:

  • In the Root window, select the Options menu and then the SNMP Configuration menu item. Or,

  • Execute the xnmsnmpconf command at the shell prompt.

Use the following field values:

Port (remote) 161
Timeout 6.0
Retry 2

You may also consider setting the polling interval to 1 minute. The default is 5 minutes. The polling interval determines how long it will be before the display indicates changes in the network.

By default, LightStream nodes require the use of the "write" community for SNMP set operations. You may choose to use another name for the community that has read/write privileges, or you may choose to allow SNMP sets from any community. You must configure this in the HP OpenView environment using the xnmsnmpconf tool, or change the files at the LightStream nodes to conform to HP OpenView's behavior. (See the LightStream 2020 Administration Guide for information on setting up SNMP communities in a LightStream network.)

Step 10 LightStream utilities are now available. Select the LightStream menu from the Root window.


Installing Management Software Without HP OpenView

Follow the procedures in this subsection to install LightStream management software on a Sun workstation that is not running HP OpenView.


Loading the Software

Step 1 Log in to the Sun as root.

Step 2 Create a user account called npadmin. The CLI uses the password for this account as the password for its protected mode. (If no npadmin account is present on the workstation, the CLI uses the root password as the CLI protected mode password.)

Step 3 Use the following command to change to the root directory:

% cd /

Step 4 Insert the tape of LightStream software into the Sun's quarter-inch tape drive.

Step 5 Type the following commands in the order shown to extract the files from the tape. The process takes 10 to 20 minutes to complete.

%  mt -f <tape-drive> rew 
%  mt -f <tape-drive> fsf 4 
%  tar xvf <tape-drive>

Here, <tape-drive> is, for example, /dev/nrst0, /dev/nrst1, or /dev/nrst2, depending on which port your tape drive uses.


Note It is important to include the letter n before the tape drive designation (i.e. nrst0 for device rst0). The n means "no rewind;" if you omit the n, you will not be able to read from the tape.

This procedure creates the following directory structure:

/usr/LightStream-2.0 
/usr/LightStream-2.0/bin 

/usr/LightStream-2.0/db 
/usr/LightStream-2.0/log 
/usr/LightStream-2.0/mib 
/usr/LightStream-2.0/templates


Setting Up Your Environment


Note Before starting this procedure, you or someone at your site must load the LightStream software, as described in the procedure in "Installing Management Software Without HP OpenView" section.

This procedure tells you how to set up the environment to run the LightStream management tools on a Sun SPARCstation that is not running HP OpenView.


Note Steps 2 through 5 in this procedure must be completed for each user who will run the LightStream management tools.

Step 1 Verify that the /etc/services file contains the following entry:

snmp-traps  162/udp

If the entry isn't present, add it.

Step 2 Determine what type of shell each user is using. In an NFS environment using the yellowpages facility, type the following command:


ypmatch <username> passwd

In an environment that does not use the yellowpages facility, type the following command:

egrep <username> /etc/passwd

The last field of the password entry identifies the shell, as in the following example entry:
jjones:o@elQMkzZv7oF:10563:312:Jon Jones:/home/jjones:/bin/bash


Note Note: Steps are given here for the Bourne shell (sh) and the GNU Bourne-Again shell (bash), and for the C shell (csh). Other shells may differ in their details; consult the documentation for the shell.

Step 3 For each user who will run the LightStream management tools, several environment variables must be defined. In each user's home directory, edit the file that the shell reads on login, as shown in the appropriate subprocedure below.


Note Note: To determine the value <pathname> for the XKEYSYMDB variable shown in the following Bourne shell and C shell subprocedures, consult your local Sun system administrator. The file XKeysymDB should be in the subdirectory lib or lib/X11 under the directory containing your X Windows executables. You can use the command find / -name XKeysymDB -print to search for it, but this could take a long time, and could disclose multiple copies.


Note The distinction between upper- and lower-case letters is critical.

For Bourne shells and their derivatives:

You must first determine whether a UIDPATH variable is already set in your login environment. To do so, type the following command:

% echo $UIDPATH

If the system displays UIDPATH: unbound variable or no message, skip to the next step. If the system displays a path, add the following to the .profile or the .bash_profile:


PATH=$PATH:/usr/LightStream-2.0/bin
UIDPATH=$UIDPATH:/usr/LightStream-2.0/bin/%U
LSC_DATABASE=/usr/LightStream-2.0/db/configure.netdb
LSC_CFGLOGPATH=/usr/LightStream-2.0/log
LSC_CFGTCPPORT=6789
OVSNMP_CONF_FILE=/usr/LightStream-2.0/templates/ovsnmp.conf
XKEYSYMDB= <pathname>
export UIDPATH LSC_DATABASE LSC_CFGLOGPATH
export LSC_CFGTCPPORT OVSNMP_CONF_FILE XKEYSYMDB

If the system displays UIDPATH: unbound variable or no message in response to echo $UIDPATH, edit the .profile file or the .bash_profile file. Add the following lines to the file:


PATH=$PATH:/usr/LightStream-2.0/bin
UIDPATH=/usr/LightStream-2.0/bin/%U
LSC_DATABASE=/usr/LightStream-2.0/db/configure.netdb LSC_CFGLOGPATH=/usr/LightStream-2.0/log
LSC_CFGTCPPORT=6789
OVSNMP_CONF_FILE=/usr/LightStream-2.0/templates/ovsnmp.conf
XKEYSYMDB= <pathname>
export UIDPATH LSC_DATABASE LSC_CFGLOGPATH
export LSC_CFGTCPPORT OVSNMP_CONF_FILE XKEYSYMDB

You have completed this subprocedure. The main procedure continues with Step 4 below.

For C shells and their derivatives:

You must determine whether a UIDPATH variable is already set in your login environment. To do so, type the following command (where the initial % represents the prompt):

% echo $UIDPATH

If the system displays the message UIDPATH: Undefined variable, skip to the next step. If the system displays some other message (usually a path), add this to the .cshrc file:


setenv PATH ${PATH}:/usr/LightStream-2.0/bin
setenv UIDPATH ${UIDPATH}:/usr/LightStream-2.0/bin/%U
setenv LSC_DATABASE /usr/LightStream-2.0/db/configure.netdb
setenv LSC_CFGLOGPATH /usr/LightStream-2.0/log
setenv LSC_CFGTCPPORT 6789
setenv OVSNMP_CONF_FILE /usr/LightStream-2.0/templates/ovsnmp.conf
setenv XKEYSYMDB < pathname >

If the system displays the message UIDPATH: Undefined variable, add this to the .cshrc file:

setenv PATH ${PATH}:/usr/LightStream-2.0/bin
setenv UIDPATH /usr/LightStream-2.0/bin/%U
setenv LSC_DATABASE /usr/LightStream-2.0/db/configure.netdb
setenv LSC_CFGLOGPATH /usr/LightStream-2.0/log
setenv LSC_CFGTCPPORT 6789
setenv OVSNMP_CONF_FILE /usr/LightStream-2.0/templates/ovsnmp.conf
setenv XKEYSYMDB < pathname >

Step 4 Any user who is logged in during the installation process should exit and log in again. Alternatively, a user can use the command . (dot) or its alias source to activate the new variables in the current execution environment. (In the Bourne shell, only the command . (dot) is available; in the csh, only the command source is available.) As an argument, this command requires the name of the file in which you entered the variables. For example, you might enter any of the following commands:


sh: . .profile
bash: . .bash_profile or source .bash_profile
csh: source .cshrc

Step 5 To the .Xdefaults file in each user's home directory, append the contents of the file /usr/LightStream-2.0/templates/xdefaults. (This step gives the LightStream tools access to the screen fonts they need to display properly.) In each user's home directory, type


% mv .Xdefaults Xdef.sav
% cat Xdef.sav /usr/LightStream-2.0/templates/xdefaults > .Xdefaults

If you need to revert to the old .Xdefaults file, you'll find the contents in the backup file Xdef.sav.

Step 6 To remove a directory that is created when the LightStream applications run, type the following while logged in as root:


% rm -r /usr/LightStream-2.0/templates/ovsnmp.conf_db

After you modify your environment, the LightStream applications recreate this directory with new information.

Step 7 By default, LightStream nodes require the use of the "write" community for SNMP set operations. You may choose to use another name for your community with read/write privileges, or you may choose to allow SNMP sets from any community.

To configure this in your Sun environment, edit the file /usr/LightStream-2.0/templates/ovsnmp.conf, or change the files at each LightStream node to conform to your Sun's behavior. (See the LightStream 2020 Administration Guide for information on setting up SNMP communities in a LightStream network.) Use a text editor such as emacs or vi to modify the file ovsnmp.conf. The file contains instructions on how to format each entry.
Hardware Configuration

Hardware Configuration

Configuring X.21 Ports as DTE or DCE · Setting Interface Jumpers on the LS Access Card · Turning Off the Transmit Laser on the OC-3c Access Card · Component Configuration

This chapter shows how to set jumpers and switches in LightStream hardware, and explains how many of each major hardware component---NPs, switch cards, line cards, and power supplies---can coexist in a LightStream 2020 enterprise ATM switch.

fig_1.gif Caution Before removing any components from the chassis, read the safety instructions in "Electrostatic Discharge (ESD) Protection" section. If you handle components without taking proper ESD precautions, you can damage the system.


Configuring X.21 Ports as DTE or DCE

The X.21 fantail has eight ports, and each can be set to function either as DTE or as DCE. Next to each connector is a pair of slider switches with settings labelled DTE and DCE (see Figure 4-1). The two switches in each pair are linked, so it's impossible to set them to different modes.


Note Changing a port's DTE/DCE setting while it is operating halts the flow of traffic through the port.

To change a port's DTE/DCE setting, do the following:

Step 1 Slide one of the port's switches to the desired position. The other switch will move at the same time.

Step 2 If you're setting the port to DTE, attach a male-to-male gender converter to change the female connector on the fantail to a male connector.

Step 3 Use the LightStream configurator to change the port's configuration to reflect the new DTE/DCE mode. Refer to the LightStream 2020 Configuration Guide for details.

Figure 4-1 : Detail of X.21 fantail shows ports and DTE/DCE switch pairs. The switches are set to DTE.

h3271.gif


Setting Interface Jumpers on the LS Access Card

This section describes the user-settable jumpers on LightStream's low-speed access card (LSAC) and shows how to set them. The jumpers allow you to select one of two interface types:

  • V.35

  • RS-449/X.21

  • (If you select this option, the fantail determines whether the ports are RS-449 or X.21.)

These jumpers are set for you in the factory based on the configuration specified in your system order, so you should not have to change the jumpers unless you change your configuration.

Figure 4-2 shows the location of the 16 sets of interface jumpers on the card, and illustrates how to set them. For V.35, put jumpers on the left and center pins. For RS-449 and X.21, put jumpers on the right and center pins. (The settings are indicated on the card, as shown.)

Each LSAC serves up to eight I/O ports. If you want all eight ports to use the same interface, set all the jumpers the same way. If you prefer, you can set the LSAC to give you four ports of one type and four of another (four V.35 and four X.21, for example). You'll need one fantail of each type.

The interface jumpers are labelled E1 through E8 and E11 through E18. (E9 and E10 are not interface jumpers and are not located near the interface jumpers on the card.) The interface jumpers can be divided functionally into two groups:

  • The top eight jumpers, E1 through E8, affect ports 4 through 7, which are served by the top connector on the rear edge of the card.

  • The bottom eight jumpers, E11 through E18, affect ports 0 through 3, which are served by the bottom connector on the rear edge of the card.

(The two connectors on the rear edge of the card are labelled with the numbers of the ports they serve. Each connector can be attached to a fantail that provides four I/O ports.)

Figure 4-2 : Interface jumpers on the LS access card. The card shown is configured to provide RS-449/X.21 interfaces for ports 4 - 7 and V.35 interfaces for ports 0 - 3.

h3272.gif


Turning Off the Transmit Laser on the OC-3c Access Card

Single-mode ports on the OC-3c access card have transmit lasers whose emissions can be dangerous to the eye. When a single-mode port is not being used, we recommend that you turn off its transmit laser. Turning off the laser turns on the port's green Safe LED. (When the LED is on, you know that it's safe to look at the connector for that port.)

fig_17.gif Warning Do not look directly into the connectors on a single mode OC-3c access card whose Safe LED is turned off. The transmit laser can damage your eyes.

The toggle switch has two positions:

  • One switch position turns the port's transmit laser off and turns the green Safe LED on.

  • The other switch position turns the port's transmit laser on and turns the Safe LED off.

To turn off the laser, move the toggle switch, shown in Figure 4-3. The green Safe LED comes on to tell you the laser is off.

fig_2.gif Caution If you turn off the transmit laser while the port is passing traffic, the flow of traffic will halt.

Figure 4-3 : Detail of single mode OC-3c card's bulkhead showing Safe LED and transmit laser's toggle switch.

h3274.gif


Component Configuration

Guidelines in this section help you determine how many of each major component (NPs, switch cards, line cards, power supplies) can be installed in a single LightStream chassis. You'll find this information useful if you're considering adding line cards or redundancy to your system, or if you want to rearrange the cards in a chassis.


NPs, Switch Cards, Line Cards, Disks, and Power Trays

The number of NPs, switch cards, and bulk power trays installed in a LightStream chassis depends on whether redundancy is desired. A fully redundant system has two NPs (each with its own disk assembly, including a hard disk and floppy drive), two switch cards, and two power trays.

Some LightStream switches are partially redundant; they have redundancy in some subsystems, and not in others. For example, a partially redundant system might have two power trays and two NPs, but only one switch card.

A nonredundant system has only one NP, one switch card, and one power tray.

The two power trays in a redundant system load-share, and if either one fails, the other can power the entire switch. NPs and switch cards do not load-share; only one card of each type is active at any given time. The second NP and switch card serve as hot spares. If an active NP or switch card fails, its backup takes over automatically.

Figure 4-4 : Detail of front of LightStream chassis showing slot numbers.

h3275.gif

The list below outlines the types of cards that can be installed in each slot in the front of a LightStream chassis. Figure 4-4 shows the slot numbers.

  • Slot 1---NP only.

  • Slot 2 ---NP in a redundant configuration; any line
    card in a nonredundant configuration.

  • Slots 3 through 10---Line cards only.

  • Slots A & B---Switch cards only.

Filler panels are provided to cover empty slots.

fig_3.gif Caution Although function cards (NPs and line cards) and switch cards are the same size, their midplane connectors are completely different. Do not attempt to place a function card in a switch card slot or vice versa. Attempts to do so may result in damage to the connectors on the midplane or on the cards.


Access Cards and Console/Modem Assemblies

Up to 10 I/O access cards and two console/modem assemblies can be installed in the back of a LightStream chassis. The type and placement of cards in the back of the chassis is determined by the cards installed in the front. Behind each NP and line card, an access card of the correct type must be installed. (See Table 2-1 matching access cards to function cards.) If there is a mismatch between the function card and access card in the same slot, the cards will not power up. A console/modem assembly must be installed behind each switch card.


Blowers

Every LightStream switch has two blowers. (Blowers are located at the top of the chassis; one is accessible from the front, one from the rear.) If one fails, a single blower can, under normal conditions, cool the entire chassis. However, a failed blower should be replaced as soon as possible.


Installing Redundant Components

This section outlines the requirements for installing redundant components (switch cards, NP modules, and power trays) in an existing system.

  • Switch card

  • To install a second switch card, insert the new card into the unoccupied switch card slot (A or B) in the center of the chassis. To install the switch card's console/modem assembly, attach the connector on the ribbon cable to the mating connector on the midplane, then screw the bulkhead into the chassis. This procedure does not disrupt the operation of the system.

  • NP module

  • To install a second NP module (consisting of an NP card, an NP access card, and a disk assembly), follow the steps below. This procedure does not disrupt the operation of the system.

Step 1 Install the NP, the NP access card, and the disk assembly as described in their respective replacement procedures in "Replacing FRUs" section.

Step 2 Follow the instructions in "Software Installation" section to load software for the new NP.

Step 3 Follow the instructions in "Installing a LightStream Switch" section to perform basic configuration for the new NP.

Step 4 Use the LightStream configurator to add the new NP to the configuration, then load the updated configuration into the node.

  • AC power tray

To install a second AC power tray, simply insert the new tray into the unoccupied slot at the rear of the chassis. This procedure does not disrupt the operation of the system.

  • DC power tray

To install a second DC power tray, insert the tray into the unoccupied slot at the rear of the chassis, then follow the DC wiring procedure starting in "Wiring a DC-Powered System" section. This procedure requires you to turn off the system's power. For instructions on shutting down the system, see "Performing an Orderly Shutdown" section.
Software Installation

Software Installation

Overview · Installing Software on a LightStream Switch

This chapter explains how to install LightStream software onto the hard disk(s) of a LightStream 2020 enterprise ATM switch.


Note If you are upgrading the software on an operational system, do not use the instructions in this chapter. See the release notes you received with the upgrade.


Overview

Each LightStream switch is shipped with all system and application software installed on its hard disk(s). A copy of the software is included on a set of floppy diskettes accompanying the hardware. Installing software from floppies is not part of a routine system installation. It is necessary only when a problem or the installation or replacement of new hardware occurs. For example, you must install software:

  • when the hard disk is blank---because you have installed a new network processor (NP) and disk assembly, for example, or because you had to replace a failed disk assembly

  • when you are installing a second NP module (NP, NP access card, and disk assembly) in a system that already has an operating NP (See "Installing Redundant Components" section for an outline of this task.)

  • when a software problem or operator error has corrupted or destroyed files on the hard disk(s)

Each system is shipped with several sets of software diskettes, each set containing one or more diskettes. In addition, software for the management workstation is provided on a quarter-inch tape. (The procedure for installing management software is outlined in"Installing Management Software on A Sun" section.) The diskette sets are described below.

  • The boot diskette set contains a minimal file system, the Lynx operating system kernel, and a subset of Lynx utilities.

  • The system diskette set contains the LynxOS operating system and a larger set of utilities.

  • The application diskette set contains LightStream application software, comprised of executable files, log files, and configuration files.

  • The firmware diskette set contains microcode programs that are downloaded to the NP and Flash EEPROM images for the NP and line cards.

  • The diagnostic diskette set contains stand-alone diagnostics for LightStream hardware.

You may also receive:

  • One or more update diskettes. If present, they contain software released since the last major software revision.

Before installing the software, ensure that the write protection switch on each diskette is set to "protect" or "read only."


Installing Software on a LightStream Switch

Follow the procedures in this section to transfer LightStream software from floppy diskettes to the hard disk(s) in your LightStream switch. If your system has two NPs, you must install the software on each NP's hard disk. (It's important for the active and backup NPs in the same node to have the same software.)

During the installation process, the system prompts you for basic configuration information such as the date, IP and Ethernet IP addresses. The information you must enter is listed in "Basic Configuration" section.

The installation takes about 25 minutes per NP.


About Wiping the Hard Disk

To ensure a clean installation, this section includes a procedure for reformatting the hard disk. Reformatting destroys all existing files on the disk.


Upgrading Software on a Running System

If you are upgrading an operating LightStream system to a new software release, follow the instructions in the release notes you received with the software. Those instructions will preserve site-specific information on your system, such as configuration files. The procedures in this chapter tell you how to clear the hard disk and perform a full software installation; they are not designed for upgrades.


Command Glossary

The procedures in this section use the following commands:

  • `. single open quote, period) Breaks a terminal connection to an NP and returns the TCS hub prompt.

  • reset <slot#>TCS command that resets the card in the specified slot.

  • connect <slot#> CS command that establishes a connection to the card in the specified slot.

  • freshdisk Reformats the hard disk, divides it into four partitions, builds file systems, and copies files from the boot diskette to the hard disk.

  • reboot -n Sends the NP into a boot sequence with instructions to prompt you for information about the device, executable and options to use for the boot procedure.

  • swinstall Copies files from software distribution diskettes to the hard disk.

  • swchgver Activates newly installed application software, reboots the NP, and starts a basic configuration script that prompts you for IP addresses and other information.


Note Procedures in this section assume that you have already connected a terminal or established a modem connection to the LightStream switch (as described in "Attaching a Terminal and Connecting to an NP" section). A telnet connection will not work for this purpose.


Connecting to an NP

Follow this procedure to establish a connection to the NP you want to load, and reboot it in preparation for loading the software.

Step 1 If your prompt says TCS hub<<A>> or TCS hub<<B>>, or if the system is powered down, skip to step. If your prompt says bash# or single-user$, type ` . to get to the TCS hub.

Step 2 Power up the system or use the reset <slot#> command at the TCS hub prompt to reset the NP in a running node. (The NPs reside in slots 1 and 2.) This example assumes that you're resetting the NP in slot 1:


TCS hub<<A>> reset 1

Step 3 Quickly use the connect <slot#> command to connect to the NP where you want to install the software. This example assumes that you're connecting to the NP in slot 1:


TCS hub<<A>> connect 1

Step 4 When you connect, the NP may still be running POST. Then the following countdown appears on your screen. Press [Return] immediately.


System will boot in 5 seconds: hit <RETURN> to interrupt.
System will boot in 4 seconds: hit <RETURN> to interrupt.
System will boot in 3 seconds: hit <RETURN> to interrupt.
System will boot in 2 seconds: hit <RETURN> to interrupt.
System will boot in 1 seconds: hit <RETURN> to interrupt.


Note Note: If the system is already booting, type ` . to get to the TCS hub again, then use the reset <slot#> command as described in step. Repeat steps and.

Step 5 Insert the boot diskette into the disk drive of the active NP. (Hold the disk with the label facing up and insert the edge with the metal slider first.)

Step 6 The following menu appears on the screen:


Network Processor bootstrap (version 1.3: Sep 13 1993)
1-Boot ATM switch application
2-Begin full installation with boot from floppy disk
3-List contents of hard disk root directory
4-List contents of floppy disk root directory
5-Boot system single-user
6-Escape to full set of bootstrap options
7-Extended help
Option>

At the Option> prompt, type 2 and press [Return].

The system takes about 4 minutes to boot, then displays the single-user$ prompt.

fig_4.gif

Caution Do not remove the boot diskette from the drive until instructed to do so. The NP is now using the boot diskette as its root file system, and will not function properly if the diskette is removed before rebooting.


Reformatting the Disk and Loading the Boot Diskette

Follow the steps below to reformat the hard disk, run the date and time script, and load the boot diskette.

fig_5.gif Caution This procedure destroys the contents of the hard disk.

Step 1 To erase the hard disk and start a script that prompts you for the date and time, use the freshdisk command:


single-user$ freshdisk

Step 2 The system prompts you to enter time and date information:


Starting the Network Processor "/bin/freshdisk" procedure

Step 1: Setting the system date

Set the daylight savings method to one of the following values:
0 (no daylight savings)
1 (USA)
2 (Australia)
3 (East Europe)
4 (Central Europe)
5 (Western Europe)
Daylight savings method: 1


Note Note: Indicate the daylight savings method that is followed at your site, regardless of whether daylight savings is actually in effect at the time of installation.


Set the timezone by specifying the number of minutes west of Greenwich
Examples:

300 (US Eastern Time)
360 (US Central Time)
420 (US Mountain Time)
480 (US Pacific Time)
Minutes west of Greenwich, England: 300

At the prompt, enter a new date or press <RETURN> to continue.

The date is set to Tue May 4 16:04:57 EDT 1994
Enter date (yymmddhhmm[.ss]: 9405041607

At the prompt, enter a new date or press <RETURN> to continue.
The date is set to Tue May 4 16:07:00 EDT 1994
Enter date (yymmddhhmm[.ss]: [Return]

(The second Enter date prompt is for confirmation.)

Step 3 Next, the system prepares to reformat the hard disk by asking you for confirmation:

Step 2: Formatting and partitioning the target disk drive 

"/bin/freshdisk" will create new file systems on "/dev/sd0" and then copy to "/dev/sd0" 
a minimal set of utilities so that a complete system can be loaded from a tar-format 
source. NOTE that any existing data on "/dev/sd0" will be completely destroyed. 

Do you want to continue?  Y or N (default is No) Y

The system proceeds to reformat the hard disk, divide it into four partitions, build file systems, and copy files from the floppy to the hard disk. The whole process takes about 4 minutes. You'll see this on the screen:

Starting format and partitioning at Tue May 4 16:07:06 EDT 1994 
Building a file system on /dev/sd0a 
Building a file system on /dev/sd0b 
Building a file system on /dev/sd0c 
Building a file system on /dev/sd0d 

Step 3: Making mount points for file systems and mounting them

Step 4: Copying files to the target disk
Starting file copy at Tue May 4 16:08:51 EDT 1994
Finished file copy at Tue May 4 16:10:45 EDT 1994

Step 5: Unmount the target file systems
"/bin/freshdisk" finished at Tue May 4 16:10:55 EDT 1994.

To continue installing system and application software, enter "reboot -n" and then run 
the "swinstall" utility.

Step 4 At the single-user$ prompt, reboot the NP by entering:

single-user$  reboot -n

Step 5 The following menu appears on the screen:


Network Processor bootstrap (version 1.3: Sep 13 1994)
1-Boot ATM switch application
2-Begin full installation with boot from floppy disk
3-List contents of hard disk root directory
4-List contents of floppy disk root directory
5-Boot system single-user
6-Escape to full set of bootstrap options
7-Extended help
Option>

At the Option> prompt, type 5 and press [Return].

Step 6 The system boots from the hard disk in about 10 seconds, then displays the single-user$ prompt.

Step 7 If you're using the boot diskette, press the button on the floppy drive to eject it.

Continue to the next section.


Loading the Software

This section tells you how to install software from floppy diskettes to the hard disk, and what to do afterwards.


Note If you are upgrading the software in an operating node, use the installation procedure in the release notes. Do not use the procedure given here.


NP States

There are three possible states for an NP whose power is on:

  • Active:

  • Application software is up and providing network management services for the system, e.g. handling network management requests and circuit set-up. This state can occur in any system.

  • Standby:

  • Application software is up, but only monitors the active NP unless the active NP fails and this standby NP must take over. This state occurs only in a redundant system.

  • Inert:

  • Application software is not running or is inactive (disabled). Diagnostics or LynxOS may be running, or the card may be waiting for input at a boot prompt. This state can occur in any system.

The NP on which you perform the Loading Procedure, below, must be in the inert state. If you have followed the previous procedures in this chapter, which leave the NP in single-user mode, the NP will be inert. (If there is a second NP in the chassis, it can be in any state.)


Loading Procedure

This procedure loads the software onto the hard disk, starting with the set of System diskettes.

Step 1 Put System Disk 1 into the floppy disk drive and type:


single-user$ swinstall

The system responds:

Insert the first installation diskette and press <RETURN>

When you press [Return], the swinstall script copies the system distribution files onto the hard disk. The script prompts you to insert the remaining System diskettes and displays progress messages. When the single-user$ prompt reappears, you can remove the last System diskette from the drive.

Step 2 Use the swinstall command to install software from the remaining diskette sets. (You must re-enter the command for each set.) The diskettes in each series are numbered; always insert diskette number 1 first. Install the remaining software in the following order:

  • Applications

  • Firmware

  • Diagnostics

  • Update diskettes, if any are provided (check for additional installation instructions or release notes provided with updates)

Step 3 At the prompt, type the swchgver command, which activates the newly installed software, copies new images to the flash EEPROMs on the function cards if needed and then resets the line cards, and reboots the NP. If there is another NP in this chassis, and it is active (so that the chassis is operational), use the switches -nolinecardreset and -noflashupdate. The switches prevent the execution of swchgver on this inert NP from disrupting the rest of your system.

The commands and their output are shown below.

For the case of a second NP in a system that is operating:

single-user$ swchgver -nolinecardreset -noflashupdate


Rebooting the network processor.

For the first of two inert NPs being installed or for a system with a single NP:

single-user$ swchgver
Forcing reset of line cards.

Checking and downloading files for standby network processor.

Checking and downloading FLASH memory for all function cards.

Rebooting the network processor.


Note Note: swchgver usually takes about a minute to run, but may take up to 75 minutes if flash images need to be loaded into all 10 function cards in a fully loaded system. (Flash loading takes about 7.5 minutes per card.) While a flash image is being loaded into a card, the card's yellow FLT LED illuminates.

Step 4 The bootstrap sequence and basic configuration procedure are described in "Installing a LightStream Switch" section. Turn to the section entitled "Entering Configuration Data" and follow the instructions there. When you complete basic configuration, return to step 5 below for instructions on how to proceed.

Step 5 Find the best description of your situation in the table below and proceed as indicated.

Number of NPs What You've Already Done What to Do Now
1 Installed software and performed basic configuration Use the LightStream configurator to download a full configuration to this node. Refer to the LightStream 2020 Configuration Guide for instructions on using the configurator.
2,
both need
software
Installed software and performed basic configuration on the first NP Return to the procedure "Connecting to an NP" section. For the second NP, repeat all steps from "Connecting to an NP" section.
2,
both need
software
Installed software and performed basic configuration on both NPs Use the LightStream configurator to load a full configuration into this node. Refer to the LightStream 2020 Configuration Guide for instructions on using the configurator.
2,
only one needs software
Installed software and performed basic configuration Stop here---your installation is complete.
1
upgrading
to 2
Installed software on the second (new) NP and performed basic configuration Use the LightStream configurator to add the new NP to the configuration, and then load the updated configuration into this node. Refer to the LightStream 2020 Configuration Guide for instructions on using the configurator.
Hardware Troubleshooting

Hardware Troubleshooting

Overview · Troubleshooting · Using the Diagnostic Software

Read this chapter to learn how to use diagnostics and other methods to isolate faults in LightStream 2020 enterprise ATM switches.

fig_11.gif Caution Do not swap one line card for another unless you're sure that the cards are of the same type. Most line cards can be configured as either edge or trunk cards. You can't determine by looking at a card whether it's an edge or a trunk; check by using the show card command in CLI.

fig_18.gif Caution Before removing any components from the chassis, read the safety instructions in "Electrostatic Discharge (ESD) Protection" section. If you handle components without taking proper ESD precautions, you may damage the system.


Overview

This chapter will help you isolate problems in a LightStream switch to a single field-replaceable unit (FRU), such as a line card, blower, or power supply. Once you've identified the faulty FRU, refer to "Replacing FRUs" section for instructions on removing and replacing it.

This section briefly describes three methods of identifying problems in a LightStream switch:

  • Power-on self test (POST) diagnostics (run by the system)

  • General troubleshooting

  • Hardware diagnostics (run by you)

POST diagnostics are described below, and instructions for general troubleshooting and running hardware diagnostics are provided later in this chapter.


Power-On Self Tests

LightStream's power-on self test (POST) diagnostics are the first line of defense for identifying hardware problems. POST runs on each card whenever the system or the slot is powered up or when the card is reset; it takes one minute or less. There are POSTs for the following components:

  • NP

  • Switch card

  • Low-speed line card

  • Medium-speed line card

  • Cell line card

  • Packet line card

If a card passes POST, the green RDY LED on its front bulkhead turns on. If a card fails POST, its yellow FLT LED turns on. To display POST results, use one of these commands:

  • In TCS: show <slot#> post

  • In CLI: show tcs <slot#> state

In the resulting display, look at the POST: line and the Application: line. If the Application: line says DISABLED, you may be able to correct the problem by enabling (activating) the card. See the LightStream 2020 Operations Guide for instructions.


Note The FLT LED doesn't necessarily indicate a POST failure or a disabled application; the LED stays on under other conditions as well. (See Table 2-3.) If the LED is on but the POST result is OK, try operating the card.

Some additional information on POST and the LEDs appears in the section "Powering Up".

If a card fails POST, review the troubleshooting tips for the card in question in the "Troubleshooting" section. In most cases, you should also run the hardware diagnostics to confirm that a problem exists. (Hardware diagnostics are described briefly below; the instructions for running them start on "Using the Diagnostic Software" section.)


Hardware Diagnostics

LightStream's hardware diagnostics are used to discover the location of hardware faults. You can run diagnostics on a line card or a backup NP while the rest of the system continues to operate. Unless you're testing the single NP in a non-redundant system, only the card under test comes out of service during the diagnostics. To run diagnostics on the active NP in a redundant system, you first force the active and backup cards to switch roles. To run diagnostics on the only NP in a system, you must take the system off line.

Note that certain tests should not be run while the system is operating, and other restrictions may apply as well. See the "Test Notes" section.

You can run diagnostics either remotely over a telnet or modem connection, or locally from a console connected to the console port. (The exceptional case is running diagnostics on the sole NP in a non-redundant system. This task requires a local console.)

The diagnostics reside on each NP's hard disk. Several parts of the system can be tested:

  • NP diagnostics test the NP card, the associated disk drives, and the NP access card

  • LSC diagnostics test low-speed line cards and associated access cards

  • MSC diagnostics test medium-speed line cards and associated access cards

  • PCL diagnostics test packet line cards and associated access cards

  • CLC diagnostics test cell line cards and associated access cards

Procedures for running the diagnostics appear in the section "Using the Diagnostic Software".


Troubleshooting

General troubleshooting tasks can be performed before, after, instead of, or in addition to running the diagnostic software. These tasks provide additional ways of identifying faults in NPs, switch cards, and line cards. They are the only way to identify faults in subsystems that are not covered by POST or diagnostics, such as blowers and power supplies. The section that follows describes general troubleshooting tasks.


Troubleshooting

Use the information in this section to help isolate faults in a LightStream switch. This section is to be used in conjunction with the diagnostic software. Some of these procedures require you to be in the same room with the faulty system; others can be performed remotely.


When the Problem Won't Go Away

If your LightStream switch doesn't operate properly after you've tried the suggestions below, call your customer support representative.


Connection Problems

Before resorting to the diagnostics or to complex troubleshooting, check simple things:

  • Are the power cord and data cables firmly connected at both ends?

  • Are all the cards (front and back of the chassis) firmly seated in the midplane and screwed securely to the chassis?

  • Are the power supplies, blowers and disk drives properly connected and screwed securely to the chassis?


Configuration Problems

If you're bringing up a new LightStream node, a new card, or a new kind of port for the first time, a likely source of problems is configuration. The problem may exist at either the LightStream side or the remote side of the connection; be sure to check both configurations. Refer to the LightStream 2020 Configuration Guide for information on LightStream software configuration.


Troubleshooting Switch Cards

The symptoms listed below indicate problems that may require replacement of a switch card. Switch card replacement instructions in "Replacing a Switch Card" section.

  • POST fails (the FLT LED on the card's bulkhead stays lit and checking POST results as directed in "Power-On Self Tests" section shows a problem)

  • The switch card fails even when moved to the other slot. (If the card fails in one slot but operates properly in the other, suspect a problem with the midplane.)

  • Diagnostics that loop data through the switch card fail on two or more function cards


Note To test the switch card's switching fabric, do one or both of the following:

    • Run tests that loop data through the switch card on NPs and/or line cards in every slot in the chassis.

    • Use the test_node utility, which loops data through the switching fabric from all low-speed line card interfaces and from all trunk interfaces. (The utility does not test other interfaces in this fashion.) test_node is described in the LightStream 2020 Command and Attribute Reference Guide.

  • The card fails to come up or to select a TCS hub

  • Traffic isn't passing through the system, but the line cards and NPs are OK

  • The system has data transmission problems that don't go away when you replace the FRU that appears to be failing, or that occur in several FRUs simultaneously. (Problems of this type may also indicate a faulty midplane.)

  • The switch card cannot be fully inserted into its slot. This probably indicates damage to the connectors on either the card or the midplane. Inspect all the connectors; if you find damage, replace the card or the midplane.


Note If the switch card's fault (FLT) LED is lit, see Table 2-3 for a list of possible causes and solutions.


Troubleshooting NPs

If the NP fails to power up, check its access card at the back of the chassis. An NP requires an NP access card (NPAC); it can't operate with any other kind of access card.


Note If the NP's fault (FLT) LED is lit, see Table 2-3 for a list of possible causes and solutions.

Replace the NP if any of the following applies. NP replacement instructions begin "Replacing a Network Processor card" section.

  • POST fails (the FLT LED on the card's bulkhead stays lit and checking POST results as directed in "Power-On Self Tests" section shows a problem)

  • The NP fails even when moved to the other slot. (If the card fails in one slot but operates properly in the other, suspect a problem with the midplane.)

  • Hardware diagnostics fail

  • You can't get to CLI in order to run the diagnostics

  • The card fails to load

  • The system fails to boot

  • The NP or its access card cannot be fully inserted into its slot. This probably indicates damage to the connectors on either the card or the midplane. Inspect all the connectors; if you find damage, replace the card or the midplane.


Troubleshooting Interface Modules

This section provides information on how to isolate faults in interface modules. (An interface module consists of a line card and its access card.)


Note If the line card's fault (FLT) LED is lit, see Table 2-3 for a list of possible causes and solutions.

The following will help you distinguish between problems in a line card and problems in an access card.

  • Run the manufacturing diagnostics and read the "How to Proceed" section following the procedure for the line card in question. Information is provided on which tests check the access card.

  • If you have another line card of the same type as the one that seems to be malfunctioning, swap the two cards. If the second card has the same problem as the first one, the access card is probably at fault. If the second card works properly, the first line card is likely to be the source of the problem. (You can make a similar deduction by swapping access cards.)

  • Faults in the line card are more common than faults in the access card. If you can't determine which card is causing a problem, try replacing the line card.

  • Use the looping tests described in the LightStream 2020 Administration Guide.

If you're having trouble bringing up a line card, check the following:

  • If the line card will not power up, look at the back of the chassis. The access card behind the line card must be compatible with the line card. For example, a low-speed line card can't operate with a medium-speed access card; it requires a low-speed access card. See Table 2-1 for information on compatibility between line cards and access cards.

  • If an FDDI access card will not pass traffic, make sure the FDDI cables for each port are attached to the proper connectors. If you're not sure, try reversing the cables on the A and B connectors. (If the cables are properly keyed, you will not be able to disconnect them.)

  • If you're bringing up a low-speed line card, make sure the interface jumpers on the access card are set to match the physical interfaces marked on the fantails (V.35, X.21 or RS-449).

  • If you're having signal quality problems with an FDDI or OC-3c access card, check the following:

  • If your cable is too long or if your signal passes through too many connectors, you will suffer from signal attenuation. See the "Access Cards" section for information on allowable signal loss.

  • If your connectors are dirty or damaged (e.g. scratched on the optical surface), you may experience signal attenuation or data loss. If a connector on the access card is dirty, clean it by blowing compressed air from a distance of 3 inches (8 centimeters). The connectors on most cables may be cleaned with a cotton swab covered with an alcohol-moistened, lint-free wipe. Check the cable manufacturer's cleaning instructions.


Note To prevent complications from dirty or damaged connectors, keep any unused optical connector covered with its protective cap.

The following conditions may require replacement of either a line card or its access card.

  • POST fails (the FLT LED on the line card's bulkhead stays lit and checking POST results as directed in "Power-On Self Tests" section shows a problem)

  • A card fails even when moved to another slot. (When you move a line card, be sure to pair it with an appropriate access card; likewise, when you move an access card, pair it with an appropriate line card.)

  • Hardware diagnostics fail

  • The line card fails to load

  • The line card hangs repeatedly

  • The line card or access card cannot be fully inserted into its slot. This probably indicates damage to the connectors on either the card or the midplane. Inspect all the connectors; if you find damage, replace the card or the midplane.

  • Two or more ports are passing no traffic, dropping many cells, or flapping---coming up and down repeatedly. (If only one port has symptoms, suspect a problem with the line, the external DSU/CSU if one is present, the access card, or the remote device. The looping tests described in the LightStream 2020 Administration Guide may help to isolate the problem.)


Troubleshooting Blowers

The following conditions indicate failure of a blower. See "Replacing a Blower" section for replacement instructions.

  • The temperature on one or more cards is out of the recommended range. This is indicated by the appearance of the temperature trap, NPTMM_6. (To display the temperatures on a particular card, use the CLI command show tcs <slot#> or the TCS command show <slot#> temperature.) If you detect a temperature problem, confirm the source of the problem as described below before replacing a blower. If you have an out-of-range temperature but the blowers are working, make sure the chassis is properly closed, as described in "Closing the Chassis" section, and that vents in the chassis and the rack panels are not blocked. Also check the temperature in the system area; it should not exceed 104° F (40° C).

  • The system is powered on, but the blower is not turning, making noise, or exhausting air. Problems in the rear blower are easier to detect because of the holes in the cover. Remove the front blower cover to examine the front blower. Check the blowers carefully. A blower that appears to be turning on its own may be moving due to the breeze created by the other blower.

  • The system is powered on, but the blower's green LED is off. The LED indicates that the blower is turning at a rate of at least 1500 rotations per minute. You can see the LED through the holes in the rear blower cover; you must remove the blower cover to see the front blower's LED.


Troubleshooting Bulk Power Trays

In a system with one power tray, no power will be present if the power tray is faulty. Suspect a problem with the power tray if cycling the system's power has no effect.

A system with two power trays can operate normally when only one is working; if you suspect a problem, use the CLI command show chassis powersupply. The display for a healthy dual-tray system is shown below. (In a system with only one power tray, both lines for the unused slot will read "Empty.")

cli> show chassis powersupply 
Power Supply A:           Good 
Power Supply A Type:      1200W AC Power Supply 
Power Supply B:           Good 
Power Supply B Type:      1200W AC Power Supply 

cli> 

If a status line for an occupied slot says anything other than Good, check the faulty power tray to see that it's properly connected. (Power tray slot A is on top; slot B is on the bottom.) If the problem persists, replace the power tray as described in "Replacing a Power Tray" section.


Troubleshooting Disk Assemblies

Disk assembly problems are indicated by the following symptoms:

  • The node fails to boot

  • Files become corrupted

  • In a system with two NPs, the primary NP appears to fail and the backup takes over---but the failed NP may pass diagnostics

  • The system fails to read or write floppy diskettes (In the case of a write failure, check the write protect switch on the diskette.)

If a disk problem is indicated, check the disk assembly connector for bent or broken pins. To do so, remove the disk assembly as described in "Replacing a Disk Assembly" section. Then examine the 64-pin male connector at the back of the slot. If any pins are bent or damaged, they are the likely source of the problem.

If the connector is in good condition, the problem may be in the disk assembly itself, or in the software on the disk. If you suspect a problem with the software, you should be able to correct it by reinstalling the software. If that doesn't solve the problem, or if you believe the problem lies in the hardware, see "Replacing a Disk Assembly" section for instructions on replacing the disk assembly.


Troubleshooting the Midplane

Midplane problems are indicated by the following symptoms. Midplane replacement instructions begin in "Replacing The Midplane" section.

  • A card fails in one slot but operates normally in other slots.

  • Data transmission problems that don't go away when you replace the FRU that appears to be failing, or that occur in several FRUs simultaneously. (Problems of this type may also indicate a faulty switch card.)

  • Failure of a card to fully insert into its slot. This probably indicates damage to the connectors on either the card or the midplane. Inspect all the connectors; if you find damage, replace the card or the midplane.

  • Electrical failure or electrical problems that don't go away when you replace the FRU that appears to be failing, or that occur in several FRUs simultaneously. Electrical problems include out-of-range voltages, indicated by trap NPTMM_6. You can check card voltages in the CLI using the command show tcs <slot#> voltage, as shown below, or from TCS using the command show <slot#> voltage all.
cli> show tcs 1 voltage 
Slot  1 Voltage: 
TCS VCC Voltage:        5.053 (Normal Range: 4.614 / 5.371)
VCC Voltage:            5.029 (Normal Range: 4.370 / 5.615)
SCSI Voltage:           4.833 (Normal Range: 4.614 / 5.371)
VPP Voltage*:           0.000 (Normal Range: 11.067 / 12.858)
*VPP Voltage Is Valid Only During FLASH Initialization
cli> 

  • A trap reporting a chassis ID mismatch between the two switch cards. This could mean burnout of the EEPROMs on the midplane. Log in as root or fldsup and use the command sysver -mp to check the chassis IDs. (Write down the chassis IDs, which are in hex.) Go to TCS to reset one or both IDs if necessary; instructions can be found in "Writing the Chassis ID to the New EEPROMs" section. (In some cases of EEPROM burnout, the switch will not come up at all---in that case, call your support representative.)


Using the Diagnostic Software

This section tells you how to run diagnostics on specified cards in a LightStream switch. You can access the diagnostics in three ways:

  • Using CLI's test command, you can run field diagnostics and view the results. This is the quickest and easiest approach and is adequate for most purposes. Note, however, that you can use the test command only on MSCs, LSCs, or on the backup NP in a redundant system; it cannot be used on a PLC, a CLC, or a lone NP.

  • Using CLI's test -m command, you can run manufacturing diagnostics on a line card. The manufacturing diagnostics have a command-driven interface that gives you more control over which tests you run and how you run them; however, the tests are the same ones you run in field diagnostics, and they have the same restrictions: they cannot be used on a PLC, a CLC, or a lone NP.

  • Using a manual loading procedure, you can run manufacturing diagnostics on any card. This is the only way to test a PLC, a CLC, or the single NP in a nonredundant system.

The rest of this section is arranged into five subsections:

  • Running Field Diagnostics explains how to use the test command in CLI to run tests on a specified card and view the results.

  • Loading Manufacturing Diagnostics explains how to load the manufacturing diagnostics software into a specified card.

  • Running Manufacturing Diagnostics explains how to run the manufacturing diagnostics on a specified card.

  • Test Notes describes special requirements for certain tests.

  • Command Reference lists and describes commands you can use in the manufacturing diagnostics.


Running Field Diagnostics

This section tells you how to use the test command in CLI to run field diagnostics on a line card in a specified slot or on a backup NP.


Note You cannot use the test command to run diagnostics on a cell line card (OC-3c interfaces), a packet line card (FDDI and Ethernet interfaces), or an NP. Instead, you must load the diagnostics manually, and use the manufacturing diagnostic interface. The procedures describing this start in "Loading Manufacturing Diagnostics" section.

The first subsection below describes the switches you can use with the test command. The second subsection explains how to use the test command to test a line card.


The test Command

The syntax of the CLI test command is as follows:

test <slot#> [-lpsxrm] [-F<filename>]

where

  • slot# is the number of the slot holding the card you wish to test. Line cards may be present in slots 2 through 10.

  • -l tuns loopback tests. This switch is typically used only by customer service representatives. Do not use this switch unless you have looping plugs installed. For lists of the tests run on each card by the -l switch, see the "Test Notes" section.

  • -p polls the diagnostics every minute so you can monitor the progress of the tests while they run. (Some test numbers are displayed, but some are skipped---this is normal.) When the tests complete, and you are returned to CLI.

  • -s for use by customer support personnel only. Runs tests that loop data through the switch card.

  • -x runs extended memory tests. These can add as much as 40 minutes to the running time of the diagnostics. For lists of the tests run on each card by the -x switch, see the "Test Notes" section.

  • -r retrieves and displays the status of the diagnostics. (Does not work if you ran test with -m switch.)

  • -m invokes the manufacturing diagnostics, giving you access to a command-driven interface. This interface is described in the "Running Manufacturing Diagnostics" section. The -m switch has two special requirements:

    • Before executing test -m, you must set the card to be tested to testing mode. To do so, use the CLI command set card <slot#> testing.

    • To return from the diagnostic interface to the CLI, type ~q.

  • -Ffilename loads diagnostics from the specified file instead of from the default file for the card. The file you specify must be a moved or renamed copy of the default file, and you must match the file to the card type. The default diagnostics files in each LightStream switch reside on the NP's hard disk in the directory /usr/diag:

  • diag_ls1.aout---Low-speed line card diagnostics

  • diag_ms1.aout---Medium-speed line card diagnostics

If you run the test command with no switches, diagnostics are loaded and run on the specified card in the background, and your CLI prompt returns so you can perform other tasks. The diagnostics complete in a minimum of 5 minutes. To display their status, type test <slot#> -r.


Using the test Command on a Line Card

This procedure explains how to use the test command in CLI to run diagnostics on a line card. CLI must be running on the system you plan to test.


Note The test command does not work on cell and packet line cards (OC-3c, FDDI and Ethernet interfaces). To test these cards, you must load the diagnostics manually, and use the manufacturing diagnostic interface. The procedures describing this start in "Loading Manufacturing Diagnostics" section.

Step 1 If the card you plan to test is passing traffic, warn anyone who will be affected that you are taking it out of service to run diagnostics.

Step 2 Log in to CLI.

Step 3 Enter protected mode:


*cli> protected

You will be prompted to enter the protected mode password.

Step 4 Use the set command to set the SNMP community to a community with write privileges. (If you don't know the appropriate community name for this system, contact the network administrator.) The example below gives the syntax of the command; replace write-community with a real community name.

*cli>  set snmp community <write-community>

Step 5 Issue the test command. (Replace the 4 in the example below with the number of the card you want to test, and add any switches you need.)

*cli> test 4

Step 6 Wait at least 15 minutes for the diagnostics to load and run. If you used the -x switch with test, wait at least 30 minutes. Then use the following command to retrieve test results, replacing the 4 with the slot number of the card you just tested:

*cli> test 4 -r

The result indicate that the tests passed, that they failed, or that they're still running. If the last case, wait a few minutes for the tests to finish and type test 4 -r again.

Step 7 If the tests passed, the card is OK---skip to the next step. If the tests failed, you should replace the card; (In the case of failure, you should also record the list of test numbers and error numbers displayed when you type test -r, and return this list to the repair depot along with the failed card.)

Step 8 To return a card to service after running diagnostics, use following command:

*cli> set card <slot#> active


Note Note: After you set the card back to active status, you can no longer use test -r to retrieve diagnostic results.

Step 9 Use the set command to change the SNMP community back to a read-only community. Replace read-community in the example below with the name of a read-only SNMP community.

*cli>  set snmp community <read-community>


Loading Manufacturing Diagnostics

You must use manufacturing diagnostics to test NPs, CLCs and PLCs. If you wish, you can also use them to test other line cards.

This section contains the following procedures:

  • Loading Manufacturing Diagnostics into an NP

  • Loading Manufacturing Diags into a Line Card

The diagnostic programs in each LightStream switch reside on the NP's hard disk in the directory /usr/diag. (Backup copies of the diagnostics are shipped to you on floppy diskettes; if you need to re-install them, refer to "Software Installation" section for instructions on using the swinstall script.) The following files are included:

  • diag_np1.aoutNP diagnostics

  • diag_ls1.aoutLow-speed line card diagnostics

  • diag_ms1.aoutMedium-speed line card diagnostics

  • diag_plc1.aoutPacket line card diagnostics

  • diag_clc1.aoutCell line card diagnostics


Note The /usr/diag directory also includes files of switch card diagnostics. These diagnostics are reserved for use by customer support personnel.

After loading the diagnostics, see the section "Running Manufacturing Diagnostics" for instructions on what to do next.


Loading Manufacturing Diags into an NP

This procedure explains how to load the manufacturing diagnostics into an NP. Note that this procedure requires the system under test to stop passing traffic. It also requires you to have a local console connection or a modem connection to the switch whose NP you are testing. You cannot use telnet or rlogin.

The commands used in the procedure are listed below, followed by the procedure itself.

  • reboot -n Starts the reboot sequence that will allow you to load the diagnostic software.

  • (sd0b)diag/diag_np1.aout

  • Tells the NP to load the file diag_np1.aout.

Step 1 Warn anyone who will be affected that you are taking the system off the network temporarily.

Step 2 Establish a local console connection or a modem connection to the system under test. (See "Attaching a Terminal and Connecting to an NP" section for information on terminal settings and how to determine which console port to use.)

Step 3 If the command line prompt you see does not contain the words TCS hub, type `. to get a TCS hub prompt.

Step 4 At the TCS hub prompt, use the connect <slot#> command to connect to the NP. The example below assumes that the NP is in slot 1.

TCS hub<<A>> connect 1

Step 5 When you connect, you'll see a login prompt. Log in as root or fldsup.

Step 6 Type reboot -n to enter the boot sequence. You'll see the following display:

**** LynxOS [rebooted by /bin/reboot] is down **** 

Network Processor bootstrap (version 1.3: Sep 13 1993) 
1-Boot ATM switch application 
2-Begin full installation with boot from floppy disk 
3-List contents of hard disk root directory 
4-List contents of floppy disk root directory 
5-Boot system single-user 
6-Escape to full set of bootstrap options 
7-Extended help 

Option>

Step 7 Type 6 at the prompt to escape to the bootstrap command line interpreter:

Option> 6

The following is displayed:

Network Processor bootstrap (version 1.3: Sep 13 1993)
Enter "help" for documentation on extended bootstrap options
Default:  (sd0a)lynx.os
Boot:

Step 8 At the boot prompt, enter the following command to load the diagnostic software:

Boot:  (sd0b)diag/diag_np1.aout

You'll see the following display:

booting: drive:0, partition:1, kernel:"diag/diag_np1.aout", flags:0x4201
Resetting SCSI bus
Diagnostic linked for 0x0
LOAD AT 0x0
442980+0+0
START AT 0x5000

RMeg Bit value = 0
Configuring Main Memory for 32 Megabytes


*****************************************

*  Network Processor Debug Monitor      *

*              RELEASE 1.00             *

*  Revision 1.371  (Sep  1 1993)        *

*  Type 'help' or '?' for help          *

*****************************************

NP Mfg Debug Monitor[01]->

Step 9 For instructions on executing tests in NP diagnostics, see the section "Running Manufacturing Diagnostics."

Step 10 When you finish your diagnostic session, you must reset the NP. Type `. to return to the TCS hub. Then use the command reset <slot#> to reset the NP.


Loading Manufacturing Diags into a Line Card

If you wish, you can use the manufacturing diagnostics to test medium-speed and low-speed line cards. (The test command in CLI, described earlier, is the easiest way to test MSCs and LSCs.) Use the procedure in this section to load the manufacturing diagnostics, then go on the following section, "Running Manufacturing Diagnostics," for further instructions.

As you follow the procedure below, you'll use these commands:

  • set snmp community <community>

Sets the SNMP community of the target node to community, a valid community name. You must set to a community with write privileges in order to load and run the diagnostics.

  • set card <slot#> testing

Changes the status of the card in the specified slot to testing mode. (Other valid modes are active and inactive.) When the card enters testing mode, it stops operating.

  • loadcard <slot#> <path/file name>

Loads the file specified by path/file name into the card in the specified slot. For diagnostics, use one of the /usr/diag files listed in "Loading Manufacturing Diagnostics" section.

  • connect <slot#> [diagnostic]

Establishes a terminal connection to the card in the specified slot. Use the optional argument diagnostic when you use this command to run diagnostics. (Omit diagnostic when connecting for other purposes.)

  • ~.

Used after the connect command, ~. breaks your connection with the card under test and returns you to CLI, leaving the diags still running. Use connect as described above to return to the diags.

Step 1 Log in to CLI and enter protected mode on the node to be tested.

Step 2 Use the set command to set the SNMP community to a community with write privileges. (If you don't know the appropriate community name for this system, contact the network administrator.) The example below gives the syntax of the command; replace write-community with a real community name.

*cli>  set snmp community <write-community>

Step 3 Use the set command to set the status of the card to be tested to "testing". The example below gives the syntax of the command; replace slot# with a real slot number.

*cli>  set card <slot#> testing

Step 4 Use the loadcard command to load the appropriate diagnostic program into the card to be tested. (The syntax is provided above.) Two typical loadcard commands are shown below.


*cli> loadcard 1 /usr/diag/diag_np1.aout

Loads the NP diagnostics into the card in slot 1.

*cli> loadcard 3 /usr/diag/diag_ls1.aout

Loads the LSC diagnostics into the card in slot 3.

Step 5 Use the connect command to establish a connection to the slot number (card) you want to test. For example:


*cli> connect 1 diagnostic

You'll see a banner describing the diagnostic package, followed by a command prompt. You can use the _0 command in any package to select and run a set of tests. The section "Running Manufacturing Diagnostics" provides detailed procedures for running tests.


Note If you need to return to CLI before completing your session with the diagnostics, you can toggle back and forth using the command ~. to get to CLI and connect <slot#> diagnostic to return to the diagnostics. Be sure to exit from the diagnostics when your session is finished.

Refer to the "Command Reference" section for information on commands.


Running Manufacturing Diagnostics

Read this section for information on running manufacturing diagnostics. The first subsection, Running Sets of Tests, applies to all four of the procedures that follow.


Running Sets of Tests

In each of the four diagnostics packages, commands are provided to run preselected sets of tests:

  • arun arun selects every test in the test package and runs it once. Note that arun includes some tests that you might not wish to run routinely (such as loopback tests, which require looping plugs, switch interface tests that send data to the switch card, and time-consuming memory tests). Do not use arun if the system you're testing is operating; use the appropriate procedure from the "Test Notes" section to disable the system first.

  • run run executes a subset of tests that is smaller (and much quicker) that the set run by arun. However, on NPs and line cards, run includes tests that send data to the switch card, and therefore is not suitable for use in a system that's operating. Of the commands listed here, run runs the safest set of tests, and the only one suited to run while a system is operating. The tests omitted by run are as follows:

    • In NP and LSC diagnostics: long-running memory tests, tests that require looping plugs, and tests that check the disk drives are omitted by run.

    • In MSC diagnostics: long-running memory tests and tests that require looping plugs are omitted by run.


Note If you use the sel or dsel commands, the tests executed by run may change. run executes tests that are currently selected; the test set outlined here is selected by default, but you can change it.

  • Approximate run times for run are as follows:

    • NP diagnostics: 7 minutes

    • LSC diagnostics: 12 minutes

    • MSC diagnostics: 57 minutes

    • PLC diagnostics: 8 minutes

    • CLC diagnostics: 5 minutes

  • _0, _0, which is a macro, runs a larger set of tests than arun does. It does not run loopback tests or switch interface tests that send data to the switch card. Of the commands listed here, _0 runs the safest set of tests, and the only one suited to run while a system is operating. (See "Macros" section for more information on macros.) Note that _0 is not available in CLC or PLC diagnostics.

  • Approximate run times for _0 are as follows:

    • NP diagnostics: 3 hours, 10 minutes

    • LSC diagnostics: 1 hour

    • MSC diagnostics: 57 minutes

  • _1,_1, also a macro, is identical to _0 except that it does run switch interface tests, and is therefore not suited to use in an operating system. (See "Macros" section for more information on macros.) Note that _1 is not available in CLC or PLC diagnostics.


NP Test Procedure

Use this procedure to run diagnostics on an NP card. It assumes that you have already loaded the diagnostics onto the card, as described in one of the procedures in Loading Manufacturing Diagnostics in "Loading Manufacturing Diagnostics" section.

Step 1 At the prompt, type run or _0 to run a set of tests. (See the section "Running Sets of Tests," for the differences between run and _0. run is safer.) As the tests run, the system displays the name of each test and a pass or fail indication, as shown below. (Depending on your configuration, some tests may display as "not run." This is not a problem.)


Note The screens that follow use the arun command in order to display a complete list of tests. It is recommended that you use _0 or run instead.

h3242.gif

h3243.gif

h3244.gif


Note See "Test Notes" section for notes on NP tests with special requirements.

Step 2 To run or rerun a particular test or group of tests, you can use the run command in conjunction with test numbers. For example:

diags>  run 5-15

(To display a list of tests and test numbers, use the lst all command.)

Step 3 The status command displays a message giving the status of diagnostic tests. Use status fail to get information only on tests that have failed.

Step 4 For explanations of the error codes used in the status display, use the help command in conjunction with the number of the test in question. For example,


diags> help 10


Note If you need to return to CLI before completing your session with the diagnostics, you can toggle back and forth using the command ~. to get to CLI and connect <slot#> diagnostic to return to the diagnostics. Be sure to exit from the diagnostics when your session is finished.

Step 5 If the card passes the diagnostics, return the card to active mode. First exit from the diagnostics:


diags> exit


Note If you're running diagnostics on an active NP, the exit command has no effect; you must reset the NP. You can either press the reset button on the front of the card, or type `. , then reset <slot#> to reset the NP, then connect <slot#> to reconnect to the NP. Replace <slot#> with the slot number of the card you were testing.

Step 6 When the login prompt appears, log into the node, enter CLI's protected mode, and use the set command as shown below to reset the card's status to active. Replace <slot#> with the slot number of the card you were testing.


*cli> set card <slot#> active


How to Proceed

If any tests fail, replace the card being tested.

If all tests pass but you're still experiencing a problem, test the other cards in the chassis. Replace any cards that fail diagnostics. If the problem persists, investigate causes outside the LightStream hardware, including leased lines and edge devices.


LSC Test Procedure

Use this procedure to run diagnostics on a low-speed line card. It assumes that you have already loaded the diagnostics onto the card, as described in one of the procedures in Loading Manufacturing Diagnostics in "Loading Manufacturing Diagnostics" section.

Step 1 At the prompt, type run or _0 to run a set of tests. (See the section "Running Sets of Tests" for the differences between run and _0. run is safer.) As the tests run, the system displays the name of each test and a pass or fail indication, as shown below. (Depending on your configuration, some tests may display as "not run." This is not a problem.)


Note The screens that follow use the arun command in order to display a complete list of tests. It is recommended that you use _0 or run instead.

h3245.gif

h3246.gif

h3247.gif


Note Tests flagged in the list above with (L) require looping plugs. See "LSC Tests with Special Requirements" section for details.

Step 2 To run or rerun a particular test or group of tests, you can use the run command in conjunction with test numbers. For example:


diags> run 5-15

(To display a list of tests and test numbers, use the lst all command.)

Step 3 The status command displays a message giving the status of diagnostic tests. Use status fail to get information only on tests that have failed.

Step 4 For explanations of the error codes used in the status display, use the help command in conjunction with the number of the test in question. For example,

diags>  help 10


Note If you need to return to CLI before completing your session with the diagnostics, you can toggle back and forth using the command ~. to get to CLI and connect <slot#> diagnostic to return to the diagnostics. Be sure to exit from the diagnostics when your session is finished.

Step 5 If the card passes the diagnostics, return the card to active mode. First exit from the diagnostics:

diags>  exit

Step 6 When the login prompt appears, log into the node, enter CLI's protected mode, and use the set command as shown below to reset the card's status to active. Replace <slot#> with the slot number of the card you were testing.

*cli>  set card <slot#> active


How to Proceed

If any tests fail you may need to replace either the line card being tested or its access card. Look at the numbers of the tests that failed to determine which card to replace:

  • Replace the line card if any test fails in the ranges 1 - 40, 52 - 78, and 80 - 118.


Note Tests 111-118 normally fail if you run them in an operating system using test -m; this failure does not indicate a problem and should be ignored.

  • Replace the access card if tests 41 - 51 or 79 fail.


Note Tests 43, 46 and 50 pass only when looping plugs are installed; disable or disregard them when testing without looping plugs.

If all tests pass but you're still experiencing a problem, test the other cards in the chassis. Replace any cards that fail diagnostics. If the problem persists, investigate causes outside the LightStream hardware, including leased lines and edge devices.


MSC Test Procedure

Use this procedure to run diagnostics on a medium-speed line card. It assumes that you have already loaded the diagnostics onto the card, as described in one of the procedures in "Loading Manufacturing Diagnostics" section.

Step 1 At the prompt, type run or _0 to run a set of tests. (See the section "Running Sets of Tests" for the differences between run and _0. run is safer.) As the tests run, the system displays the name of each test and a pass or fail indication, as shown below. (Depending on your configuration, some tests may display as "not run." This is not a problem.)


Note The screens that follow use the arun command in order to display a complete list of tests. It is recommended that you use _0 or run instead.

h3248.gif

h3249.gif

h3250.gif


Note See "MSC Tests with Special Requirements" for notes.

Step 2 To run or rerun a particular test or group of tests, you can use the run command in conjunction with test numbers. For example:

diags>  run 5-15

(To display a list of tests and test numbers, use the lst all command.)

Step 3 The status command displays a message giving the status of diagnostic tests. Use status fail to get information only on tests that have failed.

Step 4 For explanations of the error codes used in the status display, use the help command in conjunction with the number of the test in question. For example,

diags>  help 10


Note If you need to return to CLI before completing your session with the diagnostics, you can toggle back and forth using the command ~. to get to CLI and connect <slot#> diagnostic to return to the diagnostics. Be sure to exit from the diagnostics when your session is finished.

Step 5 If the card passes the diagnostics, return the card to active mode. First exit from the diagnostics:

diags>  exit

Step 6 When the login prompt appears, log into the node, enter CLI's protected mode, and use the set command as shown below to reset the card's status to active. Replace <slot#> with the slot number of the card you were testing

*cli>  set card <slot#> active


How to Proceed

If any tests fail you may need to replace either the line card being tested or its access card. Look at the numbers of the tests that failed to determine which card to replace:

  • Replace the line card if any test from 1 to 80 fails.


Note Tests 70 - 80 normally fail if you run them in an operating system using test -m; this failure does not indicate a problem and should be ignored.

  • Replace the access card if any test from 81 to 95 fails.


Note Test 95 passes only on the E3 access card; disable or disregard it when testing a T3 card. Tests 93 and 94 pass only when looping plugs are installed; disable or disregard them when testing without looping plugs.

If all tests pass but you're still experiencing a problem, test the other cards in the chassis. Replace any cards that fail diagnostics. If the problem persists, investigate causes outside the LightStream hardware, including leased lines and edge devices.


PLC Test Procedure

Use this procedure to run diagnostics on a packet line card. It assumes that you have already loaded the diagnostics onto the card, as described in one of the procedures in "Loading Manufacturing Diagnostics" section.

When they are loaded, the PLC diagnostics determine which type of access card (Ethernet or FDDI) is installed with the line card under test. Tests appropriate for the access card are enabled. You can use the "access" command to display the type of the access card.

Step 1 At the prompt, type run to run a set of tests. (See the section "Running Sets of Tests" for information on run.) As the tests run, the system displays the name of each test and a pass or fail indication, as shown below. (Depending on your configuration, some tests may display as "not run." This is not a problem.)


Note The screens that follow use the arun command in order to display a complete list of tests. It is recommended that you use run instead.

h3251.gif

h3252.gif


Note See "xPLC Tests with Special Requirements" section for notes.

Step 2 To run or rerun a particular test or group of tests, you can use the run command in conjunction with test numbers. For example:


diags> run 5-15

(To display a list of tests and test numbers, use the lst all command.)

Step 3 The status command displays a message giving the status of diagnostic tests. Use status fail to get information only on tests that have failed.

Step 4 For explanations of the error codes used in the status display, use the help command in conjunction with the number of the test in question. For example,


diags> help 10


Note If you need to return to CLI before completing your session with the diagnostics, you can toggle back and forth using the commands ~. to get to CLI and connect <slot#> diagnostic to return to the diagnostics. Be sure to exit from the diagnostics when your session is finished.

Step 5 If the card passes the diagnostics, return the card to active mode. First exit from the diagnostics:


diags>  exit

Step 6 When the login prompt appears, log into the node, enter CLI's protected mode, and use the set command as shown below to reset the card's status to active. Replace <slot#> with the slot number of the card you were testing.

*cli>  set card <slot#> active


How to Proceed

If test 55 (or any of its subtests, 55.01 through 55.15) fails, this indicates a failure in the access card. In this case replace the access card.

If any other tests fail, replace the card being tested.

If all tests pass but you're still experiencing a problem, test the other cards in the chassis. Replace any cards that fail diagnostics. If the problem persists, investigate causes outside the LightStream hardware, including leased lines and edge devices.


CLC Test Procedure

Use this procedure to run diagnostics on a cell line card. It assumes that you have already loaded the diagnostics onto the card, as described in one of the procedures in "Loading Manufacturing Diagnostics" section.

Step 1 At the prompt, type run to run a set of tests. (See the section "Running Sets of Tests" for the information on run.) As the tests run, the system displays the name of each test and a pass or fail indication, as shown below. (Depending on your configuration, some tests may display as "not run." This is not a problem.)


Note The screens that follow use the arun command in order to display a complete list of tests. It is recommended that you use run instead.

h3253.gif

h3254.gif


Note See "CLC Tests with Special Requirements" for notes.

Step 2 To run or rerun a particular test or group of tests, you can use the run command in conjunction with test numbers. For example:


diags> run 5-15

(To display a list of tests and test numbers, use the lst all command.)

Step 3 The status command displays a message giving the status of diagnostic tests. Use status fail to get information only on tests that have failed.

Step 4 For explanations of the error codes used in the status display, use the help command in conjunction with the number of the test in question. For example,

diags>  help 10


Note If you need to return to CLI before completing your session with the diagnostics, you can toggle back and forth using the commands ~. to get to CLI and connect <slot#> diagnostic to return to the diagnostics. Be sure to exit from the diagnostics when your session is finished.

Step 5 If the card passes the diagnostics, return the card to active mode. First exit from the diagnostics:

diags>  exit

Step 6 When the login prompt appears, log into the node, enter CLI's protected mode, and use the set command as shown below to reset the card's status to active. Replace <slot#> with the slot number of the card you were testing.

*cli>  set card <slot#> active


How to Proceed

If test 51 (or any of its subtests) fails, this indicates a failure in the access card. In this case replace the access card.

If any other tests fail, replace the card being tested.

If all tests pass but you're still experiencing a problem, test the other cards in the chassis. Replace any cards that fail diagnostics. If the problem persists, investigate causes outside the LightStream hardware, including leased lines and edge devices.


Test Notes

This section lists special requirements for tests in each diagnostic package.


NP Tests with Special Requirements


Tests that Send Data to the Switch Card

The NP tests listed below send data through the switch card. Take the LightStream node off line before running these tests, as described in the procedure following the list of tests. Do not run them on a system that's passing traffic. (If the node is running, these tests may fail when they would otherwise pass. In addition, the "bad" data passed to the switch by the tests may cause traps.)

78 --> CMP_SL_Push_Cell_SOB_Test 
80 --> Raw_Cell_External_Loopback_Test 
82 --> Data_Gram_External_Loopback_Test 
83 --> Data_Gram_Metered_Loopback_Test 
84 --> Multi_DataGram_Metered_Loopback_Test 
85 --> Chained_Data_Gram_Loopback_Test 
86 --> Iso_Sngle_Cast_Loopback_Test 
87 --> Multi_Cast_Data_Gram_Loopback_Test 
88 --> Comp_Data_Gram_Loopback_Test 
89 --> Multi_Cast_IsoLoopback_Test 
90 --> FSU_RATO_Test 
91 --> FSU_fast_dropper_Test 
92 --> FSU_VRAM_mem_Test 
93 --> FSU_VRAM_refresh_Test 

If you wish to run these tests, use the procedure below to disable the system and all the other cards in the chassis. This prevents the other cards from sending packets to the card under test that cause these tests to fail even when no problem exists.

Step 1 Log in as root or fldsup on the system you want to test.

Step 2 At the bash prompt, use the command reboot -n to bring down the NP. (Bring down both if there are two.)

Step 3 Type `. to get a TCS hub prompt.

Step 4 From the TCS hub, type reset <slot#> to reset each slot that has a line card in it. (Don't reset the switch card or NP slots.)

Step 5 Type connect <slot#> to return to the NP, then press [Return] to display a menu of boot options.

Step 6 At the menu's Option prompt, enter 6, as shown below.

Network Processor bootstrap (version 1.3: Sep 13 1993) 
1 - Boot ATM switch application 
2 - Begin full installation with boot from floppy disk 

3 - List contents of hard disk root directory 
4 - List contents of floppy disk root directory 
5 - Boot system single-user 
6 - Escape to full set of bootstrap options 
7 - Extended help 
Option> 6

Step 7 The system displays the following message and a boot prompt. Enter the string shown below to load the NP diagnostics.

Network Processor bootstrap (version 1.3: Sep 13 1993) 
Enter "help" for documentation on extended bootstrap options 
Default: (sd0a)lynx.os 

Boot: (sd0b)diag/diag_np1.aout

Step 8 When the diagnostics finish loading, you can select and run the desired tests.


Tests that Require Looping Plugs

The NP tests listed below will fail if they are run on a system that does not have looping plugs installed on the NP Ethernet port and Diag2 port. (In field diagnostics, these tests are invoked when you use the test command's -l switch.) If you do not have looping plugs installed, it's recommended that you avoid running these tests:

13 --> Ethernet_External_Loopback_Test 
14 --> Ethernet_External_Chaining 
33 --> SCC_ChB_External_Loopback_Tst


Long-Running Memory Tests

The NP memory tests listed below take longer than one minute to run. (Some take many minutes.) Avoiding these tests saves time. (In field diagnostics, these tests are invoked when you use the test command's -x switch.)

08 --> Address_Independence_Memory_Test 
09 --> MarchingBit_Memory_Test 
93 --> FSU_VRAM_refresh_Test


BB-RAM Clock Test

The NP diagnostics include tests for the battery-backed RAM clock that keeps time for the whole system. If the tests fail, you will be prompted to reset the clock; you must supply the current time and date. If the system under test has two NPs, make certain that their clocks agree to within one minute. (If the clocks don't agree, file consistency problems between the two NPs may result.)


LSC Tests with Special Requirements


Tests that Send Data to the Switch Card

The low-speed line card tests listed below send data through the switch card. (In field diagnostics, these tests are invoked when you use the test command's -s switch.) Take the LightStream node off line before running these tests. Do not run them on a system that's passing traffic. (If the node is running, these tests may fail when they would otherwise pass. In addition, the "bad" data passed to the switch by the tests may cause traps.)

111 --> DataGram_SingleCast__External_Lpbk_Test 

112 --> DataGram_MultiCast___External_Lpbk_Test 
113 --> DataGram_Metered_____External_Lpbk_Test 
114 --> DataGram_MtCast_Metd_External_Lpbk_Test 
115 --> Isochronous_SinglCst_External_Lpbk_Test 
116 --> Isochronous_MultiCst_External_Lpbk_Test 
117 --> FSU_Dropped_Cell_Test_(PIT) 
118 --> FSU_RATO_Test_(PIT)

If you wish to run these tests, use the procedure below to disable the system and all the other cards in the chassis, and then to load the diagnostics into the card you wish to test. This procedure prevents the other cards from sending packets to the card under test that cause these tests to fail even when no problem exists.

Step 1 Log in as root or fldsup on the system you want to test.

Step 2 At the bash prompt, enter the command reboot -n to bring down the NP. If your system has two NPs, do the following to reboot the second one:

Type `. to get a TCS hub prompt.

Type connect <slot#> to get to the other NP, replacing <slot#> with the number of the NP's slot in the chassis.

Log in to the NP as root or fldsup.

At the bash prompt, enter the command reboot -n to bring down the NP.

Step 3 Type `. to get a TCS hub prompt.

Step 4 From the TCS hub, type reset <slot#> to reset each slot that has a line card in it. (Don't reset the switch card or NP slots.)

Step 5 Type connect <slot#> to return to the NP, then press [Return] to display a menu of boot options.

Step 6 At the menu's Option prompt, enter 6, as shown below.

Network Processor bootstrap (version 1.3: Sep 13 1993) 
1 - Boot ATM switch application 
2 - Begin full installation with boot from floppy disk 
3 - List contents of hard disk root directory 
4 - List contents of floppy disk root directory 
5 - Boot system single-user 
6 - Escape to full set of bootstrap options 
7 - Extended help 
Option> 6

Step 7 The system displays the following message and a boot prompt. Enter the string shown below to load the system monitor, which you will use to load the diagnostics.

Network Processor bootstrap (version 1.3: Sep 13 1993) 
Enter "help" for documentation on extended bootstrap options 
Default: (sd0a)lynx.os 

Boot: (sd0b)diag/sys_np1.aout

Step 8 When the system monitor finishes loading, you'll see an identifying message and a prompt, as shown below. To load diagnostics, type the command shown, replacing <slot#> with the number of the card you want to test.

 *****************************************
* System Diagnostic Debug Monitor        *
* Revision 1.258 (Jun 15 1994)           *
* Type  'help'  or  '?'  for help        *
******************************************

System Monitor-> load <slot#> (sd0b)diag/diag_ls1.aout

Step 9 Wait about 5 minutes for the diagnostics to load. Then type `. to return to the TCS hub.

Step 10 At the TCS hub prompt, use the command connect <slot#> to connect to the card you just loaded.

Step 11 Run the desired tests.


Tests that Require Looping Plugs

The LSC tests listed below will fail if they are run on a system that does not have looping plugs installed on the I/O ports. (In field diagnostics, these tests are invoked when you use the test command's -l switch.) If you do not have looping plugs installed, it's recommended that you avoid running these tests:

08 --> mc68340_UART_B_External_Loopback_Tst(L) 
43 --> CP_LineChip_External_Loopback_Test  (L) 
46 --> PaddleCard_Octart_External_Lpbk_Test(L) 
50 --> PaddleCard_Extern_Clock_Monitor_Test(L) 
Long-Running Memory Tests

The low-speed line card memory tests listed below take longer than one minute to run. (Some take many minutes.) Avoiding these tests saves time. (In field diagnostics, these tests are invoked when you use the test command's -x switch.)

09 --> CP_to_DRAM_AddrBus_Indep_Test 
15 --> CP_to_DRAM_Marching_1s_Test 
17 --> CP_to_SharedMem_AddrBus_Indep_Test 
23 --> CP_to_SharedMem_Marching_1s_Test 
66 --> PP_to_SharedMem_DataBus_WalkingBit_Test 
69 --> PP_to_SharedMem_Marching_1s_Test


MSC Tests with Special Requirements


Tests that Send Data to the Switch Card

The medium-speed line card tests listed below send data through the switch card. (In field diagnostics, these tests are invoked when you use the test command's -s switch.) Take the LightStream node off line before running these tests. Do not run them on a system that's passing traffic. (If the node is running, these tests may fail when they would otherwise pass. In addition, the "bad" data passed to the switch by the tests may cause traps.)

70 --> SCastDgm_SWA_Cntrl__Fifo_External_Lpbk 
71 --> MCastDgm_SWA_Cntrl__Fifo_External_Lpbk 
72 --> SCastSch_SWA_Cntrl__Fifo_External_Lpbk 
73 --> MCastSch_SWA_Cntrl__Fifo_External_Lpbk 
74 --> SCastDgm_SWB_Cntrl__Fifo_External_Lpbk 
75 --> MCastDgm_SWB_Cntrl__Fifo_External_Lpbk 
76 --> SCastSch_SWB_Cntrl__Fifo_External_Lpbk 
77 --> MCastSch_SWB_Cntrl__Fifo_External_Lpbk 
79 --> FSU_Payload_LRC_Error_Test 
78 --> FSU_Header_LRC_Error_Test 
80 --> FSU_VRAM_Refresh_Test

If you wish to run these tests, use the procedure below to disable the system and all the other cards in the chassis, and then to load the diagnostics into the card you wish to test. This procedure prevents the other cards from sending packets to the card under test that cause these tests to fail even when no problem exists.

Step 1 Log in as root or fldsup on the system you want to test.

Step 2 At the bash prompt, enter the command reboot -n to bring down the NP. If your system has two NPs, do the following to reboot the second one:

  • Type `. to get a TCS hub prompt.

  • Type connect <slot#> to get to the other NP, replacing <slot#> with the number of the NP's slot in the chassis.

  • Log in to the NP as root or fldsup.

  • At the bash prompt, enter the command reboot -n to bring down the NP.

Step 3 Type `. to get a TCS hub prompt.

Step 4 From the TCS hub, type reset <slot#> to reset each slot that has a line card in it. (Don't reset the switch card or NP slots.)

Step 5 Type connect <slot#> to return to the NP, then press [Return] to display a menu of boot options.

Step 6 At the menu's Option prompt, enter 6, as shown below.

Network Processor bootstrap (version 1.3: Sep 13 1993)
1 - Boot ATM switch application
2 - Begin full installation with boot from floppy disk
3 - List contents of hard disk root directory
4 - List contents of floppy disk root directory
5 - Boot system single-user
6 - Escape to full set of bootstrap options
7 - Extended help
Option> 6

Step 7 The system displays the following message and a boot prompt. Enter the string shown below to load the system monitor, which you will use to load the diagnostics.

Network Processor bootstrap (version 1.3: Sep 13 1993) 
Enter "help" for documentation on extended bootstrap options 
Default: (sd0a)lynx.os 

Boot: (sd0b)diag/sys_np1.aout

Step 8 When the system monitor finishes loading, you'll see an identifying message and a prompt, as shown below. To load diagnostics, type the command shown, replacing <slot#> with the number of the card you want to test.

 ******************************************

 * System Diagnostic Debug Monitor        *

 * Revision 1.258 (Jun 15 1994)           *

 * Type  'help'  or  '?'  for help        *

 ******************************************

System Monitor-> load <slot#> (sd0b)diag/diag_ms1.aout

Step 9 Wait about 5 minutes for the diagnostics to load. Then type `. to return to the TCS hub.

Step 10 At the TCS hub prompt, use the command connect <slot#> to connect to the card you just loaded.

Step 11 Run the desired tests.


Tests that Require Looping Plugs

The MSC tests listed below will fail if they are run on a system that does not have looping plugs installed on the I/O ports. (In field diagnostics, these tests are invoked when you use the test command's -l switch.) If you do not have looping plugs installed, it's recommended that you avoid running these tests:

93 --> T3/E3_PLPP_TrunkA_Fifo_External_Lpbk 
94 --> T3/E3_PLPP_TrunkB_Fifo_External_Lpbk


Long-Running Memory Tests

The medium-speed line card memory tests listed below take longer than one minute to run. (Some take many minutes.) Avoiding these tests saves time. (In field diagnostics, these tests are invoked when you use the test command's -x switch.)

14 --> CP_to_DRAM_AddrBus_Indep_Test 
15 --> CP_to_DRAM_Marching_1s_Test 
24 --> CP_to_TSU_CntrlRAM_AddrBus_Indep_Test
25 --> CP_to_TSU_CntrlRAM_Marching_1s_Test 
54 --> CTP_Control_Ram_StuckBit_Test 
56 --> CTP_Control_Ram_DataBus_WalkingBit_Tst 
57 --> CTP_Control_Ram_RamData_Pattern_Test 
61 --> CTP_Cell_Buffer_RamData_Pattern_Test 
80 --> FSU_VRAM_Rrefresh_Test


PLC Tests with Special Requirements


Tests that Send Data to the Switch Card

The packet line card tests listed below send data through the switch card. (In field diagnostics, these tests are invoked when you use the test command's -s switch.) Take the LightStream node off line before running these tests. Do not run them on a system that's passing traffic. (If the node is running, these tests may fail when they would otherwise pass. In addition, the "bad" data passed to the switch by the tests may cause traps.)

43          TSU_FSU_SWA_External_Lpbk_Test 
46          TSU_FSU_SWB_External_Lpbk_Test

If you wish to run these tests, use the procedure below to disable the system and all the other cards in the chassis, and then to load the diagnostics into the card you wish to test. This procedure prevents the other cards from sending packets to the card under test that cause these tests to fail even when no problem exists.

Step 1 Log in as root or fldsup on the system you want to test.

Step 2 At the bash prompt, enter the command reboot -n to bring down the NP. If your system has two NPs, do the following to reboot the second one:

Type `. to get a TCS hub prompt.

Type connect <slot#> to get to the other NP, replacing <slot#> with the number of the NP's slot in the chassis.

Log in to the NP as root or fldsup.

At the bash prompt, enter the command reboot -n to bring down the NP.

Step 3 Type `. to get a TCS hub prompt.

Step 4 From the TCS hub, type reset <slot#> to reset each slot that has a line card in it. (Don't reset the switch card or NP slots.)

Step 5 Type connect <slot#> to return to the NP, then press [Return] to display a menu of boot options.

Step 6 At the menu's Option prompt, enter 6, as shown below.

Network Processor bootstrap (version 1.3: Sep 13 1993) 
1 - Boot ATM switch application 
2 - Begin full installation with boot from floppy disk 
3 - List contents of hard disk root directory 
4 - List contents of floppy disk root directory 
5 - Boot system single-user 
6 - Escape to full set of bootstrap options 
7 - Extended help 
Option> 6

Step 7 The system displays the following message and a boot prompt. Enter the string shown below to load the system monitor, which you will use to load the diagnostics.

Network Processor bootstrap (version 1.3: Sep 13 1993) 
Enter "help" for documentation on extended bootstrap options 
Default: (sd0a)lynx.os 

Boot: (sd0b)diag/sys_np1.aout

Step 8 When the system monitor finishes loading, you'll see an identifying message and a prompt, as shown below. To load diagnostics, type the command shown, replacing <slot#> with the number of the card you want to test.

 ******************************************

 * System Diagnostic Debug Monitor        *

 * Revision 1.258 (Jun 15 1994)           *

 * Type  'help'  or  '?'  for help        *

 ******************************************

System Monitor-> load <slot#> (sd0b)diag/diag_plc1.aout

Step 9 Wait about 5 minutes for the diagnostics to load. Then type `. to return to the TCS hub.

Step 10 At the TCS hub prompt, use the command connect <slot#> to connect to the card you just loaded.

Step 11 Run the desired tests.


Tests that Require Looping Plugs

The PLC tests listed in this section will fail if they are run on a system that does not have looping cables installed on the I/O ports. (In field diagnostics, these tests are invoked when you use the test command's -l switch.) The individual tests vary depending on whether your PLC is paired with an FDDI access card or an Ethernet access card. If you do not have looping cables installed, it's recommended that you avoid running these tests.

FDDI

55.06       Serial_Clk_Loopback_Test(64) 
55.07       Serial_Clk_Loopback_Test(1520) 
55.08       Serial_CSU_DSU_Loopback_Test 
55.11       FDDI_Loopback_Test

Ethernet

55.06       Serial_Clk_Loopback_Test(64) 

55.07       Serial_Clk_Loopback_Test(1520) 
55.08       Serial_CSU_DSU_Loopback_Test 
55.11       Ethernet_Bus_External_Test 
55.14       Ethernet_XC_E_Loopback_Test

If you choose to run these tests, use looping cables to connect the ports on the Ethernet card to each other in the following manner:

  • connect port 0 to port 1

  • connect port 2 to port 3

  • connect port 4 to port 5

  • connect port 6 to port 7


Note This list uses the port numbers as shown on the Ethernet card, but the diagnostics number the ports 1 through 8 instead of 0 through 7.


Long-Running Memory Tests

The packet line card memory tests listed below take longer than one minute to run. (Some take many minutes.) Avoiding these tests saves time. (In field diagnostics, these tests are invoked when you use the test command's -x switch.)

03.01       CP_to_DRAM_AddrBus_Indep_Test 
03.04       CP_to_DRAM_DataBus_WalkingBit_Test 
03.07       CP_to_DRAM_Marching_1s_Test 
03.08       CP_to_DRAM_Refresh_Test 
07.01       CP_to_PDBL_SRAM_AddrBus_Indep_Test 
07.04       CP_to_PDBL_SRAM_DataBus_WalkingBit_Test 
07.07       CP_to_PDBL_SRAM_Marching_1s_Test 
22.12       TSU_NQP_RamTests 
22.13       TSU_DQP_RamTests 
23.13       FSU_ISMC_RamTests 
23.14       FSU_OSMC_RamTests 
24.08       TLU_RP_RamTests 
24.09       TLU_TLP_RamTests 
25.06       FLU_ALF_RamTests 
31.01       TSU_CBuf_DRAM_AddrBus_Indep_Test 
31.04       TSU_CBuf_DRAM_DataBus_WalkingBit_Test 
31.07       TSU_CBuf_DRAM_Marching_1s_Test 
32.01       TSU_Ctrl_DRAM_AddrBus_Indep_Test 
32.04       TSU_Ctrl_DRAM_DataBus_WalkingBit_Test 
32.07       TSU_Ctrl_DRAM_Marching_1s_Test 
34.01       FSU_LRIC_SRAM_AddrBus_Indep_Test 
34.04       FSU_LRIC_SRAM_DataBus_WalkingBit_Test 
34.07       FSU_LRIC_SRAM_Marching_1s_Test 
35.01       FSU_CRIC_DRAM_AddrBus_Indep_Test 
35.04       FSU_CRIC_DRAM_DataBus_WalkingBit_Test 
35.07       FSU_CRIC_DRAM_Marching_1s_Test 
36.01       TLU_Ext_DRAM_AddrBus_Indep_Test 
36.04       TLU_Ext_DRAM_DataBus_WalkingBit_Test 
36.07       TLU_Ext_DRAM_Marching_1s_Test 
37.01       FLU_Parse_SRAM_AddrBus_Indep_Test 
37.04       FLU_Parse_DRAM_DataBus_WalkingBit_Test 
37.07       FLU_Parse_DRAM_Marching_1s_Test 
38.01       FLU_Proto_DRAM_AddrBus_Indep_Test 
38.04       FLU_Proto_DRAM_DataBus_WalkingBit_Test 
38.07       FLU_Proto_DRAM_Marching_1s_Test


CLC Tests with Special Requirements


Tests that Send Data to the Switch Card

The cell line card tests listed below send data through the switch card. (In field diagnostics, these tests are invoked when you use the test command's -s switch.) Take the LightStream node off line before running these tests. Do not run them on a system that's passing traffic. (If the node is running, these tests may fail when they would otherwise pass. In addition, the "bad" data passed to the switch by the tests may cause traps.)

42          Cell_lpbk_Tsu_A_Ext_SWA_Test 
43          Cell_lpbk_Tsu_B_Ext_SWA_Test 
46          Cell_lpbk_Tsu_A_Ext_SWB_Test 
49          RATO_lpbk_Tsu_A_Ext_SWA_Test 
50          Metering_lpbk_Tsu_A_Ext_SWA_Test

If you wish to run these tests, use the procedure below to disable the system and all the other cards in the chassis, and then to load the diagnostics into the card you wish to test. This procedure prevents the other cards from sending packets to the card under test that cause these tests to fail even when no problem exists.

Step 1 Log in as root or fldsup on the system you want to test.

Step 2 At the bash prompt, enter the command reboot -n to bring down the NP. If your system has two NPs, do the following to reboot the second one:

Type `. to get a TCS hub prompt.

Type connect <slot#> to get to the other NP, replacing <slot#> with the number of the NP's slot in the chassis.

Log in to the NP as root or fldsup.

At the bash prompt, enter the command reboot -n to bring down the NP.

Step 3 Type `. to get a TCS hub prompt.

Step 4 From the TCS hub, type reset <slot#> to reset each slot that has a line card in it. (Don't reset the switch card or NP slots.)

Step 5 Type connect <slot#> to return to the NP, then press [Return] to display a menu of boot options.

Step 6 At the menu's Option prompt, enter 6, as shown below.

Network Processor bootstrap (version 1.3: Sep 13 1993) 
1 - Boot ATM switch application 
2 - Begin full installation with boot from floppy disk 
3 - List contents of hard disk root directory 
4 - List contents of floppy disk root directory 
5 - Boot system single-user 
6 - Escape to full set of bootstrap options 
7 - Extended help 
Option> 6

Step 7 The system displays the following message and a boot prompt. Enter the string shown below to load the system monitor, which you will use to load the diagnostics.

Network Processor bootstrap (version 1.3: Sep 13 1993) 
Enter "help" for documentation on extended bootstrap options 
Default: (sd0a)lynx.os 

Boot: (sd0b)diag/sys_np1.aout


Step 8 When the system monitor finishes loading, you'll see an identifying message and a prompt, as shown below. To load diagnostics, type the command shown, replacing <slot#> with the number of the card you want to test.

 ******************************************

 * System Diagnostic Debug Monitor        *

 * Revision 1.258 (Jun 15 1994)           *

 * Type  'help'  or  '?'  for help        *

 ******************************************

System Monitor-> load <slot#> (sd0b)diag/diag_clc1.aout

Step 9 Wait about 5 minutes for the diagnostics to load. Then type `. to return to the TCS hub.

Step 10 At the TCS hub prompt, use the command connect <slot#> to connect to the card you just loaded.

Step 11 Run the desired tests.


Tests that Require Looping Plugs

The CLC tests listed below will fail if they are run on a system that does not have looping plugs installed on the I/O ports. (In field diagnostics, these tests are invoked when you use the test command's -l switch.) If you do not have looping plugs installed, it's recommended that you avoid running these tests:

51.03       OC3_Port_Extrnl_Loopback_Test 
51.06       OC3_Port_0_1_X_Cross_Test 
51.07       OC3_Port_0_1_X_Cross_Test_2 
51.03       T3_Port_Lim_Loopback_Test


Long-Running Memory Tests

The cell line card memory tests listed below take longer than one minute to run. (Some take many minutes.) Avoiding these tests saves time. (In field diagnostics, these tests are invoked when you use the test command's -x switch.)

03          CP_to_DRAM_AddrBus_Indep_Test 
06          CP_to_DRAM_DataBus_WalkingBit_Test 
09          CP_to_DRAM_Marching_1s_Test 
10          CP_to_DRAM_Refresh_Test 
26.13       FSU_ISMC_RamTests 
26.14       FSU_OSMC_RamTests 
27.12       TSU_NQP_RamTests 
27.13       TSU_DQP_RamTests 
28.12       TSU_B_NQP_RamTests 
28.13       TSU_B_DQP_RamTests 
29.01       TSU_CBuf_DRAM_AddrBus_Indep_Test 
29.04       TSU_CBuf_DRAM_DataBus_WalkingBit_Test 
29.07       TSU_CBuf_DRAM_Marching_1s_Test 
30.01       TSU_Ctrl_DRAM_AddrBus_Indep_Test 
30.04       TSU_Ctrl_DRAM_DataBus_WalkingBit_Test 
30.07       TSU_Ctrl_DRAM_Marching_1s_Test 
31.01       TSU_CBuf_DRAM_AddrBus_Indep_Test 
31.04       TSU_CBuf_DRAM_DataBus_WalkingBit_Test 
31.07       TSU_CBuf_DRAM_Marching_1s_Test 
32.01       TSU_Ctrl_DRAM_AddrBus_Indep_Test
32.04       TSU_Ctrl_DRAM_DataBus_WalkingBit_Test 
32.07       TSU_Ctrl_DRAM_Marching_1s_Test 
34.01       FSU_LRIC_SRAM_AddrBus_Indep_Test 
34.04       FSU_LRIC_SRAM_DataBus_WalkingBit_Test 
34.07       FSU_LRIC_SRAM_Marching_1s_Test 
35.01       FSU_CRIC_DRAM_AddrBus_Indep_Test 

35.04       FSU_CRIC_DRAM_DataBus_WalkingBit_Test 
35.07       FSU_CRIC_DRAM_Marching_1s_Test


Command Reference

This section alphabetically lists and describes selected commands that are available in LightStream's hardware diagnostic packages. Many commands are available in all three packages; others are specific to one or two packages. Each entry lists the packages in which the command is available.


Note LightStream diagnostics contain many commands that are not listed in this section. Such commands are for use by support personnel only.


!

! <command>

Causes the specified command to loop indefinitely. For example, the arun command runs all tests once; !arun cycles through all the tests repeatedly until you stop the loop, or, if stop on fail mode is on, until a test fails.

Availability: all packages


?

? [<command>]

Without argument: Displays a list of available commands.
With argument: Displays information on the specified command.

Availability: all packages


access

access [ethernet | fddi | serial]

With no argument, displays the type of access card installed with the PLC line card under test. With an argument, forces activation of the access card tests for the access card type indicated.

Availability: PLC diags


arun

arun

Runs all tests once. Not recommended if you don't have looping plugs or if you are running diagnostics remotely, as this command runs tests that require looping plugs.

Availability: all packages


bb_battery

bb_battery


Checks the status of the battery for the NP's battery-backed RAM. A screen display tells you that the battery is OK, or that it's low.


Note The results of this command are only valid the first time the command is executed after powering up the NP. To get valid results again, you must power cycle the board.

Availability: NP diags


blink

blink [green | yellow | both] [1hz | 2hz | 4hz] [on | off]

In NP diags: Causes the green RDY LED and/or the yellow FLT LED on the NP bulkhead to blink, turn on, or turn off.

blink [on | off]

In PLC and CLC diags: Causes LNS OK LED on the bulkhead to blink (on) or not blink (off) during long-running tests. Blinking gives an indication that the tests are still running.


chprmpt

chprmpt <string>

Changes the diagnostics command prompt. Maximum prompt length is 30 characters.

Availability: all packages


cnt

cnt [<loop count>]

Specifies the count, or number of times the selected tests will be executed when you use the run command. Use cnt with no argument to display the current loop count.

Availability: all packages


dsel

dsel {all | <test#> | <test# range>}

Deselects all selected tests, a particular test, or a range of tests.

Availability: all packages


dsp_ver

dsp_ver

Displays the firmware revision levels of the switch interface daughterboard's PCP, CMP, and FSU digital signal processors.

Availability: NP diags


env

env

Displays the current test run environment as selected with the mod command.

Availability: all packages


execute

execute [<test#> | <test# range>] [<-switches>] [argument] [argument] [argument] 
[argument]

Runs selected tests (with no argument), or specified tests. The switches, which temporarily override the mode settings, are as follows:

  • -l---Loops specified test or tests indefinitely; press any key to stop the loop

  • -s---Stops looping if a test fails

  • -f---Starts looping on a test that fails

  • -v---Turns on verbose mode

  • -q---Turns on quiet mode (i.e., turns off verbose mode)

execute is the same as run and go.

Availability: all packages

You can also run tests using the execute or go commands, or by typing specific test numbers or ranges of numbers. (For example, type 22 to run test 22.) You can use the switches for the run command with test numbers as well. Thus, for example, these two commands both cause tests 22 through 24 to loop indefinitely:

run 22-24 -l 
22-24 -l

Availability: all packages


exit

exit

Halts the diagnostics, resets the board, and transfers control to POST. (Same as quit.)

Availability: all packages


fl_format

fl_format

Formats the diskette in the floppy drive.

Availability: NP diags


fl_inq

fl_inq

Displays information on the floppy disk drive, including firmware revision level and model number.

Availability: NP diags


go

go [<test#> | <test# range>] [<-switches>] [argument] [argument] [argument] [argument]

Runs the specified test or range of tests. go is the same as execute and run.

Availability: all packages


help

help [<command> | <test#>]

Provides three kinds of help:

  • Without an argument, help lists all commands.

  • With a command as an argument (e.g. help go), help describes the syntax and purpose of the specified command.

  • With a test number as an argument (e.g. help 42), help describes the error codes used for that test in the display produced by the status command.

Availability: all packages


history

history

Displays the last 50 commands entered. This command is useful in conjunction with ^P to yank previous commands from the history buffer.

Availability: all packages


jumpers

jumpers

Displays the current setting of the jumpers that determine whether the low-speed line card presents V.35 or RS-449 interfaces.

Availability: LSC diags


led

led [<on | off>] [<channel>]

Turns the channel LEDs on the line card bulkhead on or off. Without an argument, led flashes the LEDs in succession until you press any key to stop the test. led on turns all the LEDs on; led off turns them all off. In conjunction with the on/off argument, the channel argument lets you turn particular LEDs on or off. On medium-speed cards, the channels are 0 and 1; on low-speed cards, the channels are 0 - 7. The following example turns LED 0 on:

led on 0

Availability: LSC and MSC diags


loop

loop [<loopcount>]

Sets the loop counter to the specified number. When you use execute, go or run, the selected tests repeat, or loop, the specified number of times.

Availability: all packages


list
lst

l[i]st [all] [<test#> | <test# range>]

Lists selected tests (with no argument), all tests, a specific test, or a range of tests. (A range is expressed with a dash. For example, you might type lst 1-6.)

In PLC and CLC diagnostics, tests are numbered hierarchically using both decimal and whole numbers. Similar tests are grouped together under the same number. For example, all the access card tests in PLC diagnostics are subtests of test number 55, and are numbered 55.01 to 55.15. If you type lst or list in PLC or CLC diags, only the top-level tests are listed. Type lst all to list all the tests, including subtests.

Availability: all packages


macro

macro

Lists all installed macros. Refer to the "Macros" section for information on installing and using macros.

Availability: all packages


mod

mod <mode> = <0 | 1> | <on | off> | <number> | <off | hard | 
soft | detailed | info>

Sets up the test environment, where mode is one of the following:

  • sof: stop on fail

  • lof: loop on fail

  • lot: loop on test

  • def: default modes (sof off, lof off, lot off, count=1.)

0 turns the specified mode off; 1 turns it on. For example, mod sof = 1 turns stop on fail mode on. 0 and 1 can be replaced with off and on. Thus, mod sof = on has the same effect as mod sof = 1.

Availability: all packages


quit

quit

Halts the diagnostics, resets the board, and transfers control to POST. (Same as exit.)

Availability: NP diags


rev

rev

Displays information identifying the current revision of the diagnostics. rev is the same as ver.

Availability: all packages


run

run [<test#> | <test# range>] [<-switches>] [argument] [argument] [argument] [argument]

Runs selected tests (with no argument), or specified tests. The switches, which temporarily override the mode settings, are as follows:

  • -l Loops specified test or tests indefinitely; press any key to stop the loop

  • -s Stops looping if a test fails

  • -f Starts looping on a test that fails

  • -v Turns on verbose mode

  • -q Turns on quiet mode (and turns off verbose)

run is the same as execute and go.

You can also run tests using the execute or go commands, or by typing specific test numbers or ranges of numbers. (For example, type 22 to run test 22.) You can use the switches for the run command with test numbers as well. Thus, for example, these two commands both cause tests 22 through 24 to loop indefinitely:

run 22-24 -l
22-24 -l

Availability: all packages


scsi_reset

scsi_reset

Resets the SCSI bus that communicates with the hard and floppy disk drives.

Availability: NP diags


sel

sel [<test#> | <test# range> | all]

Selects the test or tests to be run. The argument can be a single test number, a range of numbers (6 - 12, for example), or all (select all tests). Use run to execute selected tests. Use dsel to deselect tests.

Availability: all packages


status

status [all | clr | fail | <test#> | <test# range>]

Displays the status of selected tests (with no argument); all displays status for all tests; clr clears the status of selected tests; and fail displays the status of failed tests only. To display detailed status, use status and help together:

status <test#>; help <test#> 

The help display explains the error codes used in the status display.

Availability: all packages


temp

temp

Displays temperature readings for the card under test.

Availability: all packages


ver

ver

Displays information identifying the current version of the diagnostics. ver is the same as rev.

Availability: all packages


voltage

voltage

Displays voltage information for the card under test, as measured and reported by the TCS.

Availability: all packages


Abbreviating Commands

Any command can be abbreviated to the shortest string that uniquely identifies it in its diagnostic package.


Macros

Each diagnostics package lets you configure up to five macros, numbered 0 through 4. (Macros 0 and 1 are preconfigured; see "Running Sets of Tests" section for descriptions of what they do.) A macro can be a command or string of commands. Use the following syntax to install a macro:

_x=<command>

Where x is a macro number (0 - 4), and command is a command or a chain of commands.

In the following example, two macros are installed; the second incorporates the first.


_3=sel14-18; run
_4=_3; status

To execute a macro, type its number preceded by an underscore: for example, _1. To list all the installed macros, use the macro command. Replacing FRUs

Replacing FRUs

Overview · Replacing a Switch Card · Replacing a Network Processor Card · Replacing a Line Card · Replacing an Access Card · Replacing a Power Tray · Replacing a Blower · Replacing a Disk Assembly · Replacing a Disk Assembly Connector · Replacing the Midplane · Replacing a Console/Modem Assembly · Replacing a Fantail · Performing an Orderly Shutdown

Read this chapter for instructions on removing and replacing field-replaceable units (FRUs) in LightStream 2020 enterprise ATM switches.

For instructions on how to isolate hardware problems to the FRU level, see "Hardware Troubleshooting" section.

fig_12.gif Warning Procedures in this chapter can expose you to electrical and mechanical hazards. Carefully read and adhere to all cautions and warnings in the instructions.

fig_19.gif Caution Do not swap one line card for another unless you're sure that the cards are of the same type. Most line cards can be configured as either edge or trunk cards. You can't determine by looking at a card whether it's an edge or a trunk; check the configuration or use the show card command in CLI.

fig_20.gif Caution Before removing any components from or adding any components to the chassis, read the safety instructions on "Electrostatic Discharge (ESD) Protection" section. If you handle components without proper ESD precautions, you may damage the system.


Overview

LightStream switches are designed to have a low mean time to repair (MTTR). FRUs are easily accessible and easy to replace. You should be able to complete each of the procedures detailed here within 15 minutes, except where otherwise noted.

Most of the procedures in this chapter can be completed by one person. The exception is the disk assembly connector replacement, which should be done by two people.

LightStream provides power-on servicing, which means that most portions of the system can be serviced while the unit continues to operate. You can perform power-on servicing on the following FRUs:

  • Switch cards

  • Network processor cards (NPs)

  • Line cards

  • Access cards

  • Bulk power trays

  • Disk assemblies

  • Blowers

Before replacing the following FRUs, you must perform an orderly shutdown of the LightStream system and turn off power:

  • Midplane

  • Disk assembly connectors


Note Replacing the bulk power tray in a nonredundant system causes the system to power down. Replacing an NP in a nonredundant system interrupts the flow of traffic. Replacing a switch card in a nonredundant system effectively shuts down the system.

Refer to "Performing an Orderly Shutdown" section for instructions on performing an orderly shutdown of a LightStream switch.

Figure 7-1 and Figure 7-2 show the locations of FRUs from the front and rear of the chassis.


Returning Failed FRUs

When you remove a faulty component from a LightStream system, you can return it for repair. Here's what to do:

Step 1 Call your LightStream vendor to obtain a return material authorization (RMA) number and an address to which to ship the FRU.

Step 2 Attach a tag to the FRU that lists the RMA number and describes the problem you experienced. Include instructions on how to reproduce the problem and a list of the test numbers of the diagnostics that the FRU failed.

Step 3 Pack the FRU securely and ship as directed.

Step 4 Record the replacement in your system's maintenance log.


Required Tools and Equipment

The following is a complete list of tools and equipment you must supply and have on hand for LightStream FRU replacement:

  • A 5/16-inch slot-tip screwdriver

  • A Phillips screwdriver (#1 for replacing a disk assembly connector; #2 for replacing the midplane)

  • Temporary labels for any cables that will be disconnected during the procedure (Labelling cables enables you to reconnect them correctly at the end of the procedure.)

  • Permanent labels for any fantails that will be replaced during the procedure

  • Access to a console for deactivating and powering down FRUs

  • A grounding wrist strap for ESD protection

  • Antistatic mats or shielding bags to protect any FRUs being removed from the chassis

Figure 7-1 : Front view of a LightStream switch showing FRUs.

h3204.gif

Figure 7-2 : Rear view of a LightStream switch showing FRUs.

h3701.gif


Replacing a Switch Card

This section explains how to remove and replace a switch card. If the LightStream system is passing traffic, note the following:

  • In a redundant system, you should not replace the active switch card; refer to the LightStream 2020 Administration Guide for the procedure to force active and backup cards to exchange roles.

  • In a nonredundant system, note that replacing the switch card causes the system to halt.


Removal

Step 1 Before you attempt to remove the card from the chassis, refer to the LightStream 2020 Administration Guide and follow the procedures to deactivate the line card and turn off power in the card slot.

Step 2 Unscrew the captive screws at the top and bottom of the card.

Step 3 Using the extractor handles, pull the card out of its slot. (See Figure 7-3.)

fig_13.gif Warning 48-volt current is present on the midplane at high levels. Be very careful when accessing this area; don't touch the midplane unnecessarily, and avoid contact with connectors.


Replacement

Step 1 Insert the new switch card into the slot, taking care to seat the card firmly in the midplane.

Step 2 Lock down the extractor handles and tighten the screws that hold the card in place.

Step 3 Refer to the LightStream 2020 Administration Guide for instructions on powering up and reactivating the slot.


Note When you complete this procedure, check the front and back of the system to see that all boards, disks, blowers, bulkheads, filler panels, and covers are in place and firmly screwed to the chassis frame. When all these items are in place, they form an enclosure that prevents the escape of electro-magnetic interference and maintains air flow through the chassis.

Figure 7-3 : Switch card replacement.

h3257.gif


Replacing a Network Processor card

This section explains how to remove and replace an NP card. If the LightStream system is passing traffic, note the following:

  • In a redundant system, you should not replace the active NP; refer to the LightStream 2020 Administration Guide for the procedure to force active and backup cards to exchange roles.

  • In a nonredundant system, note that replacing the NP may interrupt the flow of traffic.


Removal

Step 1 Before you attempt to remove the card from the chassis, refer to the LightStream 2020 Administration Guide and follow the procedures to deactivate the card and turn off power in the card slot.

Step 2 Unscrew the retaining screws at the top and bottom of the card.

Step 3 Using the extractor handles, pull the card out of its slot. (See Figure 7-4.)


Replacement

Step 1 Insert the new NP card into the slot, taking care to seat the card firmly in the midplane.

Step 2 Lock down the extractor handles and tighten the screws that hold the card in place.

Step 3 Refer to the LightStream 2020 Administration Guide for instructions on powering up and reactivating the slot.


Note When you complete this procedure, check the front and back of the system to see that all boards, disks, blowers, bulkheads, filler panels, and covers are in place and firmly screwed to the chassis frame. When all these items are in place, they form an enclosure that prevents the escape of electro-magnetic interference and maintains air flow through the chassis.

Figure 7-4 : NP card replacement.

h3258.gif


Replacing a Line card

This section explains how to remove and replace a line card.


Removal

Step 1 Before you attempt to remove the line card from the chassis, refer to the LightStream 2020 Administration Guide and follow the procedures to deactivate the line card and turn off power in the card slot.

Step 2 Unscrew the retaining screws at the top and bottom of the card.

Step 3 Using the extractor handles, pull the card out of its slot. (See Figure 7-5.)


Replacement

Step 1 Insert the new line card into the slot, taking care to seat the card firmly in the midplane.

Step 2 Lock down the extractor handles and tighten the screws that hold the card in place.

Step 3 Refer to the LightStream 2020 Administration Guide for instructions on powering up and reactivating the slot.


Note When you complete this procedure, check the front and back of the system to see that all boards, disks, blowers, bulkheads, filler panels, and covers are in place and firmly screwed to the chassis frame. When all these items are in place, they form an enclosure that prevents the escape of electro-magnetic interference and maintains air flow through the chassis

Figure 7-5 : Line card replacement.

h3259.gif


Replacing an Access card

This section explains how to remove and replace an access card.


Removal

Step 1 Before you attempt to remove the access card from the chassis, refer to the LightStream 2020 Administration Guide and follow the procedures to deactivate the card and turn off power in the card slot. (Note that you will also deactivate and power down the NP or line card associated with the access card you intend to replace. When you deactivate or power down a line card or NP, the same thing happens to the associated access card.)

Step 2 Disconnect any cables attached to the access card. Label them so that you will be able to reconnect them to the new access card in exactly the same configuration.

Step 3 Unscrew the retaining screws at the top and bottom of the card.

Step 4 Using the extractor handles, pull the card out of its slot. (See Figure 7-6.)


Replacement

fig_21.gif Caution Before installing the new access card, ensure that the function card in that slot is turned off. (Check the VCC (power) LED on the card.) Connecting an access card to a powered-on function card can damage the access card.

Step 1 Insert the new access card into the slot, taking care to seat the card firmly in the midplane.

Step 2 Lock down the extractor handles and tighten the screws that hold the card in place.

Step 3 Reconnect any cables that you disconnected when you removed the old access card.

Step 4 Refer to the LightStream 2020 Administration Guide for instructions on powering up and reactivating the slot.


Note When you complete this procedure, check the front and back of the system to see that all boards, disks, blowers, bulkheads, filler panels, and covers are in place and firmly screwed to the chassis frame. When all these items are in place, they form an enclosure that prevents the escape of electro-magnetic interference and maintains air flow through the chassis.

Figure 7-6 : Access card replacement.

h3260.gif


Replacing a Power Tray

This section explains how to remove and replace a bulk power tray. Power trays are accessible from the rear of the chassis, as shown in Figure 7-7.


Note Removal and replacement of DC power trays should be performed by qualified service personnel or a licensed electrician.


Removing AC Power Trays

Step 1 If this system has two power trays, skip to step 2. If it has only one and is still operating, shut the system down before proceeding. If you remove the only power tray in an operating system, the system loses power and ceases to operate. See "Performing an Orderly Shutdown" section for instructions on performing an orderly shutdown.

Step 2 Unscrew the two captive screws that hold the power tray's cover in place. Remove the cover.

fig_14.gif Warning When you remove the power tray cover, live power circuits are exposed. Touch only the front lip and the sides of the power tray. Do not insert tools or hands into the power supply tray or into the chassis.

Step 3 Unscrew the two captive retaining screws that hold the power tray assembly in place. (See Figure 7-7.)

Step 4 Slowly slide the power tray out of the chassis.


Removing DC Power Trays

Step 1 If this system has two power trays, skip to step 2. If it has only one and is still operating, shut the system down before proceeding. If you remove the only power tray in an operating system, the system loses power and ceases to operate. See "Performing an Orderly Shutdown" section for instructions on performing an orderly shutdown.

Step 2 Disconnect the power wires and the alarm wires (if any) from the front of the power tray.

Step 3 Unscrew the two captive retaining screws that hold the power tray assembly in place. (See Figure 7-7.)

Step 4 Slowly slide the power tray out of the chassis.


Replacing Power Trays (AC or DC)

Step 1 Slide the new power tray into the housing in the chassis. Make sure that the power tray fits snugly.

Step 2 Tighten the two screws that hold the power tray assembly in place.

Step 3 If you're installing a DC power tray, reconnect the power wires and the alarm wires (if any) to the terminals on the front of the power tray.

Step 4 If you're installing an AC power tray, replace the cover. Secure the cover with the two captive screws that hold it in place.

Step 5 Check the green LED on the power tray to ensure that the power is on. (On a DC power tray, the LED is just below the power switch. On an AC tray, you should be able to see the LED through the cover.)


Note When you complete this procedure, check the front and back of the system to see that all boards, disks, blowers, bulkheads, filler panels, and covers are in place and firmly screwed to the chassis frame. When all these items are in place, they form an enclosure that prevents the escape of electro-magnetic interference and maintains air flow through the chassis.

Figure 7-7 : Replacing power trays.

h3261.gif


Replacing a Blower

This section explains how to remove and replace a blower.

The blowers are at the top of the LightStream chassis. One is accessible from the front and the other is accessible from the rear.


Removal

Step 1 Unscrew the two captive screws that hold the blower cover in place. Remove the cover.

Step 2 Unscrew the retaining screws (bottom front of the blower, shown in Figure 7-8) and slowly slide the blower out until its power LED goes out. When the impeller inside the blower stops spinning, remove the blower completely from the chassis.

fig_15.gif Warning The impeller inside the blower box may still be turning when you loosen the retaining screws. Keep fingers, screwdrivers and other objects away from the openings in the blower's housing. Do not remove the blower from the chassis until the impeller stops moving.


Replacement

Step 1 Slide the new blower into the chassis. Tighten the retaining screws (bottom front).

Step 2 Check the power LED on the front of the blower. It should be on if the system is powered up. (If the LED does not light up, the system may have a connector problem or a power problem.)

Step 3 Replace the cover and tighten the two screws that hold it in place.


Note When you complete this procedure, check the front and back of the system to see that all boards, disks, blowers, bulkheads, filler panels, and covers are in place and firmly screwed to the chassis frame. When all these items are in place, they form an enclosure that prevents the escape of electro-magnetic interference and maintains air flow through the chassis.

Figure 7-8 : Blower replacement.

h3262.gif


Replacing a Disk Assembly

This section explains how to remove and replace a disk assembly.

The disk assembly is a single FRU consisting of a hard disk drive, a floppy disk drive and an associated power supply. A LightStream switch can have up to two disk assemblies. Each disk assembly is associated with a network processor card, and is connected to the network processor card by a ribbon cable attached to a male connector at the rear of the disk assembly slot.


Note There are two versions of the disk assembly: one for AC-powered systems, the other for DC-powered systems.


Removal

Step 1 Unscrew the two screws that hold the disk assembly in place.

Step 2 Slowly slide the disk assembly out of the enclosure.

fig_16.gif Warning When you remove the disk assembly, live power circuits are exposed. Touch only the handle on the front of the disk assembly until you can remove it from the chassis. Do not insert tools or hands into the disk assembly or into the chassis.


Replacement

Step 1 Slide the new disk assembly into the enclosure. When the connectors begin to engage, push slowly and gently to avoid damaging the pins.

Step 2 Tighten the two screws that hold the disk assembly in place.


Note Check the front and back of the system to see that all boards, disks, blowers, bulkheads, filler panels, and covers are in place and firmly screwed to the chassis frame. When all these items are in place, they form an enclosure that prevents the escape of electro-magnetic interference and maintains air flow through the chassis.

Step 3 Turn to "Software Installation" section and follow the procedures for installing software on the replacement disk.

Figure 7-9 : Disk assembly replacement.

h3263.gif


Replacing a Disk Assembly Connector

This section tells you how to replace the 64-pin male DIN connector at the back of each disk assembly slot. You should replace this connector if you notice that any of the pins are bent or broken.

The disk assembly connector is a two-piece "press fit" connector, shown in Figure 7-10. One piece inserts from the rear of the chassis; the other inserts from the front. Have a second person on hand to help you with this procedure.

Figure 7-10 : Front and back sections of disk assembly connector shown with ribbon cable.

h3264.gif


Removal

Step 1 Perform an orderly shutdown of the system, as described in the section "Performing an Orderly Shutdown."

Step 2 Remove the bulk power tray behind the connector that is being replaced. (See the section on "Replacing a Power Tray" if you need instructions on removing the power tray.)

Step 3 Following the instructions in the section, "Replacing a Disk Assembly), remove the disk assembly from the enclosure.

Step 4 From the rear of the chassis, unscrew the two Phillips-head screws that hold the SCSI ribbon cable in place at the rear of the disk assembly connector. Remove the ribbon cable. (Figure 7-11 shows how these pieces fit together.)

Step 5 Remove the two 3/16 lug screws from the rear of the connector. (These lugs held the screws removed in the previous step.)

Step 6 From the front of the chassis, remove the two Phillips-head screws from the front of the connector.

Step 7 Make a note of how the connector is keyed so that you can install the new one in the same manner.

Step 8 Disassemble the connector and remove it.


Replacement

Step 1 The new connector consists of a back piece with pins and a front piece with holes. Have the person who is helping you hold the front piece in front of the hole in the sheet metal where the connector is being installed.

Step 2 From the rear of the chassis, insert the pins on the back of the connector through the hole in the sheet metal and through the front piece of the connector (which is held in place by your helper). When the two pieces of the connector begin to engage, push slowly and gently to avoid damaging the pins.

Step 3 Have your helper replace the two Phillips-head screws in the front of the connector.

Step 4 While your helper holds the two Phillips-head screws in place from the front, replace the two 3/16 lug screws in the rear of the connector.

Figure 7-11 : Front and back pieces of disk assembly connector mate through a hole in the bulkhead at the back of the disk assembly slot.

h3265.gif

Step 5 Replace the SCSI ribbon cable at the rear of the connector and secure it with the two Phillips-head screws that hold it in place.

Step 6 Carefully slide the disk assembly back into the enclosure. When the connectors begin to engage, push slowly and gently to avoid damaging the pins. Tighten the retaining screws that hold the disk assembly in place.

Step 7 Replace the power tray behind the connector that was replaced.

Step 8 Turn on the power and bring the system back up.


Note When you complete this procedure, check the front and back of the system to see that all boards, disks, blowers, bulkheads, filler panels, and covers are in place and firmly screwed to the chassis frame. When all these items are in place, they form an enclosure that prevents the escape of electro-magnetic interference and maintains air flow through the chassis.


Replacing The Midplane

This section explains how to remove and replace the midplane. The first procedure tells you how to learn the chassis ID, which is stored in EEPROM on the midplane. You must find and record this number before removing the old midplane so you can store it in the EEPROM on the new midplane. (The EEPROMs are located on the back of the midplane near the middle of the top edge; the positions are labelled u1 and u2.)

Estimated time to complete these procedures: two hours


Finding the Chassis ID

The chassis ID should be recorded in each node's maintenance log. If the chassis ID isn't in the log, you can use this procedure to learn it, provided the EEPROMs on the midplane are healthy.

Step 1 Log into the LightStream system as root or fldsup.

Step 2 Run the sysver command at the bash prompt:


bash# sysver -mp | more

Step 3 In the resulting display, locate the chassis ID. (If you have two switch cards, the chassis ID should be the same for both.) The chassis ID is displayed in hex and looks something like this example:


0x08.0x00.0x14.0x56 (software chassis ID 5206)

Record the pair of digits following each 0x. For the example above, you would record:

08001456

If you have changed the modem init string and modem password from the factory defaults, record them as well, as you will need to restore them later.


Removing the Midplane

Step 1 Perform an orderly shutdown of the system, as described in the section "Performing an Orderly Shutdown."

Step 2 Cut off the power to the system by detaching the power cord or turning off the power feed.

Step 3 Remove all the cards from the front of the chassis.

Step 4 From the rear of the chassis, unseat all the access cards and disconnect the console/modem assemblies. (It's not necessary to remove these items from the chassis.)

Step 5 From the rear of the chassis, remove the NP access card(s). Behind each NP access card, at the bottom of the slot, you'll see a ribbon cable attached to the midplane. Disconnect each ribbon cable. (If you have two NPs---and thus two ribbon cables---you should label the cables so you can reconnect them properly later.)

Step 6 From the rear of the chassis, remove the lower power tray. (See "Replacing a Power Tray" section for instructions.)

Step 7 Reach into the lower power tray slot and unplug the two power connectors (J15 and J16) from the midplane power tab, as shown in Figure 7-12.

Step 8 From the front of the chassis, remove four #2 Phillips-head screws from the top and bottom of the frame surrounding the card cage. (See Figure 7-13.) The screws are located behind slots 3 and 7.

Step 9 Reach into the chassis and remove two #2 Phillips-head screws from the top and bottom corners of left side of the midplane. (Figure 7-13 shows the screw positions.) The midplane is now disconnected from the chassis.

Step 10 Pull the card cage (with the midplane still attached at the rear) out of the chassis. As you remove this assembly, rotate it slightly clockwise to allow the power tab to clear the chassis. (See Figure 7-14.)

Step 11 To separate the midplane and card cage, remove all the Phillips-head screws from the back of the midplane.

Figure 7-12 : Rear view of chassis showing power connectors as they connect to midplane power tab. (The internal bulkhead that separates the card cage on the left from the power tray slot is not shown.)

h3266.gif


Replacing the Midplane

Step 1 Screw the replacement midplane to the card cage.

Step 2 Slide the midplane-card cage assembly into the chassis, holding the assembly so that the midplane enters with the power tab foremost. When the power tab clears the corner of the disk housing, rotate the assembly counterclockwise until it fits snugly.

Step 3 Replace the two screws at the left corners of the midplane.

Step 4 Replace the four screws in the top and bottom of the frame surrounding the card cage.

Step 5 Reinsert the line cards, NPs and switch cards into the chassis.

Step 6 From the rear of the chassis, reach into the lower power tray slot and reconnect plugs J15 and J16 to the midplane power tab. (The plugs are keyed to their sockets so that they cannot be connected incorrectly.)

Step 7 Replace the lower power tray.

Step 8 Locate the ribbon cable(s) behind the NP access card(s) and reconnect the cable(s) to the midplane. (There is one cable per NP.)

Step 9 Reconnect the console/modem assemblies and reseat the access cards; be sure to tighten all the retaining screws.


Note When you complete this procedure, check the front and back of the system to see that all boards, disks, blowers, bulkheads, filler panels, and covers are in place and firmly screwed to the chassis frame. When all these items are in place, they form an enclosure that prevents the escape of electro-magnetic interference and maintains air flow through the chassis.

Figure 7-13 : Midplane.

h3267.gif

Figure 7-14 : Midplane/card cage assembly slides into the chassis with a twist.

h3268.gif


Writing the Chassis ID to the New EEPROMs

This procedure differs depending on whether your system has one switch card or two. If you have two switch cards, you need only type two commands to program the two EEPROMs. If you have just one switch card, you must move the card from one switch slot to the other between commands. This is necessary because each midplane EEPROM is connected to one switch card slot, and you can't program the EEPROM without a switch card in the slot. It is very important to have the same chassis ID on both midplane EEPROMs.

Step 1 Power up the system.

Step 2 Attach a terminal to the console port of the active switch card.

Step 3 The terminal connects to the TCS hub. At the prompt, type the following command, replacing the placeholder at the end with your chassis ID, which you recorded at the beginning of this section:


TCS HUB<<A>>  set sa mid nodeaddr <chassisID>


Note This command assumes you are programming the EEPROM for switch slot A. If you wish to begin with slot B, begin the command with set sb instead of set sa.

Step 4 To verify that you entered the chassis ID in slot A correctly, type the following command and check the chassis ID in the resulting display. (If you just set the chassis ID for slot B, begin this command with show sb instead of show sa.)

TCS HUB<<A>>  show sa mid nodeaddr

Step 5 If this system contains two switch cards, skip to step 8. If this system contains only one switch card, type the following:

TCS HUB<<A>>  set sa power off


Note Again, this command assumes you are programming the EEPROM for switch slot A. If you wish to begin with slot B, begin the command with set sb instead of set sa.

Step 6 Remove the switch card from the chassis and put it into the other switch card slot.

Step 7 From the rear of the chassis, move the console/modem assembly (keeping the console connection intact) to the other switch card slot. Note that when you return to the console, the TCS hub prompt changes from A to B (or from B to A, if you started with switch slot B). Press [Return] to display the new prompt.

Step 8 At the console, type the following:

set sb mid nodeaddr <chassisID>


Note This command assumes you are programming the EEPROM for switch slot B. If you are doing slot A, begin the command with set sa instead of set sb.

Step 9 To verify that you entered the chassis ID in slot B correctly, type the following command and check the chassis ID in the resulting display. (If you just set the chassis ID for slot A, begin this command with show sa instead of show sb.)

show sb mid nodeaddr

Step 10 If the modem initialization string and modem password stored in midplane EEPROMs have not been changed from the factory defaults, skip to the next step. If the modem information has been changed, you must bring the new midplane up to date. Refer to the LightStream 2020 Operations Guide for instructions on programming the modem init string and password into the EEPROMs on the new midplane.

Step 11 To reset the system with the new EEPROM information, use the command shown below. Replace the <slot#> with the slot number of the NP (1 or 2). If your system has two NPs, repeat this command for the second one.

reset <slot#>


Step 12 You can now bring the system up. To connect to the primary NP, use the command shown below. Replace the <slot#> with the slot number of the active NP in the system (1 or 2).

connect <slot#>


Replacing a Console/Modem Assembly

This section tells you how to remove and replace a console/modem assembly.

A console/modem assembly is located behind each switch card, at the rear of the chassis. The assembly consists of a bulkhead with console and modem ports mounted on it, with cables to connect to the midplane.


Removal

Step 1 Loosen the retaining screws at the top and bottom of the bulkhead.

Step 2 Pull the bulkhead away from the chassis (see Figure 7-15). You'll see a ribbon cable that attaches the bulkhead to the midplane; disconnect it at the midplane end.


Replacement

Step 1 Connect the new assembly's ribbon cable to the connector on the midplane.

Step 2 Line up the bulkhead against the card cage and tighten the top and bottom retaining screws.


Note When you complete this procedure, check the front and back of the system to see that all boards, disks, blowers, bulkheads, filler panels, and covers are in place and firmly screwed to the chassis frame. When all these items are in place, they form an enclosure that prevents the escape of electro-magnetic interference and maintains air flow through the chassis.

Figure 7-15 : Console/modem assembly replacement.

h3269.gif


Replacing a Fantail

This section tells you how to remove and replace LightStream fantails, which provide connectors for data cables on low-speed (X.21, V.35 and RS-449) lines. Figure 7-16 shows how fantails are connected to access cards.


Removal

Step 1 Disconnect any external data cables from the fantail. Label them with the numbers of the ports they were connected to so that you will be able to reattach them to the new fantail in exactly the same configuration.

Step 2 Remove the fantail cable (or cables, in the case of an X.21 fantail) from the back of the fantail, leaving the cable(s) attached to the access card in the chassis.

Step 3 Using a 5/16-inch slotted-tip screwdriver, unscrew the mounting screws and remove the fantail from the equipment rack.


Replacement

Step 1 If necessary, attach the four clip nuts provided with the new fantail to the holes in the equipment rack rails.

Step 2 Attach the fantail cable(s) to the back of the fantail.

Step 3 Using a 5/16-inch slotted-tip screwdriver and the mounting screws and washers provided, attach the fantail to the equipment rack.

Step 4 Label the fantail with the slot number or names of the line and access cards that it is connected to.

Step 5 Reconnect any data cables that were disconnected to remove the old fantail.

Figure 7-16 : Fantails connecting to a low-speed access card. The X.21 fantail (not shown) has two rear connectors; both attach to the same LSAC.

fig_23.gif


Performing an Orderly Shutdown

This section explains how to shut down a LightStream switch gracefully, which involves rebooting the NPs. You may need to use this shutdown procedure before performing other procedures in this manual.

Two shut-down procedures are provided: the first is for switches with two NPs, the second for switches with one NP. Following the shut-down procedures are instructions for returning to service.


Shutting Down a Switch with Two NPs

In a system with two NPs, you must reboot the backup NP before you reboot the active NP. (If you reboot the active NP first, the backup takes over and the system continues to operate.)

Step 1 Warn anyone who will be affected that you're taking the system out of service.

Step 2 Log in to the root account on the switch you want to shut down.

Step 3 To determine which NP is active (primary), start the CLI and use the command show chassis general and look for Slot of Primary NP in the resulting display. This is the NP you'll reboot last.

Step 4 To log into the backup NP (the one whose slot number was not displayed in step 3), do the following:

Type `. to get a TCS hub prompt.

At the TCS hub prompt, use connect <slot#> to connect to the backup NP. The example below assumes that you are connecting to the NP in slot 2.

TCS hub<<A>> connect 2

Log in to the root account.

Step 5 From the bash# prompt, type

bash# reboot -n

Step 6 Type `. to return to the TCS hub.

Step 7 At the TCS hub prompt, use connect <slot#> to connect to the active NP. The example below assumes that you are connecting to the NP in slot 1.

TCS hub<<A>> connect 1

Step 8 If necessary, type quit to exit from CLI and get a bash prompt.

Step 9 From the bash# prompt, type

bash# reboot -n

Step 10 You can now turn off the power.


Shutting Down One NP

Use this procedure to shut down a system with one NP, or to shut down one NP in a redundant system where you want the other NP to continue operating.

Step 1 Warn anyone who will be affected that you're taking the system out of service.

Step 2 Log in to the root account on the switch you want to shut down.

Step 3 From the bash# prompt, type


bash# reboot -n

Step 4 You can now turn off the power.


Returning to Service

If you turned off the power, you can return the system to service by turning the power on again.

If you did not turn off the power, use the command shown below at the TCS hub to bring the system back to service. Replace slot# with the slot number of the NP card (1 or 2):

TCS hub<<A>> reset <slot#>

Note that you must issue the reset command to both NPs in a redundant system.


List of Field-Replaceable Units and Expansion Modules Appendix

List of Field-Replaceable Units and Expansion Modules Appendix

This appendix lists:

  • All FRUs in a LightStream 2020 enterprise ATM switch

  • Expansion modules for NPs and line cards

(An expansion module includes everything needed to add a particular kind of card to an existing system.)

At least one part number is listed for each item. For many items, two part numbers are provided: the LightStream-internal manufacturing number, and the order number.

fig_22.gif Caution Before removing any components from the chassis, read the safety instructions in the "Electrostatic Discharge (ESD) Protection" section. Removing components when you are not grounded can damage the system.

Table 8-1 : FRUs and Part Numbers

Component Manufacturing Number Order Number
Base system1 plus NP 2321968G02 9000-2
NP option module:
NP card with 32 Mb memory

NP access card & disk assembly

2221994G02
9400-2
NP access card 2121992G01
Disk assembly for AC system
Disk assembly for DC system
2221995G01
2221995G02
Switch card
... with console/modem assembly
2123864G01
9001-2
Low-speed line card, V.35 module: 9304-1 (4-ft. cables)
9308-1 (8-ft. cables)
9312-1 (12-ft. cables)
Low-speed line card

Low-speed access card

2 V.35 fantails

2 fantail cables
2222250G01
2122007G01
2222718G01
2422865-OX2
Low-speed line card,
RS-449 module:

9304-2 (w/ 4-ft. cable)
9308-2 (w/ 8-ft. cable)
9312-2 (w/ 12-ft. cable)
Low-speed line card

Low-speed access card

2 RS-449 fantails

2 fantails
2222250G01
2122007G01
2223856G01
2422865-0X2
Low-speed line card,
X.21 module:

9304-2 (w/ 4-ft. cable)
9308-2 (w/ 8-ft. cable)
9312-2 (w/ 12-ft. cable)
Low-speed line card

Low-speed access card

1 X.21 fantail

2 fantail cables
2222250G01
2122007G01
2223856G01
2422865-0X2
Medium-speed line card,
T3 module:
Medium-speed line card

Medium-speed T3 access card


2122009G01
2122012G01

9200-1
Medium-speed line card,
E3 PLCP module:
Medium-speed line card

E3 PLCP access card


2122009G01
2123258G02

9200-2
Medium-speed line card,
E3 G.804 module:
Medium-speed line card

E3 G.804 access card


2122009G01
2123258G03

9200-3
Packet line card/Ethernet module:
Packet line card

Ethernet access card

2123086G01
2123988G01

9600-2
Packet line card/FDDI module:
Packet line card

FDDI access card

2123086G01
2124055G01

9600-3
Cell line card,
2-port multimode OC3 module:
Cell line card

2-port multimode OC3 access card


2123263G01
2123265G02

9700-5
Cell line card,
1-port multimode OC3 module:
Cell line card

1-port multimode OC3 access card


2123263G01
2123265G04

9700-4
Cell line card,
2-port single mode OC3 module:
Cell line card

2-port single mode OC3 access card


2123263G01
2123265G01

9700-3
Cell line card,
1-port single mode OC3 module:
Cell line card

1-port single mode OC3 access card


2123263G01
2123265G03

9700-2
Midplane 2121973G01
Bulk power tray assembly, AC 2221983G01 9001-1
Bulk power tray assembly, DC 2223234G01 9001-3
Blower assembly 7022296-01
Disk assembly connector:
64-pin DIN connector w/ spacer

7122828-01

1 Base system is a chassis with a switch card, midplane, and blowers only.
2 X = 2 for 4-ft. cables, 3 for 8-ft. cables, or 4 for 12-ft. cables.

IP Addresses Appendix

IP Addresses Appendix

IP Addresses · Address Masks · Subnetting

This appendix provides some background information for readers who are not familiar with the considerations involved in assigning IP addresses to networks and hosts. For additional information, see:

  • Internetworking with TCP/IP, Volume 1, Principals, Protocols, and Architecture. Douglas E. Comer, 1991, Prentice-Hall, Inc. (ISBN 0-13-468505-9)

  • The Simple Book: An Introduction to Management of TCP/IP-based Internets. Marshall T. Rose, 1991, Prentice Hall, Inc. (ISBN 0-13-812611-9)

  • Interconnections: Bridges and Routers. Radia Perlman, 1992, Addison-Wesley. (ISBN 0-201-56332-0)


IP Addresses

An IP address is a 32-bit identifier assigned to hosts that use the Internet Protocol. The address is represented by four octets (8-bit fields). In decimal form, an IP address comprises four fields separated by dots, where each field contains a value in the range 0-255. (This is called dotted decimal notation.)

An IP address consists of two parts. The first part of the address, called the network number, identifies a network on the internet; the remainder, called the host ID, identifies an individual host on that network. Historically, there are three types of addresses, class A, class B, and class C, as follows:

  • Class A
    Only the first field identifies the network, and the number in the first field must be in the range 1-126 (127 is reserved for loopback). Class A networks are very large. Host numbers 0.0.0 and 255.255.255 are reserved, and one octet is reserved for other purposes, so there can be almost 17 million (224 -2) hosts in a class A network. The 126 class A network numbers have been allocated.

Example: 26.4.0.1, for host 4.0.1 on net number 26.

  • Class B
    The first two fields identify the network, and the number in the first field must be in the range 128-191. Class B networks are large. Host numbers 0.0 and 255.255 are reserved, so there can be up to 65,534 (216 -2) hosts in a class B network. Most of the 16382 class B addresses have been allocated.

  • xClass C
    The first three fields identify the network, and the number in the first field must be in the range 192-223. (The range 224-255 is reserved for classes D and E, for experimental work.) Class C networks are relatively small. Host numbers 0 and 255 are reserved, so there can be up to 254 (28 -2) hosts in a class C network. Most LANs are class C networks. There can be over 2 million in an internet.

Example: 192.15.28.16, for net number 192.15.28, host 16.

Each host ID must be unique within a given network, and each network number must be unique within a given internet. Host IDs are assigned by the administrator of the network. The network number is assigned by the administrator of the internetwork. For a public network on the Internet, you must obtain a network number assigned by the Network Information Center (NIC).


Address Masks

An address mask determines which portion of an IP address identifies the network and which portion identifies the host. Like the IP address, the mask is represented by four octets. (An octet is an 8-bit binary number equivalent to a decimal number in the range 0-255). If a given bit of the mask is 1, the corresponding bit of the IP address is in the network portion of the address, and if a given bit of the mask is 0 the corresponding bit of the IP address is in the host portion.

The following illustration shows the mask 255.255.255.0 in both decimal and binary form, aligned with the class C address 192.15.28.16, also in both decimal and binary:

Network Host
Mask 255 .255
.255 0
11111111 11111111 11111111 00000000
Address 192 .15 .28 16
11000000 00001111 00011100 00010000

If a field of the network address is entirely used for the network number, then the corresponding field of the mask has the decimal value 255 (binary 11111111), and if an address field is entirely used for the host ID, then the corresponding field of the mask has the decimal value 0, as follows:

Decimal Value in Field of Mask Binary Value in Field of Mask Used to Identify:
255 11111111 Network #
0 00000000 Host ID

Accordingly, the address masks for the three classes of networks described above are as follows:

Address Class Address Mask
A 255.0.0.0
B 255.255.0.0
C 255.255.255.0


Subnetting

The boundary between the network portion and the host portion of IP addresses can be shifted by replacing the first zero in the host portion with a different number. By this means, more than one physically distinct network can be managed under a single class A, class B, or class C network number.


Subnet Masks

When a modified address mask is used to partition a network into subnets, it is called a subnet mask. The simplest subnet masks for the three classes of networks are as follows, where n is a number other than zero:

Address Class Address Mask
A 255.n.0.0
B 255.255.n.0
C 255.255.255.n

(The other zeros in the mask for a class A or class B address can also be replaced by a different number, but for simplicity we will ignore that possibility here.)


Note Do not be confused by use of the term subnetwork for the individual networks that make up an internetwork. Each "subnetwork" in this latter sense has a different network number, but when a network is partitioned into subnets by a subnet mask, they all have the same network number.

A simple example of subnetting partitions a class B network by setting the third octet of the mask to 255, that is, by using the address mask of a class C network. The following illustration shows the mask 255.255.255.0 in both decimal and binary form, aligned with the class B address 128.89.2.26, also in both decimal and binary:

Network Host
Mask 255 .255
.255 0
11111111 11111111 11111111 00000000
Address 128 ..89 .2 .26
10000000 01011001 00000010 00011010

Outside the network, packets are routed to net 128.89. It is only when packets reach a router that is directly connected to the network that routing software takes account of the subnet mask. The mask partitions net 128.89 into 254 subnets (numbers 0 and 255 are reserved), each supporting up to 254 hosts.

Other values than 255 may be used, however, and obviously 255 cannot be used in the host field of a class C network. The mask value n that is substituted for 0 must be one of the decimal values shown in the first column of the following table:

Decimal Value Binary Value Subnets Hosts
192 11000000 2 62
224 11100000 6 30
240 11110000 14 14
248 11111000 30 6
252 11111100 62 2

  • Column 2 shows the values of n as binary numbers. It is the binary values that are used in routing computations.

    • If a given bit of the mask is 1, the corresponding bit of the IP address is part of the network ID.

    • If a given bit of the mask is 0, the corresponding bit of the IP address is part of the host ID.


Note Any number other than these results in discontinuous strings of 1s and 0s, with undesirable consequences for software that interprets addresses subnetted under this mask.

  • Column 3 indicates the number of subnets into which the mask partitions the network. If the first n mask bits are 1s, there are 2n-2 subnets. (Two net numbers are reserved.)

  • Column 4 indicates the number of distinct host IDs that can be specified for each subnet by using the remaining bits of this field. If the last n mask bits are 0s, there are 2n-2 hosts. (Two host IDs are reserved.)

Decimal value 254 (binary 11111110) is omitted from the above table because it allows 0 hosts. Decimal value 0 (binary 00000000) and decimal value 128 (binary 10000000) are omitted because they allow 0 subnets.


Reserved Addresses

The reserved network numbers and host IDs that were subtracted from 2n in columns 3 and 4 are as follows:

  • The host number that is all 0s in binary is used to refer to the (sub)network itself. (The IP specification also reserves host 0.)

For example, the address 192.15.28.0 refers to class C network 192.15.28.

  • The network number that is all 0s in binary is used within a given network to refer to "this" network.

For example, in a class C network with no subnetting, the address 0.0.0.16 refers to host 16 on "this" network. (Address 0.0.0.16 refers to host 0.16 in a class B net, or to host 0.0.16 in a class A net.)

  • The Host ID that is all 1s in binary is reserved as a broadcast address within a given (sub)network for all hosts on this (sub)network. (The IP specification also reserves a net or subnet number whose binary representation is all 1s.)

For example, within the class C network 192.15.28, with no subnetting, the address 192.15.28.255 broadcasts to all hosts in this network.

  • If the bits in the network portion are all 1s, the address is reserved.

The range 224.0.0.0 through 255.255.255.254 is reserved for experimental use (address classes D and E), and 255.255.255.255 is the universal broadcast address.


Ranges of Host IDs

You know how to partition a network with a subnet mask, but you may not be able to determine which IP addresses fall in each of the subnets. An example will clarify this.

Suppose you want to partition class C network 192.15.28 into five physical networks. Look in the "Subnets" column of the table in the section "Subnet Masks." The closest approximation is to configure six subnets. To do this, enter 224 in the last field of the subnet mask. Thus, 255.255.255.224 is the subnet mask that you must specify to partition a class C network into six subnets.

The following illustration shows the mask 255.255.255.224 in both decimal and binary form, aligned with the class C address 192.15.28.16, also in both decimal and binary:

Network Host
Mask 255 .255
.255 .244
11111111 11111111 11111111 00000000
Address 192 .15 .28 .16
11000000 00001111 00011100 000 00010000

By putting 224 in the last field of the mask, you tell the software to use the leftmost three bits of the last octet (the high-order bits) to differentiate subnets. In an 8-bit field, in binary notation, the high-order 3 bits naturally partition the range of numbers (and the range of possible IP addresses) into eight equal parts, corresponding to the eight binary numbers 000 through 111.

If you are not familiar with manipulating binary numbers and this is not clear to you, please refer to the following table:

Decimal Range Binary Range High Bits
0 - 31
32 - 63
64 - 95
96 - 127
128 - 159
160 - 191
192 - 223
224 - 255
00000000 - 00011111
00100000 - 00111111
01000000 - 01011111
01100000 - 01111111
10000000 - 10011111
10100000 - 10111111
11000000 - 11011111
11100000 - 11111111
000
001
010
011
100
101
110
111

The high-order three bits of the IP address field thus partition the full range of 256 possible 8-bit numbers that can appear in the last octet of an IP address into eight groups of 32 addresses (256/8 = 32), as shown in the following table:

IP Addresses Subnet High 3 Bits
192.15.28.0 ---
192.15.28.31
0 000
192.15.28.32 ---
192.15.28.63
1 001
192.15.28.64 ---
192.15.28.95
2 010
192.15.28.96 ---
192.15.28.127
3 011
192.15.28.128 ---
192.15.28.159
4 100
192.15.28.160 ---
192.15.28.191
5 101
192.15.28.192 ---
192.15.28.223
6 110
192.15.28.224 ---
192.15.28.255
7 111

However, addresses reserved for broadcast and for "this net" must be excluded. These are as follows:

  • The range of numbers that have 000 or 111 in the network portion. This means that we must exclude the addresses shown for "subnet 0" and "subnet 7" in the table.

  • The range of numbers that have 00000 in the host portion: addresses with numbers 0, 32, 64, 96, 128, 160, 192, and 224 in the last field of the IP address. This means that we must exclude the first address in each of the address ranges noted in the table above.


Six Subnets in a Class B Network

Suppose we want to subnet class B network 128.89 into six subnets. Referring to the "Decimal Value" column of the table in the section "Subnet Masks" we see that the number to substitute for n is 224 if we want six subnets. The mask is 255.255.224.0 with six subnets. Recall that the mask is 255.255.0.0 with no subnetting. These two masks have the following binary representations:

255.255.0.0    =  11111111.11111111.00000000.00000000
255.255.224.0  =  11111111.11111111.11100000.00000000

With the subnet mask 255.255.224.0, the first three bits of the third octet are included in the network identifier. As we saw at the end of the previous section, we must divide 256 by the number of subnets to get the ranges of addresses for each subnet. The mask divides the range of numbers 0-255 that can appear in the third field of an IP address into eight ranges of 32 numbers: 0-31, 32-64, and so on.

Because there are 11 bits in all for the host ID (8 in the last field plus 3 in the third field), the mask 255.255.128.0 provides for 2046 (211 -2) hosts in each of the eight subnets. The ranges of addresses for each subnet are as follows:

IP Addresses Subnet First 3 Bits
128.89.0.1 ---
128.89.31.254
0 000
128.89.32.1 ---
128.89.63.254
1 001
128.89.64.1 ---
128.89.95.254
2 010
128.89.96.1 ---
128.89.127.254
3 011
128.89.128.1 ---
128.89.159.254
4 100
128.89.160.1 ---
128.89.191.254
5 101
128.89.192.1 ---
128.89.223.254
6 110
128.89.224.1 ---
128.89.255.254
7 111

Subnet 0 is reserved because the addresses 128.89.0.1 - 128.89.31.254 have 000 as the high-order bits. Subnet 7 is reserved because the addresses 128.89.224.1 - 128.89.255.254 have 111 as the high-order bits.

The first address in each subnet address range is reserved to refer to the subnet as a whole because the last five bits of the address field are zeros, and the last address in each subnet address range is reserved as a broadcast address for the subnet because the last five bits of the address field are ones. For example, in subnet 3, 128.89.96.0 is the subnetwork address and 128.89.127.255 is the broadcast address.

HomeTOCPrevNextGlossSearchHelp
-

Copyright 1988-1996 © Cisco Systems Inc.