Banner
HomeTOCPrevNextGlossSearchHelp

PDF

Table of Contents

StrataCom Strategic
Wide Area ATM Networks


StrataCom Strategic Wide Area ATM Networks

StrataCom Strategic
Wide Area ATM Networks

This chapter provides an introduction to the StrataCom Strategic Wide Area ATM networking products including an overview of the StrataCom IPX, IGX, BPX, AXIS, Access products, INS, and StrataSphere NMS.


Introduction

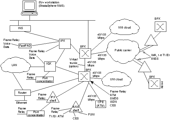
StrataCom's wide area ATM networks meet the expanding requirements of today's private enterprise and public carriers. These Strategic ATM Wide Area Networks include: more bandwidth, new services, reduced transaction costs, greater flexibility, scalability, service interworking, plus manageability and security for both Private Enterprise and Public Carrier networks (Figure 1-1).

Figure 1-1 : A StrataCom ATM Network Configuration

h8144.gif


Expanding Network Requirements

Due to a number of events occurring in both private enterprise and public carrier networks; including on-going advances in computing power, more desktop interaction, more transactions, more visual content, an explosion of new applications, etc., greater demands have been placed on both private and public networks.

To maximize bandwidth utilization and flexibility, networks are moving from dedicated circuits with fixed bandwidth between devices to virtual networks. A virtual network comprises logical connections (virtual circuits) which dynamically share physical bandwidth capacity on an as needed basis with other logical connections (virtual circuits) or networks.


ATM Networks

These emerging virtual networks share bandwidth using the multiplexing technique called ATM asynchronous transfer mode, which allows networks to dynamically allocate capacity to connections on an as needed basis. ATM traffic is segmented into 53-byte cells for transmission of all types of traffic, voice, data, frame relay, video, ATM services, etc., at narrowband and broadband speeds.


STRATM

STRATM is StrataCom's framework for Wide Area Networking for all traffic types. STRATM provides the means for ATM implementation today, and lays the foundation for future applications. STRATM emphasize five key ATM implementation principles:


New with Release 8.2

Release 8.2 includes the following:


Continuing Features with Release 8.2

The following is a list of some of the previously provided features that are included in Release 8.2:


StrataSphere Network Management


Network


INS

Frame relay dialup and backup via an INS/DAS (Intelligent Network Server/Dial Access Switching Shelf)


AXIS


BPX


IPX/IGX

For further information on Frame Relay to ATM Interworking and Tiered Networks, refer to the Chapter 14, "Frame Relay to ATM Network and Service Interworking" and Chapter 15, "Tiered Networks."


StrataCom's ATM Networks

StrataCom's networking systems support multiband ATM applications in private wide area networks and public carrier service offerings, such as frame relay and native ATM. StrataCom's product family includes the IPX, IGX, BPX, AXIS, FastPAD, INS, and StrataSphere products. These products integrate and transport a wide variety of information, including voice, data, frame relay, video, LAN traffic, image and multimedia traffic ranging from narrowband to broadband ATM.

The IPX, IGX, and BPX network switches are used to implement digital high-speed, wide area private and public networks (WANs) for interconnecting customer's local area networks (LANs). These cell relay networks are created by interconnecting StrataCom network switches with high-speed digital trunks provided by any of the number of public common carriers or private service providers.


Private Enterprise Wide Area Networks

Corporations, government agencies, universities, telecommunications service providers, and others with a need to link their communications facilities can use the narrowband IPX, multiband IGX, and broadband BPX as a basis on which to build their own private networks (Figure 1-2).

In many instances, the primary reason for implementing private WANs is to link far-flung LANs. With the additional bandwidth available and the flexibility of cell relay technology, a private user often can add voice circuits and even a video conferencing facility on the same network without adding trunks and with very little additional expense.


The IPX

The majority of private network locations have lower bandwidth requirements, fewer routes, small hubs, and a wide variety of service requirements. The narrowband IPX fits these applications by providing a wide offering of customer interfaces, several package sizes, and a scalable architectures IPX allows the user at each site to replace numerous low-speed dial-up and/or leased line circuits with a few high-speed T1 or E1 lines. The advantages often include faster response times, wider range of available services, more efficient utilization of bandwidth and the resulting cost savings. Plus, the private network often provides better management control, tighter security, and increased configuration flexibility under direct control of the end user.


The IGX

The IGX multiservice ATM networking switch provides interfaces to support today's legacy and emerging broadband applications. Users have the advantage of ATM technology over narrowband and subrate T1 and E1, and broadband T3, and E3 trunks. The IGX can be used as the basis for a leased-line Campus/MAN/WAN network, as an access device to high-speed digital services such as ATM, as a combination of both applications, and as a Value Added Network (VAN) service switch. Operating at 1.2 Gbps, the IGX, seamlessly integrates with the IPX, BPX, AXIS, INS and the FastPAD platforms under StrataSphere management to provide multiband ATM solutions from the access interface to the core layer.


The BPX and AXIS Shelves

Many network locations have increasing bandwidth requirements due to emerging applications. To meet these requirements, users can overlay their existing narrowband networks with a backbone of BPX nodes to utilize the high-speed connectivity of the BPX operating at 9.6 Gbps with its T3/E3/OC3 network and service interfaces. The BPX service interfaces include ASI ports on the BPX and service ports on AXIS shelves. The AXIS shelves may be co-located in the same cabinet as the BPX, providing economical port concentration for T1/E1 Frame Relay, T1/E1 ATM, and FUNI connections.

Figure 1-2 : Example of a Private Enterprise Network Application

s5276.gif


Public Carrier Multi-Service Networks

The demand to provide LAN interconnections has driven most of the public service providers to consider ways to quickly react to this new opportunity. Frame relay has proven to be a reliable, cost-effective, standards-based service for transmitting LAN data, which tends to be very bursty in nature. Typically, LANs access the network only at periodic intervals but when they do, they often require large amounts of bandwidth for short periods of time. It is not cost effective to provide sufficient bandwidth to every LAN connection on a full-time basis.

Since the IPX and IGX utilize cell-relay technology, there are significant service advantages when frame relay is implemented on them. Since cell network platforms only allocate bandwidth when there is demand, the unused bandwidth from idle frame relay connections can be used by active connections. This allows the active connections to "burst" or to send large amounts of data for a short interval above their committed information rate. Then as the connection goes idle, the bandwidth is utilized for yet another connection.

Another advantage of cell relay networks is the flexibility of offering Permanent Virtual Circuits (PVCs) to interconnect all LAN sites in a mesh topology, in contrast to using physical circuits that require a large investment in interface hardware and data circuits. Frame relay networks based on IPX and IGX nodes and AXIS shelves offer unmatched features to minimize delay, maximize throughput, and avoid congestion.

Current frame relay networks offer LAN circuit interconnection at rates from 56 Kbps to 2 Mbps. As frame relay traffic increases and customers demand more bandwidth for advanced applications, StrataCom's IPX and IGX FastPacket architecture give service providers a clear upgrade path to broadband ATM capabilities. Broadband networks, utilizing high-speed trunks and ATM cell switching, can be overlaid on a narrowband FastPacket network by adding a backbone of BPX nodes. An existing network can be upgraded by adding a high-speed network ATM backbone utilizing StrataCom Broadband BPX nodes with gigabit switching as indicated in Figure 1-3.

Figure 1-3 : Example of a Public Network Application

s5277.gif

The BPX provides ATM UNI services from the same platform using ASI cards, and also uses the AXIS shelves and IPX nodes configured as shelves to provide cost-effective multi-media services.

Frame Relay ports can also be provided directly on BPX nodes using AXIS shelves or IPX shelves for maximum port density.

This multiband ATM service model provides both narrow and broadband interfaces from a common cell switching infrastructure. Connection management, congestion control, and network management are extended seamlessly across the entire network.


StrataCom ATM NW Features


Advanced Capabilities

The StrataCom ATM networks include sophisticated system software for management and control of the network. StrataCom's system software is fully distributed in each switch to provide the fastest response time to network provisioning and network problems. Advanced capabilities include Frame Relay to ATM Network and Service Interworking, Tiered Network operation, Virtual Trunking, Sonet/SDH Interfaces, AutoRoute, Opti-Class, FairShare, and ForeSight.


Frame Relay to ATM Interworking

Interworking allows users to retain their existing services, and as their needs expand, migrate to the higher bandwidth capabilities provided by BPX ATM networks. Frame Relay to ATM Interworking enables frame relay traffic to be connected across high-speed ATM trunks using ATM standard Network and Service Interworking

Two types of Frame Relay to ATM interworking are supported, Network Interworking (Figure 1-4) and Service Interworking (Figure 1-5). The Network Interworking function is performed by the AIT card on the IPX and by the BTM card on the IGX. The FRSM card on the AXIS supports both Network Interworking and Service Interworking.

The frame relay to ATM network and service interworking functions are available as follows:


Network Interworking

Network Interworking is supported by the FRP on the IPX, the FRM on the IGX, and the FRSM on the AXIS. The Frame Relay Service Specific Convergence Sublayer (FR-SSCS) of AAL5 is used to provide protocol conversion and mapping.

Figure 1-4 : Frame Relay to ATM Network Interworking

h8225.gif


Service Interworking

Service Interworking is supported by the FRSM on the AXIS. Translation between the Frame Relay and ATM protocols is performed in accordance with RFC 1490 and RFC 1483.

Figure 1-5 : Frame Relay to ATM Service Interworking

s5235.gif


Additional Information

For additional information about Interworking, refer to Chapter 14, "Frame Relay to ATM Network and Service Interworking" and Chapter 15, "Tiered Networks."


Tiered Networks

StrataCom networks may be configured as flat (all nodes perform routing and communicate fully with one another), tiered (AXIS, IPX and IGX Interface Shelves are connected to BPX routing hubs where the IPX/IGX Interface Shelves are configured as non-routing hubs), or structured (where a network is divided into a number of domains).

Tiered networks are established by adding interface shelves (non-routing nodes) to an IPX/BPX network (Figure 1-6). AXIS interface shelves and IPX/IGX interface shelves are supported by the BPX routing hubs. Connecting interface shelves to BPX routing hubs, allows the network to support additional T1/E1 frame relay traffic (IPX/IGX Shelves) and T1/E1 frame relay and ATM traffic (AXIS Shelves) without adding additional nodes.

The AXIS Interface Shelf supports T1/E1 frame relay, T1/E1 ATM ports, FUNI, and T1/E1 CES, and is designed to support additional interfaces in the future. The IPX interface shelf supports frame relay ports, as does the IGX (option is available to configure as a shelf).

An IPX/IGX/BPX network can contain 100 nodes and up in a flat network, or 63 nodes per domain in a structured network.

Figure 1-6 : Tiered Network

s5278.gif

The following are necessary requirements in order to implement tiered networks:

For additional information about Tiered Networks, refer toChapter 15, "Tiered Networks."


IMA (Inverse ATM Multiplexing)

Where greater bandwidths are not needed, the Inverse Multiplexing ATM (IMA) feature provides a low cost trunk between two BPXs. The IMA feature allows BPX nodes to be connected to one another over from 1 to 8 T1 or E1 trunks provided by an AIMNM module on an AXIS Shelf. A BNI port on each BPX is directly connected to an AIMNM module in an AXIS shelf by a T3 or E3 trunk. The AIMNM modules are then linked together by from 1 to 8 T1 or E1 trunks. Refer to the AXIS Reference and the Command Reference manuals for further information.


Circuit Emulation Service (CES)

AXIX Rel. 3 supports CES over T1/E1 lines with the 4 port Circuit Emulation Service Module. Data is transmitted and received over the network in AAL-1 cell format.


Zero CIR for Frame Relay

This feature allows users to take advantage of lower cost uncommitted frame relay service. The feature applies to frame relay connections that originate and terminate on FRP (IPX) or FRM (IGX) ports. It does not apply to frame relay to ATM connections. The CIR on the connection is configured to zero, and the MIR must be non-zero,


Virtual Trunking

Virtual trunking provides the ability to define multiple trunks within a single physical trunk port interface. Virtual trunking benefits include the following:

A virtual trunk may be defined as a "trunk over a public ATM service". The trunk really doesn't exist as a physical line in the network. Rather, an additional level of reference, called a virtual trunk number, is used to differentiate the virtual trunks found within a physical trunk port. Figure 1-7 shows four StrataCom Sub-Networks, each connected to a Public ATM Network via a physical line. The Public ATM Network is shown linking all four of these subnetworks to every other one with a full meshed network of virtual trunks. In this example, each physical line is configured with three virtual trunks.

Figure 1-7 : Virtual Trunking Example

h8227.gif

For further information on Virtual Trunking, refer to Chapter 7. Also, refer to the Command Reference Manual.


Sonet/SDH Network and Service Interfaces


Network Interface

To meet the need for high performance backbone networking, StrataCom provides a SONET/SDH trunking solution with the BNI-155 Broadband Network Interface card. Designed for the BPX service node, the BNI-155 operates at the standard OC-3c/STM-1 (155.52 Mbps) rate to provide high-speed ATM interconnection between BPXs. The large cell buffering capability provided on the BNI-155 ensures highly reliable ATM trunk connections. The BNI-155 supports up to 12 Classes of Service (CoS).

The BNI-155 is a two port OC-3c/STM-1 (155.520Mbit/s) network interface card that can be plugged into any of the 12 general purpose card slots of the BPX. Each general purpose slot provides an 800Mbit/s bidirectional card slot capacity and allows the hot swapping of cards. The mid-plane design of the BPX supports a variety of physical interfaces, making the BNI-155 suitable for most ATM network applications. The physical interface options include multi-mode fiber (MMF), single-mode fiber intermediate reach (SMF-IR), and a single-mode fiber long reach (SMF-LR) for optical terminations.


Service Interface

The ASI-155 ATM Service Interface card provides network access at SONET/SDH based speeds. Designed for the BPX service node, the ASI-155 operates at the standard OC-3c/STM-1 (155.520Mbit/s) rate to provide broadband connectivity between the BPX and ATM CPE. Up to 1000 connections per port are supported on the card for Virtual Circuit Connections (VCCs) and/or Virtual Path Connections (VPCs), with extensive cell buffer support to provide reliable ATM connections. Furthermore, the ASI-155 supports up to 12 Classes of Service (CoS's).

The ASI-155 is a two port OC-3c/STM-1 (155.520Mbit/s) ATM service interface card that can be plugged into any of the BPX's 12 general purpose card slots. Each general purpose slot provides an 800Mbit/s bidirectional card slot capacity and allows the hot swapping of cards. The mid-plane design of the BPX supports a variety of physical interfaces, making the ASI-155 suitable for inter-operation with a wide range of ATM network devices and also suitable for most service applications. The physical interface options include multi-mode fiber (MMF), single-mode fiber intermediate reach (SMF-IR) and single-mode fiber long reach (SMF-LR) for optical terminations.


Traffic and Congestion Management

The BPX provides ATM standard traffic and congestion management.

The Traffic Control functions include:

The following standard Congestion Control functions are also supported:

In addition to these standard functions, the BPX provides advanced traffic and congestion management features including:


AutoRoute` (Automatic Connection Routing)

Connections in StrataCom cell relay networks are added if there is sufficient bandwidth across the network and are automatically routed when they are added. The user only needs to enter the endpoints of the connection at one end of the connection and the IPX, IGX, and BPX software automatically set up a route based on a sophisticated routing algorithm. This feature is called AutoRoute. It is a standard feature on all StrataCom nodes.

System software automatically sets up the most direct route after considering the network topology and status, the amount of spare bandwidth on each trunk, as well as any routing restrictions entered by the user (e.g. avoid satellite links). This avoids having to manually enter a routing table at each node in the network. AutoRoute simplifies adding connections, speeds rerouting around network failures, and provides higher connection reliability.


OptiClass`

OptiClass provides a simple but effective means of managing the quality of service defined for various types of traffic. It permits network operators to segregate traffic to provide more control over the way that network capacity is divided among users. This is especially important when there are multiple user services on one network.

Rather than limiting the user to the four broad classes of service initially defined by the ATM standards committees, OptiClass can provide up to thirty-two classes of service (service subclasses) that can be further defined by the user and assigned to connections. Some of the COS parameters that may be assigned include:

These class of service parameters are based on the standards-based Quality of Service parameters and are software programmable by the user. The BPX provides separate queues for each traffic class.


ForeSight" Congestion Management


Note ForeSight is an optional feature that must be purchased and enabled on a single node for the entire network.

StrataCom's ForeSight feature is a dynamic closed-loop, rate-based, congestion management feature that yields bandwidth savings compared to non-ForeSight equipped trunks when transmitting bursty data across cell-based networks. Frame Relay is available for both Frame Relay and ATM connections.

ForeSight permits users to burst above their committed information rate for extended periods of time when there is unused network bandwidth available. This enables users to maximize the use of network bandwidth while offering superior congestion avoidance by actively monitoring the state of shared trunks carrying frame relay traffic within the network.

ForeSight monitors each path in the forward direction to detect any point where congestion may occur and returns the information back to the entry to the network. When spare capacity exists with the network, ForeSight permits the extra bandwidth to be allocated to active virtual circuits. Each PVC is treated fairly by allocating the extra bandwidth based on each PVC's committed bandwidth parameter.

Conversely, if the network reaches full utilization, ForeSight detects this and quickly acts to reduce the extra bandwidth allocated to the active PVCs. ForeSight reacts quickly to network loading in order to prevent dropped packets. Periodically, each node automatically measures the delay experienced along a frame relay PVC. This delay factor is used in calculating the ForeSight algorithm.

With basic frame relay service, only a single rate parameter can be specified for each PVC. With ForeSight, the virtual circuit rate can be specified based on a minimum, maximum, and initial transmission rate for more flexibility in defining the frame relay circuits.

ForeSight provides effective congestion management for PVC's traversing broadband ATM as well. ForeSight operates at the cell-relay level that lies below the frame relay services provided by the IPX. With the queue sizes utilized in the BPX, the bandwidth savings is approximately the same as experienced with lower speed trunks. When the cost of these lines is considered, the savings offered by ForeSight can be significant.

ForeSight also provides effective congestion management for direct ATM connections over BPX networks and is available as an option of system software for use with the ASI-1 card. ForeSight for ATM connections over broadband trunks operates in the same manner as described for frame relay connections on narrowband trunks.


FairShare`

Fairshare provides per-VC queueing and per-VC scheduling. Fairshare provides fairness between connections and firewalls between connections. Firewalls prevent a single non-compliant connection from affecting the QoS of compliant connections. The non-compliant connection simply overflows its own buffer.

The cells received by a port are not automatically transmitted by that port out to the network trunks at the port access rate. Each VC is assigned its own ingress queue that buffers the connection at the entry to the network. With ForeSight, the service rate can be adjusted up and down depending on network congestion.

Network queues buffer the data at the trunk interfaces throughout the network according to the connections class of service. Service classes are defined by standards-based QoS. Classes can consist of the four broad service classes defined in the ATM standards as well as multiple sub-classes to each of the four general classes. Classes can range from constant bit rate services with minimal cell delay variation to variable bit rates with less stringent cell delay.

When cells are received from the network for transmission out a port, egress queues at that port provide additional buffering based on the service class of the connection.


Cell Relay Networking, ATM and FastPacket "

Cell relay technology is also referred to as cell switching, FastPacket, or asynchronous transfer mode (ATM). Cell switching is just another name for cell relay technology. The StrataCom FastPacket technology uses fixed 24-byte length cells. ATM uses a standards based 53-byte cell. All these terms describe a switching and multiplexing technique in which user data is placed into fixed length cells that are routed to their destination without regard to content.

Cell relay communications networks use high-speed digital trunks to link network nodes which provide customer access and network routing functions. Cell relay networks are characterized by very high throughput, short delays, and very low error rates. These networks provide highly reliable transport services to the user without the overhead associated with extensive error control implementations.

There are currently three basic methods employed for transmitting data over digital trunks: the classic time division multiplexing techniques, frame switching, and cell relay. StrataCom has utilized cell relay technology as the foundation of its networking products since 1986. This has allowed us to differentiate our products from among more traditional sources. It has also enabled our network service providers to differentiate their services (i.e. frame relay services) from those of carriers not utilizing cell-based platforms.

Cell relay networks utilize small, fixed-length data packets, called cells, that contain an address identifying the network connection and a payload. The use of a common packet format for the transport of all network traffic results in simplified routing and multiplexing.

Unlike Time Division Multiplexing technology used in previous systems, cell relay technology only uses network bandwidth when there is information to send. Connections are established in the network configuration but do not generate cells when idle or there is no data to be sent. These connection types are referred to as Permanent Virtual Circuits (PVCs). Once set up, they are permanent but they are virtual as they do not use any network bandwidth unless there is information to transmit.

When PVCs need to transmit information, the data is segmented into cells and the cells are then assigned to the proper trunk that has bandwidth available. As a result, cell relay networks use about half the bandwidth of TDM networks for most voice and data applications. The net result is a statistical sharing of the network trunk facilities that effectively increases the amount of traffic a network can accommodate.

Cell relay networks are especially useful for LAN to LAN interconnect. LAN data tends to occur in bursts with periods of inactivity in between the bursts. Cell relay connections provide bandwidth on demand for these bursty data applications and can dynamically allocate unused bandwidth from idle connections to active connections.

Cells typically consist of a short header with a destination address and a payload for carrying the user data. Cell length can be either fixed or variable depending on the system type. Cell buffers are employed to temporarily store data to allow for processing and routing.


Asynchronous Transfer Mode (ATM)

Asynchronous Transfer Mode is a well-defined, standard for broadband, cell-switching networks. It offers the ability to intermix various types of traffic and dynamic bandwidth allocation to maximize the utilization of network bandwidth. Traffic type may be intermixed from cell to cell and all cells have a relatively small variability in the end-to-end delay.


PVCs

ATM is a connection-oriented network protocol using small, fixed-length cells for carrying data. The small cell size minimizes the delay in building the cell and other queuing delays in transmitting the information across the network. The fixed-length cell size simplifies processing, supports higher switching speeds, and minimizes the uncertainty in delays experienced by variable cell/frame length of some common LAN protocols.

ATM traffic is carried in fixed length (53-byte) cells at high speeds (typically T3 and above). The cell size was chosen as a compromise between a small cell with short delay, better for voice quality, and a larger cell size with a better ratio of data to overhead, best for data transmission.

The asynchronous aspect of ATM refers to the fact that data is transmitted only when there is actual information to be sent unlike synchronous transfer modes, such as TDM, where data is continuously being sent, even when it is an idle code. This leads to better utilization of network bandwidth.

The ATM protocol provides a clearly defined delineation between the transport layer and the application layer. Since the ATM protocol is independent of the transmission speed of the connection, it simplifies the network data processing requirements and facilitates scaling of the transmission facilities to accommodate the needs of each individual user while providing an economical growth path as demands on the network increase.

Unlike most LAN protocols, ATM is connection-oriented. Before data transfer can occur, an end-to-end connection must be established. Once a connection is defined, ATM cells are self-routing in that each cell contains a header with an address that indicates the destination. This saves processing time at each intermediate node since the routing is pre-determined.

Each ATM cell header contains two address fields, a Virtual Path Identifier (VPI) and a Virtual Connection Identifier (VCI). These two fields serve to identify each connection across a single link in the network. ATM switches use either the VPI alone or the VPI and VCI fields to switch cells from the input port to an output port at each network node.

ATM standards groups have clearly defined Permanent Virtual Circuits; connections, which after being added to the network, remain relatively static. PVCs are generally defined by the network operator. While no bandwidth is allocated on a link to a PVC when setting up the connection, the operator informs the network about the characteristics of the desired circuit and sufficient network bandwidth is reserved.


SVCs

Switched Virtual Circuits (SVCs), on the other hand, are dynamic in that they are established by the user on-demand. Enhancements of the ATM standards are in process to include provisions for SVCs. SVCs can provide dial-up capabilities controlled by the user. The INS provides switched connections. Refer to "INS (Intelligent Network Server)" section.


UNI/NNI Interfaces

Two network interfaces are defined in ATM standards, a User to Network Interface (UNI) and a Network to Network Interface (NNI). The UNI is any interface between a user device and an ATM network. This interface terminates on an ATM switch. The UNI is used to send messages from the network to the user device on the status of the circuit and rate control information to prevent network congestion. NNI is used at the boundary between two different ATM networks e.g. a private network and a public network. Information passing across a NNI is related to circuit routing and status of the circuit in the adjacent network.


StrataCom FastPackets

StrataCom coined the term "FastPacket" in the 1980s to denote the cell relay structure that is used by the IPX.

Unlike early X.25 networks, which used low bit-rate facilities, the IPX FastPacket networks were designed to take advantage of the widely-available, high-speed T1 and E1 networks. The fixed length, 24-byte IPX FastPacket cell length was specifically designed to fit into the 192-bit payload of a standard T1 frame.

Because a short, fixed-length cell is used to carry information, delay through the network is held to a minimum permitting delay-sensitive applications, such as digitized voice and SNA to be successfully carried by FastPacket networks in addition to LAN traffic.

FastPacket networks depended on digital transmission facilities that transmit with very low error rate. Taking advantage of this, only minimal error checking is performed and only at the FastPacket destination rather than at all intermediate network nodes. Using a simplified protocol for transmitting data, FastPacket networks are able to utilize hardware-based switch fabrics, resulting in very high switching speeds.

As a result, FastPacket networks have very high throughput and low delays. They can be used for all kinds of communication traffic: voice, synchronous data and video, as well as the low speed data applications that are being serviced by conventional packet networks to date. FastPacket transmits all information across the digital trunk in a single packet format, including voice, data, video, and signalling, and all packets are transported through the network using common switching, queuing, and transmission techniques, no matter what the connection type or its bandwidth requirements.

FastPacket networks clearly demonstrate the advantages of cell-relay technology. Currently available wide area information networks are being built using digital trunks with bandwidths up to approximately 2 Mbps. But rapid growth of Local Area Networks, linking communities of personal computers and workstations with distributed databases, has placed increased bandwidth requirements on these wide area networks.

The migration path is to broadband networks, employing higher speed trunks, from T3 to OC3 rates and beyond, to satisfy this increased demand for bandwidth.

As bandwidth demands increase in a network, the narrowband IPX and the multi-band IGX may be connected to ATM networks, and by converting between similar cell protocols (FastPackets and ATM cells), take advantage of the high speed, flexibility, and scalability offered by ATM.


StrataCom ATM Product Family Overview

The StrataCom Product Family includes: IPX, IGX, and BPX switches, AXIS shelves, and IPX nodes configured as Interface Shelves, StrataSphere network management products, Access Products including AXIS, EdgeConnect, FastPAD, StrataSphere Network Management workstation, INS, etc.

StrataCom's switching systems are flexible, modular, cell-based platforms that support network requirements ranging from a few voice and data connections, frame relay connections, on up to a multi-service ATM network with thousands of users.

A common software architecture and baseline ensures full interoperability within the StrataCom product line including IPX, IGX, and BPX.


StrataSphere", Standards-Based Network Management

Conforming to the NW management Forum's advanced management framework for integrated service management and press automation, StrataSphere is a standards-based multi-protocol management architecture. StrataSphere combines embedded management intelligence distributed throughout the network elements (for fast implementation) along with centrally located NMS workstation advanced system applications and tools to provide integrated fault, performance, and configuration management functions unique to cell-based networks.

StrataSphere automates key network management processes such as service provisioning, billing, statistics collection, and network modeling and optimization. StrataSphere provides a high-volume standards-based usage billing solution for emerging services, such as ATM, as well as cell-based frame relay services, and supports the high level of statistics collection---up to one million statistics per hour per billing station required in a next-generation ATM product. Additional information on StrataSphere Network Management is provided in Chapter 3.


BPX, IGX, and IPX Switches


The BPX

The BPX is a standards based high-capacity (9.6 Gigabit) broadband ATM switch that provides backbone ATM switching and delivers a wide range of user services (Figure 1-8). Fully integrated with the IPX and IGX, the BPX is a scalable, standards-compliant unit. Using a multi-shelf architecture, the BPX supports both narrowband and broadband user services. The modular, multi-shelf architecture enables users to incrementally expand the capacity of the system as needed.

The AXIS interface shelf supports a wide range of narrowband interfaces. It converts all non-ATM traffic into 53-byte ATM cells and concentrates this traffic for high speed switching by the BPX.

Similarly, the IPX may be configured as a shelf and used to provide a low-cost Frame Relay to ATM interworking concentrator for the BPX. The IPX shelf concentrates this traffic over an ATM trunk connected to the BPX. The IPX or IGX may also be configured as a co-located shelf and used as a low-cost ATM service input to the BPX.

Figure 1-8 : BPX Switch and Co-Located AXIS Shelf Configuration

s5279.gif


The AXIS Shelf

The AXIS is a standards-based ATM interface shelf for the BPX that a provides a low-cost service interface to multi-service networks and is usually co-located with a BPX (Figure 1-8). The AXIS provides a broad range of narrowband user interfaces. Release 3 of the AXIS provides T1/E1 and subrate frame relay, FUNI (Frame Based UNI over ATM), T1/E1 ATM, T1/E1 Circuit Emulation Service (CES), and frame relay to ATM network and service interworking for traffic over the ATM network via the BPX. The AXIS allows users to concentrate large numbers of PVC connections over high-speed ATM trunks.


The IGX

The IGX is a standards based, 1.2 gigabit, highly-scalable ATM switch that provides interfaces to support current legacy and emerging broadband applications (Figure 1-9). The IGX is designed for use in Wide Area Networks (WANs) public or private, using subrate, fractional T1, E1, T3, E3, or OC3c/STM-1 transmission facilities.

The IGX provides the capability to migrate wide area traffic from older time-division multiplexed (TCM) networks to more efficient, robust, and higher-speed ATM networks. The IGX is fully compatible with the IPX and BPX.

The IGX uses standard ATM, together with efficient cell adaption to provide seamless conductivity across multiband networks using trunks ranging from 128 kbps to 155 Mbps. The IGX supports FastPAD access trunk connectivity from 9.6 Kbps up to 2 Mbps. The IGX also supports the IPX's narrowband cell relay protocol.

Figure 1-9 : An IGX Configuration

s5280.gif


The IPX

The IPX is a narrowband cell switch (Figure 1-10) that accepts frame relay, digitized voice and FAX, encoded video, data streams, etc., and adapts these information streams into fixed length cells (Figure 1-10). These cells are then routed to appropriate network interfaces, either ATM or FastPacket. The IPX supports frame relay to ATM network interworking, which provides the advantages of transporting frame relay traffic across a high-speed ATM network.

The IPX is compatible with the IGX and BPX switches, and supports FairShare, Opti-Class, frame relay to ATM Network Interworking-protocol translation, VAD, RPS, ForeSight congestion management, etc.

Figure 1-10 : An IPX Configuration

s5169.gif


Network Access Products

These products, located at the outer edges of a network, offer several subrate, narrowband, and broadband configurations such as multiplexers, frame relay access devices-FRADs, or routers) with a wide range of interface options. They enable users to convert legacy and lower-speed traffic into fixed-length frames or cells for both narrowband and broadband switching. The FastPAD group includes: FastPAD` (multi-media), FastPADmp`, FastPADmp6`, FastPADmp12`, and the FastPADmp12/24`.


INS (Intelligent Network Server)

The StrataCom Intelligent Network Server (INS) uses a robust high-powered processing platform to add several important capabilities to StrataCom networks. Although there are three distinct INS products, they are INS family members because they all use an adjunct processor that distributes selected processing and database-intensive functions across the StrataCom network. In addition, the INS products all support some form of standards-based signalling between customer premise equipment (CPE) and a StrataCom network. Typically this signalling is a variation of common-channel, message-oriented Integrated Services Digital Network (ISDN) or Broadband ISDN (B-ISDN) signalling protocols. The INS function interprets these industry-standard signalling messages, translates the logical addresses to the appropriate physical endpoints of the network, and instructs the StrataCom switches to establish the connection required for the particular application. The switches then take over, dynamically establishing the optimum route through the network and maintaining the connection for its duration.

The three INS applications are:

Each INS application uses one or more adjunct processors that are co-located with a StrataCom node (that is a BPX/AXIS, IPX, or IGX) and often installed in the same equipment rack. Available in either AC- or DC-powered models, the base INS processor is a scalable UNIX platform and contains:

For each INS application, the base INS processor is equipped with different interface modules, memory and disk configurations, and different application software. To distinguish between these different configurations, the INS processor is identified by different names and model numbers closely associated with one of the INS applications.

For further information, refer to "Intelligent Network Server (INS)" in Chapter 4, and to the INS Manual.


System Software Description

The StrataCom cell relay system software shares most core system software, as well as a library of applications, between platforms. System software provides basic management and control capabilities to each node.

IPX, IGX, and BPX node system software manages its own configuration, fault-isolation, failure recovery, and other resources. Since no remote resources are involved, this ensures rapid response to local problems. This distributed network control, rather than centralized control, provides increased reliability.

Software among multiple nodes cooperates to perform network-wide functions such as trunk and connection management. This multi-processor approach ensures rapid response with no single point of failure. System software applications provide advanced features that may be installed and configured as required by the user.

Some of the many software features are:

The system software, configuration database, and the firmware that controls the operation of each card type is resident in programmable memory and can be stored off-line in the StrataView Plus NMS for immediate backup if necessary. This software and firmware is easily updated remotely from a central site or from StrataCom, which reduces the likelihood of early obsolescence.


Connections and Connection Routing

The routing software supports the establishment, removal and rerouting of end-to-end channel connections in StrataCom cell-relay networks. There are three modes:

The system software uses the following criteria when it establishes an automatic route for a connection:

When a node reroutes a connection, it uses these criteria and also looks at the priority that has been assigned and any user-configured routing restrictions. The node analyzes trunk loading to determine the number of cells or packets the network can successfully deliver. Within these loading limits, the node can calculate the maximum combination allowed on a network trunk of each type of connection: synchronous data, ATM traffic, frame relay data, multi-media data, voice, and compressed voice.

Network-wide T3, E3, or OC3 connections are supported between BPX nodes terminating ATM user devices on the BPX node UNI ports. These connections are routed using the virtual path and/or virtual circuit addressing fields in the ATM cell header.

Narrowband connections, terminating narrowband IPX nodes, can be routed over high-speed ATM backbone networks built on BPX broadband nodes. FastPacket addresses are translated into ATM cell addresses that are then used to route the connections between BPX nodes, and to ATM networks with mixed vendor ATM switches. Routing algorithms select broadband links only, avoiding narrowband nodes that could create a choke point.


Network Synchronization

StrataCom cell relay networks use a fault-tolerant network synchronization-scheme of the type recommended for Integrated Services Digital Network (ISDN). Any circuit line, trunk, or an external clock input can be selected to provide a primary network clock. Any line can be configured as a secondary clock source in the event that the primary clock source fails.

All nodes are equipped with a redundant, high-stability internal oscillator that meets Stratum 3 (BPX) or Stratum 4 requirements. Each node keeps a map of the network's clocking hierarchy. The network clock source is automatically switched in the event of failure of a clock source.

There is less likelihood of a loss of customer data resulting from re-frames that occur during a clock switchover or other momentary disruption of network clocking with cell-based networks than there is with traditional TDM networks. Data is held in buffers and packets are not sent until a trunk has regained frame synchronism to prevent loss of data.


Network Availability

StrataCom hardware and software components are designed to provide a node availability in excess of 99.99%. Network availability will be much more impacted by link failure, which has a higher probability of occurrence, than equipment failure.

Because of this, StrataCom switches are designed so that connections are automatically rerouted around network trunk failures often before users detect a problem. System faults are detected and corrective action taken often before they become service affecting. The following paragraphs describe some of the features that contribute to network availability.


System Diagnostics

Each node within the network runs continuous background diagnostics to verify the proper operation of all network trunks, active and standby cards, buses, switch paths, cabinet temperature, and power supplies. This background process is transparent to normal network operation.

Failures that affect system service are reported as major alarms. Failures that could affect service later (such as a failure of a standby card) are reported as minor alarms. For example, the following lists some of the failures that will generate an alarm:

When an alarm occurs in a network and a trunk or circuit line is in alarm, a loopback test for all cards associated with the failed trunk or line is automatically performed to verify proper operation of the node hardware.


Alarm Reporting

Both BPX, IPX, and AXIS provide both software alarms displayed on operator terminal screens and hardware alarm indicators. The hardware alarms are LED indicators located on the various cards in the node. All cards have LEDs that indicate whether or not a fault is detected on the card. On interface cards, LEDs indicate whether or not there is a local or remote line failure.

Each power supply has front panel indications of proper output. Since the power supplies share the power load, redundant supplies are not idle. All power supplies are active. If one fails, then the others pick up its load. The power supply outputs are monitored as well as the cabinet internal temperature.


Statistical Alarms

The network manager can configure alarm thresholds on a per-trunk basis for any transmission problems that are statistical. Thresholds are configurable for a number of alarm types including frame slips, out of frames, bipolar errors, dropped packets, and packet errors. When an alarm threshold is exceeded, the screen displays an alarm message.


Failure Recovery

In a redundant system, if a hardware failure occurs, a redundant module is automatically switched into service, replacing the failed module. These systems provide redundant common control buses, redundant power supplies, and redundant cards. All cards have 1+1 redundancy option, which provides each card with a dedicated standby. If an active module fails, the system automatically switches to a standby.

Channel connections on a failed trunk are automatically rerouted to a different trunk if one is available. Rerouting time is a function of the complexity of the network, but normally the first will be completed within milliseconds and the last within several seconds.


International Support Center (ISC)

To assist customers in troubleshooting and maintaining their networks, StrataCom has established an International Support Center (ISC). ISC provides world-wide, factory-trained customer support for subscribing StrataCom customers. Customer networks are linked to ISC by phone. If problems should develop, ISC is automatically notified by auto-dial modem connections to the network.

For remote troubleshooting, an auto-answer modem connection allows StrataCom ISC personnel to remotely diagnose network problems. This connection allows ISC to view the entire network from a connection to one of the network nodes. This provides quick resolution of most network problems, often without interruption of service.


Standards

The performance of the StrataCom systems are compatible with most recent recommendations from various international standards committees and forums to assure seamless interworking with other network equipment. The following is a partial list of these standards committees:


Agency Approvals

International Regulatory Agency approvals have been obtained for various configurations of the StrataCom systems. Table 1-1 contains a listing of all these approvals. This section contains a listing of all of the agencies that have approved StrataCom FastPacket network performance.

Table 1-1 : BPX Agency Approvals, as of 1-14-96

Country Issuing Body Approval Reference No. Specification *
Canada CSA
DOC
Safety
Network
LR84332
Letter dated 12/22/931
CSA 950
USA UL
FCC
FCC
Safety
Network
EMC
E131325
Letter dated 1/5/941
UL 1950
Part 15
United Kingdom BABT Safety
Network
E9372691
BABT/94/2123
EN 60950
SIN 218
SIN 219
France LCIE
DRG/CNET
Safety
Network
E9372691
Reference 73104D dated 3/28/19941
EN 60950
Germany TUV
BZT
Safety
Network
E9372691
A115607E
EN 60950
CCITT(G.703),
BNI/E3
Holland Ministry of Transportation and Public Works Network NL 95012302 CCITT(G.703)
BNI/E3
Portugal ICP Network Letter dated 3/14/951 CCITT (G.703)
BNI/E3
Belgium RTT Network Letter dated 10/3/941 CCITT (G.703)
BNI/E3
Luxembourg Postes et Telecomminications Network 2793/518/14 CCITT (G.703)
BNI/E3
Sweden Telestyrelsen Network HK-94-14577 CCITT (G.703)
BNI/E3
Switzerland BAKOM Network BAKOM 95 . 0193. J. N CCITT (G.703)
BNI/E3
New Zealand Telecom Network PTC 217/95/014 CCITT (G.703)
BNI/E3
Korea Dacom Network 052959363 Leased Circuit Terminals
Argentina Commision Nacional de Telecomunicaciones Network Reference letter dated 8/30/19951 CCITT(G.703), E1, E3
CCITT(V.35) /(X.21)
Canada CSA
DOC
Safety
Network
LR84332
Letter dated 12/22/931
CSA 950

1 There is no formal Homologation process in place for these countries. Authorization letter form (PTT) for connection to the telecommunication services was obtained for each country.

HomeTOCPrevNextGlossSearchHelp
-

Copyright 1988-1996 © Cisco Systems Inc.