Banner
HomeTOCPrevNextGlossSearchHelp

PDF

Table of Contents

Voice Connections

Voice Connections

Voice Connections


Introduction

This chapter is provided for users who wish to have an in-depth knowledge of the IPX voice connections and related functions. Reading this chapter is not required in order to use the systems. Block diagram signal flows will be described for voice and signalling. This chapter will also discuss digital processing topics such as voice compression, speech detection, modem detection, and echo cancelling.


Voice Circuit Types

An IPX voice circuit is transmitted using one or more DS0 time slots in the T1 bit stream. The circuit is defined within the IPX by one of nine VF circuit types depending on the compression characteristics applied as indicated in Table 12-1. These characteristics are set in software for each VF circuit. See the "ADPCM Voice Compression" section later, for more information.

Table 12-1 : IPX CDP Circuit Types

Type Description
p A p-type connection carries 64 Kbps PCM voice and supports A-law or m-law encoding and conversion, level adjustment (gain/loss), and signalling.
t VF t-type connections carry 64 Kbps clear channel data traffics.
c When using the CVM card for voice circuits, the level of ADPCM compression must be specified by the (x) parameter and can be 32, 24, or 16 for 2:1, 3:1, or 4:1 compression. For example "c16" indicates full 4:1 compression with VAD.
a16z
c16z
The c16z and a16z use a 4-level 16 Kbps ADPCM to ensure ones-density but at a decrease in voice quality. The "z" acts as a route -avoid specification whose effect is to avoid lines with zcs (zero code suppression).
a32d
c32d
The a32d and c32d circuit types are used for Enhanced Instafax. These types support high speed circuits but stay at 32 Kbps when a high-speed circuit is detected ands thus support compression that would otherwise be unavailable. Unless a32d or c32d is selected, the circuit switches to 64 Kbps when a high-speed modem or FAX is detected on a voice circuit. This selection is made using the cnfvchparm command. The selection of a32d or c32d depends on the performance of the modem/FAX using the circuit and should be selected for error-free operation.
a32 a24 a16 Uses ADPCM only. Can select 32 Kbps, 24 Kbps, or 16 Kbps compression. Compressed code avoids all zeros and can be used on lines with no other zero code suppression techniques. Modified 16 Kbps compression.
c32 c24 c16 Uses both ADPCM and VAD. Can select 32 Kbps, 24 Kbps, or 16 Kbps ADPCM compression. Compressed code avoids all zeros and can be used on lines with no other zero code suppression techniques. 16 Kbps compression is non-standard.
p A p-type connection carries 64 Kbps PCM voice and supports A-law or m-law encoding and conversion, level adjustment (gain/loss), and signalling.
t VF t-type connections carry 64 Kbps clear channel data traffics.

The p type assumes the connection is carrying 64 Kbps PCM voice and permits specifying A or m-law encoding and conversion, level adjustment (gain/loss), and signalling. VF "t" type connections, however, are assumed to be carrying 64 Kbps clear channel data traffic and restricts the use of the voice parameters.

When using the CDP card for voice circuits, the level of ADPCM compression must be specified by the (x) parameter and can be 32, 24, or 16 for 2:1, 3:1, or 4:1 compression. For example "c16" indicates full 4:1 compression with VAD. The c16z and a16z use a 3-level 16 Kbps ADPCM to ensure one's density but at a decrease in voice quality.

The a32d and c32d circuit types are used for Enhanced Instafax. When a high-speed modem or FAX is detected on a voice circuit, the circuit reverts to 64 Kbps unless a32d or c32d is selected. This provides compression otherwise unavailable. The selection of a32d or c32d depends on the performance of the modem/FAX using the circuit and should be selected for error-free operation.


Voice Circuit Signal Flow

Figure 12-1 illustrates the general voice circuit signal flow through the IPX. Encoded voice circuits, originating with PABX's and D4 channel banks, input from a T1 or E1 circuit line to an interface card that converts the input data to a standardized DS1 or E1 format. The encoded VF data is then packetized by a CDP card

Figure 12-1 : Generalized IPX Voice Signal Flow

s5231.gif

The packetized VF data is then applied to the IPX system bus where it is made available to any other card in the IPX node. Packets of data destined for a remote node are gathered from the TDM bus and queued up for transmission by an NTC or ATMT and sent off to the remote node through a packet line interface card. The queues are arranged by each of the six FastPacket types described previously.

The sequence of events is reversed at the receiving node. Data that is destined for another circuit terminating on the local node is received from the system bus by another PAD card where it is depacketized and sent off to the local user device.


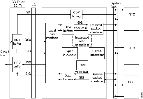
Voice Signal Flow with CDP Card

Voice traffic originates from a PABX or channel bank and is transmitted over a circuit line to the IPX where it is terminated on a E1 or T1 back card, depending on the type of transmission facility used for the circuit line (Figure 12-2). The back card is primarily an interface card that monitors the received signal for alarm conditions or codes, converts the bipolar signal to unipolar logic level data, and extracts clock from the input signal. The back card makes this clock available to the node for frame synchronization.

The back card receives this input data and stores it in a frame buffer to reduce the effects of jitter on the circuit line. The BC-E1 can be programmed to operate with either of the two E1 line formats, AMI or HDB3. The BC-T1 can be programmed for either of the three T1 line formats, AMI, B8ZS, or ZCS.

For all voice circuit types except the "t" type, the data stream from the user will be assumed to be carrying voice circuit signalling information in specific bit positions (interpretive mode). With the transparent mode for "t" type connections, all bits are assumed to be data bits and no signalling processing is performed on these circuits. For E1 circuits, the signalling bits may be associated with each frame, Channel Associated Signalling (CAS), or in a separate frame by itself, Common Channel Signalling (CCS) and is specified in the IPX software.

For circuits defined as one of the interpretive modes, the signalling bits are stripped off by the back card and forwarded separately to the CDP for further signalling bit processing (see next section). The voice data bits are then passed to the Channelized Data PAD (CDP) card at 125 ms. intervals via the Local Bus.

The CDP (Figure 12-2) performs specified signal processing functions on standard PCM voice data on a per-channel basis. The circuit data, temporarily stored in the CDP's buffers, is analyzed for silent intervals for VAD as well as for modem detection. Gain or loss may be added to the circuit data, any A-law to m-law conversion may be provided, and voice compression in the form of VAD and/or ADPCM may be performed. If a modem tone is detected on a channel, any compression or gain control is disabled for the duration of the modem activity.

Each CDP may be equipped with optional Integral Echo Cancellers (IECs). The IECs come in two models, a 24-channel IEC for use with T1 circuit lines and a 32-channel for E1 circuit lines. This provides quality voice connections while eliminating the need for any external echo cancellers.

When so equipped, the data is modified according to input parameters from the user to reduce echo in the reverse direction. The gain adjustment precedes the echo cancelling function so that high-level input signals may be padded down, if necessary, for best echo cancelling results. When echo cancellers are employed on channels that require m-law to A-law conversion, the channels must be numerically paired (for example channels 1 and 2 must be configured for the same signal processing.)

Figure 12-2 : Voice Block Signal Flow with CDP

s5232.gif

The ADPCM compression used by the CDP is fully compatible with the algorithm adopted by ITU-T G.721, G.723, and G.726. It offers either 32 Kbps, 24 Kbps, or 16 Kbps ADPCM selected by the user. It is not, however, compatible with a similar algorithm used by the VDC card used in earlier version IPX systems.

The applicable processing functions are entered by the system operator where they are decoded by the controller card (PCC). The controller card communicates this information, as well as other back-ground information, to the CDP and associated BC-E1 or BC-T1 back card over the System Bus.

CDP operations are timed using the internal IPX timing. Timing information recovered from the incoming signal at the back card is compared to the internal IPX timing and, if they are not synchronous, the CDP performs controlled frame slips to prevent buffer over or underflow. A frame slip is performed by repeating or skipping a frame's worth of data. Frame slips are not desirable and can be avoided with proper network clocking.

After all signal processing functions have been performed on the data, it is queued up, assembled into packets with a destination address header, and placed on the TDM bus of the System Bus structure. From there, the packets are forwarded to an NTC or AIT trunk card to be routed through the network. If the destination is another circuit off this same node (internode switching), the CDP does not packetize the data but buffers then applies each byte of data onto the TDM bus where it is received from the bus by another CDP.

The NTC packet transmitter looks at the destination address of every packet on the TDM bus and compares it to a routing table to determine whether or not to take the packet off the bus. IPX packets destined for transmission to the far end node are pulled from the TDM bus by the NTC. If a destination address match is found, the NTC places the voice packet from the CDP in its queue to await transmission on the associated packet line.

NTC FastPacket buffers for a particular E1 or T1 packet line are loaded up with all packets having the same destination header. The NTC calculates a CRC and the FastPackets are read out at the 1.544, 2.048 Mbps or subrate line rate.

The NTC implements packet line frame synchronization and alignment based on the 5-bit CRC field in the FastPacket data format This makes the FastPacket frame independent from the E1 transmission line frame and multiframe alignment (FA and MFA) signals and allows the full utilization of the available bandwidth. At the remote node, the process just described occurs in reverse order using the same card configuration.


Voice Channel Signalling

Signalling on digitally encoded voice channels consists of one or two bits that accompany each voice channel to represent the status of the channel (on-hook, off-hook, dialing, etc.). Changes in the status of a particular voice channel are represented by changes in the signalling bit state for the particular channel. Timing of signalling bit transitions with respect to voice information on the same connection is not precisely maintained through the IPX network as the transmission paths are not the same.

On a T1 circuit line, signalling is carried using up to four bits for each channel, the A, B, C, and B bits. These bits are inserted in the least significant bit position of the PCM sample in frames 6 and 12 of every superframe by the PABX or D4 Channel Bank. On an E1 circuit line, signalling is performed using these same four bits for each channel. The A, B, C, and D bits for a particular channel are carried in timeslot 16 in every sixteenth frame (each frame carries the four signalling bits for two channels in channel 16).

Regardless of the type of circuit line (T1 or E1), the IPX recognizes two types of dialing formats: inband (for DTMF) and dial pulsing. These are software configured channel-by-channel. The IPX supports the transmission of both of these signaling types with appropriate time delays.

When a channel is configured for inband signalling, the only signalling bit transitions expected are for off-hook/on-hook information and winks. Dialing information is transmitted using tones. In this mode, the signalling information transitions more rapidly than with dial pulse signalling.

When a channel is configured as pulse dial type, signalling bits are used to convey dialed digits. The signalling bits will change every 40 to 60 msec within a dialed digit, with pauses between digits of greater than 100 msec. resulting from the slowness of the rotary dialing.

The designation of a channel as "inband dial" allows the signalling delay parameter to be set low, reducing the delay through the network. For "pulse dial" channels, the signalling delay is set greater than the largest expected pulse width within a digit, allowing the whole digit to be sent in one packet. Default parameters work well with 10 pps signalling. Note, however, that pulse signalling will not be transmitted properly on a channel designated "inband" because after each transition is received the next will be delayed longer than is proper.

The channel signalling type (DPO, PLAR etc.) that is selected for each voice channel in the IPX is only used to provide a window on the instantaneous signalling state of a channel (and supply correct conditioning if a connection fails). So long as the inband/pulse choice is made correctly, signalling bit transitions will be transmitted through the IPX network whatever the configured signalling type. The software has several screens that allow the operator to view the status of the various signalling bits on a specified channel.


Signalling Bit Flow with CDP

Signalling bits are extracted by the BC-T1 or BC-E1 back card. The CDP demultiplexes the T1 or E1 signal and separates the voice data bits from the signalling bits. Both voice bits and signalling bits are temporarily stored in RAM buffers in the back card. An Interdigit Signalling timer debounces the signalling bit transitions to eliminate noise. Upon demand, the back card sends the signalling bits to the CDP over a local bus. A separate local bus is used for the voice bits for maximum data transfer. Signalling bits, occur at a slower rate and are transferred using a second local bus.

The CDP detects signalling bit transitions and integrates the changes of state to minimize false signalling. The CDP data processing modules perform any protocol conversions that may be specified for a channel and packetizes the signalling transition. Each change of state of a signalling bit is packetized in a timestamp packet. In addition to the packet timestamp, the CDP adds a delay field in the packet payload that is used to ensure the signalling packets are received in the proper sequence and with acceptable end-to-end delay to support a maximum of 11 pulses/second dial pulsing.

The signalling packets are sent over the MUXBUS where they are picked off by the NTC and forwarded to their destination. If there are no signalling bit transitions detected, heartbeat packets are sent every 2 to 30 seconds to maintain the far end signalling state.

At the far end, the signalling packets are received by the NTC, which forwards them directly to the appropriate CDP over the MUXBUS (Figure 12-3). The signalling state is detected and the signalling data is forwarded to the associated back card where it is inserted in the circuit's receive data frame and sent to the user device.

Figure 12-3 : CDP-to-CDP Signalling

s5233.gif


Voice Processing Features

Digital signal processing provides many of the features available for voice connections through the IPX. The following paragraphs describe in detail these features.


ADPCM Voice Compression

The IPX uses a standard algorithm (ITU-T G.721, G.723, and G.726) to implement Adaptive Differential Pulse Code Modulation and encodes only the difference between one encoded voice sample and the following sample, not the actual value of the sample amplitude. Since the range of values for the difference is much smaller than the actual value of the sample, it requires fewer bits for encoding this difference.

With ADPCM, a formula is applied to the previous outgoing sample that predicts the range of values for the next sample. The transmitter then encodes the difference in level between the previous sample and the present sample, on a scale set by the prediction, and transmits this information to the far end receiver. Since the receiver has the same data to work with as the transmitter, it is able to reconstruct the PCM data input to the transmitter.

Conversion of 8bit PCM samples to ADPCM, as well as packetizing the ADPCM, is performed together in the CDP card. Compressed voice code words from the CDP can be selected by the user to be either 4-bit (using 32 Kbps of bandwidth), 3-bit (24 Kbps) or 2-bit (16 Kbps) rather than 8-bit PCM samples. The resulting bandwidth savings with ADPCM generally compromises voice quality.

ADPCM compression relies on the signal being close to its model of speech to make such bandwidth reduction. High-speed modem and FAX signals are distorted by ADPCM to the extent that operation above 4800 baud generally will not work reliably on ADPCM connections. When PCM channels are used for either of these two functions, all compression should be disabled.


Speech Detection

If the Voice Activity Detector (VAD) option is active, a speech detector is used to identify periods of silence or idle VF channels to provide further compression in addition to ADPCM. This function is performed by the CDP card.

The PCM signal is first passed through a high-pass filter to remove DC bias and 50/60 Hz. components that might disturb the speech or modem detectors. The energy of each sample is measured, and the average speech power is calculated. If the power is greater than --31 dBm0, the signal is recognized as speech. This is a simplification of the VAD function. The full implementation of VAD in the IPX requires more calculations than simple power level.

When there are short periods of silence between syllables or words, the speech detector switches on and off quickly, chopping the previously smooth conversation. To prevent this, whenever the speech detector has been on but speech is no longer detected, a timer is started. While the timer is running, packets are still sent, bridging short periods of silence. The trade-off here is that packets are still sent for a short time when the channel is silent.

Since the speech detection test takes some time to make, speech was actually present some time before the speech detector was switched on. To accommodate this, a buffer is used and the first few packets of speech are sent out using high priority packets to minimize additional delay factors. This practice prevents front-end clipping of talkspurts but this increases overall connection delay.

There are various software parameters that may be changed by the system operator to optimize the compromise between clipping and utilization. If VAD is used for a voice circuit, echo cancellers will be required to allow better voice quality without echo. The CDP card has echo cancelling built into the card and external echo cancellers are not required when using this card.

In the receiving CDP, packets are buffered and played out as they are received. If there are no packets to transmit to the user device, the card will insert pink noise to simulate the background noise when the far end is off-hook, minimizing the perceived choppiness introduced by VAD. Prior to Rel. 7.1, the level of this pink noise was fixed by the system. In Rel. 7.1, the background noise level is sampled at the transmitting CDP and reproduced at the receiving CDP to better approximate the actual background noise level.

The Adaptive Voice feature automatically disables VAD during periods when there is unused network bandwidth available. This allows transmission of the compressed voice without the effects of VAD. As the extra bandwidth is allocated to other connections, VAD is dynamically enabled on all voice circuits to free up the needed bandwidth.


Modem Detection

The "slow modem" detector scans the incoming PCM channels for signals that meet the characteristics of voice grade modems; high power and stable power level. The modem detector examines each channel to determine whether the power is above --31 dBm and whether it is stationary (a tone rather than voice).

Slow modem detection is a local test, the CDP at the far end of the connection is not informed of changes in modem status. However, when slow modem has been declared, the modem detection will remain in force until the power measured in both directions on the connection has fallen below --31 dBm0 for about one second. When slow modem is detected, VAD is disabled for the channel until the modem has dropped off the circuit.

The V.25 modem detector recognizes the steady 2100 Hz. tone output by V.25 fast modems
(> 4800 baud) and FAX machines to disable echo cancellers at the beginning of transmission. The tests used are those for a slow modem and a zero-crossing calculation to ensure that the frequency is close to 2100 Hz.

When a channel is declared V.25 modem, the packet priority is changed in the local CDP as for a slow modem. In addition, a message is sent to the controller card, and software coordinates upgrading the connection at both ends from ADPCM to PCM (unless already PCM). Therefore, the connection effectively becomes "p" until the modem removal criteria (as for slow modem) are met, at both ends, when it returns to the configured state. Software attempts to synchronize changes to within 100 msec, but there is a short silence on the channel while reconfiguration takes place.


Echo Cancelling

It is practically impossible to obtain good echo performance from an IPX network without using echo cancellers. The echo cancellers are provided internally as an option with the CDP card. The performance of echo cancellers depends on a number of factors that can be optimized in the IPX by the advanced user for particular conditions.

Echo is a function of how much energy is reflected back to the talker or listener, and the time delay between the original signal and the reflection. The graph in Figure 12-4 Figure 12-4illustrates the generally accepted boundary between acceptable and unacceptable echo.

The reflections of speech are produced by impedance mismatches in 2-wire circuits that are found to some extent in all 2-wire networks. The reflected power is generally in the order of 10 to 20 dB less than the forward power level as indicated in the figure. User perception of echo is aggravated by circuit delay. In circuit-switched environments, with a typical delay less than 5 msec, the perceived echo is below the threshold of annoyance.

However, when IPX equipment is introduced into the network, the delay increases by 30-100 msec. The increased delay is primarily due to voice activity detection, packetizing, and queuing processes. Figure 12-4 shows that for this delay, the reflected signal must be 20 to 30 dB less than the original signal. If nothing were done, the echo would be intolerable.

Figure 12-4 : Echo Effects Diagram

s5234.gif

The CDP echo canceller is a digital signal processor that continuously monitors the digitized speech going through the IPX towards the network (transmit direction) and inserts loss in the reverse direction. It calculates the expected echo power level and subtract it from the received signal. Therefore, echo path loss can be increased by 30 dB to 40 to 50 dB, which, at a delay of 50 to 100 msec, is an acceptable echo.

Echo cancellers have a tone detection feature for FAX/fast modem detection. If a 2100 Hz tone is detected, echo cancelling is disabled until the signal power in the connection has fallen, indicating the end of the call. This feature should normally be enabled.

The following measures can improve echo performance on voice circuits.

  1. Make sure all the parameters that can be set for the echo canceller are correct.

  2. Avoid any satellite circuits. They have a tremendous amount of delay as compared to a terrestrial circuit.

  3. If possible, substitute 4-wire circuits for 2-wire, eliminating echo from that source.

  4. Reduce the circuit Echo Return Loss (ERL) as much as possible. Adding loss in the tail circuit is always helpful but this may reduce VAD performance (increase clipping and choppiness). Finding particular 2-wire terminations causing echo is sometimes possible. These can be improved by line build-out or impedance options on trunk cards.

  5. Echo cancellers usually have a limit to the delay they can accommodate (often 32 msec). If the tail circuit delay (not packet delay) is close to this limit, an extended version of the echo canceller may be needed.

  6. Echo cancellers have difficulty with double-talk when the signal levels in each direction of a call are different by more than 10 dB. It may be possible to change the network loss plan to allow for this.

  7. The IPX-introduced delay may be reduced by changing some software parameters if only on-net calls are made. Contact StrataCom ISC for assistance on this.

  8. Try reducing the hop count for troublesome circuits. This is likely to make only a small improvement, but may be useful.


Voice and Signalling Conditioning

With almost all digital multiplexers and PABXs, the signalling bits are forced to a predetermined state when the transmission link has failed. This is used to drop all calls in progress and block any new access to the voice circuits. Usually, the pre-determined state is a "busy" but other conditioning sequences may be used (for example idle for a short interval to drop all calls in progress followed by a permanent busy until the fault clears).

With a point-to-point transmission link, where all 24 channels end up in the same destination, the channel bank or PABX conditioning detects the fault on the digital trunk line and provides the conditioning. However, with transmission through the IPX, each DS0 circuit may have a different destination from all others from the same source. Therefore, it is up to the IPX to condition the signalling when it detects a network trunk failure (such as packet out of frame).

The signalling conditioning for each individual voice circuit is specified by a conditioning template that the user selects using the Configure Voice Channel Interface Type (cnfvchtyp) command. The command specifies the channel on-hook (idle) state and the signalling state forced by the CDP when a connection fails. After detecting a connection failure, the channel voice and signalling conditioning is instantaneously applied.

Most of the common VF circuit types are conditioned by using a preset template. This template also permits the user to specify the voice code bits transmitted to the user during connection failure. These bits are usually set to the idle code (all voice bits = 1 for D4 m-law encoding) but can be anything the user chooses to configure.

It is important to select the proper channel type at installation of any new circuit. For instance, if the convention selected for E&M channels (idle for 2 seconds, then busy) is selected for PLAR circuits (auto ringdown) it causes PLAR circuits to ring when connections are failed. Changing the conditioned signalling to "on-hook" corrects this problem.


Level Adjustment

Voice connections in a network must concern themselves with providing sufficient talk volume at the receive end with a low level of circuit noise and distortion for acceptable voice conversations to be held. In worldwide telephone networks this is accomplished with the use of loss plans. Loss plans assign acceptable circuit loss for each element of the network that a telephone call may traverse.

In general, subscriber loops (from the telephone to the central office) are allowed to have anywhere from 0 dB to 6 or 8 dB of voice frequency (VF) loss. This loss is primarily determined by the size and length of the cable pairs that connect the local phone or to the office switching equipment. Rarely are there any gain devices employed in the local loop. Since this local loop is found at both ends of the talk path, the total loss may be as high as 15 or 16 dB, which would be quite noticeable to both parties.

Most local calls and all long distance calls travel over one or more connections (hops) between central switching offices on circuits called VF trunks. These differ from subscriber lines in that trunks are not dedicated to a particular caller but are used as needed to route calls between central offices. It is in these trunks that VF level control can be accomplished.

Many businesses employ Private Branch Exchanges (PBXs) so the local loop may be short (between the phones in an office and the PBX) but the distance from the PBX to the central office may be some distance. PBX's usually connect to telephone offices using trunks.

Bell System loss objectives for various types of trunks are listed in Table 12-2. These trunks may or may not have gain associated with them. Most trunks in the telephone networks of industrialized nations use some form of digital transmission (T1 or E1 or higher bit rates) where circuit gain or loss can be tightly controlled.

Table 12-2 : Loss Objectives for Common Carrier Trunks

Trunk Type Loss Objective
Toll Connecting VNL + 2.5 dB
Intertoll VNL
Tandem 0.5 dB balanced offices
1.5 dB unbalanced offices
Direct and Tandem 3 dB

Via Net Loss (VNL) ranges from 0.5 dB for short trunks up to 165 miles to 2.9 dB for extremely long trunks up to 1850 miles. For any trunk that employs echo suppressors, VNL should be 0 dB. In addition to insuring adequate talk volume at each end of the circuit, the loss plan is used to reduce the effects of echo on the voice path. A certain amount of loss is required to prevent echo levels from becoming objectionable. If the loss plan for each trunk type as stated in Table 12-2 is followed, there should be sufficient loss to keep echo from being a problem.

It is strongly recommended that the IPX voice paths be equipped with echo cancellers because of the delay that voice packets experience over an IPX network. Note that it is not desirable to have more than one echo suppressor device on a talk path in attempt to further reduce echo as they tend to interfere with each other sometimes resulting in worse echo performance than with no echo cancellers at all.

Digital interoffice trunks do not have the problem of loss so much as analog trunks as once the voice signal is encoded, the level remains constant and the primary concern is to keep the bit error rate low enough to avoid noticeable clicks on the talk path. Digital circuits are inherently 4-wire trunks until terminated on a 2-wire channel unit thereby avoiding the repeated 2-wire to 4-wire conversions that contribute to echo problems.

In the IPX, the per-channel voice frequency gain can be digitally adjusted over a range of --8 to +6 dB in the CDP. The default for all voice channels is 0 dB. It is recommended that any gain adjustment be done at the circuit ends on an analog basis (at the channel bank or PABX channel) rather than within the network to minimize the distortion introduced.

Most VF encoders in channel banks, digital PABX's, digital switching offices, and even the IPX have a limited range over which they will encode linearly. In addition, too high a signal level input to the encoder will overload the encoder resulting in clipping of the VF signal. The overload point is approximately +3 dBm. And any signal level below approximately -45 dBm0 will not be encoded accurately.

Table 12-3 lists the typical quantization distortion added for a single-hop IPX trunk with 32 Kbps ADPCM employed. The impairment indicated is approximately the same for all digital PAD values in the range of 1 to 8 dB. One exception is the 6 dB (or multiple of 6 dB) A-Law PAD. It introduces negligible impairment for signals ranging to approximately --30 dBm0, and therefore attracts zero units of quantizing distortion.

Table 12-3 : Quantization Distortion Pertaining to the IPX

Digital Process Quantization Distortion
32 Kbits per second ADPCM (with adaptive predicator) combination of a PCM-ADPCM-PCM tandem conversion. 2.5 units
Digital loss PAD (8-bit, A-Law or m-Law) 0.7 units

HomeTOCPrevNextGlossSearchHelp
-

Copyright 1988-1996 © Cisco Systems Inc.