Banner
HomeTOCPrevNextGlossSearchHelp

Table of Contents

Fault Management


Fault Management

Fault Management

This chapter describes the CiscoWorks fault management features that help you monitor and diagnose network problems. This includes diagnosing individual devices, lines, and interfaces, detecting potential faults, and recovering from problems. This chapter contains the following sections:


Fault Management Applications

Several CiscoWorks applications help monitor and diagnose the SNMP devices in your network. Use the following CiscoWorks applications when performing fault management. A brief description of each application follows.

These applications enhance your capabilities as a network administrator to set up diagnostic procedures when your network develops problems. These applications are discussed in detail in the following sections.


Using CiscoWorks Applications for Troubleshooting

You can use CiscoWorks fault management applications to troubleshoot network problems. Table 3-1 describes network problems and recommends CiscoWorks applications to help you troubleshoot and resolve the problem. To use the table, locate the problem description that most closely resembles your current situation. Then perform the recommended tasks until you determine the solution to the problem.


Note Perform the tasks in Table 3-1 before you contact your technical support representative for assistance.

Table 3-1 : Troubleshooting Scenarios

Problem CiscoWorks Application Recommendation
Suspected problem on a network device Use Device Management to identify the appropriate vendor to contact for assistance. Refer to the section "Vendors Window" in Chapter 6.
Use Device Management to get specific data on a device (serial number, software version, and so on). Check for a mismatched SNMP community string. If the community string in the NMS database does not match the string in the device, you are unable to reach the device. Refer to the section "Adding, Modifying, or Deleting a New Device" in Chapter 6. Use Sync w/Sybase to synchronize your devices. Refer to the section "Using Sync w/Sybase" in Chapter 6.
If you are using SunNet Manager, use Device Monitor to monitor environment and interface statistics. Refer to the section "Monitoring Network Devices (SunNet Manager Platform)" later in this chapter.
If you are using HP OpenView, use HP OpenView's network monitoring application. For more information, refer to the HP OpenView Network Node Manager User's Guide.
Use Path Tool to check the graphical path for link utilization analysis. Refer to the section "Locating Device Routing Paths" later in this chapter.
Use Environment Monitor to check the voltage and temperature of Cisco routers. Refer to the section "Monitoring Device Environment Statistics" later in this chapter.
Use Show Commands to get data on the version, interface, and so on for analysis. Refer to the section "Using Show Commands to View Router Data" later in this chapter.
Use Configuration Management to compare present and previous configurations for errors. Refer to the section "Managing Cisco Device Configuration Files" in Chapter 5.
Use Contacts data to get information on who to call in your company. Refer to the section "Using Device Contacts" later in this chapter.
Check the Log Manager file for event information. Refer to the section "Using the Log Manager as a Diagnostic Tool" later in this chapter.
Suspected protocol problem Check Log Manager for event information. Refer to the section "Using the Log Manager as a Diagnostic Tool" later in this chapter.
If you are using the SunNet Manager platform, check Device Monitor to ensure that you are monitoring events (and interfaces). Refer to the section "Monitoring Network Devices (SunNet Manager Platform)" later in this chapter.
If you are using HP OpenView, use HP OpenView's network monitoring application. For more information, refer to the HP OpenView Network Node Manager User's Guide.
Use Path Tool to determine whether the protocol is routing efficiently (link speed, utilization and error analysis). Refer to the section "Locating Device Routing Paths" later in this chapter.
Use Show Commands to view packet information using Show Traffic Mix command. Refer to the section "Using Show Commands to View Router Data" later in this chapter.
Use Real-Time Graphs to get information on router traffic. Refer to the section "Graphing Your Real-Time Device Data" later in this chapter.
Suspected router configuration problems Use the Show Version command to ensure that version numbers are compatible. Router software must be Software Release 8.2 or later. Refer to the section "Graphing Your Real-Time Device Data" later in this chapter.
Log onto the device and determine whether the device configuration file has a read-write community string. Refer to the section "Comparing a Configuration in a Device with the Database Version" in Chapter 5. Also see this table's recommendation under the "Suspected problem on a network device" entry.
Verify that the device is running (Show Interface, Show Traffic Mix commands). Refer to the section "Using Show Commands to View Router Data" later in this chapter.
Determine whether a configuration file was downloaded to a device with syntax errors in it. Log on to the outer console and initiate a TFTP session from the router. The errors will be displayed on your console screen. Or log into the router before you download a file. Check to see if any error messages exist. Refer to the section "Loading a Configuration File" in Chapter 5.


Using Security Options

From the Security menu you can change your user ID if you need special access to the secured CiscoWorks applications using the Change User command. The Change Domain command is also found under the Security menu. Changing domains allows you to move from one group of routers that you have named a domain, to another domain set of routers. You can also check your security privileges for your current user ID by using the Privileges command.

For more information on the security options in your fault management applications, refer to Chapter 7, "Setting Up Domains and Securing Applications."


Monitoring Network Devices (SunNet Manager Platform)

Use the CiscoWorks Device Monitor (nmdevmon) application to monitor interface and environmental card status and to filter event messages. This application provides a summary of the current devices and the categories that are being monitored.

nm985.gif

Also use the Device Monitor to set the polling frequency for each device for interface and environment information, or to enable event logging. Because the Device Monitor polls each device according to a set polling frequency, the poll data adds to your network traffic. The default polling frequency rate is 60 seconds. The recommended minimum polling interval depends on the number of devices you are polling and how much network bandwidth you want to devote to network management.


Note The Device Monitor does not provide text or graph reports, but enables CiscoWorks to monitor devices and filter event messages for those devices to the Log Manager and SNM Console. For log message data, refer to the section "Using the Log Manager as a Diagnostic Tool" later in this chapter. For environmental monitor data, refer to the section "Monitoring Device Environment Statistics" later in this chapter. For data collected on interfaces, refer to any of the CiscoWorks applications that provide interface data, including Device Polling, Health Monitor, or Show Commands.

The Device Monitor uses a monitoring engine called the Device Monitor daemon (nmdevmond) to perform the following functions:

Set monitoring requirements in the Device Monitor window; the Device Monitor daemon uses these requirements to perform its monitoring tasks. For more information on the Device Monitor daemon, refer to Chapter 9, "Using CiscoWorks Process Manager."


Note If a device has only a single interface and that interface fails, the Device Monitor daemon will not send an event to the SNM Console because the Device Monitor daemon realizes that the device is inaccessible and cannot check the interface status. To check device status, you can configure your SNM automatic node management. For additional information, refer to the SunNet Manager 2.0 Reference Guide. In order to avoid redundant polling and the sending of event messages to the SNM Console and Log Manager, CiscoWorks does not poll for this type of status events.

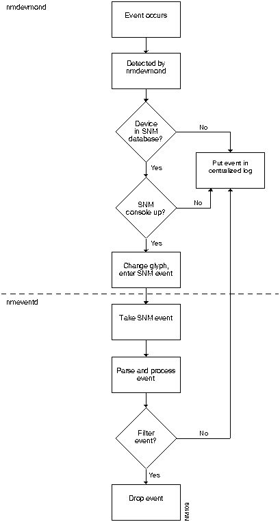
Figure 3-1 illustrates the process that CiscoWorks uses when monitoring devices.


Note If you select the environment monitoring option, and the device you are polling does not have the proper environmental card, the Log Manager will contain an error message.

nm108.gif

Figure 3-1 : Device Monitoring Process


Device Monitor Window

Figure 3-2 illustrates the Device Monitor window. Table 3-2 describes its components.

nm358.gif

Figure 3-2 : Device Monitor Window

Table 3-2 : Device Monitor Window Components

Component Subcomponent Description
File Print
Exit
Prints a snapshot of the current window.
Exits the current window.
Security Change Domain
Change User

Privilege
Enables you to change to another domain, if available.
Enables you to change your username in order to access this application.
Displays the security privileges for the current user.
Options Activate Changes
Summary
Updates polling to new values.
Provides an overview of which monitoring options are on or off and what interval is set for polling.
Help On Version
On Device Monitor
Displays the CiscoWorks version information for this application.
Provides help text on the current window.
Devices scroll window Displays all the Cisco devices found in the Sybase database.
Select All Selects all devices in the device browser.
Deselect All Deselects all devices in the device browser.
Polling
Frequency
Polling Frequency Slider Changes the polling rate by clicking on the slider. The default is 60 seconds.
Check Boxes Log Events
Monitor
Environment
Monitor
Interface
Filters log messages sent to the event logging daemon.
Monitors environmental monitor card data on the Cisco AGS+ router.
Monitors interface status information.
Apply Applies changes to selected devices to the Sybase devices table.


Setting Device Monitoring Options

To set device-monitoring options, perform the following steps:

Step 1 From the main SNM menu, select Tools>Device Monitor.

The Device Monitor window appears. (See Figure 3-2.)

Step 2 Select the devices you want to change. To set individual device monitoring options, click on the device or devices in the scroll window. To set all devices at once, click on Select All.

Step 3 Change the default polling frequency by using the Polling Frequency Slider or type over the default in the Polling Frequency field and press Return.

Step 4 Select the categories of options (events, environment, interface) by clicking on the check boxes next to the desired option.

Step 5 Accept monitoring designations by clicking on Apply.

Step 6 Select Options>Activate Changes to send the changes to the Device Monitoring daemon.

After your changes are sent to the Device Monitoring daemon, the Device Monitor begins polling your designated options.

fig_2.gif Timesaver To set all device-monitoring options at once, click on Select All. Then select your options (events, environment, interface) and your polling frequency, if necessary. Click on Apply. To deselect all your device monitoring options, click on Deselect All button and then click on Apply.

To exit the Device Monitor window, select File>Exit.


Adding Devices to the Database from Your Network Management Platform

The Device Monitor can monitor only devices that exist in the Sybase device table. If a new device has been added to SNM manually or via the SNM Discover program, the Device Monitor will not see it until you perform one of the following tasks:

  • Add the device manually to the Sybase device table using the Device Information form in the Device Management application.

For information on how to enter device information, refer to the section "Adding, Modifying, or Deleting a New Device" in Chapter 6.

  • Run Sync w/Sybase to synchronize devices from the Sun database to the CiscoWorks Sybase database. You can use either the Glyph or Tools menu to access Sync w/Sybase.

For information on how to use Sync w/Sybase, refer to the section "Using Sync w/Sybase," in Chapter 6.


Viewing Device Monitor Settings

You can quickly view the following device monitor settings with the Device Monitor Summary window:

  • Frequency

  • Events data

  • Environmental data

  • Interface data


Summary Window

Figure 3-3 illustrates the Device Monitor Summary window. Table 3-3 describes its components.

nm366.gif

Figure 3-3 : Summary Window for the Device Monitor

Table 3-3 : Summary Window Components

Component Subcomponent Description
File Print
Exit
Prints a snapshot of the current window.
Exits the current window.
Help On Version
On Summary
Displays the CiscoWorks version information for this application.
Provides help text on the current window.
Device list Lists network devices known to Sybase.
Polling
Frequency
Current polling rate on this device.
Events data Indicates whether monitoring is on (y) or off (n).
Environmental data Indicates whether monitoring is on (y) or off (n).
Interface data Indicates whether monitoring is on (y) or off (n).
Search String field Locates character string entered into field in text.
Search Forward Searches forward for a character or character string in the text.
Search Reverse Searches backward for a character or character string in the text.

To view your device monitor settings, perform the following steps:

Step 1 From the Device Monitor window, select Option>Summary.

The Device Monitor Summary window appears. (See Figure 3-3.)

Step 2 Search for a specific device by entering the device name in the Search String field.

Step 3 Click on Search Forward or Search Reverse.

To exit the Device Monitor Summary window, select File>Exit.


Monitoring Network Devices (HP OpenView and NetView for AIX Platforms)

The Device Monitor application is not available in CiscoWorks for HP OpenView or NetView for AIX. To monitor network devices, use the network monitoring capabilities on your specific platform. For additional information about network monitoring, refer to the HP OpenView Network Node Manager User's Guide or the NetView for AIX User's Guide for Beginners.


Monitoring Device Environment Statistics

With Software Release 9.0, Cisco has enhanced the environmental monitor card on the AGS+ router, by adding several features to allow the monitoring of temperature and voltage sensors via SNMP. Your environmental monitor card must be a Revision 4 ENVM card (Microcode Version 2.0) or later. The Cisco 7000 router is not supported by the Environmental Monitor application.

nm982.gif

The CiscoWorks Environmental Monitor application enables you to view the environmental monitor status of a current device, including temperature and voltage statistics. The default temperature displayed is in Celsius.


Note Each device has a default polling frequency rate of 60 seconds. This rate was chosen because the environmental monitor card only updates its information internally every 60 seconds. This feature is not meant to replace critical log information from your router console, but to provide you with a graphical view of the environmental monitor card with the click of a button.

If you are using SunNet Manager and want to display the environmental monitor card version or hardware information from the Glyph Tools menu, select Show Commands.

For more information on the environmental monitor card features for the AGS+, refer to the configuration note "Installing and Configuring the Environmental Monitor Card in the AGS+ Chassis." For information on the environmental monitor card features for the Cisco 7000, refer to the configuration note "Cisco 7000 Microcode Configuration Note."


Environmental Monitor Window

Figure 3-4 illustrates the Environmental Monitor window. Table 3-4 describes its components.

nm370.gif

Figure 3-4 : Environmental Monitor Window

Table 3-4 : Environmental Monitor Window Components

Component Subcomponent Description
File Print
Exit
Prints a snapshot of the window.
Exits the current window.
Options Convert to Fahrenheit/Celsius
Polling Frequency
Toggles temperature setting between Fahrenheit/Celsius.

Sets the polling interval for this device.
Help On Version
On Env Monitor
Displays the CiscoWorks version information for this application.
Provides help text on the current window.
Date stamp Provides the date and time the window was created.
Temperature meters Internal Temperature
Airflow Temperature
Current internal intake air temperature for the router.
Current exhaust air flow for the router.
Voltage meters +5 Voltage
--5 Voltage
+12 Voltage
--12 Voltage
Current power supply voltage to the router.
Current power supply voltage to the router.
Current power supply voltage to the router.
Current power supply voltage to the router.


Monitoring Router Environmental Data

To use the Environmental Monitor to check the temperature and voltage of a device, perform the following steps:

Step 1 Select Environmental Monitor.

On SNM, click on the device and select Tools>Environmental Monitor from the Glyph menu.

On HP OpenView or NetView for AIX, select Monitor>Environmental Monitor.

The Environmental Monitor window appears. (See Figure 3-4.)

If a loss of connectivity to the device occurs, a retry popup window displays until connectivity is restored. The following message displays:

Device router_name not responding to SNMP

The retry popup window restarts the timer and proceeds when the Cisco device is available. You can retry the request or quit.

Step 2 To change from Celsius to Fahrenheit, select Option>Convert to Fahrenheit.

The window automatically updates and reappears with Fahrenheit temperatures.

Step 3 To change the polling frequency, select Option>Polling Frequency.

A Polling Frequency window displays. Use the polling interval slider or type over the default in the Polling Frequency field and press Return.

Step 4 To print the screen, select File>Print.

Depending on the network management platform you use, you may see different print utilities. For more information on these print utilities, refer to the platform documentation.


Locating Device Routing Paths

The Path Tool application graphically displays the routing path between a source device and a destination device using the standard protocols (SNMP or IP). The Path Tool application displays that path in the Path Tool window. This application enables you to check the paths between two IP addresses.

nm972.gif

The graphical display in the Path Tool window shows the devices (including routers) involved, the link speeds connecting these SNMP devices, and the interface names. You can run several Path Tool analyses at the same time. The analyses provide color-coded severity levels for each link. Each Path Tool request appears in a separate window.

If your devices contain user-defined community strings, you can change how the Path Tool uses community string using the -r option in the command line syntax or the .Xdefaults file. For more information, refer to the nmpath online manual page.


Note If a device is not accessible using SNMP, the analysis confirms this by displaying a black link in the path displayed in the Path Tool window and uses other methods to discover the path. However, for best results, network devices should have SNMP turned on.

You can access the Path Tool application from the main menu to access all devices; if you are using the SunNet Manager platform, you can use the Glyph menu to access a specific device as the source device.

The Path Tool application uses the following windows:

  • Path Tool Source and Destination window---Use to enter source and destination devices. (See Figure 3-6.)

  • Path Tool Route Path window---Use to display all devices from the source to the destination device display, including device name, IP address, link speed, interface names, and color-coded threshold information. (See Figure 3-5.)

This is the main Path Tool window that is used during the utilization and error analysis. It is described in detail in the following section.

  • Path Tool Path Hops text window---The Path Tool displays path hop information from the source device to the destination device. (See Figure 3-7.)

  • Path Tool Properties window---Use to set utilization and error severity thresholds to mark interfaces with appropriate colors. (See Figure 3-8.)


Using the Path Tool on Secondary Addresses

Many IP networks use a Cisco Systems feature called secondary addresses. Secondary addresses allow a user to assign two different IP addresses to one physical interface (on different subnets and/or IP networks). Unfortunately, secondary addresses cannot be discovered via SNMP.

So, if a router has a secondary address and associated subnet mask, the Path Tool application cannot acquire this information. This results in the Path Tool potentially not knowing the subnet mask used on the secondary network. If the Path Tool does not have knowledge of the subnet mask used within a network, it may not be able to determine the route between the source and destination IP addresses.

If the Path Tool application cannot get the secondary address information via SNMP it searches the /etc/netmasks file for subnet mask information about a network. The/etc/netmasks file is part of the UNIX operating system and contains network numbers and their associated subnet masks. To ensure that the Path Tool can find information about secondary addresses, you must add all of your network numbers and their associated subnet masks in the /etc/netmasks file.

An example of how the file is formatted follows. Use this example as a guideline when adding your network numbers and associated subnet mask information.

128.128   255.255.248.0
192.6.141  255.255.255.0


This format denotes that the IP network 128.128.0.0 has the subnet mask 255.255.248.0, and the IP network 192.6.141.0 has the subnet mask 255.255.255.0. Trailing zeros are not entered in the /etc/netmasks file.


Path Tool Window

Figure 3-5 illustrates the Path Tool Route Path window, which is the main Path Tool window.
Table 3-5 describes its components.

nm331.gif

Figure 3-5 : Path Tool Route Path Window

Table 3-5 : Path Tool Window Components

Component Subcomponent Description
File Print
Exit
Prints a snapshot of the current window.
Exits the current window.
Analysis Utilization
Errors
Performs an analysis on link utilization.
Performs an analysis on errors per second.
View Utilization
Errors
Toggles to the path showing utilization analysis.
Toggles to the path showing error analysis.
Options Polling Frequency

Properties
Re-discover Path
Allows you to set the frequency (in seconds) of how often polling occurs. The default is 15 seconds.
Allows you to view and set analysis settings and severity levels.
Displays alternative routing path, if found.
Help On Version
On Path Tool
Displays the CiscoWorks version information for this application.
Provides help text on the current window.
Interface Names Displays the first letter of the interface type and the interface number. The abbreviation is the first character of the interface description attached to the interface number. The following list includes the interface-type abbreviations for Cisco interfaces:

  • E = Ethernet
  • F = FDDI
  • H = HSSI
  • S = Serial
  • T = Token Ring
  • U = Unknown via SNMP
Link Speeds
Displays the link speed between interfaces in megabits or kilobits per second (Mbps or Kbps). If an interface is unknown, the link speed is represented by three question marks (???).


Using the Path Tool Application

If you cannot find your source device icon on the network map or if you do not know the device information, use the menu bar to access the Path Tool application. The following procedure enables you to choose your source or destination device from a list of device names.

To display an analysis of the entire path or any valid subpath, perform the following steps:

Step 1 Select Path Tool.

On SNM, select Tools>Path Tool.

On HP OpenView or NetView for AIX, select Diagnose>Network Connectivity>Path Tool.

The Path Tool Source/Destination window appears. (See Figure 3-6.)


nm326.gif

Figure 3-6 : Path Tool Source and Destination Window

Step 2 Enter the source device name.

The path source is the device from which you want the path to start. If you do not know the source device name, click on the Path Source Select button. A Device Selection window appears.

Select your source device from the scroll window and click on OK.

Step 3 Enter a path destination name.

The path destination is the device at which you want the path to end. If you do not know the destination device name, click on the Path Destination Select button. A Device Selection window appears.

Select your destination device from the scroll window and click on OK.

Step 4 Click on OK button in the Path Tool Source/Destination window to start the process.

The Path Tool application uses a text browser to display the path hops from the source device to the destination device. (See Figure 3-7.) If a loss of connectivity to the device occurs, a retry popup window displays until connectivity is restored. The following message displays:

Device router_name not responding to SNMP

The retry popup window skips a hop and proceeds normally until it completes its task. Path Tool reports devices that did not respond to SNMP. You can also save the text information into a file by selecting File>Save As in the Path Tool window.

nm330.gif

Figure 3-7 : Path Tool Window---Path Hops from Source to Destination

After the Path Tool reaches the destination, it displays a picture of the route. This is the known path from your source device to your destination device. To view the full path route if it is larger than what fits into the window, use the scroller at the bottom of the Path Tool Route window or resize the window. (See Figure 3-5.)

In Figure 3-5, the source device is a UNIX workstation with a host name of fred. An interface named E0 connects the source device to a Cisco router, wilma, at a link speed of 10 Mbps. The Cisco router, pebbles, with a High-Speed Serial Interface(HSSI) H0, connects a Cisco router, dino, with a HSSI interface H0 at a link speed of 4 Mbps.


Note Interfaces marked with a U (unknown) indicates that the SNMP protocol was not used to find the route through this device.

If the path cannot be discovered using SNMP or other means, the following error message displays: Could not discover desired path via SNMP or any other means.


Using Path Tool from the Glyph Menu (SunNet Manager Only)

You can also run the Path Tool application from the Glyph menu. The Glyph menu is the SNM pull-down menu for a particular device. This procedure enables you to choose your destination device from a list of device names. The source device information is automatically entered after you click on the Cisco icons representing your source device.

To display an analysis of the entire path or any valid subpath using the Glyph menu, perform the following steps:

Step 1 Click on the source device from which you want the path to start from and select Tools>Path Tool.

The Path Tool window appears. Note that the source device is automatically entered in the window.

Step 2 Select a destination device which is the device where you want the path to end from the Path Destination scroll window.

The selected device name appears in the Path Destination Selection field.

Step 3 Click on OK button to start the process.

The Path Tool window appears. If a loss of connectivity to the device occurs, a retry popup window displays until connectivity is restored. You can retry the request or quit.

Step 4 Refer to the previous section, "Using the Path Tool Application," for the results of the Path Tool process.


Path Tool Properties Window

Use the Path Tool Properties window to set your analysis parameters. You can set continuous utilization and error analyses and your polling interval from the Path Tool Properties window. You can also set a text window to appear each time a utilization or error analysis is performed. This text window contains statistics displayed in the Path Tool window.

After you run the Path Tool application, you can access the Properties window from the Options menu.

Before you perform an analysis, you might want to access the Path Tool Properties window to set your parameters or use the CiscoWorks defaults to run the Path Tool application.

Figure 3-8 illustrates the Path Tool Properties window. Table 3-6 describes its components.

nm348.gif

Figure 3-8 : Path Tool Properties Window

Table 3-6 : Path Tool Properties Window Components

Component Subcomponent Description
Utilization Show Text

Continuous
If activated, Show Text displays a window with utilization analysis data.
If activated, a Path Tool window runs continuously rediscovering utilization data for a specific path using the set polling interval.
Errors Show Text

Continuous
If activated, Show Text displays a browser window with error analysis data.
If activated, a Path Tool window runs continuously rediscovering error data for a specific path using the set polling interval.
Utilization
Severities
Level 1 to 5 Provides threshold settings for utilization color codes in percent. Thresholds must be in ascending order.
Error Severities Level 1 to 5 Provides threshold settings for error color codes in errors per second. Thresholds must be in ascending order.


Setting Parameters in the Path Tool Properties Window

To change the settings in the Path Tool Properties window, use the following steps:

Step 1 On the Path Tool window, select Options>Properties.

Step 2 Change any of the following settings:

  • Show Text---To activate a text browser window that displays a report of the utilization or error analysis Path Tool window, click on the appropriate Show Text check box.

    The next time you run an analysis, a text window will display immediately before the Path Tool window updates. Use Show Text to troubleshoot a network problem.

  • Utilization and Errors---To activate a continuous utilization or error analysis (which runs using the polling interval), click on the appropriate Continuous check box.

    When you run an analysis, CiscoWorks will use the polling interval to rerun the analysis until the Path Tool window is closed. Use Continuous to determine the performance of your network, since several path analyses can be compared.

    The next time CiscoWorks rediscovers this path, it will use the new polling interval.

  • Utilization Severities---To change the utilization severities, click on the field of the level you want to change and enter the severity level threshold (in percents).

    The next time the path is rediscovered or a new path is tracked, the new thresholds are used to color code the links.

  • Error Severities---To change the error severities, click on the field of the level you want to change and enter the severity level threshold (in errors per second).

    The next time the path is rediscovered or a new path is tracked, the new thresholds are used to color code the links.

Step 3 After you change your property settings, click on OK button to save your property parameters.


Note You cannot change the color codes in the Properties window. If you change severity levels, keep them in ascending order. A black link in a path displayed in the Path Tool window indicates that the device did not respond to SNMP.


Analyzing a Graphical Path

The Path Tool enables you to run the following two types of analysis to measure network activity. This analysis can only be performed on devices with SNMP access.

  • Utilization analysis---Measures the average percent of bandwidth used by all traffic on an interface in real time.

  • Error analysis---Measures the packets with errors as a percentage of total packets (good packets plus error packets) on an interface or on all interfaces on the path.

Refer to the previous section, "Setting Parameters in the Path Tool Properties Window," for more information on changing the defaults in your Properties window. A description of the types of analysis follows.


Utilization Analysis

The utilization analysis function does two things: color codes the links in the path window and provides an optional browser window that shows the usage of each link if you selected Show Text on the Properties window.

Each link between devices is assigned a color based on settings in the Properties window. You can change these utilization settings depending on your network needs. A black link in a path displayed in the Path Tool window indicates that the device did not respond to SNMP.

The Path Tool provides the following defaults for the utilization settings:

  • Green: Level 1 (0 to 5%)

  • Blue: Level 2 (5 to 10%)

  • Yellow: Level 3 (10 to 15%)

  • Orange: Level 4 (15 to 20%)

  • Red: Level 5 (greater than 20%)

For example, in the Path Tool Utilization window, a green link means that the link is using between 0 and 5 percent of the bandwidth.The defaults describe how the color codes relate to real utilizations. For example, green might signify less than 5 percent use, while red might mean over 90 percent utilized. You can set the utilization and error severities in the legend on the Path Tool Properties window.

A key to parameter settings is located on the Path Tool Properties window.

Utilization analysis also provides a browser window showing the actual usage for each link in numerical order. Use the View menu on Path Tool to display the analysis. The utilization analysis measures both ends of the link.


Running a Utilization Analysis

From the Path Tool window, you can perform a utilization analysis of the data in the window.

To analyze the average percent of bandwidth used by all traffic used in real time, perform the following steps:

Step 1 In the Path Tool window, select View>Utilization (if you have not already done so).

This toggles to the Path Tool Utilization Analysis window. If there is a current utilization analysis, the timestamp indicates when it was performed. If no utilization has been performed, the window indicates that no utilization was performed yet.

Step 2 Select Analysis:Utilization.

The Path Tool window reappears and is timestamped with the utilization analysis confirmation. (See Figure 3-9.)


nm422.gif

Figure 3-9 : Path Tool Window after Utilization Analysis


Note If a workstation generic icon appears in the path route as a device that you know is a Cisco device, modify the device icon to represent the device on the map.

A Path Tool Utilization Text window also appears if you selected Show Text on the Path Tool Properties window. (See Figure 3-10.)


nm424.gif

Figure 3-10 : Path Tool Utilization Text Window

The Utilization text window contains data on the percentage of bandwidth each device interface is using in real time.

For example in Figure 3-10, the Ethernet 0 interface on fred is using only 0.1 percent of the bandwidth, while the Ethernet 8 interface at barney is utilizing 5.9 percent of the bandwidth. Each network administrator must determine what utilization percentage is within the acceptable ranges. Note that device flatrock, which does not have SNMP enabled, shows a percentage as Unknown.

Step 3 If you have a large-scale path, you can search forward or backward for any character string. For example, you might want to search for a device name, an interface name, or a certain percentage. Move your cursor into the window and enter the word Ethernet2 and click on Search Forward. If an Ethernet 2 interface is present in this path, the Utilization text window finds it and highlights it within the browser.

Step 4 To print the data in the Utilization text window to a line printer, select File>Print.

Step 5 To save the data in the Utilization text window to a file, select File>Save As.

Step 6 To exit the Utilization text window and return to the Path Tool window, select File>Exit.


Error Analysis

The error analysis function is similar to utilization analysis. However, instead of color coding the real utilization analysis, the Path Tool color codes the errors per second on the link. Each link between devices is assigned a color based on settings in the Properties window. You can change these error settings based on your network needs. A black link in a path displayed in the Path Tool window indicates that the device did not respond to SNMP.

The Path Tool provides the following defaults for the error analysis settings:

  • Green: Level 1 (0 to 5 errors/second)

  • Blue: Level 2 (5 to 10 errors/second)

  • Yellow: Level 3 (10 to 15 errors/second)

  • Orange: Level 4 (15 to 20 errors/second)

  • Red: Level 5 (greater than 20 errors/second)

For example, in the Path Tool error utilization window, if a link is yellow this link is seeing from ten to fifteen errors per second. The interface error measurement includes packets with errors as a percentage of total packets (good packets plus error packets) on an interface.

Figure 3-8 shows the Properties window that the Path Tool uses to determine what colors to assign to the error status of each line.

As another example, a link with no errors may appear green, while a link with an 80 percent error rate may appear red. The Path Tool only checks errors appropriate to the type of media for the link. For example, on an Ethernet it would look at errors specific to Ethernet interfaces.


Running an Error Analysis

From the Path Tool window, you can perform an error analysis on the data in the window.

An error analysis collects different information depending on what type of interface your device has. Table 3-7 describes the error analysis variables for both non-Cisco and Cisco devices according to their interface types.

Table 3-7 : Error Analysis Variables

Interface Objects Polled MIB Objects Names
Non-Cisco device (all interfaces) Input errors
Output errors
ifInErrors
ifOutErrors
Cisco device---Ethernet Collisions
Runts
Giants
CRCs
Restarts
Resets
locIfInCollisions
locIfInRunts
locIfInGiants
locIfInCRC
locIfRestarts
locIfResets
Cisco device---serial
Frame errors
Overruns
Ignoreds
Aborts
Restarts
Resets
Carrier transitions
locIfInFrame
locIfInOverrun
locIfInIgnored
locIfInAbort
locIfRestarts
locIfResets
locIfCar Trans
Cisco device---FDDI or Token Ring Runts
Giants
CRCs
Restarts
Resets
locIfInRunts
locIfInGiants
locIfInCRC
locIfRestarts
locIfResets


Note For consistency, this manual uses the term object as a replacement for such terms as MIB variables, MIB object instances, and so on. Other Cisco publications may use different terms, but all the terms can be used interchangeably.

To analyze the number of packets with errors as a percentage of total packets (good packets plus error packets) in real time, perform the following steps:

Step 1 On the Path Tool window, select View>Errors.

This toggles to the Path Tool Errors Analysis window.

Step 2 On the Path Tool window, select Analysis>Errors.

The Path Tool window reappears timestamped with the error analysis confirmation. (See Figure 3-11.)


nm346.gif

Figure 3-11 : Path Tool Window after Error Analysis

An Errors Text window also appears if you selected Show Text in the Path Tool Properties window. (See Figure 3-12.)


nm347.gif

Figure 3-12 : Errors Text Window

The Errors Text window contains data on the percentage of errors per second based on the type of line (Ethernet, serial, Token Ring, FDDI).

For example, in Figure 3-12, fred is a Cisco device with an Ethernet connection, so statistics are gathered for collisions, runts, giants, CRCs, restarts, and resets. The serial connection (not in picture) on dino gathers statistics on frame errors, overruns, ignoreds, aborts, restarts, resets, and carrier transitions.

Step 3 If you have a large-scale path, you can search forward or backward for any character string. For example, you might want to search for a device name, an interface name, or a certain percentage. Move your cursor into the window, enter the word carrier transitions, and click on Search Forward. If a serial line is present in this path, the Errors text window will find it and highlight it within the browser.

Step 4 To print the data in the Errors text window to a printer, select File>Print.

Step 5 To save the data in the Errors text window to a file, select File>Save As.

Step 6 To exit the Errors text window and return to the Path Tool window, select File>Exit.

If the Path Tool is using methods other than SNMP to discover a path, it may encounter difficulties determining the correct path where parallel routers with parallel links exist. Such a setup appears in Figure 3-13. The way to avoid this problem is to enable SNMP on one of the two parallel devices.

nm167.gif

Figure 3-13 : Parallel Routers with Parallel Links


Graphing Your Real-Time Device Data

The Real-Time Graphs application monitors the behavior of devices suspected of operating in a degraded mode or introducing erratic behavior in traffic patterns, error status indications, or statistics. Use the following interface health buttons to display quick information about diagnosing problems in your network: Errors and Queues. Errors and Queues are the only buttons on the Real-Time Graphs window explained in this chapter.

nm968.gif

Real-Time Graphs is also useful for managing and planning network loads and use. For more information on performance management, refer to section "Using the Real-Time Graphs" in Chapter 4.

The Real-Time Graphs application monitors and graphs variables for a single device. Multiple devices can be monitored simultaneously by opening more than one application. In addition, you can merge graphs to present the data in one graph.

If you are using SunNet Manager, the Real-Time Graphs application uses the SNM Grapher. For information on customizing your graph, see the SunNet Manager 2.0 User's Guide. If you are using HP OpenView, the Real-Time Graphs application uses the OpenView grapher, xnmgraph. For more information about customizing your graph, refer to the online help in the Grapher window.


Real-Time Graphs Window

Figure 3-14 illustrates the Real-Time Graphs window. Table 3-8 describes its components. Grayed-out buttons on CiscoWorks application windows indicate inactive functions.

nm378.gif

Figure 3-14 : Real-Time Graphs Window


Note In Figure 3-14, the device named amergin.cisco.com does not have the following protocols activated: DECnet IV and XNS.

Table 3-8 : Real-Time Graphs Window Components

Component Subcomponent Description
File Print
Exit
Prints a snapshot of the window.
Exits the current window.
Options Polling Frequency Changes polling rate. Can be set using the polling slider or entering a value in the Polling Frequency field and pressing Return. Default = 2 seconds.
Help On Version
On Real-Time Graphs
Displays the CiscoWorks version information for this application.
Provides help text on the current window.
Router Health




Interface Health1





Protocol Traffic
Buffer Space
CPU Load
Environment
Free Memory
Security
Bits/Sec
Bytes
Errors
Packets/Sec
Packets
Queues
IP
ICMP
SNMP
TCP
UDP
AppleTalk
DECnet IV
Novell
VINES
XNS
Refer to Table 4-5 in Chapter 4 for a detailed description of the router health buttons.



Refer to Table 4-6 in Chapter 4 for a detailed description of the interface health buttons.





Refer to Table 4-7 in Chapter 4 for a detailed description of the protocol traffic buttons.

1 If a button is grayed out, the selected device does not have this capability. For example, currently only a Cisco AGS+ router with the correct environmental monitor card (Revision 4) has the Environment router health button capability.


Creating a Real-Time Graph for Interface Error Data Using SunNet Manager

To create a graph with real-time device data (specifically for error information), perform the following steps:

Step 1 Click on the device and select Tools>Real-Time Graphs.

The Real-Time Graphs window appears. (See Figure 3-14.)

Step 2 Gather data on interface health by clicking on either Errors or Queues. For this example, click on Errors.

These buttons collect MIB object information that will assist you in diagnosing your network problem. Table 3-9 describes these buttons and the MIB object descriptions they poll.


Note CiscoWorks polls differently for Cisco and non-Cisco devices. See Table 3-9 for a list of MIB objects polled by Interface Health buttons.

Table 3-9 : Interface Health Buttons---Errors and Queues

Buttons Description MIB Object Descriptions
Errors Displays the number of input packets with various characteristics for Cisco-specific devices. For Ethernet, 802.3 CSMA/CD, starLAN:
locIfCollisions
locIfInRunts
locIfInGiants
locIfInCRC
locIfResets
locIfRestarts
For FDDI and Token Ring:
locIfInRunts
locIfInGiants
locIfInCRC
locIfResets
locIfRestarts
For serial (Cisco-specific):
locIfInFrame
locIfInOverrun
locIfInIgnored
locIfInAbort
locIfResets
locIfRestarts
locIfCarTrans
Displays the number of input packets with various characteristics for any non-Cisco devices. For serial (non-Cisco):
ifInErrors
ifOutErrors
Queues Displays the number of packets dropped because the input or output queue was full for Cisco-specific devices. locIfInputQueueDrops
locIfOutputQueueDrops

The real-time graphs you create use the polling frequency default set in the Options menu. To enter a new polling frequency, select Options>Polling Frequency. A Polling Frequency window displays. Enter the polling frequency and click on OK.

Step 3 After you click on Errors button, a Real-Time Grapher Choose window displays.

If you receive an SNMP error message, check the device's SNMP configuration.

Step 4 Select the interface for which you want to receive errors information and click on OK.

The grapher window appears. Figure 3-15 displays the real-time graph for errors.

Seconds later, a Results Grapher window also appears. The devices and variables you selected appear in the scroller window.


nm355.gif

Figure 3-15 : Graph Window for Errors Statistics on the SunNet Manager Platform

fig_3.gif Caution When you are finished, you must remove the graphs using the Results Grapher window, or the graphs will continue to poll.


Viewing or Changing Graph Properties

The Real-Time Graphs application uses the SNM Grapher. If you want to change the appearance of your real-time graph, you need to use the SNM Results Grapher window. (See Figure 3-16.)

nm356.gif

Figure 3-16 : SNM Results Grapher Window

You can perform the following tasks using the Results Grapher:

  • View different graphs listed in the Results Grapher browser.

  • Access an SNM properties pop-up window to change graph properties such as color, plot values, and scaling parameters.

  • Remove or halt real-time graphs data collection.

  • Merge two or more graphs.


Note For more information on the SNM Grapher, refer to the SunNet Manager 2.0 User's Guide.


Creating a Real-Time Graph for Interface Error Data Using HP OpenView

To create a graph with real-time device data (specifically for error information), perform the following steps:

Step 1 Click on the device and select Monitor>Real-Time Graphs.

The Real-Time Graphs window appears. See Figure 3-14.

If you receive an SNMP error message, check the device's SNMP configuration under the Options menu. HP OpenView 3.3 uses public as the default for the set community string. If you have a device or devices that use other community strings, you will need to configure them appropriately using Options>SNMP Configuration.

Step 2 Gather data on interface health by clicking on either Errors or Queues. For this example, click on Errors.

These buttons collect MIB object information that will assist you in diagnosing your network problem.

The real-time graphs you create use the polling frequency default set in the Options menu. To enter a new polling frequency, select Options>Polling Frequency. A Polling Frequency window displays. Enter the polling frequency and click on OK.

Step 3 After you click on Errors button, a Real-Time Grapher Choose window displays.

Step 4 Select the interface for which you want to receive error information and click on OK.

The grapher window appears. Figure 3-17 displays the real-time graph for errors.


nm482.gif

Figure 3-17 : Graph Window for Errors Statistics on the HP Openview Platform


Viewing or Changing Graph Properties

To change graph properties, use the View menu items in the OpenView Grapher window. For more information about changing graph properties, refer to the online help in the Grapher window.


Using Show Commands to View Router Data

CiscoWorks provides a unique interface to Cisco routers or communication servers on your network. Using the Show Commands application, you can view device data with the click of a mouse.

nm965.gif


Show Commands Window

Figure 3-18 illustrates the Show Commands window. Table 3-10 describes its components.

nm357.gif

Figure 3-18 : Show Commands Window


Note An inactive (grayed-out) button in Figure 3-18 means the selected device does not recognize that feature. For example, if Show Environment were grayed out, this device may not have a Revision 4 environmental monitor card. You might not have the correct card or the device might not support retrieval of information via SNMP.

Table 3-10 : Show Commands Window Components

Component Definition When to Use
File>Print
File>Exit
Prints a snapshot of the window.
Exits the current window.
To perform the tasks described in the adjacent column.
Help>On Version

On Show Commands
Displays CiscoWorks version information for this application.
Provides help text for the current window.
To perform the tasks described in the adjacent column.
Buffers Displays statistics for the buffer pools on the network server. If the input queue count on an interface is consistently nonzero. Use to determine if you need to adjust initial buffer pool settings and the limits at which temporary buffers are created and destroyed.
Environment Displays temperature and voltage information. If you have received a warning or shutdown message; query the environmental monitor card to determine if a measurement is at a warning tolerance. Available only on devices with environmental monitor cards, for example, the Cisco AGS+ router.
Flash Displays files in Flash memory for a Cisco device. If you are using Flash memory to load a configuration file into a Cisco device, you can check to ensure that the file is uncorrupted and ready to load.
Interface Displays status of device interfaces. If you have a problem after reconfiguring a device. You can also use this command as a monitoring tool.
Traffic Mix1 Displays status information on all protocol traffic including device, protocol, and interface data. If you want to check protocol traffic activity.
Version Displays the software title and version and cumulative uptime since the last reload of the software for the selected device. For routers running Software Release 9.1, this window displays traffic per protocol on each interface. If it is necessary to contact technical support; have all version information ready for your technical support specialist.
IP Accounting Checkpoint Displays the checkpointed accounting database, which contains source and destination addresses and the total number of packets and bytes for each address pair. If you want to check accounting database information.
IP ARP Displays the Address Resolution Protocol (ARP) cache. If you want to check the records of the correspondence for each network address (an IP address, for example) and LAN hardware addresses (MAC addresses).
IP Route Displays the current state of the IP routing table. If you want to check routing information.
AppleTalk Traffic Displays AppleTalk traffic statistics. If you want to check information on AppleTalk-specific traffic.
DECnet Traffic Displays DECnet traffic statistics. If you want to check information on DECnet-specific traffic.
IP Traffic Displays IP statistics. If you want to check IP-specific traffic information.
Novell Traffic Displays Novell traffic statistics. If you want to check Novell-specific traffic information.
VINES Traffic Displays VINES traffic statistics. If you want to check VINES-specific traffic information.
XNS Traffic Displays XNS packet statistics. If you want to check XNS-specific traffic information.

1 The Show Traffic Mix feature is specific to CiscoWorks; it is not a router EXEC show command.


Note Show Commands information provided by the CiscoWorks software differs slightly from the show commands performed directly at the router console. The difference in appearance may occur if information is not available through the SNMP protocol.


Accessing the Show Commands Windows

To access the individual Show Commands windows, perform the following steps:

Step 1 Select Show Commands.

On SNM, click on the device and select Tools>Show Commands.

On HP OpenView or NetView for AIX, select Diagnose>Show Commands.

The Show Commands window appears. (See Figure 3-18.) If a loss of connectivity to the device occurs, a retry popup window displays until connectivity is restored. You can retry the request or quit.

Step 2 To request specific system status, IP information, or traffic information, click on the desired Show Commands button.

Several show windows are described following.

Step 3 To exit the Show Commands window, select File>Exit.

For more detailed information on show commands, refer to the Router Products Configuration and Reference publication.


Show Commands Subwindows

Figure 3-19 illustrates a Show Commands subwindow. Table 3-11 describes the components of the individual Show Commands subwindows.

The show commands listed in Table 3-11 each have their own Show window. There are several show commands. Examples of a selection of show windows appear later in this section.

nm359.gif

Figure 3-19 : Show Commands Subwindow---Show Buffers

Table 3-11 : Show Commands Subwindow Components

Component Subcomponent Description
File Print
Save As
Close
Prints the contents of the current window.
Saves the contents of the current window to a file.
Exits the current window.
Option Refresh Redisplays the current window with updated data.
Help On Version
On Show Commands
Displays the CiscoWorks version information for this application.
Displays a manual page on the current window.
Search String field Provides a field for the character string to locate in text.
Search Forward Searches forward for a character or character string in the text.
Search Reverse Searches backward for a character or character string in the text.


Show Environment Window

From the Show Commands window, click on the Show Environment button to display the Show Environment window. (See Figure 3-20.)

The Show Environment window displays temperature and voltage information on the AGS+ router console. You can access the Show Environment window to check data after you receive a warning or shutdown message from your AGS+ router.

nm360.gif

Figure 3-20 : Show Environment Window


Note Your Cisco AGS+ must have the Revision 4 environmental monitor card (Microcode Version 2.0) in order for the Show Environment command to work properly. The network map must also define the device type as an AGS+.


Show Flash Window

From the Show Commands window, click on the Show Flash button to display the Show Flash window. (See Figure 3-21.)

The Show Flash window provides information on Flash memory contents for Cisco devices with Flash memory, such as a Cisco 7000 router.

nm361.gif

Figure 3-21 : Show Flash Window


Show Traffic Mix Window

From the Show Commands window, click on the Show Traffic Mix button to display the Show Traffic Mix window. (See Figure 3-22.)

The Show Traffic Mix window provides all traffic information, regardless of protocol. This command polls the router and shows statistics over a short period of time. Use the Refresh button to update this period and recalculate the statistics shown.

This Show Command is a feature specific to CiscoWorks; it is not a router EXEC show command. You can use this command as a quick view of traffic activity.

nm362.gif

Figure 3-22 : Show Traffic Mix Window

The Show Traffic Mix window in Figure 3-22 contains the following three sections.

  • Section A---Provides the following router data:

    • Router uptime

    • Total packets forwarded

    • Percentage of packets forwarded by each protocol

    • Number of packets forwarded by each protocol

  • Section B---Provides the following router data:

    • For each interface, the total number of bytes sent and received by the router

    • For each interface, what percentage of the total bytes this represents in the router

  • Section C---(not shown in figure) Provides the following router data:

    • For each interface, the total number of packets sent and received by the router

    • For each interface, the percentage of total packets this represents in the router


Show IP Accounting Checkpoint Window

From the Show Commands window, click on the Show IP Accounting Checkpoint button to display the Show IP Accounting Checkpoint window. (See Figure 3-23.)

The Show IP Accounting Checkpoint window displays the checkpointed database. The output contains source and destination addresses, as well as total number of packets and bytes for each address pair. Use this information to check resource usage.

nm449.gif

Figure 3-23 : Show IP Accounting Checkpoint Window

If there is no IP accounting checkpoint on the selected router, the following error message will appear: No IP accounting checkpoint table on <device_name>.


Show IP Traffic Window

On the Show Commands window, click on the Show IP Traffic button to display the Show IP Traffic window. (See Figure 3-24.)

The Show IP Traffic window displays statistics on IP protocol operation.

nm363.gif

Figure 3-24 : Show IP Traffic Window


Querying Device Health

The Health Monitor application provides information about the overall health of a device and allows you to access to several CiscoWorks applications on one window.

nm969.gif

You can perform the following tasks from the Health Monitor window:

  • Access Show Commands buttons for version, interface, buffer, and protocol information.

  • Use the Real-Time Graphs application for buffer misses; free memory; and CPU, interface or protocol information.


Health Monitor Window

Figure 3-25 illustrates the Health Monitor window. Table 3-12 describes its components.

nm364.gif

Figure 3-25 : Health Monitor Window

The Health Monitor window in Figure 3-25 contains the following three panels. To resize each panel, click on the panel button, also known as a sash, and shift the panel according to the view you desire.

  • Panel A---Provides the following menu selections and device data:

    • Device type and name.

    • Buffer misses and free memory data. This data is polled continuously at 15-second intervals by default.

    • CPU load (busyper, avg1, avg5) for current, 1-minute and 5-minute intervals. This data is polled continuously at 15-second intervals.

  • Panel B---Provides the following protocol data:

    • Percentage of traffic forwarded on this router for a specific protocol.


Note If a protocol button is grayed out, the protocol is not being used on this device. Therefore, there are no management capabilities on this protocol. If an interface button is grayed out, the interface might be down. When the interface comes back up, the button will become active.

  • Panel C---Provides the following interface data:

    • Percentage of utilization for this router for a specific interface.

The Health Monitor window can be changed to display data in a text format. For information on how to change the data display default, refer to the nmhealth manual page.

Table 3-12 : Health Monitor Window Components

Component Subcomponent Description
File Print
Exit
Prints a snapshot of the window.
Exits the current window.
Options Set Polling Frequency
Properties
Allows you to change the polling rate. The default is 60 seconds.
Allows you to change the data display format from a graphical dial to text and the format of free memory from bytes to kilobytes.
Help On Version
On Health Monitor
Displays the CiscoWorks version information for the application.
Displays help text for the current window.
Device1 Show Commands Provides Show Version command.
Buffer Misses Show Commands
Real-Time Graphs
Provides Show Buffers command.
Provides buffer data graph.
CPU Real-Time Graphs Provides CPU data graph.
Free Memory Real-Time Graphs Provides free memory data graph.
Protocols Show Commands
Real-Time Graphs
Provides show protocol command.
Provides protocol data graph.
Interfaces Show Commands
Real-Time Graphs
Provides Show Interface command.
Provides interfaces data graph.

1 An icon representing a device type appears next to the device name in the Health Monitor window. The icon changes depending on the device type.


Note All graphs created using the Health Monitor inherit the polling interval setting from the Health Monitor window.

Table 3-12 describes the Health Monitor window components and contains references to two applications: Show Commands and Real-Time Graphs. These applications are represented in the window menuing system by the icons in Figure 3-26.

fig_1.gif

Figure 3-26 : Health Monitor Window Icons

Figure 3-27 illustrates the following Show Commands and Real-Time Graphs applications you can access from within the Health Monitor window:

  • Show IP Accounting Checkpoint

  • Show IP Traffic

  • Real-Time Graph for Free Memory

Depending on the network management platform you are using, some of the windows in Figure 3-27 might look different.


Note Protocol and interface utilization percentages are calculated using deltas, therefore requiring two polling periods to be accurate.


nm451.gif

Figure 3-27 : Health Monitor Overview: Show IP Accounting Checkpoint, Show IP Traffic, and Show Free Memory


Using the Health Monitor

To use the Health Monitor window, perform the following steps:

Step 1 Select Health Monitor.

On SNM, click on the device and select Tools>Health Monitor.

On HP OpenView or NetView for AIX, select Monitor>Health Monitor.

The Health Monitor message window shown in Figure 3-28 displays while the Health Monitor gathers information. After the device information is loaded, the Health Monitor window appears.


nm365.gif

Figure 3-28 : Health Monitor Message Window

If a loss of connectivity to the device occurs, a retry popup window displays until connectivity is restored. The following message displays:

Device router_name not responding to SNMP

The retry popup window restarts the timer and proceeds when the Cisco device is available. You can retry the request or quit.

Step 2 To change the polling frequency for this device, select Options>Set Polling Frequency.

A Health Monitor Polling Frequency window displays. To change the polling frequency, use the polling slider or enter a new value in the Polling Frequency field and press Return.

Step 3 To change the window properties, select Options>Properties.

A Health Monitor Properties window displays. (See Figure 3-33.)

Step 4 Change the desired properties and click on OK.

Step 5 Graph a device's memory usage by clicking on the Free Memory button and selecting the Real-Time Graphs icon.

The real-time graph displays seconds later. (See Figure 3-29 if you are using the SunNet Manager platform. See Figure 3-30 if you are using the HP OpenView platform.)


nm354.gif

Figure 3-29 : Free Memory Real-Time Graph for Cisco Device (SunNet Manager Platform)

The Cisco device divot displays a free memory of almost 2 megabytes (MB). The start time of the real-time graph displays in the left bottom corner of the graph. The current poll time displays in the right bottom corner of the graph. The legend for this real-time graph includes the MIB object for free memory (freeMem).

nm476.gif

Figure 3-30 : Free Memory Real-Time Graph for Cisco Device (HP OpenView Platform)

The graph shows the free memory of the Cisco device anger. The start time of the real-time graph displays in the left bottom corner of the graph; at the start time, anger displays 11,749,900 bytes of free memory. The current poll time displays in the right bottom corner of the graph. The graph also displays the MIB object for free memory (freeMem) in the legend above the graph.

Step 6 Graph CPU load data by clicking on the CPU button and selecting the Real-Time Graphs icon.

The real-time graph displays. (See Figure 3-31 if you are using the SunNet Manager platform. See Figure 3-32 if you are using the HP OpenView platform.)


nm367.gif

Figure 3-31 : CPU Load Real-Time Graph for Cisco Device (SunNet Manager Platform)

The Cisco device divot displays the CPU load for this device. The legend includes the three MIB objects for avgBusy1, avgBusy5, and busyPer (the CPU busy percentage for 1- and 5-minute averages and for the last 5-second period.) The start time of the real-time graph displays in the bottom left corner of the graph. The current poll time displays in the bottom right corner of the graph.

nm481.gif

Figure 3-32 : CPU Load Real-Time Graph for Cisco Device (HP OpenView Platform)

Figure 3-32 displays the CPU load for the Cisco device anger. The legend includes the three MIB objects for avgBusy1, avgBusy5, and busyPer (the CPU busy percentage for 1- and 5-minute averages and for the last 5-second period.) The start time of the real-time graph displays in the bottom left corner of the graph.


Properties Window

Figure 3-33 illustrates the Properties window for the Health Monitor application. Table 3-13 describes its components.

nm368.gif

Figure 3-33 : Properties Window for Health Monitor

Table 3-13 : Health Monitor Properties Window Components

Component Subcomponent Description
Display Format Dial
Text
Toggles format of data display from a graphical dial to a text box.
Free Memory Format Bytes
KBytes
Toggles format of free memory from bytes to kilobytes.

To alter Health Monitor properties, perform the following steps:

Step 1 To change the Display Format, click on Dial or Text.

Step 2 To change the Free Memory format, click on Bytes or kilobytes (Kbytes).

Step 3 To save these property changes and exit the window, click on OK.


Using Device Contacts

When you need to find an onsite network manager or support contact quickly, use the Contacts application. To enter contact information, access the Device Management application and enter the information using the Devices window. For instructions on entering device contact data, refer to Chapter 6, "Device Management."

nm987.gif


Note The Contacts application has no authority checking and therefore is open to all users with access to CiscoWorks.


Accessing Device Contact Data

As part of your fault management procedures, you might choose to use device contacts as your quick-access tool to find your emergency contact person. After you enter the necessary information in the Contacts window, you can access this important information through the Contacts application.

To access your device contact data, complete the following steps:

Step 1 Select Contacts.

On SNM, click on the device for which you need contact information and select Tools>Contacts.

On HP OpenView or NetView for AIX, select Monitor>Description>Contacts.

A Contacts browser window appears containing the contact data. (See Figure 3-34.)


nm369.gif

Figure 3-34 : Contacts Window

If you think a contact was associated with a device but is not located in the list, review the device contacts assignments in the Device Management application.

Step 2 To close the window, select File>Exit.


Note If several names are available, use the Search Forward or Search Reverse buttons in the window to search through the list or the scroller. The list will scroll in a loop. If you miss some information, keep scrolling until it reappears. If there are no contacts associated with the selected device, a message stating that there are no contacts available will display.


Using the Log Manager as a Diagnostic Tool

The Log Manager application enables you to view, query, and delete messages gathered from Cisco Systems devices on the internetwork. These messages are stored in the Sybase table ciscolog and viewed through the Log Manager window. Two daemons, Device Monitor and Event Logging, also forward NMS event/trap reports into the log file.

nm990.gif


Log Manager File

Cisco devices (routers, protocol translators, and communication servers) can send messages directly to the Log Manager file through the syslog daemon (syslogd). If you have System Software Release 8.3 or earlier, refer to the Router Products Configuration and Reference publication for a description of error messages. If you have Release 9.0 or later, refer to the System Error Messages.

During installation, the system administrator sets up the log file for CiscoWorks messages, which specifies the directory messages go to and which facility to use to view messages in the Log Manager application. For more information on setting up the log file, refer to "Log File for CiscoWorks Messages" in your CiscoWorks administration and installation guide.

CiscoWorks applications, such as Device Monitor, report to the syslog, which sends messages to the Log Manager file, nmslog.

The functionality of the Log Manager application and the log daemon is illustrated in Figure 3-35. For more information on starting the log daemon, the event daemon, or the Device Monitor daemon (SunNet Manager platform only), refer to Chapter 9, "Using CiscoWorks Process Manager."

nm474.gif

Figure 3-35 : Log Manager Overview


syslog Daemon

The syslog daemon (syslogd) can receive messages from devices on the network. Cisco Systems devices can send error messages and information directly to syslogd. Messages are also generated by CiscoWorks application programs and then sent to syslogd.

The syslog daemon reads and logs messages into a set of files described by the configuration file /etc/syslog.conf. Each message is one line. The message can be tagged with a priority setting indicating whether the message needs to be logged and, if so, into which file it will be logged.


nmslog File

During installation, CiscoWorks creates an nmslog file (or log manager file), and syslogd timestamps and places the collection of message, traps, and events in this file.

The nmlogclean utility can be used to clean out nmslog messages from the Sybase database. The utility is located in the $NMSROOT/contrib directory.

You can use the ls -l command to list the nmslog files in a directory. The list includes names of the nmslog files and the dates they were created. Following is a sample listing displayed by the ls -l command:

-rw-r--r--  1 root         4187 Mar  5 07:32 nmslog
-rw-r--r--  1 root        13108 Mar  4 18:48 nmslog.Fri
-rw-rw-rw-  1 root          226 Mar  3 14:26 nmslog.Thu

The date indicates the day when the file was created, and the name of the file (nmslog.Fri) indicates the day when that nmslog file was closed.


CiscoWorks Log Daemon

The CiscoWorks Log daemon (nmlogd) reads the nmslog file, formats the messages into fields, and forwards them to the Sybase server daemon. When the Log daemon starts up or receives a SIGHUP signal, it reads the /etc/syslog.conf file.

The Log daemon must be run only on the machine on which CiscoWorks is installed. This machine is called the log host. If you want to run CiscoWorks applications on another machine and you want to log events, you must customize your /etc/syslog.conf file. For information on customizing your syslog.conf file, refer to "syslog.conf File" later in this chapter.

For more information on nmlogd, refer to the online manual page nmlogd (8).


Sybase Server

The Sybase server (dataserver) stores the formatted log messages in the CiscoWorks database table, ciscolog. The messages can then be viewed by the CiscoWorks Log Manager application.


Log Message Priority Settings

Priorities are encoded as facilities and levels. The facility describes the part of the system generating the message. The Configuration Management application and Cisco devices are recognized as facility local7. Descriptions of levels follow.

For Cisco devices, the levels from highest to lowest priority are as follows:

  • LOG_CRIT (indicates a critical condition)

  • LOG_ERR (error messages)

  • LOG_WARNING (warning messages)

  • LOG_INFO (informational messages)

  • LOG_DEBUG (includes only messages that contain information on debugging procedures)

For any SNMP devices or devices that support syslogd, the following seven levels, listed from most severe to least severe, can be used:

  • emergencies---System unusable

  • alerts---Immediate action needed

  • critical---Critical conditions

  • errors---Error conditions

  • warnings---Warning conditions (output from Cisco device debug commands are logged at this level)

  • notifications---Normal but significant conditions

  • informational---Informational messages only

  • debug---Debugging messages

To select the type of priority messages you want to log and define where these messages should reside, refer to the instructions in the following section, "syslog.conf File."


syslog.conf File

In the /etc/syslog.conf file, you can add lines to select what type of priority messages should be logged and where they should be logged.


Note The priority specified in syslog.conf causes messages of that priority or higher to be logged.

For SunNet Manager and HP OpenView on the Sun, to send informational messages from the Configuration Management application and from the Cisco routers (facility local7) to a file named /var/log/nmslog, the CiscoWorks installation script adds the following line to the /etc/syslog.conf file during installation:

  local7.info; /var/log/nmslog

For HP OpenView on HP-UX, to send informational messages from the Configuration Management application and from the Cisco routers (facility local7) to a file named /usr/OV/log/nmslog, the CiscoWorks installation script adds the following line to the /etc/syslog.conf file during installation:

  local7.info; /usr/OV/log/nmslog

For more information, refer to your CiscoWorks administration and installation guide.

To be able to log events at workstations other than the log host, you must enter the following line into the /etc/syslog.conf file:

local7.info; @loghost

With this entry in the file, the event is sent to loghost by the local syslogd. The loghost syslogd places the event in the syslog file that is read by nmlogd on loghost.

fig_5.gif Caution Do not edit or remove the nmslog file that is specified in the /etc/syslog.conf file. The syslog daemon and the Log daemon keep track of the file. Use the logpurg program instead. For more information, refer to "Using the Automatic Log Purge Program" later in this chapter.

For further information on how to mark messages by facility and priority level, refer to the UNIX man pages syslogd, logger, and syslog.


Note You must send a SIGHUP signal to syslogd and nmlogd after editing the /etc/syslog.conf file. To send the SIGHUP signal, log in as root and enter the command kill -HUP `cat /etc/syslog.pid`.


Log Manager Window

Figure 3-36 illustrates the Log Manager window. Table 3-14 describes its components.

nm490.gif

Figure 3-36 : Log Manager Window


Note You may reorder the columns in the Log Manager window by dragging a column using your middle mouse button. The records shown in the Log Manager window are always sorted on the first column. For example, if you move the Application column to become the first column, then the records will be sorted by Application. To enlarge the Log Message window to view more than one line, click on the panel button, also known as a sash, above the scroller and pull it down.When you release, the Log Message window will resize.

Table 3-14 : Log Manager Window Components

Component Subcomponent Description
File Print
Exit
Prints the selected fields of the log message in the current browser.
Exits the current window.
Security Change User
Privileges
Enables you to change your user ID in order to access this application.
Displays the current user's security privileges.
Search Find
Show All
Searches for the data marked in the check boxes.
Resets after a search and returns all log messages to the Log Manager window.
Options Refresh Interval Sets the frequency to check the log table for new log records and displays these new records in the Log Manager window.
Help On Version
On Log Manager
Displays the CiscoWorks version information for this application.
Provides help text on the current window.
Data Fields Message ID
Application
Log Message
Device
Event
Time Stamp
Net Address
Message identification number.
Application name.
Any text string in the log file.
Device or element name.
Event type.
The time the message was received by syslogd.
Network address.
Delete Purges the selected messages.
Delete All Purges all messages in the browser.
Refresh Updates Log Manager window display after checking the log table (ciscolog) for new log records. Turns red to indicate new log messages are waiting to be displayed. If Log Manager is iconified, the icon changes into an alarm to indicate new log messages are waiting to be displayed.
Page Indicators Page number

Page selection slider
Indicates current page number and existing pages in Log Manager window.
Moves to selected page.


Accessing the Log Manager Window

The Log Manager allows you to view messages saved in the database, query groups of messages using any combination of six criteria, and delete messages.

To access Log Manager, perform the following steps:

Step 1 Select Log Manager.

On SNM, select Tools>Log Manager.

On HP OpenView or NetView for AIX, select Diagnose>Log Manager.

The Log Manager window appears. (See Figure 3-36.)

Step 2 Browse through the Log Manager messages by using the scroll bars.

While in the Log Manager window, you can query for log messages, print log messages, delete messages, refresh the log message display, and set up an automatic log purging function. These functions are explained later in this chapter.


Looking for Log Error Messages

You can use any of the following methods to query the Log Manager for a particular message or set of messages:

  • Click on any combination of the ten data field check boxes and in the data entry fields enter a device name, network address, and so on as applicable. Specifying information in the data entry fields further narrows the search for messages in the log file. To find the applicable messages, select Search>Find.

  • Click on the text check box and enter a simple expression to search for a particular message or set of messages. To find the applicable messages, select Search>Find.

  • Click on the text check box and enter a complex expression to search for a particular message or set of messages. To find the applicable messages, select Search>Find.

The Show All command in the Search menu resets after a find search and returns all messages to the Log Manager window. The Delete and Delete All command purge unwanted messages from the Log Manager and allows you to enter a completely new query. The Refresh command checks the database log table for new log records and displays these records in the Log Manager window. You can change the interval that the Log Manager checks the database by using the Options>Refresh Interval command.

In Figure 3-37, the log files have been queried by the device name softrock.

nm493.gif

Figure 3-37 : Querying the Log Manager by Device Name


Event Types

The Event field indicates a type of status change that has occurred on the network. For a list of CiscoWorks event types and definitions, refer to Table 3-15. This table also includes a description of which events under normal operating conditions are logged. For detailed information on defining traps, refer to RFC 1215, "Defining SNMP Traps."

Table 3-15 : Event Types Logged in the CiscoWorks Log Manager

Event Type Description
TRAP Received a trap message.
EventReport Received an event message.
CiscoWorks Received CiscoWorks information or error message.

fig_6.gif Caution If you set the event monitoring option in the Device Monitor (SNM only), the Event Logger daemon (nmeventd) will log events for the devices you have specified. SNM and HP OpenView listen to traps via the SNMP trap facility. If another process is accessing the facility, traps may not be logged. Refer to your SunNet Manager 2.0 Reference Guide or your HP documentation for more information.

Check to see if the port is busy by invoking the following command:

% netstat -an | grep 162

If the port is busy, you will see a line similar to the following output:

udp      0      0      *.162

In this example, 162 is the trap port. The netstat command does not determine which process is occupying the port. You need to determine this on a "best guess" basis. The process occupying the port can be any SNMP management program. To free the port, shut down the process currently accessing it.


Entering Simple Log Query Expressions

You can query the log messages more specifically by entering simple log query expressions. Figure 3-38 illustrates a simple expression created to find any messages that are numbered greater than 244.

nm492.gif

Figure 3-38 : Using a Simple Expression to Query the Log Manager

To find all messages greater than 245, click on Msg ID button in the Log Manager window and enter the simple expression >244. When the Find command is applied, all messages numbering greater than 244 are listed in the window, as shown in Figure 3-38. The page indicator at the bottom of the window indicates that one page of messages were found with this query.


Note If your page count starts to affect the performance of your workstation, select more fields or redefine your expressions to narrow your target field of log messages to speed your search.

The syntax used for such a simple expression follows:

comparison_operator <space> value

The comparison operator can be =, >, <, >=, and so on. (These operators are described in detail in the "Transact-SQL Commands" section of the Sybase Commands Reference publication that is provided with CiscoWorks.)


Updating the Refresh Interval in the Log Manager Window

The Log Manager checks the database for new log messages periodically. The default frequency is 900 seconds. If there are new records in the database, the background of the refresh button is set to red.

Do the following to update the refresh interval:

Step 1 From the Log Manager window, select Options>Refresh.

The Set Refresh Interval window appears. (See Figure 3-39.)


nm509.gif

Figure 3-39 : Set Refresh Interval Window

Step 2 Enter the interval you want the Log Manager to check the database for log messages.

Step 3 Click OK.


Note Updating the refresh interval using this method is only valid for the current session of Log Manager.

You can also customize the frequency of this process by modifying the .Xdefaults file. To change the refresh interval of the Log Manager window using this method, perform the following steps:

Step 1 Using your text editor, open your .Xdefaults file. The .Xdefaults file is usually stored in your home directory. For example, if you are using vi as your text editor, enter the following command:

% vi $HOME/.Xdefaults

Step 2 Add the following line to your .Xdefaults file

XCiscoworks*refreshInterval: new_interval_in_seconds

For example, if you want to reset the refresh interval to 450 seconds, enter the following line to your .Xdefaults file:

XCiscoWorks*refreshInterval:450

Step 3 Run the following command to update the internal database of the X server with the newly specified defaults:


% xrdb -merge $HOME/.Xdefaults


Printing Log Messages

You can print the current Log Manager window information. If you are using SunNet Manager or HP OpenView on the Sun, CiscoWorks uses the Sun print utility, Snapshot, to print a copy of the window and its contents. If you are using HP OpenView on HP-UX, you will use the X11 applications xwd and xpr.

If you want to print out database information, use the isql utility to make your request.


Printing the Log Manager Window

For example, to print the query of messages with message ID numbers 30 through 40, perform the following steps:

Step 1 First select the type of information from the current Log Manager window that you want to print out.

Step 2 Resize the window, as required, to fit all your log messages so they are visible in the Log Manager window.

Step 3 Select File>Print.

If you are using SunNet Manager, the Snapshot window displays.

If you are using HP OpenView, the printout will automatically be sent to your default printer. You will not need to enter any information.

Step 4 If you are using SunNet Manager, enter the required printer information and select the window to print.


Printing the Log Manager Messages

To print messages from the Sybase ciscolog table, perform the following steps:

Step 1 From the command line, enter the following to print log messages greater than 680:


# $SYBASE/bin/isql -U nmsuper -P passwd
1> select msgid, timestamp , appl ,device, event ,netadd ,text1 ,text2 ,text3 ,text4 from ciscolog where msgid > 680
2> go

Step 2 To print all log messages from a device, for example, abc.cisco.com, enter the following at the command line:


# $SYBASE/bin/isql -U nmsuper -P passwd
1> select msgid, timestamp ,appl ,device, event ,netadd ,text1 ,text2 ,text3 ,text4 from ciscolog where device = "abc.cisco.com"
2> go

Step 3 To print all trap messages from device abc.cisco.com, enter the following at the command line:


# $SYBASE/bin/isql -U user -P passwd
1> select msgid, timestamp ,appl ,device, event ,netadd ,text1 ,text2 ,text3 ,text4 from ciscolog where event = "TRAP" and device = "abc.cisco.com"
2> go

For more information on running isql, refer to your Sybase documentation.


Deleting Messages from the ciscolog

Deleting a message does not delete the message from the Log Manager file (NMS log); it takes it out of the Sybase database table, ciscolog. Messages from the Log Manager window are stored in the Sybase table called ciscolog. These messages can accumulate quickly, and the database can consume large amounts of disk space; therefore, you should delete unwanted Log Manager messages to prevent your database from consuming too much disk space.

You can delete log messages from the Log Manager window in three ways:

  • Delete the log messages from the Log Manager window using the Delete or Delete All command. This deletes the log messages from the NMS log.

  • Use the isql utility to remove all log messages from the database. For information on when to use isql, refer to the section "Deleting Log Messages from the ciscolog Table Using the isql Utility."

  • Use the nmlogclean utility in the /contrib directory. This deletes log messages from the database.

If the Sybase transaction log is filled up during the deletion of messages from the Log Manager window, you can resolve the problem by using the $NMSROOT/etc/enlarge_nms script to enlarge the transaction log. Instructions for using this script are provided in the section "Enlarging Disk Space Using a Shell Script" in Chapter 8.

Instructions for deleting Log Manager messages follow.


Deleting Log Messages from the ciscolog Table

To delete any log messages from the ciscolog database table, perform the following steps:

Step 1 Select the message or messages that you want to delete in the Log Manager window.

You can also use a simple or complex expression to define which messages you want to delete.

Step 2 Click on Delete or Delete All.

For example, if you select one file, and then click on Delete, a confirmation window appears to confirm the deletion.

Step 3 Click on No to cancel the command or Yes to delete the file.

The messages will be deleted from the Sybase database.


Deleting Log Messages from the ciscolog Table Using the isql Utility

Use the isql utility to delete Log Manager messages in the following situations:

  • The Sybase transaction log runs out of space when you try to delete all messages in the Log Manager window.

  • You need more flexibility in specifying which records to delete.

  • You want to use a shell script to delete the log messages efficiently. A script can be run with cron to ensure that the log messages are removed at regular intervals.


Using the Truncate Table Command to Delete Log Messages and Table Records

Use the isql truncate table command to remove the log messages from the Log Manager window and the records from the Sybase table. The truncate table command uses less space in the transaction log.

fig_4.gif Caution The following procedure deletes all messages in the Log Manager window. Do not follow these steps if you want to delete the messages selectively.

To delete all log messages from the Log Manager window and the ciscolog file, perform the following steps:

Step 1 Enter the following command at the UNIX prompt:


% isql -Unmsuper -P passwd

Step 2 Enter the following commands in a sequence at the greater than prompt (>) to clean the ciscolog file:


> truncate table ciscolog
> go
>
quit


Using the Delete Command to Delete Log Records

The isql utility allows you to specify clauses for deleting the data in the ciscolog file. If you want to delete log records that are older than 3 days, perform the following steps:

Step 1 Enter the following command at the UNIX prompt (%):


% isql -Unmsuper -P passwd

Step 2 Enter the following commands at the greater than prompt (>) to delete log records that are older than 3 days:


> delete ciscolog where datediff(day, timestamp, getdate()) > 3
> go
> quit

To automate the deletion of the log records, you can add these lines to a shell script that can be run manually or from cron. For more information, refer to the manual pages on cron and crontab commands. You can also use the Scheduler utility graphical or command line interface. For more information on the Scheduler, refer to the section "Scheduling a Command for Periodic Execution."

An example of the contents of a sample shell script follows:

#!/bin/sh
$SYBASE/bin/isql -Unmsuper -Ppasswd <<EOF
delete ciscolog where datediff (day, timestamp, getdate ()) > 3
go
quit
EOF

If you need to determine which files you want to delete, you can use the ls command to list the nmslog files in a directory. When you use the ls -l command to list the nmslog files in a directory, the list includes names of the nmslog files and the dates they were created. Following is a sample listing displayed by the ls -l command:
-rw-r--r--  1 root         4187 Mar  5 07:32 nmslog
-rw-r--r--  1 root        13108 Mar  4 18:48 nmslog.Fri
-rw-rw-rw-  1 root          226 Mar  3 14:26 nmslog.Thu

The date indicates the day when the file was created, and the name of the file (nmslog.Fri) indicates the day when that nmslog file was closed.


Deleting Log Messages Using nmlogclean Utility

A utility, nmlogclean, has been added to the $NMSROOT/contrib directory. This utility cleans out all ciscolog messages.

To use nmlogclean to delete log messages, perform the following steps:

Step 1 From the command line, enter the following:


% $NMSROOT/contrib/nmlogclean

Step 2 Follow the script instructions.


Maintaining the Log Manager File

In addition to querying the log file messages, you can also delete them as necessary and set up an automatic log purging function to back up an old log file and create a new one.


Using the Automatic Log Purge Program

During the configuration of CiscoWorks, if you have responded yes to the following prompt: Do you want to install the CiscoWorks log purging utility to be started by UNIX cron daemon? The utility automatically purges and backs up the log file every day.

Logpurg is a command utility that circulates the CiscoWorks syslog file. It renames the current CiscoWorks syslog file to the same path name with a day of the week, for example, nmslog.tue. At midnight on Monday, an nmslog.mon file is created. At midnight Tuesday, an nmslog.tue file is created. The original log file is cleared out once a week---every Monday night at midnight. The new file overwrites the original file.

If the logpurg command is issued with a path name, the process ID is also included, for example, nmslog.Tue.1345. Logpurg then creates a new log file and sends a SIGHUP signal to syslogd and nmlogd. After receiving a SIGHUP signal, syslogd and nmlogd configure the new log file to be used for current messages.

When it is started, logpurg gets the current syslog file pathname for /etc/syslog.conf with facility name local6 or local7 and appends the filename with a weekday suffix.


Editing the Crontab File

You can customize the log purge utility by editing the crontab file. The crontab format follows:

min hour day-of-month month day-of-week command_name

For example, in the crontab file, include a line similar to the following:

10 6 * * * $NMSROOT/bin/purg $NMSROOT

The file purg is a front end for the log purge program and sets up the $NMSROOT and SYBASE environment variables. 10 represents the minutes and 6 represents the hour. The three asterisks (*) represent the day of the month, month, and the day of the week. An asterisk (*) indicates select this particular variable (for example, days of the week). The cron program will execute this program at 6:10 a.m. every day.

If the nmlogd process is not running at the time, the old log file name is entered into $TMPDIR/.nmlogdspool. If you have more than seven files in $TMPDIR/.nmlogdspool, logpurg provides an error message similar to the following: Nmlogd died. Call your system administrator. If you did not redirect the cron job output, the system will send this message to root.

In order to send signals to the syslog file, the log purge utility must be run as root.

For more information on these commands, refer to the cron(1) and crontab manual pages.

HomeTOCPrevNextGlossSearchHelp
-

Copyright 1988-1996 © Cisco Systems Inc.